|
|
(21), (22) Заявка: 2007105651/02, 14.02.2007
(24) Дата начала отсчета срока действия патента:
14.02.2007
(43) Дата публикации заявки: 20.08.2008
(46) Опубликовано: 20.03.2009
(56) Список документов, цитированных в отчете о поиске:
RU 2258187 C1, 10.08.2005. RU 21088 U1, 20.12.2001. RU 2023221 C1, 15.11.1994. SU 846947 A1, 15.07.1981. SU 1469265 A1, 30.03.1989. GB 542239 A, 01.01.1942.
Адрес для переписки:
423810, Республика Татарстан, г. Набережные Челны, б-р Энтузиастов, 11(3/08),оф.1006, А.Н.Чухловину
|
(72) Автор(ы):
Баянов Марат Фазаилович (RU), Графский Виктор Владимирович (RU), Чухловин Александр Николаевич (RU)
(73) Патентообладатель(и):
ООО “Толедо” (RU)
|
(54) ДУГОВАЯ ПЕЧЬ ПОСТОЯННОГО ТОКА
(57) Реферат:
Изобретение относится к области металлургии, а именно к конструктивным особенностям дуговых печей постоянного тока. Дуговая печь постоянного тока содержит основание с размещенными на нем несущими боковыми стойками, футерованный кожух ванны печи с подовым электродом, смонтированный на них, механизм наклона ванны печи и механизм зажима контакта подового электрода, размещенные на основании, футерованный свод, сводовый электрод с механизмом его перемещения. При этом она снабжена кольцевым порталом, механизмами его подъема, смещенными от оси печи для уравновешивания центра масс, и зонтом газоотсоса, при этом механизм перемещения сводового электрода и зонт газоотсоса установлены на кольцевом портале, который выполнен с обеспечением его подъема вместе со сводом. Изобретение позволяет повысить уровень безопасности оборудования, улучшить условия труда за счет снижения неорганизованных выбросов в атмосферу цеха, а также повысить надежность и улучшить ремонтопригодность оборудования за счет вывода механизма перемещения электрода из зоны теплового воздействия от свода печи. 5 з.п. ф-лы, 2 ил.
Изобретение относится к области металлургии и литейного производства, а именно к устройству печей постоянного тока.
Известна плазменно-дуговая печь постоянного тока [1], стойки кожуха ванны которой являются телескопическими, свод соединен непосредственно со штоками цилиндров. Недостатками этого изобретения является то, что происходит возгорание масла при протекании его из гидроцилиндра перемещения электрода, верхнее положение механизма перемещения электрода создает неудобство при его ремонте, а также неудобство отвода газо- и пылевыделении из печи.
Предложенное изобретение направлено на повышение уровня безопасности оборудования, улучшение условий труда за счет снижения неорганизованных выбросов в атмосферу цеха, повышение надежности и улучшение ремонтопригодности оборудования за счет вывода механизма перемещения электрода из зоны теплового воздействия от свода печи.
В предложенном изобретении применен кольцевой портал. Это позволило:
– вынести механизм перемещения электрода за пределы свода печи и разместить его на кольцевом портале печи (механизм перемещения электрода может быть расположен сзади или сбоку печи). При этом уменьшилась тепловая нагрузка на механизм перемещения как в нормальных, так и в аварийных условиях (например, обвал свода), исключен риск возгорания при утечках масла из гидроцилиндра механизма перемещения электрода;
– разместить зонт газоотсоса непосредственно на кольцевом портале печи, что снизило количество неорганизованных выбросов в атмосферу цеха;
– разместить на кольцевом портале уловители для поднимания и опускания футерованного свода печи. При полном опускании кольцевого портала свод свободно ложится на футерованный кожух ванны печи, что обеспечивает высокую герметизацию плавильного пространства и соответственно повышение качества выплавляемого металла.
Для уравновешивания центра масс кольцевого портала с расположенными на нем узлами механизм подъема кольцевого портала смещен от оси печи.
Новое расположение механизмов более удобно для обслуживания и ремонта. За счет улучшения ремонтопригодности увеличивается ресурс работы механизмов.
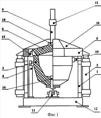
Конструкция и принцип работы печи (фиг.1) следующий: механизмы подъема портала (2) закреплены на боковых стойках (1). При включении подъема свода печи эти механизмы поднимают портал (5), который своими уловителями (15) подхватывает и поднимает футерованный свод (6) печи. При этом поднимаются механизм перемещения электрода (7) (фиг.2) и зонт газоотсоса (10), которые смонтированны на портале (5). При подъеме портала (5) образуется проем, через который в плавильное пространство кожуха ванны загружается переплавляемый материал. После завалки печи производится опускание портала (5) вместе со сводом (6). При полном опускании портала (5) свод (6) выходит из зацепления с уловителями (15) и свободно ложится на футерованный огнеупорами кожух ванны (3). После этого включается источник питания. Напряжение на подовый электрод (16) подается посредством зажима подового электрода (11) от короткой сети, а на сводовый электрод (9) через гибкие тоководы – также от короткой сети электропечи. Поле включения напряжения при помощи гидроцилиндра (8) (фиг.2) механизма перемещения электрода (7) производится опускание сводового электрода (9) до касания с переплавляемым материалом. Сводовый электрод (9) крепится к механизму перемещения электрода через траверсу (20) с электрододержателем (13). При касании сводовым электродом (9) переплавляемого материала замыкается электрическая цепь, зажигается дуга и происходит плавление металла под дугой. После полного расплавления металла отключается питание короткой сети, портал (5) печи вместе со сводом (6) поднимается, при этом размыкается зажим подового электрода (11). Механизмом наклона ванны (4) производится наклон кожуха ванны (3), в осях (19), в сторону слива. Металл может быть слит полностью или частично (при работе с «болотом»).
Механизмы подъема кольцевого портала и наклона ванны могут быть гидравлическими или механическими (винтовые, реечные).
Для предотвращения выбросов газа и пыли из плавильного пространства в атмосферу цеха на портале смонтирован зонт газоотсоса (10). Для соединения с системой аспирации газов на зонте имеется соединительный патрубок (14) (фиг.2). Соединение зонта (10) с системой может быть телескопическим (труба в трубе) или иным. На своде (6), под соединительным патрубком (14), имеется газоотводящее отверстие.
Для охлаждения сводового электрода (9) в свод печи может быть зафутерован водоохлаждаемый экономайзер (18).
Все описанные механизмы печи размещаются на основании (12).
Источник информации
1. Патент RU №2258187 (заявка №2003118546/02).
Формула изобретения
1. Дуговая печь постоянного тока, содержащая основание с размещенными на нем несущими боковыми стойками, футерованный кожух ванны печи с подовым электродом, смонтированный на них, механизм наклона ванны печи и механизм зажима контакта подового электрода, размещенные на основании, футерованный свод, сводовый электрод с механизмом его перемещения, отличающаяся тем, что она снабжена кольцевым порталом, механизмами его подъема, смещенными от оси печи для уравновешивания центра масс, и зонтом газоотсоса, при этом механизм перемещения сводового электрода и зонт газоотсоса установлены на кольцевом портале, который выполнен с обеспечением его подъема вместе со сводом.
2. Дуговая печь по п.1, отличающаяся тем, что механизм перемещения электрода размещен на кольцевом портале сзади или сбоку печи за сводовым кольцом.
3. Дуговая печь по п.1, отличающаяся тем, что для поднимания и опускания футерованного свода печи вместе с кольцевым порталом, последний снабжен уловителями.
4. Дуговая печь по п.1, отличающаяся тем, что при полном опускании кольцевого портала свод свободно лежит на футерованном кожухе ванны печи.
5. Дуговая печь по п.1, отличающаяся тем, что механизмы подъема кольцевого портала смещены от оси печи в сторону размещения механизма перемещения электрода.
6. Дуговая печь по п.1, отличающаяся тем, что механизмы подъема кольцевого портала и наклона ванны печи выполнены механическими или гидравлическими.
РИСУНКИ
|
|