|
(21), (22) Заявка: 2008101709/06, 16.01.2008
(24) Дата начала отсчета срока действия патента:
16.01.2008
(46) Опубликовано: 20.03.2009
(56) Список документов, цитированных в отчете о поиске:
RU 2294484 C1, 27.02.2007. RU 2290564 C1, 27.12.2006. RU 2206824 C2, 27.02.2003. SU 595588 A1, 28.02.1978. FR 2415264 A1, 17.08.1979.
Адрес для переписки:
660025, г.Красноярск, пр. Красноярский рабочий, 95, отдел интеллектуальной собственности ФГОУ ВПО “СФУ”
|
(72) Автор(ы):
Шишканов Олег Георгиевич (RU), Андруняк Ирина Васильевна (RU)
(73) Патентообладатель(и):
Федеральное государственное образовательное учреждение высшего профессионального образования “Сибирский федеральный университет” (RU)
|
(54) СПОСОБ РАБОТЫ ШАХТНО-МЕЛЬНИЧНОЙ ТОПКИ
(57) Реферат:
Изобретение относится к теплоэнергетике и может быть использовано в топках паровых котлов при сжигании шлакующих углей. Технический результат изобретения – повышение качества сжигания и эксплуатационной надежности путем устранения температурной неравномерности в зоне активного горения и предотвращения шлакования экранных поверхностей нагрева при отключении одной из четырех фронтальных одноярусных горелок, которыми оборудована шахтно-мельничная топка. При реализации способа, в случае работы всех горелок, топливовоздушная смесь подается через горелки в топку. При этом расход топливовоздушной смеси в горелки устанавливается равный. При отключении боковой горелки расход топливовоздушной смеси в работающие горелки устанавливается в соответствии с зависимостью:

а при отключении центральной горелки расход топливовоздушной смеси, подаваемой в работающие горелки, устанавливают в соответствии с зависимостью:

где Вn – расход топливовоздушной смеси, подаваемой в n-ю работающую горелку; n – номер работающей горелки, начиная счет от работающей противоположной боковой горелки в сторону отключенной горелки; В – общий расход топливовоздушной смеси, подаваемой в топку. 4 ил.
Изобретение относится к теплоэнергетике и может быть использовано в топках паровых котлов тепловых электрических станций при сжигании шлакующих бурых углей.
Известен способ работы парогенератора (А.С. СССР №901731, кл. F23С 5/00, 1980) с расположенными многоярусными горелками, в котором для устранения температурных неравномерностей расход топлива через горелки каждого яруса увеличивают от яруса к ярусу в направлении сверху вниз. Такой способ позволяет снизить только тепловую неравномерность по высоте, когда максимум температуры газов, зафиксированный в области верхнего яруса горелок, уменьшается за счет увеличения теплового напряжения в нижних ярусах после соответствующего перераспределения топлива. Однако температурная неравномерность, вызванная отключением части горелок каждого яруса, сохраняется, что вызывает шлакование и снижает надежность эксплуатации.
Также известен способ работы призматической топки парогенератора (А.С. СССР №595588, кл. F23С 5/28, 1975), в котором для снижения температурной неравномерности газов в выходном окне расход топливовоздушной смеси через горелки, расположенные у углов топки, устанавливают в 1,2-5-1,4 раза превышающим расход через каждую из остальных горелок. Однако при этом область высоких температур располагается вблизи боковых стен топки, что при сжигании шлакующих углей способствует образованию шлакозоловых отложений и приводит к незапланированному останову котла.
В основу изобретения положена задача повышения качества сжигания и эксплуатационной надежности путем устранения температурной неравномерности в зоне активного горения и предотвращения шлакования экранных поверхностей нагрева при отключении одной из горелок.
Эта задача решается тем, что в способе работы шахтно-мельничной топки с фронтальным одноярусным расположением четырех горелок (двух боковых и двух центральных) при отключении боковой горелки (под отключением горелки понимается прекращение подачи топливовоздушной смеси через эту горелку в топку) расход топливовоздушной смеси, подаваемой в работающие горелки, устанавливают в соответствии с зависимостью

а при отключении центральной горелки расход топливовоздушной смеси, подаваемой в работающие горелки, устанавливают в соответствии с зависимостью

где Вn – расход топливовоздушной смеси, подаваемой в n-ю работающую горелку;
n – номер работающей горелки, начиная счет от работающей боковой горелки, расположенной противоположно отключенной, в сторону отключенной горелки;
В – общий расход топливовоздушной смеси, подаваемой в топку.
В ходе проведенных экспериментальных исследований удалось установить, что отличительной особенностью работы шахтно-мельничной вертикальной топки с фронтальным одноярусным расположением четырех горелок (двух боковых и двух центральных) является температурная неравномерность в зоне активного горения, причиной возникновения которой служит отключение одной из четырех горелок. Максимальная величина температурной неравномерности зарегистрирована при отключении боковой горелки. Перепад температур в сечении зоны активного горения несколько снижается при отключении центральной горелки. При отключении расход топливовоздушной смеси по работающим горелкам устанавливался равный. Таким образом, при отключении горелки высокотемпературное ядро факела располагается в зоне работающих двух горелок (одной центральной и одной боковой). Для того чтобы снизить уровень температур в этой области и соответственно повысить уровень температур в зоне неработающей горелки, необходимо перераспределить расход топливовоздушной смеси, направляемой в работающие горелки. Причем общий расход подаваемой в топку топливовоздушной смеси остается таким же, что и в случае работы всех горелок, чтобы не снизить паропроизводительность котла.
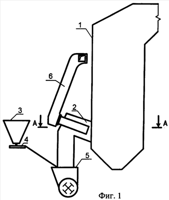
На фиг.1 схематично изображен котел с шахтно-мельничной топкой, в которой осуществляется предлагаемый способ, продольный разрез; на фиг.2 – сечение А-А на фиг.1. Кроме того, на фиг.3 и фиг.4 показаны возможные схемы отключения соответственно боковой и центральной горелки и соответствующая нумерация работающих горелок.
Паровой котел содержит вертикальную призматическую топку 1 с установленными фронтально в один ярус четырьмя горелками 2, из которых две боковые и две центральные. Каждая горелка снабжена индивидуальной системой пылеприготовления, включающей бункер сырого угля 3, питатель сырого угля 4 и шахтную мельницу 5. Воздух для сжигания топлива подается через короб 6.
Способ работы шахтно-мельничной топки осуществляется следующим образом. При работе всех четырех горелок топливовоздушную смесь подают через них в топку. При отключении одной горелки (под отключением горелки понимается прекращение подачи топливовоздушной смеси через эту горелку в топку), связанном с остановкой соответствующей пылесистемы в ремонт, резерв и т.д. расход топливовоздушной смеси по работающим горелкам устанавливается разный в зависимости от схемы отключения. Так при отключении боковой горелки расход топливовоздушной смеси по работающим горелкам устанавливают в соответствии с зависимостью:

а при отключении центральной горелки расход топливовоздушной смеси, подаваемой в работающие горелки, устанавливают в соответствии с зависимостью:

где Вn – расход топливовоздушной смеси, подаваемой в n-ю работающую горелку;
n – номер работающей горелки, начиная счет от работающей боковой горелки, расположенной противоположно отключенной, в сторону отключенной горелки;
В – общий расход топливовоздушной смеси, подаваемой в топку.
При отключении горелки общий расход топлива и воздуха, подаваемого в топку, сохраняется тем же, как и в случае работы всех горелок. Указанное распределение топливовоздушной смеси в работающие горелки, при отключении одной из них, позволяет выровнять перепад температур в сечениях топочной камеры.
Примером конкретного выполнения предлагаемого способа работы шахтно-мельничной топки, оборудованной фронтальным одноярусным расположением четырех горелок, может служить топочная камера котла ПК-10Ш Красноярской ТЭЦ-1.
При номинальной паровой производительности котла (210 т/ч) расход ирша-бородинского угля составляет – 10,5 кг/с, а воздуха (при избытке воздуха в топке 1,2) – 52,5 м3/с. При работе всех горелок расход топливовоздушной смеси, подаваемой в них, устанавливается равный и составляет в каждую: топлива – 2,625 кг/с и воздуха – 13,125 м3/с. При отключении одной боковой горелки расход топлива и воздуха по работающим горелкам устанавливается согласно представленной зависимости.
В первую (боковую), считая от работающей боковой горелки, расположенной противоположно отключенной, в сторону отключенной горелки: топлива – 2,61 кг/с и воздуха – 13,03 м3/с.
Во вторую (центральную), считая от работающей боковой горелки, расположенной противоположно отключенной, в сторону отключенной горелки: топлива – 3,32 кг/с и воздуха – 16,58 м3/с.
В третью (центральную), считая от работающей боковой горелки, расположенной противоположно отключенной, в сторону отключенной горелки: топлива – 4,57 кг/с и воздуха – 22,89 м3/с.
При отключении одной центральной горелки расход топлива и воздуха по работающим горелкам устанавливается согласно представленной зависимости.
В первую (боковую), считая от работающей боковой горелки, расположенной противоположно отключенной, в сторону отключенной горелки: топлива – 2,97 кг/с и воздуха – 14,85 м3/с.
Во вторую (центральную), считая от работающей боковой горелки, расположенной противоположно отключенной, в сторону отключенной горелки: топлива – 3,44 кг/с и воздуха – 17,21 м3/с.
В третью (боковую), считая от работающей боковой горелки, расположенной противоположно отключенной, в сторону отключенной горелки: топлива – 4,09 кг/с и воздуха – 20,44 м3/с.
Таким образом, предлагаемое техническое решение позволяет достичь задачи изобретения, повысить качество сжигания и эксплуатационную надежность путем устранения температурных неравномерностей в объеме топочной камеры, тем самым снизить интенсивность шлакования экранов и улучшить условия протекания процессов теплообмена. При этом удается сократить число остановов котла на расшлаковку.
Формула изобретения
Способ работы шахтно-мельничной топки с фронтальным одноярусным расположением четырех горелок путем подачи в последние равного расхода топливовоздушной смеси, отличающийся тем, что при отключении боковой горелки расход топливовоздушной смеси в работающие горелки устанавливают в соответствии с зависимостью

а при отключении центральной горелки расход топливовоздушной смеси, подаваемой в работающие горелки, устанавливают в соответствии с зависимостью

где Вn – расход топливовоздушной смеси, подаваемой в n-ю работающую горелку;
n – номер работающей горелки, начиная счет от работающей противоположной боковой горелки в сторону отключенной горелки;
В – общий расход топливовоздушной смеси, подаваемой в топку.
РИСУНКИ
|