|
| На основании пункта 1 статьи 1366 части четвертой Гражданского кодекса Российской Федерации патентообладатель обязуется заключить договор об отчуждении патента на условиях, соответствующих установившейся практике, с любым гражданином Российской Федерации или российским юридическим лицом, кто первым изъявил такое желание и уведомил об этом патентообладателя и федеральный орган исполнительной власти по интеллектуальной собственности. |
|
(21), (22) Заявка: 2007131012/06, 15.08.2007
(24) Дата начала отсчета срока действия патента:
15.08.2007
(46) Опубликовано: 20.03.2009
(56) Список документов, цитированных в отчете о поиске:
US 4493608 A, 15.01.1985. SU 564439 A, 16.10.1977. RU 2211342 C1, 27.08.2003. RU 2096697 C1, 20.11.1997. SU 14222 A, 31.03.1930. RU 2121633 C1, 0.11.1998.
Адрес для переписки:
129515, Москва, ул. Академика Королева, 5, кв.234, М.И. Весенгириеву
|
(72) Автор(ы):
Весенгириев Михаил Иванович (RU)
(73) Патентообладатель(и):
Весенгириев Михаил Иванович (RU)
|
(54) ПАРОГЕНЕРАТОР
(57) Реферат:
Изобретение предназначено для генерирования пара и может быть использовано в теплоэнергетике. Парогенератор содержит компрессор с приводом, дроссель и распылитель управляемой подачи воды, парогенерирующее устройство и патрубок отвода пара к потребителю. Компрессор и его привод выполнены в герметичном корпусе. Привод установлен на всасе компрессора. Дроссель и распылитель выполнены с возможностью управляемой подачи и распыления воды на всас компрессора. Парогенерирующее устройство выполнено с использованием возможности компрессора создания разрежения в герметичном корпусе на своем всасе, превращения подаваемой воды в водяной пар, в том числе и за счет охлаждения привода, сжатия пара с повышением его температуры и отвода пара к потребителю. Изобретение обеспечивает повышение экономической эффективности парогенератора с одновременным упрощением его конструкции. 1 ил.
Изобретение относится к теплоэнергетике и может быть использовано для автономного снабжения тепловой энергией объектов производственного и бытового назначения.
Известно парогенерирующее устройство, содержащее газотурбинный двигатель сагрегатированный с парогенерирующим устройством, устройства подачи питательной воды и отвода пара к потребителю /авт.св. СССР №311088, F22B 27/06. 09.08.1971 г./ [1].
Недостатками известного парогенератора являются сложность, громоздкость конструкции и невысокая экономическая, экологическая эффективность в эксплуатации.
Наиболее близким по технической сущности к предлагаемому изобретению является парогенератор, содержащий компрессор с приводом, парогенерирующее устройство, устройства регулируемой подачи питательной воды в парогенерирующее устройство и отвода пара к потребителю /патент США, №493608. F22B 3/04. 15.01.1985 г./ [2].
Недостатками ближайшего аналога являются сложность, громоздкость конструкции и низкая экономическая эффективность устройства в эксплуатации.
Техническая задача, решаемая предлагаемым изобретением, заключается в повышении экономической эффективности парогенератора с одновременным упрощением его конструкции.
Поставленная задача решается тем, что у парогенератора, содержащего компрессор с приводом, дроссель и распылитель управляемой подачи воды, парогенерирующее устройство и патрубок отвода пара к потребителю, компрессор и его привод, например электромотор, выполнены в герметичном корпусе, причем привод установлен на всасе компрессора. Дроссель и распылилитель, например механический, выполнены с возможностью управляемой, например вручную, подачи и распыления воды – чистой природной воды на всас компрессора. При этом парогенерирующее устройство выполнено с использованием возможности компрессора создания разрежения в герметичном корпусе на своем всасе, превращения подаваемой воды в водяной пар, в том числе и за счет охлаждения привода, сжатия пара с повышением его температуры и отвода пара к потребителю.
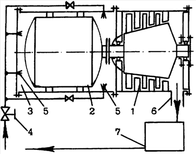
Сущность изобретения схематично показана на чертеже.
Пример выполнения предлагаемого решения,
Парогенератор содержит компрессор 1 и его привод 2, например электромотор, выполненные в герметичном корпусе, причем привод установлен на всасе 3 компрессора. Дроссель, 4 распылитель 5, например механический, выполненные с возможностью управляемой, например вручную, подачи и распыления воды – чистой природной воды на всас компрессора. При этом парогенерирующее устройство выполнено с использованием возможности компрессора создания разрежения в герметичном корпусе на своем всасе, превращения подаваемой воды в водяной пар, в том числе и за счет охлаждения привода, сжатия пара с повышением его температуры и отвода пара через патрубок 6 к потребителю 7.
Парогенератор работает следующим образом.
Для пуска генератора в работу включают привод 2, например электромотор, компрессора. Работой компрессора 1 на его всасе 3 в герметичном корпусе создается разрежение. Затем через управляемый, например вручную, дроссель 4 и распылитель 5, например механический, подают и распыляют на всас 3 компрессора 1 воду – чистую природную воду. Подаваемая и распыляемая вода благодаря разрежению на герметичном всасе 3 компрессора 1, и в том числе за счет охлаждения привода 2, превращается в водяной пар. Затем полученный водяной пар с повышением его температуры, скажем до 130°С, сжимается компрессором 1, например до 6 атм, и через патрубок 6 отводится к потребителю, например для производственных нужд.
Предлагаемый парогенератор в изготовлении прост и компактен. В эксплуатации высокоэффективен, пожаро- и взрывобезопасен. Может быть широко использован для автономного снабжения тепловой энергией производственных и бытовых объектов.
Формула изобретения
Парогенератор, содержащий компрессор с приводом, дроссель и распылитель управляемой подачи воды, парогенерирующее устройство и патрубок отвода пара к потребителю, отличающийся тем, что компрессор и его привод выполнены в герметичном корпусе, причем привод установлен на всасе компрессора, дроссель и распылитель выполнены с возможностью управляемой подачи и распыления воды на всас компрессора, при этом парогенерирующее устройство выполнено с использованием возможности компрессора создания разрежения в герметичном корпусе на своем всасе, превращения подаваемой воды в водяной пар, в том числе и за счет охлаждения привода, сжатия пара с повышением его температуры и отвода пара к потребителю.
РИСУНКИ
|
|