|
|
(21), (22) Заявка: 2007140007/06, 29.10.2007
(24) Дата начала отсчета срока действия патента:
29.10.2007
(46) Опубликовано: 20.03.2009
(56) Список документов, цитированных в отчете о поиске:
RU 2242641 С2, 20.12.2004. SU 461266 А, 25.02.1975. SU 1224497 А, 15.04.1986. US 4176683 А, 04.12.1979. US 3580286 А, 25.05.1971. BE 897500 А, 01.12.1983.
Адрес для переписки:
194021, Санкт-Петербург, ул. Карбышева, 15, ФГУП “НПО “АВРОРА”, технический отдел
|
(72) Автор(ы):
Ромашов Николай Николаевич (RU), Сафонов Андрей Семенович (RU)
(73) Патентообладатель(и):
Федеральное государственное унитарное предприятие “Научно-производственное объединение “АВРОРА” (RU)
|
(54) РЕГУЛИРУЕМЫЙ СИЛОВОЙ ДРОССЕЛЬ
(57) Реферат:
Изобретение относится к области дроссельных устройств и предназначено для использования, например, в гидроприводе рулей корабля. Регулируемый силовой дроссель содержит корпус, неподвижно установленную в корпусе гильзу и два вращающихся дросселирующих элемента, помещенных внутрь гильзы и выполненных в виде вложенных один в другой соосно расположенных стаканов. На наружной поверхности стаканов перпендикулярно оси расположен ряд параллельных дросселирующих канавок. Вдоль оси на поверхностях стаканов и гильзы расположены пазы. На стаканах и гильзе вдоль оси расположены в одну линию две группы сквозных отверстий, объединенных изолированными друг от друга пазами. Пазы расположены: на внутреннем стакане на наружной поверхности, на наружном стакане на наружной и внутренней поверхностях, на гильзе на внутренней поверхности. Из пазов на наружной поверхности стаканов начинаются дросселирующие канавки. Стаканы закрыты крышкой. Внутренний стакан имеет глухой канал, соединяющий обе группы отверстий. Одна из групп отверстий на гильзе подключена к входному каналу. Одновременно вторая группа подключена к выходному каналу. Изобретение направлено на уменьшение сил трения между элементами регулируемого силового дросселя и поворотного момента при его регулировке в процессе работы под давлением без отключения устройства, в котором он находится, путем исключения прижима стаканов регулируемого силового дросселя к его корпусу от действия сил давления рабочей жидкости и повышения жесткости его стаканов. 7 ил.
Изобретение относится к области дроссельных устройств и может быть использовано, например, в гидроприводе рулей корабля.
Из технической литературы известен регулируемый дроссель, содержащий дросселирующий элемент, на наружной поверхности которого расположен винтовой прямоугольный капиллярный канал (см. Т.М.Башта. «Машиностроительная гидравлика. Справочное пособие». М.: Машиностроение, 1971, стр.398, рис.232а).
Сопротивление регулируется изменением длины капиллярного канала путем ввинчивания или вывинчивания дросселирующего элемента. Такой дроссель имеет малую пропускную способность и в нем не предусмотрена разгрузка от сил трения, что позволило бы выполнять регулировку дросселя под давлением без выключения устройства, в котором он находится. Аналогичные недостатки имеет регулируемый дроссель, описанный в кн. Б.И.Абрамов. «Элементы гидропривода». Изд. «Техника», 1969, стр.149.
Известны также регулируемые дроссели, которые имеют большую пропускную способность. К таким решениям относится регулируемый силовой дроссель по патенту РФ №2242641 (опубл. 20.12.2004 г.), который является прототипом заявленного устройства. Этот регулируемый силовой дроссель содержит корпус, неподвижно установленную в корпус гильзу и два вращающихся дросселирующих элемента, помещенных внутрь гильзы и выполненных в виде двух вложенных один в другой соосно расположенных стаканов, на наружной поверхности которых перпендикулярно оси расположен ряд параллельных дросселирующих канавок, вдоль оси на поверхностях стаканов и гильзы расположены пазы (сквозные прорези).
Недостатком такого регулируемого силового дросселя является наличие значительных сил трения между его элементами, что не позволяет обеспечить его регулировку при работе под давлением из-за того, что:
– выход рабочей жидкости из регулируемого силового дросселя происходит через открытые торцы стаканов в корпус регулируемого силового дросселя, поэтому стаканы прижимаются силой, возникающей от давления рабочей жидкости к торцевым буртикам корпуса регулируемого силового дросселя;
– сквозная продольная прорезь снижает жесткость стаканов, что сказывается как в процессе изготовления при термической и механической обработке, так и в процессе работы при подаче давления во внутреннюю полость – они неравномерно деформируются в радиальном направлении, создавая тем самым значительное трение при повороте.
Задача изобретения – уменьшение сил трения между элементами регулируемого силового дросселя и поворотного момента при его регулировке в процессе работы под давлением без отключения устройства, в котором он находится, путем исключения прижима стаканов регулируемого силового дросселя к его корпусу от действия сил давления рабочей жидкости и повышения жесткости его стаканов.
Для решения поставленной задачи в регулируемом силовом дросселе, содержащем корпус, неподвижно установленную в корпус гильзу и два вращающихся дросселирующих элемента, помещенных внутрь гильзы и выполненных в виде двух вложенных один в другой соосно расположенных стаканов, на наружной поверхности которых перпендикулярно оси расположен ряд параллельных дросселирующих канавок, вдоль оси на поверхностях стаканов расположены пазы, введены на стаканах и гильзе вдоль оси в одну линию две группы сквозных отверстий, объединенных изолированными друг от друга пазами, расположенными на внутреннем стакане на наружной поверхности, на наружном стакане на наружной и внутренней поверхностях, на гильзе на внутренней поверхности, из пазов на наружной поверхности стаканов начинаются дросселирующие канавки, при этом стаканы закрыты крышкой, внутренний стакан имеет глухой канал, соединяющий обе группы отверстий, и одна из групп отверстий на гильзе подключена к входному каналу при подсоединении второй группы к выходному каналу. Применение в конструкции коротких пазов со сквозными отверстиями и закрытых крышкой стаканов исключает неравномерную деформацию стаканов и гильзы в процессе работы под давлением, а также исключает осевой прижим стаканов к торцевым буртикам корпуса регулируемого силового дросселя, уменьшая силы трения между элементами регулируемого силового дросселя и тем самым обеспечивая возможность его регулировки под давлением.
Перечень фигур графических изображений:
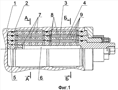
Фиг.1 – продольный разрез регулируемого силового дросселя;
Фиг.2 – поперечный разрез регулируемого силового дросселя в положении «закрыто» по сечению на входе потока;
Фиг.3 – поперечный разрез регулируемого силового дросселя в положении «открыто» по сечению на входе потока;
Фиг.4 – поперечный разрез регулируемого силового дросселя в
положении «закрыто» по сечению на выходе потока;
Фиг.5 – поперечный разрез регулируемого силового дросселя в
положении «открыто» по сечению на выходе потока;
Фиг.6 – развертка регулируемого силового дросселя;
Фиг.7 – схема регулируемого силового дросселя.
Регулируемый силовой дроссель содержит корпус 1, неподвижно установленную в корпус гильзу 2 и два вращающихся дросселирующих элемента, помещенных внутрь гильзы 2. Дросселирующие элементы выполнены в виде двух вложенных один в другой соосно расположенных внутреннего 3 и наружного 4 стаканов. Стаканы закрыты крышкой 5. На фиг.1 показан канал 6. Входной и выходной каналы (фиг.2-5) регулируемого силового дросселя расположены перпендикулярно оси регулируемого силового дросселя. На стаканах 3, 4 и гильзе 2 вдоль оси расположены в одну линию две группы сквозных отверстий 7 и 8, объединенных изолированными друг от друга пазами 9. Пазы расположены:
– на внутреннем стакане 3 на наружной поверхности;
– на наружном стакане 4 на наружной и внутренней поверхностях;
– на гильзе 2 на внутренней поверхности.
На наружной поверхности стаканов 3 и 4 перпендикулярно оси расположен ряд параллельных дросселирующих канавок 10 (см. фиг.2-5). Дросселирующие канавки 10 начинаются из пазов на наружной поверхности стаканов 3 и 4.
На фиг.2, 4 показан регулируемый силовой дроссель в закрытом положении. Отверстия и пазы перекрыты участками наружных поверхностей стаканов 3, 4, свободных от дросселирующих канавок 10. Поток рабочей жидкости отсутствует. Дросселирующие канавки на наружном стакане 4 образуют два дросселя Др1, Др2, а дросселирующие канавки на внутреннем стакане 3 – еще два дросселя Др3, Др4.
Регулируемый силовой дроссель работает следующим образом (см. фиг.3, 5, 6, 7).
Рабочая жидкость через группу отверстий 7 гильзы 2 поступает в паз 9 на внутренней поверхности гильзы 2. Из паза 9 на внутренней поверхности гильзы 2 рабочая жидкость распределяется по дросселирующим канавкам 10 на наружной поверхности стакана 4, проходит по дросселирующим канавкам 10, попадает в паз 9 на наружной поверхности стакана 4 и через группу отверстий 7 в пазу 9 стакана 4 поступает в паз 9 на внутренней поверхности стакана 4. Из паза 9 на внутренней поверхности стакана 4 рабочая жидкость распределяется по дросселирующим канавкам 10 на наружной поверхности стакана 3, проходит по дросселирующим канавкам 10, попадает в паз 9 на наружной поверхности стакана 3 и через группу отверстий 7 в пазу 9 стакана 3 попадает в заглушенный крышкой 5 канал 6 стакана 3. Затем процесс прохода жидкости через отверстия и пазы в стаканах и гильзе повторяется, только в обратном порядке. Из заглушенного крышкой 5 канала 6 стакана 3 рабочая жидкость через группу отверстий 8 (показано на фиг.5) стакана 3 попадает в паз 9 на наружной поверхности стакана 3, распределяется по дросселирующим канавкам 10 на наружной поверхности стакана 3, проходит по дросселирующим канавкам 10 стакана 3 и попадает в паз 9 на внутренней поверхности стакана 4. Из паза 9 на внутренней поверхности стакана 4 рабочая жидкость через группу отверстий 8 в пазу 9 стакана 4 попадает в паз 9 на наружной поверхности стакана 4, распределяется по дросселирующим канавкам 10 на наружной поверхности стакана 4, проходит по дросселирующим канавкам 10 стакана 4 и попадает в паз 9 на внутренней поверхности гильзы 2. Из паза 9 на внутренней поверхности гильзы 2 рабочая жидкость выходит через группу отверстий 8 гильзы 2.
При вращении стаканов 3, 4 относительно друг друга и относительно гильзы 2 меняется длина дросселирующих канавок Др1, Др3, а также длина и количество дросселирующих канавок Др2, Др4. При этом пазы 9 с отверстиями 7, 8 слабо влияют на жесткость стаканов 3, 4 и гильзы 2, которые под действием давления равномерно деформируются в радиальном направлении, обеспечивая снижение сил трения, а заглушение крышкой 5 стаканов 3, 4 исключает их осевой прижим к торцевым буртикам корпуса 1, уменьшая силы трения между элементами регулируемого силового дросселя, тем самым обеспечивая возможность его регулировки под давлением.
Формула изобретения
Регулируемый силовой дроссель, содержащий корпус, неподвижно установленную в корпус гильзу и два вращающихся дросселирующих элемента, помещенных внутрь гильзы и выполненных в виде двух вложенных один в другой соосно расположенных стаканов, на наружной поверхности которых перпендикулярно оси расположен ряд параллельных дросселирующих канавок, вдоль оси на поверхностях стаканов и гильзы расположены пазы, отличающийся тем, что на стаканах и гильзе вдоль оси расположены в одну линию две группы сквозных отверстий, объединенных изолированными друг от друга пазами, расположенными на внутреннем стакане на наружной поверхности, на наружном стакане на наружной и внутренней поверхностях, на гильзе на внутренней поверхности, из пазов на наружной поверхности стаканов начинаются дросселирующие канавки, при этом стаканы закрыты крышкой, внутренний стакан имеет глухой канал, соединяющий обе группы отверстий, и одна из групп отверстий на гильзе подключена к входному каналу при подсоединении второй группы к выходному каналу.
РИСУНКИ
Другие изменения, связанные с зарегистрированными изобретениями
Изменения:
Зарегистрирован переход исключительного права без заключения договора Дата и номер государственной регистрации перехода исключительного права: 29.10.2009/РП0000232 Патентообладатель: открытое акционерное общество «Концерн «Научно-производственное объединение «Аврора» (RU) Прежний патентообладатель: Федеральное государственное унитарное предприятие “Научно-производственное объединение “АВРОРА” (RU)
Номер и год публикации бюллетеня: 8-2009
Извещение опубликовано: 10.12.2009 БИ: 34/2009
|
|