|
|
(21), (22) Заявка: 2007118463/11, 17.05.2007
(24) Дата начала отсчета срока действия патента:
17.05.2007
(46) Опубликовано: 20.03.2009
(56) Список документов, цитированных в отчете о поиске:
RU 2293225 С2, 10.02.2007. JP 2003-090308 A, 28.03.2003. SU 991074 A, 23.01.1983. RU 2169876 С2, 27.06.2001.
Адрес для переписки:
360004, КБР, г.Нальчик, ул. Толстого, 185, КБГСХА, М.Х. Соттаеву
|
(72) Автор(ы):
Бугов Хазретали Умарович (RU), Егожев Артур Мухамедович (RU), Семенов Лиуан Хамзетович (RU), Апажев Аслан Каральбиевич (RU), Демьянов Владимир Александрович (RU)
(73) Патентообладатель(и):
ФГОУ ВПО Кабардино-Балкарская государственная сельскохозяйственная академия (RU)
|
(54) УЗЕЛ СОЕДИНЕНИЯ РАБОЧИХ ОРГАНОВ СИЛОВЫХ МАШИН
(57) Реферат:
Предлагаемый узел соединения относится к машиностроению, в частности к гидромашиностроению, и может быть использован для соединения вала гидротурбины с валом гидрогенератора и рабочим колесом гидротурбины. Узел соединения деталей машин, преимущественно гидромашин, содержит две соединяемые детали, болт с гайкой, полимерный наполнитель и уплотнитель. В детали, к которой примыкает гайка, выполнено болтовое отверстие под посадку болта без зазора, плавно переходящее к плоскости разъема. В другой детали выполнено отверстие, в котором коническая часть болта установлена с зазором. Меньшим основанием коническая часть болта направлена в сторону резьбовой части, большее основание заканчивается радиусной канавкой для уплотнителя. Пространство между плоскостью разъема и уплотнителем заполнено полимерным наполнителем. В результате повышаются усталостная прочность соединения и жесткость соединения на сдвиг. 1 ил.
Изобретение относится к ответственным узлам, используемым в машиностроении, в частности в гидромашиностроении, для соединения валов гидротурбины и гидрогенератора, а также для соединения рабочего колеса с валом гидротурбины, жестких полумуфт, передающих значительные крутящие моменты, рабочих органов сельхозмашин и др.
Известны узлы соединения деталей машин, в которых осуществляется соединение болтами, установленными в отверстия без зазора [1] (стр.36 фиг.1.20).
В узле соединения, в котором болты устанавливают в отверстие без зазора, соединяемые детали должны совместно обрабатываться. Причем отверстия в соединяемых деталях калибруют разверткой или растачивают совместно с большой точностью, а диаметр стержня болта выполняют с допуском, обеспечивающим заданную посадку.
Эти технологические операции весьма трудоемки, в особенности для крупногабаритных деталей, изготавливаемых нередко в разных городах. Сборка и разборка таких соединений приводит к задирам посадочных поверхностей отверстий деталей и шлифованных поверхностей болтов, что существенно снижает точность регламентируемой посадки в соединений и как результат снижает равномерность распределения поперечной нагрузки.
Известен еще узел соединения деталей машин, в котором в детали, к которой примыкает гайка, выполнено болтовое отверстие под посадку болта без зазора, а в другой детали выполнено отверстие, в котором болт установлен с расчетным зазором, на протяжении зазора стержень болта имеет два участка, конический и цилиндрический, заканчивающейся радиусной канавкой для уплотнителя и буртиком, а в пространстве между плоскостью разъема и уплотнителем создано упругое основание из полимерного материала [2].
Основными недостатками данного решения является необходимость обеспечения достаточно высокой точности соосности отверстий соединяемых деталей, а также трудоемкость изготовления и демонтажа соединения.
Цель изобретения – повышение усталостной прочности соединения путем уменьшения напряжения изгиба под резьбовой частью и под головкой болта, повышение жесткости соединения на сдвиг, а также улучшение технологичности при разборке и сборке.
Поставленная цель достигается тем, что в детали, к которой примыкает гайка, выполнено болтовое отверстие под посадку болта без зазора, плавно переходящее к плоскости разъема, а в другой детали выполнено отверстие, в котором коническая часть болта установлена с зазором, меньшим основанием коническая часть болта направлена в сторону резьбовой части, большее основание заканчивается радиусной канавкой для уплотнителя, а пространство между плоскостью разъема и уплотнителем заполнено полимерным материалом.
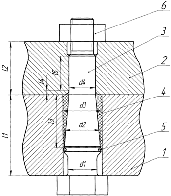
На чертеже показан продольный разрез предлагаемого узла соединения.
Узел содержит установленные в отверстия деталей 1 и 2 болт 3 с гайкой 6, полимерный наполнитель 4 и прокладку 5.
В детали 2 выполнено болтовое отверстие с диаметром d4 под посадку болта 3 без зазора, плавно переходящее к плоскости разъема на участке l4. В детали 1 выполнено отверстие с диаметром d3, в котором болт установлен по свободной посадке.
На участке длиной l3 болт имеет коническую поверхность для уменьшения трудоемкости при разборке соединения. Со стороны головки на расстоянии l3 от плоскости разъема болт имеет радиусную канавку для установки упругой прокладки 5.
При сборке соединения болт 3 свободно проходит через отверстие d3 детали 1 и плотно входит в отверстие под посадку без зазора детали 2, после чего производится затяг болта на заданное усилие натяга, обеспечивающее упругое вдавливание головки болта 3 и гайки 6 в детали 1 и 2. После затяжки болта полость между телом болта и отверстием в детали 1 диаметром d3 заполняется полимерным материалом. Герметичность полости со стороны головки болта обеспечивается за счет упругой прокладки 5.
При работе соединения под действием поперечных нагрузок происходит небольшой сдвиг за счет упругой деформации полимерного материала и тела болта длиной l1+l4. Поскольку болт 3 фиксирован в детали 2 как за счет посадки без зазора, так и за счет гайки, вдавленной в деталь 2 от начального затяга, часть болта, расположенная в детали 2, перемещается как одно целое и полностью исключается изгиб резьбовой части. Также существенно уменьшаются изгибные напряжения под головкой болта после заполнения свободной полости части болта длиной l3+l4 полимерным материалом.
Применение полимерного наполнителя с высокими механическими характеристиками повышает равномерность распределения поперечной нагрузки в групповом болтовом соединении до 1, что существенно повышает реальный запас прочности и жесткости.
Источники информации
1. Иванов М.Н., Финагенов В.А. Детали машин. М.: «Высшая школа», 2002 г. с.407.
2. Патент №2293225. Москва 10.02.2007 (прототип).
Формула изобретения
Узел соединения деталей машин, преимущественно гидромашин, содержащий две соединяемые детали, болт с гайкой, полимерный наполнитель с уплотнителем, отличающийся тем, что в детали, к которой примыкает гайка, выполнено болтовое отверстие под посадку болта без зазора, плавно переходящее к плоскости разъема, а в другой детали выполнено отверстие, в котором коническая часть болта установлена с зазором, меньшим основанием коническая часть болта направлена в сторону резьбовой части, большее основание заканчивается радиусной канавкой для уплотнителя, а пространство между плоскостью разъема и уплотнителем заполнено полимерным наполнителем.
РИСУНКИ
|
|