|
|
(21), (22) Заявка: 2007121710/06, 08.06.2007
(24) Дата начала отсчета срока действия патента:
08.06.2007
(30) Конвенционный приоритет:
13.06.2006 DE 202006009355.9
(46) Опубликовано: 20.03.2009
(56) Список документов, цитированных в отчете о поиске:
US 5403150 A, 04.04.1995. SU 1746078 A1, 07.07.1992. SU 591619 A1, 05.02.1978. SU 375863 A1, 23.02.1988. DE 3230511 A1, 09.02.1984. FR 2323042 A1, 01.04.1977.
Адрес для переписки:
129090, Москва, ул. Б.Спасская, 25, стр. 3, ООО “Юридическая фирма Городисский и Партнеры”, пат.пов. А.В.Мицу
|
(72) Автор(ы):
ПФАННЕНБЕРГ Андреас (DE)
(73) Патентообладатель(и):
ПФАННЕНБЕРГ ГМБХ (DE)
|
(54) ФИЛЬТРУЮЩИЙ ВЕНТИЛЯТОР С УСТРОЙСТВОМ ДЛЯ БЫСТРОГО КРЕПЛЕНИЯ
(57) Реферат:
Изобретение относится к фильтрующему вентилятору в корпусе с рамой, снабженной устройством для быстрого крепления в форме упругих пластинок, что обеспечивает исключение всасывания неочищенного воздуха. Фильтрующий вентилятор (100) имеет корпус (10) и раму (11), причем рама (11) снабжена устройством для быстрого закрепления в виде упругих пластинок (12). Для предотвращения попадания воздуха или влаги в корпус рама (11) по периметру выполнена непрерывно сплошной, и пластинки (12) приформованы к раме (11). 5 з.п. ф-лы, 8 ил.
Изобретение относится к фильтрующему вентилятору в корпусе с рамой, причем рама снабжена устройством для быстрого крепления в форме упругих пластинок.
Фильтрующие вентиляторы предназначены для вентиляции электрошкафов, электронных устройств управления и компьютеров; они устанавливаются в соответствующее отверстие в стенке, например, электрошкафа. Фильтрующие вентиляторы располагают нагнетателем, подающим окружающий воздух внутрь корпуса, причем корпус снабжается дополнительно прорезями для выхода воздуха. Для предотвращения загрязнения электронных устройств в корпусе вентилятор снабжен фильтрующим устройством, например, в виде сменного фильтрующего элемента.
Фильтрующий вентилятор подобного типа известен из ЕР 0439667 В1, причем фильтрующий вентилятор имеет корпус с рамой. На раме выполнены устройства для быстрого закрепления в виде упругих пластинок, предназначенные для установки фильтрующего вентилятора без дополнительных винтов или иных крепежных средств без инструмента в отверстии корпуса и фиксации в нем при помощи упругих пластинок.
Недостатком при этом является то, что упругие пластинки вырезаны в боковых стенках или из рамы корпуса фильтрующего вентилятора так, что при работе вентилятора через эти боковые отверстия внутрь корпуса, например компьютера, возможно всасывание неочищенного воздуха.
Задачей настоящего изобретения является конструирование фильтрующего вентилятора указанного вначале вида так, чтобы исключить всасывание неочищенного воздуха.
Эта задача в фильтрующем вентиляторе с корпусом и рамой, снабженной устройствами для быстрого закрепления в виде упругих предпочтительно крыловидных пластинок, согласно изобретению решается тем, что рама выполнена сплошной по своему периметру, и пластинки приформованы к раме, причем пластинки выполнены треугольными или прямоугольными, и причем зазор между внешней кромкой пластинки и краевой поверхностью корпуса, образующей проходящую по периметру опорную кромку, обращенную к монтажной стенке, составляет 1-4 мм.
На верхней стороне и/или на нижней стороне квадратного или прямоугольного фильтрующего вентилятора, соответственно, в угловой зоне может быть расположено по одной пластинке.
На одной или нескольких сторонах рамы может быть расположено по одной пластинке, причем по существу посередине.
По меньшей мере на двух противоположных стенках рамы может быть предусмотрена по меньшей мере одна пластинка.
На опорной кромке, обращенной к монтажной стенке, имеется уплотняющее средство, в частности, в виде установленной в паз резиновой прокладки.
Фильтрующий вентилятор согласно изобретению выполнен с возможностью его соединения посредством соединительных элементов с другими такими же фильтрующими вентиляторами, причем соединительные элементы приведены в фиксирующее зацепление с пластинками.
У выполненного таким образом предложенного фильтрующего вентилятора устройства для быстрого закрепления в виде упругих пластинок не вырезаются из фрагмента боковой стенки или рамы корпуса вентилятора, а формируются на внешней стороне этой рамы или этих боковых стенок. Предпочтительно фильтрующий вентилятор, соответственно его корпус, выполняется из детали, полученной способом литья под давлением так, что при изготовлении рамы дополнительные пластинки отливаются на ней или выполняются за одно целое с ней. Пластинки при этом расположены как бы с внешней стороны рамы и, например, в установленном состоянии в проеме в монтажной стенке обращены наружу. Кроме того, рама по периметру фильтрующего вентилятора выполнена полностью непрерывно, например, как одна деталь.
Понятно, что фильтрующий вентилятор может быть любым известным способом оснащен дополнительно фильтрующим элементом, и/или нагнетателем, и/или устройствами для подачи воздуха, или подобным устройством. Разумеется, ламели, использующиеся для направления подачи воздуха, могут быть выполнены с возможностью поворота. Принципиально возможно расположение на раме только одной или нескольких предпочтительно, как описано ниже, упругих пластинок.
Преимуществом изобретения является то, что благодаря дополнительно сформированным на раме фильтрующего вентилятора упругим пластинкам отсутствуют отверстия в боковых внешних стенках, и рама по существу непрерывно по периметру выполнена закрытой. Таким образом, эффективно исключается попадание нефильтрованного воздуха, например, внутрь корпуса компьютера.
Также исключается попадание воды через боковые стенки внутрь фильтра, и, следовательно, фильтрующий элемент не сможет полностью пропитаться водой.
Форма вентилятора в рамках настоящего изобретения может быть выбрана произвольно. Предпочтителен, однако, вентилятор, имеющий прямоугольную, круглую или овальную форму.
Фильтрующий вентилятор рассматривался выше по существу в связи с использованием в электрошкафах, электронных устройствах управления, компьютерах или подобных устройствах. Тем не менее, очевидно, что подобный фильтрующий вентилятор может использоваться во всех других областях техники, например, в качестве фильтрующего вентилятора, устанавливаемого в отверстие на стене сооружения, для вентиляции помещений внутри зданий. В таком случае корпус фильтрующего вентилятора предлагается выполнять из металла.
Предпочтительные формы изобретения приводятся в зависимых пунктах формулы изобретения.
Особенно при установке в компьютерных корпусах, электрошкафах или подобных устройствах, корпуса которых состоят обычно из тонкостенного металла и/или пластика, предлагается предусмотреть зазор от 1 до 4 мм между верхней кромкой пластинки и поверхностью стенки, образующей проходящую по периметру опорную кромку, обращенную к монтажной стенке. Для установки фильтрующего вентилятора корпус вводится в подготовленное отверстие в монтажной стенке, причем размеры отверстия в монтажной стенке приблизительно соответствуют внешним размерам рамы корпуса. При установке корпуса в отверстие монтажной стенки упругие пластинки поджимаются в направлении рамы, соответственно ее боковых стенок. Когда рама своей опорной кромкой, обращенной к монтажной стенке, соприкасается с поверхностью, ограничивающей отверстие в монтажной стенке, упругие пластинки возвращаются в исходное положение и как бы фиксируют корпус на монтажной стенке. Для извлечения фильтрующего вентилятора упругие пластинки поджимаются с помощью соответствующего инструмента, например отвертки, и корпус вытаскивается из отверстия. С описанным выше зазором фильтрующий вентилятор может устанавливаться, например, в тонкостенном корпусе компьютера.
Для позиционирования упругих пластинок предлагается размещать последние на верхней и/или на нижней стороне квадратного или прямоугольного фильтрующего вентилятора в области каждого угла. Таким образом, фильтрующий вентилятор может закрепляться в корпусе достаточно просто, например, только двумя пластинками на верхней или нижней кромке или четырьмя на верхней и нижней кромках. В принципе пластинки могут быть расположены также и на левой, и правой стороне фильтрующего вентилятора.
Кроме того, пластинки могут располагаться на правой и/или левой боковой стенке фильтрующего вентилятора, а также на всех четырех боковых стенках. Если на каждой боковой стенке предусматривается только по одной пластинке, то она располагается по середине, обеспечивая симметричные удерживающие силы.
Для достижения улучшенного уплотнения установленного в отверстии монтажной стенки фильтрующего вентилятора на опорной кромке, обращенной к монтажной стенке, имеется уплотняющее средство, не допускающее проникновения воздуха и/или влаги между опорной кромкой, обращенной к монтажной стенке, и стенкой корпуса или монтажной стенкой. В частности уплотняющее средство может выполняться в виде резиновой прокладки и устанавливаться в паз, выполненный по всей длине обращенной к монтажной стенке кромки. Резиновая прокладка может также наклеиваться.
Пластинки предлагается выполнять треугольной или прямоугольной формы. При этом форма, толщина и размеры пластинок выбираются специалистом в зависимости от количества и расположения пластинок, а также от прилагаемых удерживающих усилий, т.е. по существу в зависимости от формы и размера фильтрующего вентилятора.
Для повышения мощности вентилирования в соответствующее отверстие на монтажной стенке могут устанавливаться несколько фильтрующих вентиляторов с выполненными согласно изобретению пластинками и рамами. Для этого предусматриваются соединительные элементы, которые, в частности, могут быть соответственно приведены в фиксирующее зацепление с пластинками двух соседних фильтрующих вентиляторов и обеспечивают, таким образом, разъемное соединение двух соседних фильтрующих вентиляторов. При этом соединительный элемент может выполняться произвольным образом.
Пример выполнения изобретения описывается ниже более подробно с помощью чертежей. На них показано:
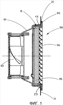
Фиг.1 – фильтрующий вентилятор, в разрезе,
Фиг.2 – вид спереди фильтрующего вентилятора,
Фиг.3 – вид сзади фильтрующего вентилятора с крыловидными пластинками для быстрого крепления фильтрующего вентилятора на монтажной стенке,
Фиг.4 – вид рамы фильтрующего вентилятора с крыловидными пластинками,
Фиг.5 – увеличенный вид фрагмента рамы,
Фиг.6 – еще один вид сверху рамы фильтрующего вентилятора с крыловидными пластинками,
Фиг.7 – поперечное сечение фильтрующего вентилятора и
Фиг.8 – вид сзади фильтрующего вентилятора.
Изображенный на фиг.1-3 фильтрующий вентилятор 100 состоит из корпуса 10 с держателем 101 нагнетателя, в котором расположен нагнетатель 102 с электрическим приводом. Выполненная открытой задняя стенка держателя 101 нагнетателя закрыта защитной решеткой 106 (Фиг.3). На корпусе 10 предпочтительно приформована рама 11. У квадратного или прямоугольного фильтрующего вентилятора 100 рама 11 состоит из четырех боковых стенок 14, 15, 20, 21 (Фиг.8).
Корпус 10 имеет с передней стороны декоративную крышку 103 с устройствами для направления воздуха, например, в виде ламелей 104 (фиг.1 и 2). В крышке 103, соответственно в корпусе 10, установлен фильтрующий элемент 105 для фильтрации подаваемого через фильтрующий вентилятор 100 воздуха. Фильтрующий вентилятор 100 выполнен из одной или нескольких отлитых под давлением из пластмассы и/или металлических деталей. Крышка 103 соединена предпочтительно с возможностью разъединения с корпусом 10 через проходящий по периметру уплотнитель 22 для обеспечения замены фильтрующего элемента 105 (фиг.1).
Фильтрующий вентилятор 100 с корпусом 10 в установленном состоянии располагается в отверстии 23 монтажной стенки 24, например, электрошкафа (Фиг.1).
Для закрепления с возможностью снятия фильтрующего вентилятора 100 в отверстии 23 монтажной стенки 24 фильтрующий вентилятор 100 вводится в отверстие 23, как показано стрелкой Х (Фиг.7). При этом крыловидные упругие пластинки 12, приформованные к раме 11, могут незначительно загибаться в направлении середины отверстия 23, так как это поясняет двойная стрелка X1. Пластинки 12 предпочтительно отформовываются как одно целое с боковыми стенками 14, 15, 20, 21 рамы 11 (Фиг.3, 4, 5, 6 и 7).
Как только фильтрующий вентилятор 100 будет достаточно далеко вдвинут в отверстие 23, пластинки 12 возвращаются в исходное положение и фиксируют фильтрующий вентилятор 100 в установленном положении. Для извлечения фильтрующего вентилятора 100 пластинки 12 слегка вдавливаются внутрь.
Для крепления фильтрующего вентилятора 100, например, на металлическом или пластмассовом корпусе компьютера, электрошкафа или подобного устройства расстояние или зазор 13 между верхней кромкой 25 пластинки 12 и опорной кромкой корпуса 10, обращенной к монтажной стенке, выбирается предпочтительно в пределах 1-4 мм.
При этом пластинки 12 могут располагаться либо, как показано на фиг.8, на раме 11 рядом с соответствующей угловой зоной 16, 17, 18, 19 рамы 11, или в середине боковой стенки 14, 15, 20, 21, как показано на фиг.8 справа и внизу. На раме 11 пластинки 12 могут располагаться и в другом произвольном порядке. Пластинки 12 могут выполняться произвольной формы, предпочтительно, однако, треугольные или прямоугольные. Пластинки 12 сформированы не из материала стенок рамы 11, а приформованы (Фиг.6) к стенкам рамы, так что боковые стенки 14, 15, 20, 21 рамы 11 образуют сплошную поверхность.
Количество пластинок 12 может выбираться произвольно, также как их расположение на раме 11. Наряду с расположением пластинок 12 в угловых зонах 16, 17, 18, 19, они могут предусматриваться посередине боковых стенок рамы 11. По меньшей мере две пластинки должны быть предусмотрены на противоположных боковых стенках рамы 11. Пластинки 12 выполняются предпочтительно из того же материала, что и рама 11, но имеют при этом обеспечивающую упругость форму, так как после снятия давления на пластинку 12 она должна возвращаться в исходное положение.
Для уплотнения фильтрующего вентилятора 100 в установленном состоянии, т.е. когда опорная кромка, обращенная к монтажной стенке, соответственно корпусу 10, по существу заподлицо и всей поверхностью касается монтажной стенки 24, предусмотрена проходящая непрерывно по периметру фильтрующего вентилятора 100 резиновая прокладка 22 из соответствующего синтетического материала. В частности, возможно вклеивание резиновой прокладки 22 в паз для предотвращения проникновения воздуха и/или влаги между фильтрующим вентилятором 100 и монтажной стенкой 24.
Формула изобретения
1. Фильтрующий вентилятор (100) с корпусом (10) и рамой (11), причем рама (11) снабжена устройствами для быстрого закрепления в виде упругих предпочтительно крыловидных пластинок (12), отличающийся тем, что рама (11) выполнена сплошной по своему периметру и пластинки (12) приформованы к раме (11), причем пластинки (12) выполнены треугольными или прямоугольными и причем зазор (13) между внешней кромкой (25) пластинки (12) и краевой поверхностью корпуса (10), образующей проходящую по периметру опорную кромку, обращенную к монтажной стенке, составляет 1-4 мм.
2. Фильтрующий вентилятор по п.1, отличающийся тем, что на верхней стороне (14) и/или на нижней стороне (15) квадратного или прямоугольного фильтрующего вентилятора (100) соответственно в угловой зоне (16, 17, 18, 19) расположено по одной пластинке (12).
3. Фильтрующий вентилятор по п.1, отличающийся тем, что на одной или нескольких из сторон (14, 15, 20, 21) рамы (11) расположено по одной пластинке (12), причем, по существу, посередине.
4. Фильтрующий вентилятор по п.1 или 2, отличающийся тем, что по меньшей мере на двух противоположных стенках рамы (11) предусмотрена по меньшей мере одна пластинка (12).
5. Фильтрующий вентилятор по п.1, отличающийся тем, что на опорной кромке, обращенной к монтажной стенке, имеется уплотняющее средство, в частности, в виде установленной в паз резиновой прокладки (22).
6. Фильтрующий вентилятор по п.1, отличающийся тем, что фильтрующий вентилятор (100) выполнен с возможностью его соединения посредством соединительных элементов с другими такими же фильтрующими вентиляторами (100), причем соединительные элементы приведены в фиксирующее зацепление с пластинками (12).
РИСУНКИ
|
|