|
|
(21), (22) Заявка: 2007149601/06, 24.12.2007
(24) Дата начала отсчета срока действия патента:
24.12.2007
(46) Опубликовано: 20.03.2009
(56) Список документов, цитированных в отчете о поиске:
RU 2148191 C1, 27.04.2000. RU 2153435 C2, 27.07.2000. SU 1128493 A1, 27.10.1996. SU 1530811 A1, 23.12.1989. GB 1396956 A, 11.06.1975.
Адрес для переписки:
420095, Татарстан, г.Казань, ул. Восстания, 61, кв.16, Е.В. Бусыгину
|
(72) Автор(ы):
Карась Леонтий Вениаминович (RU), Муштаков Георгий Глебович (RU), Белай Иван Сергеевич (RU), Кашин Владимир Николаевич (RU), Кириченков Владимир Антонович (RU)
(73) Патентообладатель(и):
Карась Леонтий Вениаминович (RU), Муштаков Георгий Глебович (RU)
|
(54) НАСОСНЫЙ ГИДРОПРИВОД
(57) Реферат:
Изобретение относится к насосным гидроприводам и может быть использовано в исполнительных механизмах систем управления, например, вертолетов. Насосный гидропривод содержит насос регулируемой производительности и гидробак с избыточным давлением рабочей жидкости, соединенные гидролиниями с исполнительными гидроцилиндрами. Гидролинии подачи рабочей жидкости и дренажа оснащены наружными нагнетающим и всасывающим клапанами. В корпусе гидробака выполнено компенсирующее устройство, содержащее поршень, который образует с одной стороны сообщающуюся с атмосферой воздушную полость, а с другой – соединен с плунжером и образует полость для рабочей жидкости. Плунжер выполнен полым, а снаружи – ступенчатым, образуя в корпусе гидробака между торцами перемещающейся ступени плунжера и одного из упоров камеру управления, сообщающуюся с полостью в плунжере через дроссельное отверстие в стенке плунжера. Полость в плунжере ограничена на конце обратным пневмоклапаном, через который в полость и камеру управления нагнетен газ. С противоположного торца плунжера и вторым упором образуется воздушная полость, сообщающаяся с атмосферой через зазор между отверстием в упоре и плунжером. В гидролинию подачи встроен перепускной клапан, установленный в стенке полости для рабочей жидкости, соединенный одним выходом с полостью для рабочей жидкости, а другим – с дренажом. Повышается надежность пуска и работоспособность гидропривода. 16 з.п. ф-лы, 3 ил.
Изобретение относится к насосным гидроприводам и может быть использовано в исполнительных механизмах систем управления, например, вертолетов.
Известны насосные гидроприводы, содержащие насос регулируемой производительности, исполнительный гидродвигатель и гидробак закрытого типа с избыточным давлением. (Кн. Н.С. Гамынин. Проектирование следящих гидравлических приводов летательных аппаратов. М.: Машиностроение, 1981. – Стр.12, рис.1.5). Существенным недостатком указанных гидроприводов является невысокая надежность пуска из-за пониженного давления в гидробаке, величину которого определяет усилие, создаваемое атмосферным давлением на торце поршня и пружиной, по мере износа последней давление в гидробаке становится значительно ниже атмосферного, в результате чего происходит сбой запуска насоса.
Известен насосный гидропривод, содержащий насос регулируемой производительности, соединенный с гидролиниями подачи, всасывания и дренажа, и гидробак с избыточным давлением рабочей жидкости, в корпусе последнего выполнено компенсирующее устройство, содержащее сообщающуюся с атмосферой воздушную полость, плунжер и камеру управления, два упора, внутри которых расположен плунжер, фильтр и штуцер. (Патент RU №2148191 С1. Насосный гидропривод. – МПК7: F04В 49/00. – 2000.04.27). Данное техническое решение принято за прототип.
Недостатком известного технического решения, принятого за прототип, является невысокая надежность пуска насоса из-за пониженного давления в гидробаке, величину которого определяет усилие, создаваемое пружиной, по мере износа последней и изменения температуры окружающей среды давление в гидробаке значительно уменьшается, что снижает стабильность запуска насоса.
Основной задачей, на решение которой направлено предложенное техническое решение, является повышение надежности пуска и работоспособности гидропривода в различных условиях эксплуатации.
Техническим результатом, достигаемым при осуществлении заявляемого технического решения, является обеспечение надежности пуска насоса и работоспособности гидропривода в различных условиях эксплуатации.
Указанный технический результат достигается тем, что в известном насосном гидроприводе, содержащем насос регулируемой производительности, соединенный с гидролиниями подачи, всасывания и дренажа, и гидробак с избыточным давлением рабочей жидкости, в корпусе последнего выполнено компенсирующее устройство, содержащее сообщающуюся с атмосферой воздушную полость, плунжер и камеру управления, два упора, внутри которых расположен плунжер, фильтр и штуцер, согласно предложенному техническому решению
компенсирующее устройство содержит поршень, который образует с одной стороны сообщающуюся с атмосферой воздушную полость, а с другой стороны поршень соединен с плунжером и образует в корпусе полость для рабочей жидкости, соединенную с гидролинией всасывания, при этом плунжер внутри выполнен полым и снаружи – ступенчатым, образуя с корпусом между торцами перемещающейся ступени плунжера и одного из упоров камеру управления, сообщающуюся с полостью в плунжере через выполненное в стенке дроссельное отверстие, для чего полость ограничена на конце плунжера обратным пневмоклапаном, через который в камеру управления нагнетен газ, а с противоположного торца ступени плунжера и вторым упором образуется воздушная полость, сообщающаяся с атмосферой через зазор между отверстием в упоре и плунжером, причем в гидролинию подачи встроен перепускной клапан, соединенный одним выходом с полостью для рабочей жидкости, а другим – с дренажом;
снаружи корпуса на длине перемещения поршня выполнены ребра для охлаждения рабочей жидкости;
на плунжере нанесена шкала показания уровня заполнения полости гидробака рабочей жидкостью;
воздушная полость снабжена воздушным фильтром;
торец поршня имеет сферическую форму, обращенную вогнутостью в полость для рабочей жидкости;
сверху полости для рабочей жидкости установлен спускной клапан для ручного стравливания воздуха из полости;
снизу полости для рабочей жидкости установлен спускной кран для слива рабочей жидкости из полости;
перепускной клапан встроен в стенку корпуса, образующую полость для рабочей жидкости;
в стенке корпуса установлены фильтр и сигнализатор перепада давления, параллельно встроенные в гидролинию подачи рабочей жидкости;
в стенке корпуса установлены фильтр и сигнализатор перепада давления, параллельно встроенные в гидролинию всасывания рабочей жидкости;
в стенке корпуса установлен датчик давления, встроенный в гидролинию подачи рабочей жидкости;
в стенке корпуса установлен сигнализатор давления, встроенный в гидролинию подачи рабочей жидкости;
сигнализатор давления встроен в гидролинию подачи рабочей жидкости перед датчиком давления;
в стенке корпуса установлен дополнительный сигнализатор давления, встроенный в гидролинию подачи рабочей жидкости после датчика давления;
в стенке корпуса установлен сигнализатор давления рабочей жидкости в полости;
в стенке корпуса установлен датчик температуры рабочей жидкости в полости;
гидролинии подачи рабочей жидкости и дренажа оснащены нагнетающим и всасывающим клапанами для присоединения внешних гидравлических устройств.
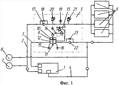
На фиг.1 показана схема насосного гидропривода; на фиг.2 – схема гидробака; на фиг.3 – гидробак в разрезе.
Насосный гидропривод содержит насос 1 регулируемой производительности, соединенный гидролиниями подачи 2 и всасывания 3 рабочей жидкости и дренажа 4 с гидробаком 5 закрытого типа с избыточным давлением рабочей жидкости, последний соединен гидролиниями 2 и 3 с исполнительными гидроцилиндрами 6 системы управления. (фиг.1). Гидролинии подачи 2 рабочей жидкости и дренажа 4 оснащены нагнетающим 7 и всасывающим 8 клапанами для присоединения внешних гидравлических устройств. В корпусе гидробака 5 выполнено компенсирующее устройство, содержащее поршень 9, который образует с одной стороны сообщающуюся с атмосферой воздушную полость 10, а с другой стороны поршень 9 соединен с плунжером 11 и образуют полость 12 для рабочей жидкости, при этом поршень 9 вместе с плунжером 11 имеют возможность перемещения в полостях 10 и 12 в продольном направлении. В гидролинию подачи 2 встроен перепускной клапан 13, установленный в стенке корпуса, образующей полость 12 для рабочей жидкости гидробака 5, и соединенный одним выходом с полостью 12 для рабочей жидкости, а другим – с линией дренажа 4. Воздушная полость 10 снабжена воздушным фильтром 14. Сверху полости 12 для рабочей жидкости установлен спускной клапан 15 для ручного стравливания из нее воздуха, а снизу – спускной кран 16 для слива рабочей жидкости. В стенке корпуса гидробака 5 установлены фильтр 17 и сигнализатор 18 перепада давления, последний параллельно встроен в гидролинию подачи 2 рабочей жидкости с присоединением до и после фильтра 17, датчик 19 давления и сигнализаторы 20 и 21 давления, встроенные в гидролинию подачи 2 рабочей жидкости перед датчиком 19 и после присоединения перепускного клапана 13. В стенке корпуса гидробака 5 также установлены фильтр 22 и сигнализатор 23 перепада давления до и после фильтра 22, параллельно встроенные в гидролинию всасывания 3 рабочей жидкости. В стенке корпуса гидробака 5 установлен сигнализатор 24 давления и датчик 25 температуры рабочей жидкости в полости 12 (фиг.2). Торец поршня 9 имеет сферическую форму, обращенную вогнутостью в полость 12 для рабочей жидкости. Снаружи корпуса на длине перемещения поршня 9 выполнены ребра 26 для охлаждения рабочей жидкости в полости 12. Плунжер 11 внутри выполнен полым и снаружи – ступенчатым, образуя в корпусе между торцами перемещающейся ступени 27 плунжера 11 и одного из упоров 28 камеру 29 управления, сообщающуюся с полостью 30 в плунжере 11 через выполненное в стенке плунжера 11 дроссельное отверстие 31, для чего полость 30 плунжера 11 ограничена с конца обратным пневмоклапаном 32, через который в полость 30 и камеру 29 управления нагнетен газ, например азот. Воздушная полость 33, образованная противоположным торцом ступени 27 плунжера 11 и вторым упором 34, сообщается с атмосферой через зазор между отверстием в упоре 34 и плунжером 11 с сальником 35, внутри последнего перемещается плунжер 11, соединенный с поршнем 9. На плунжере 11 нанесена шкала 36 показания уровня заполнения полости 12 рабочей жидкостью (фиг.3).
Насосный гидропривод работает следующим образом.
Для работы насосного гидропривода сначала выполняют зарядку гидробака 5 газом, например азотом, для чего в полость 30 для рабочей жидкости и камеру 29 управления через дроссельное отверстие 31, с помощью обратного пневмоклапана 32, установленного на торце плунжера 11, нагнетают азот под давлением 15 кгс/см2, необходимый для создания в полости 12 гидробака 5 избыточного давления рабочей жидкости. Газ, поступая из полости 30 через дроссельное отверстие 31 в камеру 29 управления, своим давлением на торец ступени 27 плунжера 11 относительно упора 28 перемещает плунжер 11, последний тянет за собой поршень 9 в крайнее положение. При этом воздух в полости 33 вытесняется в атмосферу противоположным торцом ступени 27 через сальник 35 в зазоре между отверстием в упоре 34 и плунжером 11, а в воздушную полость 10 воздух свободно поступает из атмосферы через воздушный фильтр 14. При полном заполнении азотом полости 30 и камеры 29 управления поршень 9 образует наименьший объем полости 12 для рабочей жидкости, а плунжер 11 выходит из упора 34 до нулевой отметки на шкале 36. После заполнения гидробака 5 азотом гидробак 5 отсоединяют от системы газового обеспечения, после чего обратный пневмоклапан 32 автоматически запирает полость 30 от внешней среды.
Заправка и дозаправка, при необходимости, гидропривода рабочей жидкостью осуществляется от внешних гидравлических устройств через нагнетающий клапан 8 под давлением 3,5 кгс/см2, в результате которой заполняется полость 12 для рабочей жидкости в гидробаке 5. По мере заполнения полости 12 рабочей жидкости поршень 9 перемещается в воздушную полость 10, вытесняя из нее воздух в атмосферу через воздушный фильтр 14, при этом через спускной клапан 15 из полости 12 рабочей жидкости вручную стравливают воздух. Вместе с этим азот в рабочей камере 29 сжимается и постоянно давит на торец ступени 27 плунжера 11, перемещая его относительно упора 28, создавая поршнем 9 давление рабочей жидкости в полости 12, а разность давлений азота в рабочей камере 29 и полости 30 в плунжере 11 уравнивается через дроссельное отверстие 31. Уровень заполнения полости 12 рабочей жидкостью контролируется выдвижением плунжера 11 по шкале 36. При превышении давления рабочей жидкости в полости 12 более 3,5 кгс/см2 срабатывает перепускной клапан 13, который стравливает рабочую жидкость в гидролинию дренажа 4.
Насосный гидропривод работает при включенном насосе 1, который сначала заполняется рабочей жидкостью из гидробака 5 под давлением не более 3,5 кгс/см2, после чего насос 1 создает давление 165 кгс/см2 в гидролинии 2 подачи рабочей жидкости в исполнительные гидроцилиндры 6 приводов системы управления и проходит через установленные в корпусе гидробака 5 фильтр 17, снабженный электрическим сигнализатором 18, фиксирующим засорение фильтра 17 по перепаду давления в гидролинии 2 до и после фильтра 18. В гидролинии 2 подачи рабочей жидкости расположены два электрически соединенных между собой сигнализатора 20 и 21, настроенные на минимальное давление 70 кгс/см2, и датчик давления 19. После отработки исполнительных гидроцилиндров 6 приводов системы управления рабочая жидкость поступает в гидролинию 3 всасывания рабочей жидкости с более низким давлением, где она соединяется с гидролинией 4 дренажа, идущим от насоса 1, и через фильтр 22, встроенный в корпус гидробака 5, попадает в полость 12 для рабочей жидкости. Фильтр 22 снабжен электрическим сигнализатором 23, фиксирующим засорение фильтра 22 по перепаду давления в гидролинии 3 до и после фильтра 22. В полости 12 для рабочей жидкости установлен датчик 25 температуры и сигнализатор 24 давления. В случае превышения давления в гидролинии 2 подачи рабочей жидкости более 225 кгс/см2 срабатывает перепускной клапан 13, который направляет рабочую жидкость в полость 12 гидробака 5, а при превышении давления рабочей жидкости в гидробаке 5 более 3,5 кгс/см2 рабочая жидкость стравливается в гидролинию 4 дренажа. Охлаждение рабочей жидкости в полости 12 осуществляется с помощью ребер 26, выполненных снаружи корпуса гидробака 5 на длине перемещения поршня 9. Контроль за температурой рабочей жидкости в полости 12 осуществляется с помощью датчика 25 температуры рабочей жидкости, установленного в стенке корпуса гидробака 5.
Слив рабочей жидкости из системы осуществляется через всасывающий клапан 8 с присоединением к внешнему гидравлическому устройству, а из гидробака 5 – через спускной кран 16 для слива рабочей жидкости из полости 12.
Предложенная конструкция насосного гидропривода позволяет значительно улучшить эксплуатационные характеристики гидравлической системы управления и повысить надежность ее работы.
Формула изобретения
1. Насосный гидропривод, содержащий насос регулируемой производительности, соединенный с гидролиниями подачи, всасывания и дренажа, и гидробак с избыточным давлением рабочей жидкости, в корпусе последнего выполнено компенсирующее устройство, содержащее сообщающуюся с атмосферой воздушную полость, плунжер и камеру управления, два упора, внутри которых расположен плунжер, фильтр и штуцер, отличающийся тем, что компенсирующее устройство содержит поршень, который образует с одной стороны сообщающуюся с атмосферой воздушную полость, а с другой стороны поршень соединен с плунжером, образуя в корпусе полость для рабочей жидкости, соединенную с гидролинией всасывания, при этом плунжер внутри выполнен полым и снаружи – ступенчатым, образуя с корпусом между торцами перемещающейся ступени плунжера и одного из упоров камеру управления, сообщающуюся с полостью в плунжере через выполненное в стенке дроссельное отверстие, для чего полость ограничена на конце плунжера обратным пневмоклапаном, через который в камеру управления нагнетен газ, а с противоположного торца ступени плунжера и вторым упором образуется воздушная полость, сообщающаяся с атмосферой через зазор между отверстием в упоре и плунжером, причем в гидролинию подачи встроен перепускной клапан, соединенный одним выходом с полостью для рабочей жидкости, а другим – с дренажом.
2. Насосный гидропривод по п.1, отличающийся тем, что снаружи корпуса на длине перемещения поршня выполнены ребра для охлаждения рабочей жидкости.
3. Насосный гидропривод по п.1, отличающийся тем, что на плунжере нанесена шкала показания уровня заполнения полости гидробака рабочей жидкостью.
4. Насосный гидропривод по п.1, отличающийся тем, что воздушная полость снабжена воздушным фильтром.
5. Насосный гидропривод по п.1, отличающийся тем, что торец поршня имеет сферическую форму, обращенную вогнутостью в полость для рабочей жидкости.
6. Насосный гидропривод по п.1, отличающийся тем, что сверху полости для рабочей жидкости установлен спускной клапан для ручного стравливания воздуха из полости.
7. Насосный гидропривод по п.1, отличающийся тем, что снизу полости для рабочей жидкости установлен спускной кран для слива рабочей жидкости из полости.
8. Насосный гидропривод по п.1, отличающийся тем, что перепускной клапан встроен в стенку корпуса, образующую полость для рабочей жидкости.
9. Насосный гидропривод по п.1, отличающийся тем, что в стенке корпуса установлены фильтр и сигнализатор перепада давления, параллельно встроенные в гидролинию подачи рабочей жидкости.
10. Насосный гидропривод по п.1, отличающийся тем, что в стенке корпуса установлены фильтр и сигнализатор перепада давления, параллельно встроенные в гидролинию всасывания рабочей жидкости.
11. Насосный гидропривод по п.1, отличающийся тем, что в стенке корпуса установлен датчик давления, встроенный в гидролинию подачи рабочей жидкости.
12. Насосный гидропривод по п.1, отличающийся тем, что в стенке корпуса установлен сигнализатор давления, встроенный в гидролинию подачи рабочей жидкости.
13. Насосный гидропривод по п.12, отличающийся тем, что сигнализатор давления встроен в гидролинию подачи рабочей жидкости перед датчиком давления.
14. Насосный гидропривод по п.13, отличающийся тем, что в стенке корпуса установлен дополнительный сигнализатор давления, встроенный в гидролинию подачи рабочей жидкости после датчика давления.
15. Насосный гидропривод по п.1, отличающийся тем, что в стенке корпуса установлен сигнализатор давления рабочей жидкости в полости,
16. Насосный гидропривод по п.1, отличающийся тем, что в стенке корпуса установлен датчик температуры рабочей жидкости в полости.
17. Насосный гидропривод по п.1, отличающийся тем, что гидролинии подачи и всасывания рабочей жидкости оснащены нагнетающим и всасывающим клапанами для присоединения внешних гидравлических устройств.
РИСУНКИ
|
|