|
|
(21), (22) Заявка: 2006139890/06, 10.11.2006
(24) Дата начала отсчета срока действия патента:
10.11.2006
(43) Дата публикации заявки: 20.05.2008
(46) Опубликовано: 20.03.2009
(56) Список документов, цитированных в отчете о поиске:
US 3915134 A, 28.10.1975. RU 2003136981 A, 10.06.2005. SU 891995 A, 23.12.1981. GB 2122774 A, 18.01.1984. SU 1224429 A, 15.04.1986. US 6178749 A, 30.01.2001. SU 637543 A, 18.12.1978.
Адрес для переписки:
192236, Санкт-Петербург, ул. Белы Куна, 23, кв.24, В.М. Капитанскому
|
(72) Автор(ы):
Капитанский Виль Моисеевич (RU)
(73) Патентообладатель(и):
Капитанский Виль Моисеевич (RU)
|
(54) ДИЗЕЛЬ С ВПУСКНЫМ И ВЫПУСКНЫМ ТРАКТАМИ, СОЕДИНЕННЫМИ МЕЖДУ СОБОЙ ПЕРЕПУСКНОЙ ТРУБОЙ
(57) Реферат:
Изобретение относится к двигателестроению и может быть использовано в двухтактных и четырехтактных дизелях. Дизель содержит впускной и выпускной тракты, соединенные между собой перепускной трубой. В зоне подключения перепускной трубы к выпускному тракту установлена подвижная заслонка, степень открытия которой задается командой оператора или системы автоматизации. Степень открытия заслонки обеспечивает длительную непрерывную работу дизеля на холостом ходу и малых нагрузках с поддержанием температуры выпускных газов не менее 250°С. Такое выполнение исключает выброс из выпускного тракта наружу несгоревшего масла, ухудшение экологической обстановки в районе работающего дизеля и закоксовывание проточной части турбокомпрессора (если таковой установлен на дизеле). 1 ил.
Изобретение относится к дизелестроению и распространяется на двух- и четырехтактные дизели.
В последние годы в ряде отраслей техники и народного хозяйства (морской и речной флот различного назначения, тепловозостроение, резервные и аварийные дизельные электроагрегаты и электростанции и др.) резко возросла потребность в дизелях, допускающих длительную непрерывную эксплуатацию на малых нагрузках (от холостого хода и обычно до 25% – далее долевые режимы) без ограничения времени.
Решению этой задачи препятствует в первую очередь выброс несгоревшего масла в выпускную систему двигателя и из нее в окружающую среду, что существенно ухудшает экологическую обстановку вблизи работающего двигателя. Кроме того, на этих режимах происходит закоксовывание проточной части турбины турбокомпрессора (ТК) двигателя, что приводит к невозможности вывода двигателя с долевых нагрузок на заданную более высокую из-за наступления помпажа ТК, т.е. приводит к невозможности нормальной эксплуатации двигателя. Указанные неприятности обусловлены низкой температурой выпускных газов на этих долевых режимах.
Для избежания отмеченных неприятностей все дизелестроительные фирмы как правило вынуждены предписывать в своих инструкциях по эксплуатации периодический (через каждые 5-10 ч работы на таких режимах) вывод двигателя на повышенные нагрузки (более 50%) для прожога выпускного коллектора и проточной части ТК от несгоревшего масла и коксовых отложений. Очевидно, что выполнение этого требования создает значительные неудобства для потребителей и в ряде случаев приводит к значительным дополнительным расходам у них.
Патентом №2285133 предложено применение измененных органов газораспределения для обеспечения длительной непрерывной работы дизеля на долевых нагрузках. В данном решении предлагается другой способ достижения аналогичного результата – повышение температуры выпускных газов до требуемых значений за счет частичного перепуска выпускных газов на всасывание и повышение тем самым температуры свежего заряда на входе в цилиндры дизеля.
Технической задачей изобретения является применение такого решения, при котором обеспечивалась бы как нормальная работа дизеля на всех эксплуатационных режимах, так и непрерывная без ограничения по времени работа на холостом ходу и малых нагрузках – обычно менее 25% – (долевые режимы) за счет повышения температуры выпускных газов до уровня, при котором исключается выброс из цилиндров в выпускной тракт и наружу несгоревшего масла и закоксовывание проточной части турбины турбокомпрессора обычно до уровня не менее 250°С. Поставленная задача решается за счет применения дизелей, содержащих впускной (воздухозаборный) и выпускной тракты, соединенные между собой перепускной трубой, причем в зоне подключения перепускной трубы к выпускному тракту установлена подвижная заслонка, отличающихся тем, что степень открытия заслонки задается оператором или системой автоматизации для обеспечения длительной непрерывной работы дизеля на холостом ходу и малых нагрузках с поддержанием температуры выпускных газов на этих режимах не менее 250°С за счет перепуска части выпускных газов на всасывание.
Повышение температуры выпускных газов на долевых режимах обеспечивается путем повышения температуры свежего заряда на впуске в цилиндры дизеля за счет частичного смешения всасываемого воздуха с перепускаемыми на вход дизеля (или его наддувочного агрегата – компрессора турбокомпрессора) выпускными газами. В зависимости от типа дизеля и его характеристик может требоваться перепуск, как правило, не более 60% выпускных газов. Поскольку выпускные газы на долевых режимах имеют достаточно большой избыток воздуха, то обеспечивается нормальная работа дизеля в этих условиях. При такой организации рабочего процесса температура заряда на входе в цилиндры может достигать 160-180°С, а на входе в агрегат наддува – немного менее указанных значений.
При реализации данного решения на двигателе конструктивно должны быть приспособлены к работе с указанными температурами компрессорная часть агрегата наддува, а также ресивер наддувочного воздуха и зона продувочных окон двухтактного дизеля. Кроме того, необходимо предусмотреть при включении перепуска выпускных газов отключение протока холодной воды через воздухоохладитель дизеля для исключения ненужного в этом случае охлаждения воздуха. При наличии на двигателе сдвоенного воздухоохладителя – воздухоподогревателя, одна из секций которого является охладителем и омывается водой наружного контура, а другая – подогревателем, омываемым горячей водой внутреннего контура двигателя, проток через эту вторую секцию сохраняется при перепуске выпускных газов на всасывание.
Для организации перепуска выпускных газов на всасывание в зоне соединения перепускной трубы с выпускным трактом установлена подвижная заслонка, управляемая автоматически или по команде оператора. Могут быть реализованы два варианта управления (автоматического регулирования) открытием заслонки – полное открытие и полное закрытие, либо открытие заслонки, пропорциональное количеству перепускаемых на всасывание выпускных газов. В первом случае реализуется наиболее простая система автоматизации или управления заслонкой, – при снижении температуры выпускных газов ниже заданного уровня (менее 250°С) заслонка полностью открывается. В этом случае на режиме с температурой, близкой к 250°С, температура повысится до 400-420°С. При дальнейшем снижении нагрузки вплоть до холостого хода температура будет снижаться, оставаясь всегда выше 250°С. Во втором случае на любом долевом режиме температура выпускных газов будет поддерживаться примерно постоянной в диапазоне 275-290°С
Открытие заслонки при температуре выпускных газов ниже 250°С производится с задержкой по времени в зависимости от уставки применительно к данному типу двигателя и условиям его эксплуатации. Требуемое прикрытие заслонки при повышении температуры выпускных газов выше 300-350°С либо 400-420°С (в зависимости от принятого закона управления заслонкой) должно реализовываться без задержки по времени. Величина временной задержки выдачи управляющего сигнала устанавливается лицом, ответственным за эксплуатацию данного двигателя, в соответствии с инструкцией по эксплуатации последнего и реализуется либо оператором (при ручном управлении), либо с помощью регулировочного органа системы автоматизации.
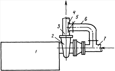
На чертеже представлен дизель с впускным и выпускным трактами, соединенными между собой перепускной трубой. Здесь 1 – дизель, 2 – турбокомпрессор, 3 – выпускной тракт, 4 – рычаг заслонки, 5 – заслонка, 6 – перепускной трубопровод, 7 – впускной тракт.
При работе на режимах с температурой выпускных газов выше 250°С заслонка закрыта. При работе на долевых режимах (с температурой выпускных газов ниже 250°С) оператор либо система автоматизации, воздействуя на рычаг 5, открывают на необходимую величину заслонку 6 в соответствии с реализованным регламентом управления ею, указанным выше. При увеличении нагрузки дизеля и соответствующем повышении температуры выпускных газов производится закрытие заслонки. Степень открытия заслонки определяет количество перепускаемых на всасывание выпускных газов. Для защиты от попадания на всасывание сажистых отложений и окалины из выпускного трубопровода на перепускной трубе рекомендуется установить сетчатый фильтр.
Формула изобретения
Дизель, содержащий впускной (воздухозаборный) и выпускной тракты, соединенные между собой перепускной трубой, причем в зоне подключения перепускной трубы к выпускному тракту установлена подвижная заслонка, отличающийся тем, что степень открытия заслонки для обеспечения длительной непрерывной работы дизеля на холостом ходу и малых нагрузках с поддержанием температуры выпускных газов на этих режимах не менее 250°С задается командой оператора или системы автоматизации.
РИСУНКИ
|
|