|
|
(21), (22) Заявка: 2005124908/06, 20.10.2004
(24) Дата начала отсчета срока действия патента:
20.10.2004
(30) Конвенционный приоритет:
22.10.2003 DE 10348967.3
(43) Дата публикации заявки: 10.05.2006
(46) Опубликовано: 20.03.2009
(56) Список документов, цитированных в отчете о поиске:
DE 19516971 A, 16.11.1995. SU 1686202 A1, 23.10.1991. RU 2112887 C1, 10.06.1998. EP 0301547 A2, 01.02.1989. FR 2638487 A1, 18.05.1990. GB 2036486 А, 23.06.1980. US 4872311 A, 10.10.1989.
(85) Дата перевода заявки PCT на национальную фазу:
04.08.2005
(86) Заявка PCT:
EP 2004/011861 (20.10.2004)
(87) Публикация PCT:
WO 2005/040578 (06.05.2005)
Адрес для переписки:
129090, Москва, ул. Б. Спасская 25, стр.3, ООО “Городисский и Партнеры”, Ю.Д.Кузнецову
|
(72) Автор(ы):
ФОГЕЛЬЗАНГ Клаус (DE), АДЛЕФФ Курт (DE), ПИТТИУС Райнхольд (DE)
(73) Патентообладатель(и):
ФОЙТ ТУРБО ГМБХ УНД КО.КГ (DE)
|
(54) СПОСОБ ОПТИМИЗАЦИИ СТЕПЕНИ ИСПОЛЬЗОВАНИЯ В УЗЛЕ ПРИВОДА И УЗЕЛ ПРИВОДА ДЛЯ ОСУЩЕСТВЛЕНИЯ СПОСОБА
(57) Реферат:
Изобретение относится к области двигателестроения. Способ оптимизации эффекта торможения двигателем в узле (1) привода, в частности, для использования в транспортных средствах в рабочем состоянии, соответствующем режиму торможения моторным тормозом, утилизационная турбина (5) приводится в действие в рабочей точке (II), которая характеризуется максимально допустимым предельным числом оборотов nmax-5 утилизационной турбины (5) при минимальном передаваемом моменте M5, и в рабочем состоянии, соответствующем режиму частичной нагрузки или режиму принудительного холостого хода, утилизационная турбина (5) приводится в действие в рабочей точке (I), которая характеризуется минимальным числом оборотов nmin-5 и минимальным воспринимаемым моментом Мmin-5, причем установка обеих рабочих точек осуществляется через гидродинамическую муфту (8), которая пригодна для функционирования одной характеристики, передаваемый момент которой для большей части разности чисел оборотов, характеризующей проскальзывание, с учетом передаточного отношения передаточных элементов в передаточном узле (16) к утилизационной турбине (5) соответствует минимальному моменту МMin-5, передаваемому от утилизационной турбины (5) или воспринимаемому ею. Рассмотрен узел привода с двигателем (3) внутреннего сгорания, в котором гидродинамическая муфта (8) пригодна для функционирования одной характеристики, передаваемый момент которой, с учетом передаточного отношения в передаточном узле (16), соответствует минимальному моменту МMin-5, воспринимаемому утилизационной турбиной (5) или передаваемому от нее, для большей части области проскальзывания, характеризуемой отношением чисел оборотов между первичным диском и вторичным диском. 2 н. и 8 з.п. ф-лы, 8 ил.
Изобретение относится к способу оптимизации степени использования в узле привода, в особенности эффекта торможения двигателем, в частности, с признаками, согласно родовому понятию пункта 1 формулы изобретения, а также к блоку привода.
Узлы приводов в комбинациях с турбиной известны из уровня техники во множестве вариантов осуществления. Они предусматривают использование энергии отработавших газов. В качестве примера можно сослаться на документ DE 19516971, в котором описан узел привода с двигателем внутреннего сгорания в комбинации с турбиной. В этом узле предусмотрена турбина для использования отработавшего газа, которая включена на выходе турбокомпрессора и которая нагружается в режиме вытяжки из трубопровода отработавшего газа двигателя внутреннего сгорания. При этом она находится в приводном соединении через, по меньшей мере, одну гидродинамическую муфту с коленчатым валом. Таким способом можно использовать остаточную энергию, еще имеющуюся в отработавшем газе. При этом в турбине, работающей на отработавшем газе, энергия отработавшего газа преобразуется в энергию вращения, за счет которой привод коленчатого вала транспортного средства получает дополнительную поддержку. За счет использования энергии отработавшего газа для привода транспортного средства кпд узла привода увеличивается. Кроме того, известно, что мощность торможения двигателем транспортного средства также может быть повышена, если приводной механизм, то есть двигатель внутреннего сгорания, оснащен тормозным устройством, использующим работу двигателя в режиме компрессора, или обычно также называемым моторным (компрессионным) тормозом. С помощью него камера сгорания двигателя внутреннего сгорания в режиме торможения на последнем отрезке такта уплотнения соединяется с газовыпускной (выхлопной) системой, например, за счет открытия имеющегося выхлопного клапана. В результате, сжатый воздух во время такта сжатия вытекает из цилиндра, а выработанная во время такта сжатия работа сжатия вновь не вводится в действие во время такта расширения, что, таким образом, ведет к увеличению мощности торможения двигателя внутреннего сгорания. Однако этому при определенных обстоятельствах противодействует обусловленный связью между турбиной, использующей отработавший газ, и двигателем внутреннего сгорания подвод мощности в двигатель внутреннего сгорания. Поэтому при торможении двигателем в случае так называемого комбинированного с турбиной (турбированного) двигателя внутреннего сгорания является желательным в режиме торможения исключить или, по меньшей мере, уменьшить дополнительную энергию, которая подводится к коленчатому валу за счет связи с турбиной, работающей на отработавшем газе, и которая поступает к турбине, работающей на отработавшем газе (утилизационной турбине), на основе декомпрессии двигателя внутреннего сгорания. При этом известны меры, применяемые в трубопроводе отработавшего газа, например, обводные установки, чтобы минимизировать подвод газа утилизационной турбины в режиме торможения. Функциональные состояния узла привода могут быть в основном подразделены на три основных состояния. В качестве первого они включают в себя область нагрузки, которая характеризуется высоким количеством отработавшего газа, который может быть подведен к утилизационной турбине. Утилизационная турбина приводится в действие потоком отработавшего газа и выдает через передаточное устройство, т.е. через муфту связи с коленчатым валом, мощность на коленчатый вал. Это оказывает позитивное воздействие на кпд двигателя. В области неполной (частичной) нагрузки или в режиме принудительного холостого хода с незначительным объемом отработавшего газа содержащаяся в отработавшем газе энергия недостаточна для того, чтобы разогнать утилизационную турбину до числа оборотов, соответствующего числу оборотов двигателя внутреннего сгорания, с учетом передаточного отношения в соединении с коленчатым валом. При этом за счет передаточного узла создается связь, посредством которой утилизационная турбина ускоряется со стороны коленчатого вала. Мощность от коленчатого вала передается к утилизационной турбине, что, однако, негативно сказывается на кпд двигателя. Это справедливо по аналогии и для третьего рабочего состояния, режима торможения с использованием моторного (компрессионного) тормоза. В этом состоянии утилизационная турбина приводится в действие повышенным потоком отработавшего газа, и мощность передается от утилизационной турбины на коленчатый вал, что, однако, вновь негативно влияет на действие торможения.
В основе изобретения лежит задача создать способ оптимизации степени использования, в частности, кпд и/или эффекта торможения двигателем, в зависимости от рабочего состояния, и, соответственно, узел привода вышеуказанного типа усовершенствовать таким образом, чтобы устранить эти недостатки и, в частности, в режиме частичной нагрузки, а также в режиме торможения устранить негативное влияние на кпд двигателя и, соответственно, на предусмотренное действие торможения. При этом, в зависимости от способа торможения, всегда необходимо обеспечивать настройку на оптимальный эффект торможения двигателем или оптимальный кпд. При этом конструктивные и эксплуатационно-технические затраты должны поддерживаться по возможности минимальными.
Соответствующее изобретению решение характеризуется признаками пунктов 1 и 10 формулы изобретения. Предпочтительные варианты выполнения отражены в зависимых пунктах.
Узел привода с двигателем внутреннего сгорания с коленчатым валом и трубопроводом отработавшего газа и включенной за двигателем внутреннего сгорания утилизационной турбиной, нагружаемой от трубопровода отработавшего газа, а также гидродинамической муфтой, размещенной между коленчатым валом и утилизационной турбиной, в соответствии с изобретением выполнен таким образом, что гидродинамическая муфта, с учетом соответствующего передаточного отношения передаточных элементов между гидродинамической муфтой и утилизационной турбиной и гидродинамической муфтой и коленчатым валом, выполнена таким образом, что она обеспечивает в режиме частичной нагрузки, с учетом передаточного отношения между первичным диском и утилизационной турбиной, передачу момента, который соответствует минимально воспринимаемому моменту МMin-5 утилизационной турбины при незначительном числе оборотов, и кроме того, в рабочем состоянии режима торможения с использованием моторного тормоза при максимальном числе оборотов утилизационной турбины воспринимает минимальный момент. Это означает, что в обоих рабочих состояниях гидродинамическая муфта, которая свободна от направляющего колеса, характеризуется такой характеристикой, которая отличается незначительным передаваемым моментом во всей рабочей области, в частности, в области разности чисел оборотов гидродинамической муфты. Это может быть достигнуто в соответствии с изобретением согласно первому варианту решения за счет применения гидродинамической муфты с неизменной характеристикой в отдельных рабочих состояниях. В случае подобных муфт речь идет, как правило, о неуправляемых или, соответственно, нерегулируемых муфтах. Это означает, что они имеют постоянную степень заполнения. Эта степень заполнения обуславливает, за счет отношения чисел оборотов между вторичным диском и первичным диском, определенный передаваемый момент, который соответствует воспринимаемому на утилизационной турбине моменту при непосредственной связи или, при связи через передаточные элементы, пропорционален ему. Это справедливо по аналогии для числа оборотов. Гидродинамическая муфта выбирается в зависимости от применяемой утилизационной турбины, при этом соответственно характеристике утилизационной турбины в качестве целевых устанавливаемых чисел оборотов задаются предельное число оборотов для защиты от перегрузки, которое соответствует максимально допустимому числу оборотов, которое на характеристике утилизационной турбины может соответствовать точке превышения номинального числа оборотов, и минимально допустимое число оборотов, причем в обеих рабочих точках вращающий момент утилизационной турбины, предпочтительно, но не обязательно, идентичен и соответствует незначительному, предпочтительно минимальному значению. При этом передаваемый через гидродинамическую муфту момент или соответственно поддерживаемый ею момент является функцией минимального вращающего момента на утилизационной турбине, а также максимально допустимого числа оборотов утилизационной турбины и минимального числа оборотов и передаточного отношения i передаточного узла, размещенного между утилизационной турбиной и гидродинамической муфтой.
Согласно второму варианту решения, обеспечено управление, предпочтительно регулирование требуемого режима передачи на гидродинамической муфте. При этом в качестве переменной регулирования действует степень заполнения гидродинамической муфты, которая является изменяемой. Настройка степени заполнения является при этом составной частью управления или регулирования рабочей точки утилизационной турбины. Предпочтительно при этом осуществляется регулирование устанавливаемого на утилизационной турбине числа оборотов, соответственно, в режиме торможения – максимального допустимого предельного числа оборотов, а в режиме частичной нагрузки – минимального числа оборотов, причем оба параметра характеризуются предварительно определенным минимально обеспечиваемым моментом, предпочтительно соответствующим минимальному моменту. При этом в случае максимально допустимого числа оборотов речь идет, как уже неоднократно указывалось, предпочтительно о числе оборотов, характеризующем на характеристике точку превышения номинального числа оборотов. В случае же минимального числа оборотов речь идет о числе оборотов при минимально передаваемом моменте, но который предпочтительно не обязательно соответствует моменту, который может передаваться и при максимально допустимом предельном числе оборотов. При этом устанавливается степень заполнения, причем воздействие на степень заполнения может осуществляться различными способами и в деталях зависит от конкретного конструктивного выполнения гидродинамической муфты и соответствующей ей системы подачи рабочего тела. Так, например, гидродинамическая муфта всегда имеет, по меньшей мере, одно впускное отверстие и одно выпускное отверстие рабочего пространства. Они связаны с системой подачи рабочего тела. При этом в простейшем случае степень заполнения устанавливается посредством управления или настройки давлений во входном отверстии и/или выходном отверстии. Дополнительная возможность состоит в установке определенного объемного расхода через входное отверстие или выходное отверстие, а также давления перекрытия, действующего на внешний контур, соединяющий входное и выходное отверстия, который также используется для циркуляции рабочего тела, например в целях охлаждения, причем, однако, в данном случае должны быть предусмотрены дополнительные меры для реализации соответствующей передачи давления. Кроме того, возможно использование механических устройств для воздействия на степень заполнения, например, питающие трубы (гидромуфты), которые также служат для регулирования объемного расхода за счет того, что они связаны с промежуточным накопителем рабочего тела и, кроме того, с впуском или входным отверстием в рабочее пространство. Установка питающей трубы может быть постоянной или переменной. При этом соответствующее изобретению решение касательно установки рабочих точек утилизационной турбины не ограничено ни одним из этих средств.
Для того чтобы оптимизировать степень использования, под которой может пониматься, в зависимости от рабочего состояния, эффект торможения двигателем или кпд, утилизационная турбина управляется таким образом, что она в рабочем состоянии в области частичной нагрузки работает с минимальным числом оборотов и минимальным воспринимаемым вращающим моментом, в то время как в рабочем состоянии в режиме торможения утилизационная турбина работает с максимальным числом оборотов с минимальным передаваемым моментом. Это может осуществляться путем управления или предпочтительно регулирования соответствующего числа оборотов для утилизационной турбины с параболической характеристикой. Возможно использование и других характеристик в зависимости от конкретного выполнения муфты.
Установка рабочих точек (I, II) может осуществляться путем управления числом оборотов n5 или, по меньшей мере, опосредованно характеризующим его значением параметра утилизационной турбины (5).
Установка рабочих точек (I, II) может также осуществляться путем регулирования числа оборотов n5 или, по меньшей мере, опосредованно характеризующего его значения параметра утилизационной турбины (5).
Значение параметра, по меньшей мере, опосредованно характеризующее действительное число оборотов утилизационной турбины (5), непрерывно определяется и сравнивается с подлежащим установке номинальным числом оборотов nном-5, причем в зависимости от отклонения регулируемой величины от заданного значения определяется переменная регулирования для управления гидродинамической муфтой (8).
Рабочее состояние режима торможения моторным тормозом определяется при наличии числа оборотов n5 утилизационной турбины, с учетом передаточного отношения в передаточном узле (16), большего, чем число оборотов коленчатого вала (4), а режим частичной нагрузки или режим вынужденного холостого хода определяется при наличии числа оборотов n5 утилизационной турбины, с учетом передаточного отношения в передаточном узле (16), меньшего, чем число оборотов n4 коленчатого вала (4), при исключении режима полной нагрузки.
Гидродинамическая муфта может быть выполнена как управляемая или регулируемая муфта с изменяемой степенью заполнения с относящимся к гидродинамической муфте управляющим устройством, включающим в себя формирователь переменной регулирования для формирования переменной регулирования для управления исполнительным механизмом гидродинамической муфты.
Соответствующее изобретению решение поясняется ниже со ссылками на чертежи, на которых показано следующее:
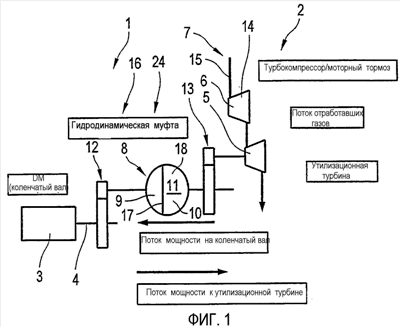
Фиг.1 и 1b – схематичное упрощенное представление принципиальной схемы узла привода, выполненного согласно изобретению;
Фиг.2а и 2b – схематичное упрощенное представление соответствующего изобретению способа оптимизации эффекта торможения двигателем в рабочем состоянии торможения моторным тормозом с помощью сигнальных диаграмм;
Фиг.3а и 3b – характеристика муфты, в частности, насосная характеристика для используемой в соответствии с изобретением муфты с постоянной степенью заполнения и с переменной степенью заполнения;
Фиг.4 – соответствующий изобретению способ в рабочем состоянии частичной нагрузки или режиме принудительного холостого хода, представленный с помощью сигнальной диаграммы;
Фиг.5 – иллюстрация на примере выполнения по фиг.1 соответствия устройства управления отдельным компонентам в узле привода.
На фиг.1 приведена в схематичном упрощенном представлении с помощью фрагмента узла 1 привода принципиальная схема комбинированной турбосистемы 2. Узел привода включает в себя приводной механизм в форме двигателя 3 внутреннего сгорания и коленчатый вал 4. Кроме того, предусмотрена утилизационная турбина 5, которая размещена в потоке отработавшего газа двигателя и нагружается потоком отработавшего газа двигателя 3 внутреннего сгорания. Она включена на выходе турбокомпрессора 6 и поэтому не является его составной частью. Утилизационная турбина 5 при этом нагружается от трубопровода 7 отработавшего газа. Утилизационная турбина 5, кроме того, соединена с коленчатым валом 4, то есть она находится с ним в приводном соединении через передаточный узел 16. В соединении между коленчатым валом 4 и утилизационной турбиной 5, то есть в передаточном узле 16 предусмотрена гидродинамическая муфта 8. Она включает в себя первичный диск 10 и вторичный диск 9, которые образуют друг с другом рабочее пространство 11. При этом гидродинамическая муфта 8 не связана с ведущим колесом. Вторичный диск 9 связан с коленчатым валом 4, по меньшей мере, непосредственно без проворачивания, или через другие передаточные элементы, например, в форме устройств преобразования числа оборотов в форме накладок. Первичный диск 10 связан с утилизационной турбиной 5, по меньшей мере, непосредственно, то есть предпочтительно прямо или через дополнительные передаточные элементы. В показанном случае связь между вторичным диском 9 гидродинамической муфты 8 и коленчатым валом 4 осуществляется через кинематическую цепь 12 цилиндрического зубчатого колеса. Связь между вторичным диском 9 и утилизационной турбиной 5 осуществляется через другую кинематическую цепь 13 цилиндрического зубчатого колеса. Также возможна непосредственная связь или промежуточное включение других или дополнительных устройств преобразования числа оборотов/вращающего момента. В обоих случаях в направлении передачи мощности от коленчатого вала 4 на утилизационную турбину 5 передаточное отношение цилиндрической зубчатой передачи 12 и 13 соответственно реализовано как повышающее передаточное отношение. Утилизационная турбина 5, таким образом, размещена параллельно коленчатому валу 4. Возможно также не показанное на чертеже размещение под углом, причем передаточные элементы в таком случае должны быть выполнены соответствующим образом. Перед утилизационной турбиной 5 включен турбокомпрессор 6 или моторный тормоз. Турбокомпрессор 6 выполнен с первой ступенью турбины, которая связана с трубопроводом 7 отработавшего газа и приводит в движение ступень 14 компрессора во впускном трубопроводе 15. Вторая ступень турбины, которая размещена на стороне вниз по потоку от первой ступени турбины или ступени 14 компрессора образована утилизационной турбиной 5. Способ функционирования узла 1 привода может характеризоваться обычным выполнением по существу посредством названных далее рабочих состояний. В первом рабочем состоянии, которое также называется режимом нагрузки с высоким объемом отработавшего газа, утилизационная турбина 5 приводится в движение потоком отработавшего газа в трубопроводе 7 отработавшего газа и выдает через передаточный механизм 16 мощность на коленчатый вал 4. Это положительным образом действует на кпд двигателя. Во втором рабочем состоянии, которое обозначается как режим частичной нагрузки или режим принудительного холостого хода, в трубопровод 7 отработавшего газа выдается лишь незначительный объем отработавшего газа. Содержащаяся в отработавшем газе энергия, таким образом, в обычных узлах приводов недостаточна для того, чтобы ускорить утилизационную турбину 5 до числа оборотов n3, соответствующего числу оборотов двигателя 3 внутреннего сгорания, с учетом преобразования в передаточном узле 16, в частности, между гидродинамической муфтой 8 и утилизационной турбиной 5. За счет приводного соединения между коленчатым валом 4 и утилизационной турбиной 5 через гидродинамическую муфту 8 утилизационная турбина 5 может ускоряться со стороны коленчатого вала 4. Это приводит к тому, что с коленчатого вала 4 к утилизационной турбине 5 передается мощность, которая больше не обеспечивается для нормального режима и поэтому отрицательно воздействует на кпд двигателя. Третье рабочее состояние в обычных узлах привода, без использования соответствующего изобретению решения, характеризуется тем, что он описывает режим торможения моторным тормозом. В этом режиме утилизационная турбина 5 приводится в движение повышенным потоком отработавшего газа в трубопроводе 7 отработавшего газа. Мощность передается затем от утилизационной турбины 5 на коленчатый вал 4. Это вновь негативно влияет на эффект торможения двигателем. Для устранения названных недостатков в соответствии с изобретением оптимизируется режим работы утилизационной турбины 5 за счет управления способом передачи мощности в передаточном узле 16 с учетом рабочего состояния утилизационной турбины 5. В соответствии с изобретением в рабочем состоянии в режиме торможения моторным тормозом утилизационная турбина 5 управляется таким образом, что она работает с числом оборотов n5, которое соответствует максимально допустимому числу оборотов nmax-5, т.е. так называемому предельному числу оборотов nпредел5 утилизационной турбины 5. При этом утилизационная турбина 5 или ее способ функционирования могут быть описаны посредством характеристики, согласно которой обеспечиваемый утилизационной турбиной момент M5 меньше, чем при более низких числах оборотов. Предельное число оборотов nпредел5 соответствует при этом числу оборотов, при котором еще надежным образом можно избежать повреждений утилизационной турбины 5. При этом в качестве регулирующего устройства для указанного управления служит гидродинамическая муфта 8. Для того чтобы ограничить число оборотов n5 утилизационной турбины 5, нужно посредством встроенной в передаточный узел 16 гидродинамической муфты 8 поддерживать некоторый вращающий момент. Этот вращающий момент действует, однако, через соединение с коленчатым валом 4 противоположно тормозному моменту моторного тормоза. Поэтому в соответствии с изобретением этот тормозной момент следует поддерживать минимальным. Так как в соответствии с известной характеристикой утилизационной турбины 5 вращающий момент при этом предельном числе оборотов nпредел5 меньше, чем при меньших числах оборотов, то стремятся максимально часто использовать утилизационную турбину 5 в этой рабочей точке. При этом утилизационная турбина 5 управляется таким образом, что она в максимально возможной степени используется при ее максимальном числе оборотов n5. Одновременно, однако, число оборотов двигателя 3 внутреннего сгорания между стороной турбины, т.е. первичным диском 10 гидродинамической муфты 8, и стороной коленчатого вала, т.е. вторичным диском 9, изменяется.
Фиг.1b дополнительно поясняет характеристику утилизационной турбины 5 с помощью диаграммы числа оборотов n5/вращающего момента M5. Вращающий момент М5 соответствует при этом, в зависимости от направления потока мощности, воспринимаемому утилизационной турбиной 5 моменту или передаваемому от нее на передаточный узел моменту. Предпочтительно параболическая зависимость в комбинации с минимально воспринимаемым или передаваемым моментом характеризуется двумя рабочими точками I и II. Их следует настраивать или устанавливать в указанных рабочих состояниях частичной нагрузки или режиме принудительного холостого хода и в режиме торможения двигателем. При этом для оптимизации всей системы в режиме частичной нагрузки стремятся к достижению рабочей точки в области рабочей точки I, а в режиме торможения двигателем – рабочей точки в области рабочей точки II, причем эти рабочие точки характеризуются минимальным моментом. Это осуществляется в простейшем случае за счет автоматической установки этих рабочих точек путем выбора подходящей гидродинамической муфты 8 с постоянной степенью заполнения FG в отдельных рабочих состояниях, причем они являются неизменными для соответствующего рабочего состояния, однако между отдельными рабочими состояниями варьируются или путем регулирования числа оборотов утилизационной турбины 5, или путем регулирования передаточного отношения гидродинамической муфты 8, в частности, степени заполнения FG.
Согласно первому варианту решения, выбирается гидродинамическая муфта 8 с соответствующей характеристикой согласно фиг.3а, причем она является неизменяемой и характеризуется постоянной степенью заполнения муфты 8. Гидродинамическая муфта 8 при этом выполнена таким образом, что она пригодна для того, чтобы при степени заполнения FG определенной величины надежно поддерживать на гидродинамической муфте 8 момент М10, приложенный к вторичному диску 9, с учетом передаточного отношения размещенных между утилизационной турбиной 5 и гидродинамической муфтой 8 передаточных элементов, в частности, устройств преобразования числа оборотов/вращающего момента, в данном случае кинематической цепи 13 цилиндрического зубчатого колеса. Момент М10 при этом пропорционален переданному от утилизационной турбины 5 моменту M5. Гидродинамическая муфта 8 при этом выполнена таким образом, что ее характеристика определяется отношением чисел оборотов между вторичным диском 9 и первичным диском 10, по отношению к воспринимаемому первичным диском 10 моменту М10. Это момент соответствует при этом, с учетом передаточного отношения кинематической цепи 13 цилиндрического зубчатого колеса или размещенных между первичным диском 10 и утилизационной турбиной 5 передаточных элементов, минимальному вращающему моменту Mmin5, передаваемому на утилизационной турбине 5, то есть прямо пропорционален ему.
Гидродинамическая муфта 8 функционирует таким образом, что она для большей части диапазона отношений у чисел оборотов между вторичным диском 9 и первичным диском 10 может поддерживать определенный момент, который с учетом передаточных элементов соответствует обеспечиваемому утилизационной турбиной минимальному моменту Мmin5. Муфта функционирует с неизменной степенью заполнения FG (соотношением заполнения рабочего пространства гидродинамической муфты гидродинамической жидкостью по отношению к ее максимально возможному заполнению в процентах). Не требуются никакие дополнительные механизмы управления. Желательный режим работы реализуется только на основе свойств, присущих муфте с постоянной степенью заполнения.
Согласно второму варианту решения, соответствующим способом устанавливается передаточная способность муфты. Характеристики муфты для регулируемых муфт изображены на фиг.3b. Они соответствуют, в зависимости от направления потока мощности, воспринимаемому на первичном диске 10 или вторичном диске 9 моменту М9, М10. Предпочтительно этот режим введен в способ регулирования числа оборотов n5 утилизационной турбины 5, как показано на фиг.2b, причем при наличии третьего рабочего состояния, т.е. режима торможения двигателем, характеризуемого более высоким числом оборотов n5, чем число оборотов с учетом передаточного отношения или передаваемого момента на коленчатом валу n4, устанавливается номинальное значение nном-5, которое соответствует максимально допустимому числу оборотов nmax-5 утилизационной турбины 5. Это число оборотов, с учетом передаточных элементов, пропорционально числу оборотов п10 на первичном диске 10 гидродинамической муфты 8. Для характеристики утилизационной турбины 5 получается соответственно этому числу оборотов nmax-5 минимально обеспечиваемый вращающий момент Mmin-5. Тем самым, с учетом передаточных элементов между утилизационной турбиной 5 и первичным диском 10, в частности, на кинематической цепи 13 цилиндрического зубчатого колеса, для первичного диска 10 реализуется воспринимаемый момент М10, который должен поддерживаться на вторичном диске 9. Чтобы поддерживать этот момент, необходимо соответствующим образом задать передаточную способность муфты 8. Это осуществляется путем установки степени заполнения FG. То есть передаточная способность гидродинамической муфты 8, особенно при передаче мощности от первичного диска 10 к вторичному диску 9, и в этом случае реализуется за счет воздействия на поток массы, то есть на степень заполнения FG. При этом для регулировки степени заполнения FG могут применяться различные переменные регулирования. В качестве таковых действуют, например, в случае заполняемых муфт, которые характеризуются наличием входного отверстия 17 для рабочего тела в рабочем пространстве и, по меньшей мере, одного выходного отверстия 18 из рабочего пространства, по меньшей мере, одно давление p17,18 на входе и/или на выходе или разность давлений на них или обеспечиваемые на этих участках объемные расходы V17,18 на входе и/или выходе, а также, при обеспечении отдельного контура рабочего тела, в частности, замкнутого контура 19 для циркуляции рабочего тела, статическое давление перекрытия, действующее на него, а также все меры для изменения объема рабочего тела и/или воздействия на потоки, например, переменные или постоянные питающие трубы. Регулировка степени заполнения FG в гидродинамической муфте 8, в частности, в рабочем пространстве 11, при этом интегрирована в объект управления для управления числом оборотов n5 утилизационной турбины. Это справедливо по аналогии и при выполнении способа как способа регулирования. В этом случае действительное число оборотов на утилизационной турбине nдейств-5 подается по обратной связи, и соответственно отклонению регулируемой величины от номинального числа оборотов nном-5 осуществляется управление гидродинамической муфтой 8. При этом фиг.2а поясняет установку числа оборотов утилизационной турбины nдейств-5 за счет управления, в то время как фиг.2b иллюстрирует регулирование, т.е. постоянную подачу по обратной связи и сравнение чисел оборотов. В случае способов, показанных на фиг.2а и 2b, указанные величины могут определяться либо непосредственно, либо определяются величины, косвенным образом характеризующие указанные величины, то есть через величины, связанные с ними функциональной связью.
Во втором рабочем состоянии число оборотов n5 на утилизационной турбине 5 в соответствии с изобретением поддерживается на минимально возможном низком уровне. Так как, однако, число оборотов в двигателе 3 внутреннего сгорания является переменным, требуется, чтобы в муфте 8 высокое проскальзывание было при очень незначительном вращающем моменте М. То есть, двигатель 3 внутреннего сгорания вращается, с учетом передаточного отношения, относительно быстрее, чем утилизационная турбина 5. Это достигается, согласно первому варианту решения, за счет гидродинамической муфты 8 с соответственно неизменной характеристикой согласно фиг.3а для любой степени заполнения, причем эта характеристика с учетом уже описанного рабочего состояния 3 должна подходить для соответствующих требований. Это означает, что гидродинамическая муфта 8 функционирует с постоянной степенью заполнения FG, которая, в зависимости от проскальзывания, или разности чисел оборотов между вторичным диском 9 и первичным диском 10 характеризуется минимальным моментом Mmin-5 утилизационной турбины, который пропорционален моменту, который должен передаваться через гидродинамическую муфту 8. Применяемая гидродинамическая муфта 8 при этом выполнена соответствующей обоим рабочим состояниям, рабочему состоянию 3, то есть торможению моторным тормозом, и рабочему состоянию 2, то есть режиму частичной нагрузки или режиму принудительного холостого хода. При этом применяется гидродинамическая муфта 8, у которой характеристика отличается минимальным передаваемым моментом М при очень большом рабочем диапазоне гидродинамической муфты 8. Постоянно заданная степень заполнения FG, которая характеризует неизменную характеристику, выбирается таким образом, что, с учетом передаточных элементов между гидродинамической муфтой 8 и утилизационной турбиной 5, утилизационной турбиной может тогда восприниматься минимальный момент со стороны коленчатого вала 4. Эта неизменная характеристика муфты показана на фиг.3а для обоих рабочих состояний. Фиг.3b, в отличие от этого, показывает характеристику управляемой или регулируемой гидродинамической муфты 8.
Фиг.4 еще раз иллюстрирует, согласно второму варианту решения, управление передаточной способностью в зависимости от разности чисел оборотов между утилизационной турбиной 5 и коленчатым валом 4, в частности, стороны турбины и стороны коленчатого вала гидродинамической муфты 8 для второго рабочего состояния. И в этом случае, согласно первой возможности выполнения, осуществляется управление числом оборотов утилизационной турбины nном-5, причем оно должно поддерживаться как можно меньшим. Это число оборотов соответствует предпочтительно нижнему минимальному предельному числу оборотов nmin-5 утилизационной турбины 5. Оно определяется из характеристики для утилизационной турбины, в частности, характеристики вращающего момента/числа оборотов, согласно фиг.1b. В зависимости от величины числа оборотов n3 узла привода или числа оборотов n4 коленчатого вала, в частности, двигателя 3 внутреннего сгорания, осуществляется затем для установки числа оборотов n5 на утилизационной турбине 5 или, с учетом передаточного отношения передаточных элементов, в частности, кинематической цепи 13 цилиндрического зубчатого колеса, на первичном диске 10 гидродинамической муфты 8 установка числа оборотов n10, пропорционального числу оборотов на утилизационной турбине 5. Это является функцией передаваемого момента M8 гидродинамической муфты, в частности, момента М9, воспринимаемого от коленчатого вала посредством вторичного диска 9 в этом рабочем состоянии, и числа оборотов n9 вторичного диска, которое вновь прямо пропорционально, ввиду связи через передаточные элементы, в частности, через кинематическую цепь 12 цилиндрического зубчатого колеса, числу оборотов n4 коленчатого вала 4. Передаваемый через гидродинамическую муфту 8 момент M8 и тем самым воспринимаемый вторичным диском 9 момент М9 для управления передаваемым моментом M8 или числом оборотов n10 на первичном диске 10 является функцией степени заполнения FG гидродинамической муфты. Степень заполнения FG действует и здесь как переменная регулирования в процессе управления, в частности, объекта регулирования, для установки минимального числа оборотов на утилизационной турбине 5. При этом степень заполнения FG может управляться или регулироваться. Установка степени заполнения осуществляется при этом, как уже описано выше, путем задания переменных регулирования для давлений, устанавливаемых на входе и выходе, а также обеспечиваемых на этих участках объемных расходов V17,18 или соответствующих регулирующих устройств для воздействия на степень заполнения, например, переменных или постоянных питающих труб. Кроме того, могут применяться перепускные трубы с последовательно включенными клапанами или без них, или любые комбинации различных известных принципов, которые в отдельности здесь не описываются, так как они относятся к уровню знаний соответствующего специалиста.
Согласно особенно предпочтительному варианту осуществления и в данном случае осуществляется установка минимально допустимого числа оборотов nmin-5 в форме регулирования, то есть текущее действительное значение числа оборотов на утилизационной турбине nдейств-5 подается по обратной связи и сравнивается с номинальным значением. При этом текущее значение числа оборотов на утилизационной турбине nдейств-5 может определяться непосредственно, или может определяться величина, по меньшей мере, косвенно описывающая это значение, причем тогда контролируется эта величина. В простейшем случае осуществляется, однако, определение числа оборотов, так как это создает минимальные проблемы. Установка степени заполнения является при этом составной частью объекта регулирования.
Фиг.5 еще раз иллюстрирует в схематичном представлении на основе принципиальной схемы узла 1 привода соответствие управляющего и/или регулирующего устройства 19 утилизационной турбине 5, включая, по меньшей мере, одно управляющее и/или регулирующее устройство 20, представленное как управляющий прибор в форме конструктивного блока с включением в него выполняющих эти функции компонентов, или в форме виртуального управляющего прибора, которое связано с, по меньшей мере, одним устройством для определения, по меньшей мере, величины, описывающей, по меньшей мере, опосредованно число оборотов n5 утилизационной турбины 5 и с устройством для определения, по меньшей мере, величины, описывающей, по меньшей мере, опосредованно, число оборотов коленчатого вала 4, причем эти устройства обозначены здесь как 21 и 24 и в простейшем случае представлены в форме датчиков числа оборотов. Эти устройства могут, кроме того, генерировать соответствующий входной сигнал для регулирующего устройства 20. Кроме того, управляющее и/или регулирующее устройство 19 имеет исполнительный механизм 22, который относится к гидродинамической муфте 8 и служит для изменения передаточного отношения гидродинамической муфты 8. При этом исполнительный механизм 22 может выполняться самым различным образом. Это зависит от конкретного типа воздействия на степень заполнения FG гидродинамической муфты. При этом исполнительный механизм 22 связан с, по меньшей мере, одним выходом 23 управляющего и/или регулирующего устройства 20. В случае управляющего и/или регулирующего устройства 20 речь может идти об обычно имеющемся на транспортном средстве управляющем и/или регулирующем устройстве транспортного средства, а также об управляющих и/или регулирующих устройствах других компонентов привода, например, управления коробкой передач.
Формула изобретения
1. Способ оптимизации эффекта торможения двигателем в узле (1) привода, в частности, для использования в транспортных средствах
с двигателем (3) внутреннего сгорания, включающим в себя коленчатый вал (4);
с утилизационной турбиной (5), которая размещена в потоке (7) отработавшего газа двигателя (3) внутреннего сгорания для преобразования энергии отработавшего газа в энергию привода;
причем утилизационная турбина (5) через передаточный узел (16) связана с коленчатым валом (4);
в передаточном узле (16) размещена гидродинамическая муфта (8), включающая в себя первичный диск (10) и вторичный диск (9), причем вторичный диск (9) связан с коленчатым валом (4), а первичный диск (10) с утилизационной турбиной (5), по меньшей мере, опосредованно;
отличающийся следующими признаками:
в рабочем состоянии, которое соответствует режиму торможения моторным тормозом, утилизационная турбина (5) приводится в действие в рабочей точке (II), которая характеризуется максимально допустимым предельным числом оборотов nmax-5 утилизационной турбины (5) при минимальном передаваемом моменте М5, и
в рабочем состоянии, которое соответствует режиму частичной нагрузки или режиму принудительного холостого хода, утилизационная турбина (5) приводится в действие в рабочей точке (I), которая характеризуется минимальным числом оборотов nmin-5 и минимальным воспринимаемым моментом Мmin-5, причем установка обеих рабочих точек осуществляется через гидродинамическую муфту (8), которая выполнена таким образом, что она пригодна для функционирования соответственно, по меньшей мере, одной характеристике, передаваемый момент которой для большей части разности чисел оборотов, характеризующей проскальзывание, с учетом передаточного отношения передаточных элементов в передаточном узле (16) к утилизационной турбине (5), соответствует минимальному моменту Мmin-5, передаваемому от утилизационной турбины (5) или воспринимаемому ею.
2. Способ по п.1, отличающийся тем, что используется гидродинамическая муфта (8) с постоянной степенью заполнения FG, характеристика которой для этой степени заполнения FG определяется процессом изменения момента, который для большей части диапазона проскальзывания находится, с учетом передаточного отношения в передаточном узле (16), в области минимального момента Мmin-5, воспринимаемого утилизационной турбиной (5) или передаваемого ею.
3. Способ по п.1, отличающийся тем, что используется гидродинамическая муфта (8), степень заполнения FG которой является управляемой и/или регулируемой.
4. Способ по п.3, отличающийся тем, что управление и/или регулирование степени заполнения FG осуществляется в зависимости от, по меньшей мере, одной из следующих величин:
давления на входе (17) в рабочее пространство (1) гидродинамической муфты (8) и/или на выходе (18) из рабочего пространства (1) гидродинамической муфты (8),
разности ( р) давлений между входом (17) и выходом (18) из рабочего пространства (11),
объемного расхода на входе (17) и/или выходе (18) из рабочего пространства (11),
количества рабочего тела, передаваемого посредством механических устройств, например питающих труб.
5. Способ по одному из пп.1-4, отличающийся тем, что установка рабочих точек (I, II) осуществляется путем управления числом оборотов n5 или, по меньшей мере, опосредованно характеризующим его значением параметра утилизационной турбины (5).
6. Способ по одному из пп.1-4, отличающийся тем, что установка рабочих точек (I, II) осуществляется путем регулирования числа оборотов n5 или, по меньшей мере, опосредованно характеризующего его значения параметра утилизационной турбины (5).
7. Способ по п.6, отличающийся тем, что значение параметра, по меньшей мере, опосредованно характеризующее действительное число оборотов утилизационной турбины (5), непрерывно определяется и сравнивается с подлежащим установке номинальным числом оборотов nном-5, причем, в зависимости от отклонения регулируемой величины от заданного значения, определяется переменная регулирования для управления гидродинамической муфтой (8).
8. Способ по одному из пп.1-4, отличающийся тем, что рабочее состояние режима торможения моторным тормозом определяется при наличии числа оборотов n5 утилизационной турбины, с учетом передаточного отношения в передаточном узле (16), большего, чем число оборотов коленчатого вала (4), а режим частичной нагрузки или режим вынужденного холостого хода определяется при наличии числа оборотов n5 утилизационной турбины, с учетом передаточного отношения в передаточном узле (16), меньшего, чем число оборотов n4 коленчатого вала (4), при исключении режима полной нагрузки.
9. Узел (1) привода
с двигателем (3) внутреннего сгорания, включающим в себя коленчатый вал (4);
с утилизационной турбиной (5), которая размещена в потоке (7) отработавшего газа двигателя (3) внутреннего сгорания для преобразования энергии отработавшего газа в энергию привода;
причем утилизационная турбина (5) через передаточный узел (16) связана с коленчатым валом (4);
в передаточном узле (16) размещена гидродинамическая муфта (8), включающая в себя первичный диск (10) и вторичный диск (9), причем вторичный диск (9) связан с коленчатым валом (4), а первичный диск (10) связан с утилизационной турбиной (5), по меньшей мере, опосредованно;
отличающийся тем, что гидродинамическая муфта (8) выполнена таким образом, что она пригодна для функционирования соответственно, по меньшей мере, одной характеристике, передаваемый момент которой, с учетом передаточного отношения в передаточном узле (16), соответствует минимальному моменту Мmin-5, воспринимаемому утилизационной турбиной (5) или передаваемому от нее, для большей части области проскальзывания, характеризуемой отношением чисел оборотов между первичным диском и вторичным диском.
10. Узел (1) привода по п.9, отличающийся следующими признаками:
гидродинамическая муфта (8) выполнена как управляемая или регулируемая муфта с изменяемой степенью заполнения;
с относящимся к гидродинамической муфте (8) управляющим устройством (2), включающим в себя формирователь переменной регулирования для формирования переменной регулирования для управления исполнительным механизмом (22) гидродинамической муфты (8).
РИСУНКИ
|
|