|
|
(21), (22) Заявка: 2006116497/04, 14.10.2004
(24) Дата начала отсчета срока действия патента:
14.10.2004
(30) Конвенционный приоритет:
15.10.2003 US 60/511,524
(43) Дата публикации заявки: 20.11.2007
(46) Опубликовано: 20.03.2009
(56) Список документов, цитированных в отчете о поиске:
WO 01/05755 A1, 25.01.2001. WO 02/064532 A2, 22.08.2002. US 4438287 A, 20.03.1984. US 3907909 A, 23.09.1975. GB 1601818 A, 04.11.1981. RU 2198159 C2, 10.02.2003.
(85) Дата перевода заявки PCT на национальную фазу:
15.05.2006
(86) Заявка PCT:
US 2004/034080 (14.10.2004)
(87) Публикация PCT:
WO 2005/037752 (28.04.2005)
Адрес для переписки:
129090, Москва, ул. Б.Спасская, 25, стр.3, ООО “Юридическая фирма Городисский и Партнеры”, пат.пов. Е.Е.Назиной, рег. № 517
|
(72) Автор(ы):
ЭЮБ Пол Мари (NL), ДИРКЗВАГЕР Хендрик (NL), МЮРРЕЙ Брендан Дермот (US), САМРОУ Стивен Клоис (US)
(73) Патентообладатель(и):
ШЕЛЛ ИНТЕРНЭШНЛ РИСЕРЧ МААТСХАППИЙ Б.В. (NL)
|
(54) ПОЛУЧЕНИЕ РАЗВЕТВЛЕННЫХ АЛИФАТИЧЕСКИХ СПИРТОВ С ИСПОЛЬЗОВАНИЕМ ТЕХНОЛОГИЧЕСКОГО ПОТОКА УСТАНОВКИ ДЕГИДРИРОВАНИЯ-ИЗОМЕРИЗАЦИИ
(57) Реферат:
Настоящее изобретение относится к способу получения алифатических спиртов, которые могут быть использованы для получения поверхностно-активных веществ, детергентов, сульфатов. Способ включает введение первого углеводородного потока, полученного по способу Фишера-Тропша, содержащего олефины и парафины, указанный поток Фишера-Тропша содержит 5-80% олефинов, имеющих среднее число атомов углерода от 10 до 17, в установку дегидрирования-изомеризации, где установка дегидрирования-изомеризации выполнена так, чтобы дегидрировать, по меньшей мере, часть парафинов в углеводородном потоке Фишера-Тропша до олефинов, и где установка дегидрирования-изомеризации также выполнена так, чтобы изомеризовать, по меньшей мере, часть линейных олефинов до разветвленных олефинов, в присутствии катализатора дегидрирования-изомеризации, содержащего водородную форму цеолита, имеющего изотопическую решетчатую структуру ферриерита и где время пребывания выбрано так, чтобы конверсия парафинов в олефины была ниже 40%, и где, по меньшей мере, часть не прореагировавших компонентов углеводородного потока, полученного по способу Фишера-Тропша, и, по меньшей мере, часть продуктов реакций дегидрирования и изомеризации образуют второй углеводородный поток, причем второй углеводородный поток содержит олефины и парафины, и где, по меньшей мере, часть олефинов во втором углеводородном потоке представляет собой разветвленные олефины; и введение, по меньшей мере, части второго углеводородного потока в установку гидроформилирования, где установка гидроформилирования выполнена так, чтобы гидроформилировать, по меньшей мере, часть олефинов во втором углеводородном потоке с получением алифатических спиртов, имеющих среднее число атомов углерода от 11 до 18, и где, по меньшей мере, часть полученных алифатических спиртов содержит разветвленные алкильные группы. 8 з.п. ф-лы, 7 табл., 6 ил.
Предпосылки изобретения
Перекрестная ссылка на родственную заявку
Настоящая заявка заявляет преимущество предварительной заявки на патент США, регистрационный № 60/511524, направленной на рассмотрение 15 октября 2003.
Область техники
Настоящая заявка в целом относится к системам и способам получения алифатических спиртов. Более конкретно, варианты осуществления изобретения, описанные в работе, относятся к системам и способам получения разветвленных алифатических спиртов с использованием установки дегидрирования-изомеризации.
Описание уровня техники
Алифатические спирты являются важными соединениями, которые могут быть использованы в различных целях или могут быть превращены в другие химические соединения (например, в поверхностно-активные вещества, сульфаты). Поверхностно-активные вещества могут быть использованы в различных целях (например, в качестве детергентов, мыла, при регенерации масла).
Структурный состав алифатического спирта может влиять на свойства производимого из алифатического спирта поверхностно-активного вещества и/или детергента (например, на растворимость в воде, способность к биологическому разложению и моющую способность в холодной воде). Например, на растворимость в воде можно влиять линейностью алифатической части алифатического спирта. По мере того как линейность алифатической части растет, гидрофильность (то есть сродство к воде) поверхностно-активного вещества на основе алифатического спирта может падать. Таким образом, растворимость в воде и/или моющие свойства поверхностно-активного вещества на основе алифатического спирта могут уменьшаться. Введение разветвлений в алифатическую часть поверхностно-активного вещества на основе спирта может повышать растворимость в холодной воде и/или моющую способность поверхностно-активного вещества на основе спирта. Способность к биологическому разложению поверхностно-активных веществ на основе алифатических спиртов, однако, может уменьшаться, если разветвления в алифатической части спиртового поверхностно-активного вещества включают большое число четвертичных атомов углерода. Введение разветвлений с минимальным числом четвертичных атомов углерода в алифатическую часть поверхностно-активного вещества на основе алифатического спирта может повышать растворимость в холодной воде и/или моющую способность спиртовых поверхностно-активных веществ при сохранении способности к биологическому разложению детергентов.
Алифатическая часть алифатического спирта, используемого для производства поверхностно-активного вещества, может включать одну или несколько алифатических алкильных групп в качестве разветвлений. Алкильные группы, которые могут образовывать разветвления в алифатической части, могут представлять собой метильные, этильные, пропильные или высшие алкильные группы. Четвертичные и третичные атомы углерода могут присутствовать, если алифатическая часть разветвлена. Количество четвертичных и третичных атомов углерода определяется схемой разветвления в алифатической части. В данном изобретении выражение «алифатический четвертичный атом углерода» относится к атому углерода, который не связан ни с одним атомом водорода.
Способы получения композиций разветвленных первичных спиртов описаны в патенте США № 5849960 (Singleton et al.), под названием “Highly Branched Primary Alcohol Compositions and Biodegradable Detergents Made Therefrom”, а также в патенте США № 6150322 (Singleton et al.), под названием “Highly Branched Primary Alcohol Compositions and Biodegradable Detergents Made Therefrom”.
Сущность изобретения
В одном из вариантов осуществления изобретения алифатические спирты могут быть получены способом, включающим дегидрирование парафинов до олефинов и изомеризацию олефинов в установке дегидрирования-изомеризации. Технологический поток сырья, поступающий на установку дегидрирования-изомеризации, может включать линейные олефины и парафины, имеющие среднее число атомов углерода от 7 до 18. В одном из вариантов осуществления изобретения технологический поток сырья, поступающий на установку дегидрирования-изомеризации, включает линейные олефины и парафины, имеющие среднее число атомов углерода от 10 до 17. В данном изобретении выражение «углеродное число» (число атомов углерода) относится к общему числу атомов углерода в молекуле. Технологический поток сырья, поступающий на установку дегидрирования-изомеризации, в некоторых вариантах осуществления, получен по способу Фишера-Тропша.
По меньшей мере, часть парафинов в потоке сырья может быть дегидрирована с получением олефинов в установке дегидрирования-изомеризации. По меньшей мере, часть полученных олефинов и, по меньшей мере, часть олефинов, которые уже присутствуют в потоке сырья, также могут изомеризоваться на установке дегидрирования-изомеризации. Процесс изомеризации превращает линейные олефины (например, неразветвленные олефины) в разветвленные. Изомеризованные олефины могут быть подвергнуты гидроформилированию с получением алифатических спиртов. После гидроформилирования олефинов непрореагировавшие компоненты из процесса гидроформилирования могут быть отделены от полученных продуктов. Парафины и непрореагировавшие олефины в отделенном потоке могут быть возвращены на установку дегидрирования-изомеризации.
Технологические условия в установке дегидрирования-изомеризации могут быть такими, что полученные разветвленные олефины имеют среднее число разветвлений на молекулу олефина от 0,7 до 2,5. Разветвленные олефины могут представлять собой, но без ограничения, метил- и/или этил-разветвленные олефины. Процесс изомеризации может давать разветвленные олефины, которые содержат менее чем 0,5% четвертичных алифатических атомов углерода. Установка дегидрирования-изомеризации может содержать катализатор, который выполняет две функции: дегидрирование парафинов до олефинов и изомеризацию олефинов в разветвленные олефины.
В одном из вариантов осуществления изобретения установка дегидрирования-изомеризации может включать большое количество зон, а именно первую реакционную зону и вторую реакционную зону. Первая реакционная зона может представлять собой зону дегидрирования. Вторая реакционная зона может представлять собой зону изомеризации. Поток углеводородов, состоящий из олефинов и парафинов, может поступать в зону дегидрирования. По меньшей мере, часть парафинов в углеводородном потоке может дегидрироваться до олефинов с получением потока, обогащенного олефинами. Обогащенный олефинами поток может поступать в зону изомеризации. В зоне изомеризации, по меньшей мере, часть олефинов в потоке, обогащенном олефинами, может быть изомеризована до разветвленных олефинов. Разветвленные олефины могут быть превращены в алифатические спирты гидроформилированием. После гидроформилирования олефинов поток парафинов и непрореагировавших олефинов может быть отделен от полученных алифатических спиртовых продуктов. Поток парафинов и непрореагировавших олефинов может быть рециркулирован направлением, по меньшей мере, части потока парафинов и непрореагировавших олефинов на установку дегидрирования-изомеризации и/или в поток, поступающий на установку дегидрирования-изомеризации.
В одном из вариантов изобретения установка дегидрирования-изомеризации может иметь конфигурацию составного слоя. Составной слой может включать катализатор дегидрирования и катализатор изомеризации углеводородного потока. По меньшей мере, часть парафинов в углеводородном потоке может подвергаться дегидрированию до олефинов с получением потока, обогащенного ими. Обогащенный олефинами поток может поступать в зону изомеризации. В зоне изомеризации, по меньшей мере, часть олефинов в обогащенном олефинами потоке может подвергаться изомеризации до разветвленных олефинов. Разветвленные олефины могут быть превращены в алифатические спирты гидроформилированием. После гидроформилирования олефинов поток парафинов и непрореагировавших олефинов может быть отделен от полученных алифатических спиртовых продуктов. Поток парафинов и непрореагировавших олефинов может быть рециркулирован путем возврата, по меньшей мере, части потока парафинов и непрореагировавших олефинов на установку дегидрирования-изомеризации и/или в поток, поступающий на установку дегидрирования-изомеризации.
В некоторых вариантах осуществления, по меньшей мере, часть алифатических спиртов может быть сульфатирована с образованием алифатических сульфатов. В некоторых вариантах осуществления алифатические сульфаты могут содержать разветвленные алкильные группы.
В некоторых вариантах изобретения, по меньшей мере, часть полученных алифатических спиртов может быть оксиалкилирована с получением оксиалкиловых спиртов. В некоторых вариантах осуществления изобретения, по меньшей мере, часть полученных алифатических спиртов может содержать разветвленные алкильные группы. В некоторых вариантах изобретения, по меньшей мере, часть полученных разветвленных алифатических спиртов может быть этоксилирована с образованием разветвленных этоксиалкиловых спиртов. По меньшей мере, часть оксилакиловых спиртов может быть сульфатирована с образованием оксиалкилсульфатов. В некоторых вариантах изобретения оксиалкилсульфаты могут содержать разветвленные алкильные группы.
Краткое описание чертежей
Преимущества настоящего изобретения будут очевидны для специалиста в данной области техники при рассмотрении приведенного ниже подробного описания вариантов осуществления изобретения и при рассмотрении прилагаемых чертежей, где:
ФИГ.1 показывает принципиальную схему варианта осуществления системы для производства разветвленных алифатических спиртов с использованием установки дегидрирования-изомеризации;
ФИГ.2 показывает принципиальную схему варианта осуществления системы для производства разветвленных алифатических спиртов с использованием установки дегидрирования-изомеризации и установки разделения для отделения разветвленных олефинов от линейных олефинов и парафинов;
ФИГ.3 показывают принципиальные схемы вариантов осуществления системы для производства разветвленных алифатических спиртов с использованием установки дегидрирования-изомеризации с добавлением дополнительного углеводородного потока;
ФИГ.4А-В показывают принципиальную схему варианта осуществления системы для производства разветвленных алифатических спиртов с использованием установки дегидрирования-изомеризации с двумя зонами;
ФИГ.5 показывает принципиальную схему варианта осуществления системы для производства разветвленных алифатических спиртов с использованием установки дегидрирования-изомеризации, в которой катализатор находится в виде составного слоя.
Хотя настоящее изобретение допускает различные модификации и альтернативные формы, конкретные варианты осуществления изобретения представлены с помощью примера в чертежах и будут рассмотрены подробно. Следует понимать, что чертежи и подробное описание не предназначены для ограничения изобретения конкретной описанной формой, а напротив, изобретение должно охватывать все модификации, эквивалентные и альтернативные варианты, подпадающие под суть и объем настоящего изобретения, которое определено в прилагаемой формуле изобретения.
Подробное описание вариантов осуществления изобретения
Углеводородные продукты могут быть синтезированы из синтез-газа (то есть смеси водорода и монооксида углерода) с использованием процесса Фишера-Тропша. Синтез-газ может быть получен путем частичного сжигания нефти (например, каменного угля, углеводородов), путем конверсии или частичным окислением природного газа. Процесс Фишера-Тропша каталитически превращает синтез-газ в смесь продуктов, которые включают насыщенные и ненасыщенные углеводороды и незначительное количество кислородсодержащих продуктов. Продукты процесса Фишера-Тропша могут быть использованы для производства топлива (например, бензина, дизельного топлива), смазочных масел и восков.
Технологические потоки синтеза Фишера-Тропша также могут быть использованы для получения продуктов широкого потребления, которые имеют экономическое значение. Например, линейные олефины представляют собой продукты широкого назначения, которые могут быть использованы для получения поверхностно-активных веществ. Использование части технологического потока для получения линейных олефинов может повысить экономическую эффективность технологического потока Фишера-Тропша.
Поверхностно-активные вещества, полученные из разветвленных олефинов, могут обладать другими свойствами, чем поверхностно-активные вещества, полученные из линейных олефинов. Например, поверхностно-активные вещества, полученные из разветвленных олефинов, имеют повышенную растворимость в воде и/или улучшенные моющие свойства в сравнении с поверхностно-активными веществами, полученными из линейных олефинов. На способность к биологическому разложению поверхностно-активного вещества, однако, может влиять наличие четвертичных атомов углерода в разветвленной части поверхностно-активного вещества. Поверхностно-активные вещества, произведенные из разветвленных олефинов с минимальным числом четвертичных атомов углерода, могут обладать аналогичной способностью к биологическому разложению, что и поверхностно-активные вещества, полученные из линейных олефинов. Производство разветвленных олефинов из технологического потока процесса Фишера-Тропша может повысить экономическую эффективность потока. В некоторых вариантах осуществления изобретения линейные олефины могут быть превращены в разветвленные олефины с минимальным числом четвертичных атомов углерода с использованием катализатора изомеризации. Увеличение количества разветвленных олефинов, полученных из технологического потока процесса Фишера-Тропша, может повысить экономическую эффективность технологических потоков.
Описаны способы повышения количества разветвленных олефинов, полученных из технологического потока, который содержит определенное количество олефинов, что в результате повышает экономическую эффективность технологического потока. Такие способы могут быть использованы как для технологических потоков Фишера-Тропша, так и потоков углеводородных продуктов из других источников.
Состав потока углеводородного сырья может включать парафины и олефины. По меньшей мере, часть углеводородного потока может состоять из линейных парафинов и олефинов, содержащих, по меньшей мере, 4 атома углерода и до 18 атомов углерода. Поток углеводородного сырья может быть получен из процесса Фишера-Тропша или из процесса олигомеризации этилена. Катализаторы Фишера-Тропша и реакционные условия могут быть выбраны так, чтобы получить определенную смесь продуктов в потоке. Например, катализатор Фишера-Тропша и условия реакции могут быть выбраны так, чтобы увеличить количество олефинов и уменьшить количество парафинов и окисленных соединений в потоке. С другой стороны, катализатор и условия реакции могут быть выбраны так, чтобы увеличить количество парафинов и уменьшить количество олефинов и окисленных соединений в потоке.
Катализатор, используемый в процессе Фишера-Тропша, может представлять собой соединения Mo, W, элементов VIII группы или их комбинации. Соединения VIII группы включают, но не ограничиваются только ими, соединения железа, кобальта, рутения, родия, платины, палладия, иридия и осмия. Катализаторы и комбинации для производства различных углеводородов с помощью процесса Фишера-Тропша в целом известны.
Хотя упоминается поток процесса Фишера-Тропша, может быть использован любой поток олефинов и насыщенных углеводородов. В основном потоки Фишера-Тропша содержат от 5 до 80% олефинов, причем остальное количество составляют насыщенные углеводороды, включающие парафин и другие соединения.
В некоторых вариантах осуществления изобретения потоки сырья, содержащие олефины и парафины, могут быть получены через крекинг высокомолекулярных парафинов или олигомеризацию олефинов. Промышленные олефиновые продукты, полученные олигомеризацией этилена, продаются в Соединенных Штатах компаниями Chevron Phillips Chemical Company, Shell Chemical Company (как NEODENE®) и British Petroleum. Крекинг высокомолекулярного парафина с получением потоков -олефинового и парафинового сырья описан в патенте США № 4579986 (Sie) под названием “Process for The Preparation of Hydrocarbons” и в патентной заявке США № 10/153955 (Ansorge et al.) под названием “Process for the Preparation of Linear Olefins and Use Thereof to Prepare Linear Alcohols”. Конкретные методики получения линейных олефинов из этилена описаны в патенте США № 3676523 (Mason) под названием “Alpha-Olefin Production”, патенте США № 3686351 (Mason) под названием “Alpha-Olefin Production”; в патенте США № 3737475 (Mason) под названием “Alpha-Olefin Production” и в патенте США № 4020121 (Kister et al.) под названием “Oligomerization Reaction System”. Большинство упомянутых выше процессов дают -олефины. Высшие линейные внутренние олефины могут производиться промышленным способом (например, хлорированием-дегидрохлорированием парафинов, дегидрированием парафина, изомеризацией -олефинов).
В одном из вариантов осуществления изобретения получают поток сырья, который содержит разветвленные олефины. Такие разветвленные олефины могут быть превращены в разветвленные алифатические спирты с использованием различных методик. Поток сырья может иметь содержание парафина в интервале от 50 до 90% масс. в расчете на поток сырья. В некоторых вариантах осуществления изобретения поток сырья может иметь содержание парафина больше чем 90% масс. парафина. Поток сырья также может включать олефины. Содержание олефина в потоке сырья может составлять от 10 до 50% масс.
Состав потока сырья может включать углеводороды, имеющие среднее число атомов углерода от 4 до 30. В некоторых вариантах осуществления изобретения среднее число атомов углерода в потоке сырья может находиться от 4 до 24. В других вариантах среднее число атомов углерода потока сырья может составлять от 4 до 18. Среднее число атомов углерода в потоке сырья может составлять от 7 до 18. В некоторых вариантах осуществления изобретения среднее число атомов углерода в сырьевом потоке может составлять от 10 до 17. В некоторых вариантах осуществления изобретения среднее число атомов углерода в сырьевом потоке может составлять от 10 до 13. В других вариантах изобретения среднее число атомов углерода в сырьевом потоке может составлять от 14 до 17. Поток сырья может включать незначительные количества углеводородов, имеющих число атомов углерода, которое выше или ниже, чем желаемый интервал. В некоторых вариантах изобретения сырьевой поток может быть получен при перегонке технологического потока, который включает более широкий интервал углеродных чисел.
В варианте изобретения сырьевой поток для установки дегидрирования-изомеризации включает моноолефины и/или парафины. Моноолефины могут быть линейной или разветвленной структуры. Моноолефины могут иметь двойную связь в -положении или внутреннюю двойную связь. Сырьевой поток может включать олефины, в которых 50% или более присутствующих молекул олефинов могут представлять собой -олефины с линейной (прямая цепь) структурой углеродного скелета. В некоторых вариантах изобретения, по меньшей мере, 70% масс. олефинов представляют собой олефины с линейной структурой. Углеводородный поток, в котором более чем 70% от общего количествва олефинов представляют собой -олефины с линейной структурой углеродного скелета, может быть использован в некоторых вариантах изобретения для превращения олефинов в алифатические спирты. Такой поток может быть получен из процесса Фишера-Тропша. В некоторых вариантах изобретения сырьевой поток включает олефины, в которых, по меньшей мере, 50% присутствующих молекул олефинов представляют собой внутренние олефины.
Олефины с разветвленными цепочками могут быть превращены в разветвленные алифатические спирты (например, разветвленные первичные спирты) гидроформилированием. Определение «гидроформилирование», используемое в данном случае, относится к производству спиртов из олефинов через процесс карбонилирования и гидрирования. Для производства алифатических спиртов из олефинов могут быть использованы другие процессы. Примерами других процессов получения алифатических спиртов из олефинов являются, но не ограничиваются только ими, гидратация, окисление и гидролиз, сульфатирование и гидратация, и эпоксидирование и гидратация. Состав потока спиртового продукта может включать алифатические спирты, имеющие среднее число атомов углерода от 5 до 31. В варианте осуществления изобретения среднее число атомов углерода в алифатических спиртах в потоке спиртового продукта может составлять от 7 до 19. В некоторых вариантах осуществления изобретения среднее число атомов углерода в алифатических спиртах в потоке спиртового продукта составлять от 11 до 18. В некоторых вариантах изобретения среднее число атомов углерода в алифатических спиртах в потоке спиртового продукта может составлять от 11 до 14. В других вариантах изобретения среднее число атомов углерода в алифатических спиртах в потоке спиртового продукта может составлять от 15 до 18.
В некоторых вариантах изобретения первый углеводородный поток, который содержит парафины и олефины, может быть введен в установку дегидрирования-изомеризации. Установка дегидрирования-изомеризации может совмещать две независимые установки (например, установку изомеризации и установку дегидрирования). Установка дегидрирования-изомеризации может дегидрировать парафины до олефинов и изомеризовать полученные олефины и/или исходные олефины, присутствующие в углеводородном потоке, до разветвленных олефинов. В варианте осуществления изобретения катализатор может осуществлять дегидрирование-изомеризацию углеводородов в первом углеводородном потоке. В некоторых вариантах осуществления катализатор может быть единственным. В некоторых вариантах изобретения катализатор может представлять собой смесь двух катализаторов (например, катализатор дегидрирования и катализатор изомеризации). В других вариантах осуществления изобретения два отдельных катализатора, расположенных в различных зонах или в конфигурации составного слоя в одной установке дегидрирования-изомеризации, могут осуществлять процесс дегидрирования-изомеризации. В данном случае определение «катализатор дегидрирования-изомеризации» может представлять собой один или несколько катализаторов.
В некоторых вариантах осуществления изобретения установка дегидрирования-изомеризации может иметь несколько точек ввода, чтобы обеспечивать снабжение различными технологическими потоками. Технологические потоки могут быть получены из других технологических установок и/или с установок-хранилищ. Примерами технологических потоков являются, но не ограничиваются только ими, разбавленный углеводородный поток и/или другие углеводородные потоки, которые включают олефины и парафины, полученные из других процессов. Используемое в данном случае определение «ввод на установку дегидрирования-изомеризации» относится к вводу технологических потоков на установку дегидрирования-изомеризации через одну или несколько точек ввода.
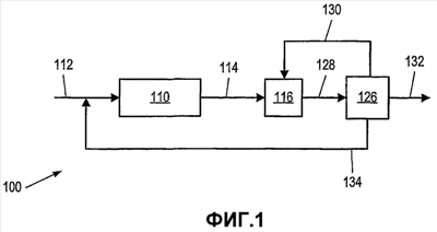
Первый углеводородный поток, включающий смесь олефинов и парафинов, может быть введен на установку дегидрирования-изомеризации 110 через первый трубопровод 112, как это показано для системы 100 на ФИГ.1. Углеводороды в первом углеводородном потоке могут иметь среднее число атомов углерода от 7 до 18. В некоторых вариантах осуществления углеводороды в первом углеводородном потоке могут иметь среднее число атомов углерода от 10 до 17. В некоторых вариантах осуществления углеводороды в первом углеводородном потоке могут иметь среднее число атомов углерода от 10 до 13. В других вариантах изобретения углеводороды в первом углеводородном потоке могут иметь среднее число атомов углерода от 14 до 17. В некоторых вариантах первый углеводородный поток содержит -олефины. Содержание -олефинов в первом углеводородном потоке может составлять более чем 70% от их общего числа. В некоторых вариантах первый углеводородный поток может быть получен в процессе Фишера-Тропша.
В установке дегидрирования-изомеризации 110, по меньшей мере, часть парафинов в первом углеводородном потоке может дегидрироваться до олефинов. По меньшей мере, часть полученных олефинов и, по меньшей мере, часть олефинов, которая уже присутствовала в сырьевом потоке, может изомеризоваться с получением второго углеводородного потока. Процесс изомеризации превращает линейные олефины (то есть неразветвленные олефины) в разветвленные олефины.
Катализатор, используемый для дегидрирования-изомеризации первого углеводородного потока, может быть получен на основе цеолитного катализатора, модифицированного одним или несколькими металлами или соединениями металлов. Катализатор, используемый в установке дегидрирования-изомеризации 110 для переработки олефинов в первом углеводородном потоке, может быть эффективен для скелетной изомеризации линейных олефинов в технологическом потоке в олефины, имеющие среднее число разветвлений на цепочку молекулы олефина больше чем 0,7. В некоторых вариантах осуществления изобретения среднее число разветвлений на цепочку молекулы олефина составляет от 0,7 до 2,5. В некоторых вариантах осуществления среднее число разветвлений на цепочку молекулы олефина может составлять от 1,0 до 2,2.
Катализатор дегидрирования-изомеризации может содержать цеолит, имеющий, по меньшей мере, один канал с кристаллографически свободным диаметром канала больше чем 4,2 Å или меньше чем 7 Å, измеренный при комнатной температуре. Как используется в данном случае, определение «диаметр канала или размер» относится к диаметру канала или размеру, эффективному для диффузии. Цеолит может не иметь каналов, которые имеют свободный диаметр канала больше чем 7 Å. Катализатор может содержать, по меньшей мере, один канал, имеющий кристаллографически свободный диаметр на входе больше чем 4,2 Å или меньше чем 7 Å. Катализатор может не иметь канал с диаметром на входе, который превышает 7 Å верхней границы интервала. Цеолиты, обладающие диаметрами каналов больше чем 7 Å, могут быть чувствительны к образованию нежелательных олефиновых побочных продуктов (например, к ароматизации, олигомеризации, алкилированию, коксованию). В некоторых вариантах осуществления цеолит может не содержать канал, имеющий свободный диаметр вдоль или х или y плоскостей больше чем 4,2 Å. Небольшой размер каналов может предупреждать диффузию олефина в и/или из каналов пор, если олефины становятся разветвленными. Цеолит может иметь, по меньшей мере, один канал со свободным диаметром больше чем 4,2 Å и меньше чем 7 Å.
В варианте осуществления изобретения молекула олефина из-за длинной углеродной цепочки может не входить в канал цеолита, не диффундировать через него и не выходить через противоположный конец канала. Степень разветвления при прохождении олефина через цеолит может не соответствовать теоретической степени разветвления при условии, что каждая молекула олефина прошла через каналы. Большинство олефинов может частично проникать в канал на расстояние, эффективное для разветвления части цепи внутри канала, и затем выходить из него после изомеризации. В одном из вариантов способа, чтобы получить алифатические спирты, молекулы олефина в углеводородном потоке могут преимущественно иметь структуру, которая разветвлена на концах главной углеродной цепочки олефина и по существу является линейной относительно центра молекулы (например, по меньшей мере, 25% атомов углерода в центральной части являются неразветвленными).
В некоторых вариантах осуществления изобретения структура цеолитного катализатора может содержать каналы, имеющие свободные диаметры больше чем 4,2 Å и меньше чем 7 Å вдоль обеих плоскостей х и y в виде [001]. Цеолиты с конкретными размерами канала могут быть названы цеолитами со средними или промежуточными каналами и обычно имеют 10-Т элемент (или составной 12-Т элемент) кольцевой структуры канала на одном из видов и 9-Т элемент или меньше (небольшая пора) на другом виде, если он есть. В цеолите нет ограничений по числу каналов или по ориентации (например, параллельные, взаимно несвязанные пересечения или взаимосвязанные при любом угле).
Примерами цеолитов с размером канала от 4,2 до 7 Å являются молекулярные сита, ферриерит, А1РО-31, SAPO-11, SAPO-31, SAPO-41, FU-9, NU-10, NU-23, ZSM-12, ZSM-22, ZSM-23, ZSM-35, ZSM-48, ZSM-50, ZSM-57, SUZ-4A, MeAPO-11, MeAPO-31, MeAPO-41, MeAPSO-11, MeAPSO-31 и MeAPSO-41, MeAPSO-46, ELAPO-11, ELAPO-31, ELAPO-41, ELAPSO-11, ELAPSO-31 и ELAPSO-41, лаумонтит, канкринит, оффретит, водородная форма стильбита, магниевая или кальциевая форма морденита и партхеита. Изотипические структуры цеолитных решеток, известные под другими названиями, также могут рассматриваться как эквивалентные. Решетка цеолита, описанная Flanigen et al. в публикации “Aluminophospate Molecular Sieves and the Periodic Table”, New Developments in Zeolite Science Technology, 1986, Kodansha Ltd., Tokyo, Japan.
Большое число природных цеолитов, таких как ферриерит, гейландит и стильбит, могут быть похожими на одномерные пористые структуры с размером пор около или немного меньше чем 4,2 Å в диаметре. В патенте США № 4795623 (Evans) под названием “Time Effective Method for Preparing Ferrierite” и в патенте США № 4942027 (Evans) под названием “Method for Preparing Ferrierite”, описано превращение каналов природных цеолитов в более крупные каналы. Каналы в природных цеолитах могут быть превращены в цеолиты с требуемыми более крупными каналами удалением связанного щелочного металла или щелочно-земельного металла обычными известными способами (например, обменом с аммониевым ионом, необязательно с последующим прокаливанием, с получением цеолита по существу в водородной форме). Заменяя связанный щелочной или щелочно-земельный металл водородной формой, можно увеличить диаметр канала. В некоторых вариантах осуществления природные цеолиты (например, некоторые формы морденита) могут иметь размер канала больше чем 7 Å. Размер канала может быть уменьшен за счет замещения щелочного металла более крупными ионами (например, более объемным щелочно-земельным металлом).
В некоторых вариантах осуществления изобретения цеолиты могут иметь изотипическую (или гомеотипическую) структуру ферриерита. Существенными структурными признаками ферриерита, обнаруженными с помощью рентгенокристаллографии, могут быть параллельные каналы в алюмосиликатной решетке. Параллельные каналы могут иметь эллиптическое поперечное сечение. Цеолиты, имеющие изотипическую структуру решетки ферриерита, описаны в европейском патенте № 55529 (Seddon et al.) под названием “Zeolites” и в европейском патенте № 103981 (Whittam) под названием “Zeolites”. Цеолиты, имеющие изотипическую решетку ферриерита, также описаны в патенте США № 4016245 (Plank et al.), патенте США № 4578259 (Morimoto et al.) под названиями “Process for Preparing a Crystalline Aluminosilicate”, “Crystalline Zeolite and Method of Preparing Same” и в патенте США № 4375573 (Young et al.) под названием “Selective Production and Reaction of P-Disubstituted Aromatics Over Zeolite ZSM-48”.
В варианте осуществления изобретения водородную форму ферриерита (Н-ферриерит) можно рассматривать по существу как одномерную. Н-Ферриерит может иметь параллельные рабочие каналы. Н-Ферриерит может иметь эллиптические каналы, которые имеют свободные диаметры от 4,2 до 5,4 Е вдоль плоскостей х и y на виде [001]. Каналы могут быть достаточно большими, чтобы позволять входить линейным олефинам и диффундировать через канал метил-разветвленным изоолефинам. Каналы могут быть достаточно маленькими, чтобы замедлять коксообразование. Способы получения различных Н-ферриеритов описаны в патенте США № 5985238 (Pasquale et al.) под названием “Process for Preparing Ferrierite”, в патенте США № 4251499 (Nanne et al.) под названием “Process for The Preparation of Ferrierite”, в патенте США № 4795623 (Evans) под названием “Time Effective Methods for Preparing Ferrierite” и в патенте США № 4942027 (Evans) под названием “Methods for Preparing Ferrierite”.
В некоторых вариантах изобретения катализатор дегидрирования-изомеризации может быть смешан с высокоплавким оксидом, который служит в качестве связующего материала. Подходящими высокоплавкими оксидами являются, но не ограничиваются только ими, природные глины (например, бентонит, монтмориллонит, аттапульгит и каолин), оксид алюминия, диоксид кремния, алюмосиликат, гидратированный оксид алюминия, оксид титана, оксид циркония или их смеси.
Примерами связующих веществ на основе оксида алюминия являются, но не ограничиваются только ими, псевдобемит, гамма-оксид алюминия и байерит. Связующие вещества на основе оксида алюминия коммерчески доступны (например, LaRoche Chemicals производит оксиды алюминия VERSAL® и Sasol производит оксиды алюминия CATAPAL®). В варианте осуществления изобретения высокодисперсные порошки оксида алюминия могут быть использованы в качестве связующих веществ на основе оксида алюминия, если катализатор получают экструзией. Высокодисперсные порошки оксида алюминия могут иметь степень дисперсности более чем 50% в водной дисперсии кислоты, имеющей содержание кислоты 0,4 миллиграмм-эквивалента кислоты (уксусной) на грамм порошка. Такие высокодисперсные оксиды алюминия могут быть представлены примером оксида алюминия CATAPAL®, производимого Sasol.
Массовое отношение цеолита к связующему материалу может составлять от 10:90 до 99,5:0,5. В некоторых вариантах изобретения массовое отношение может составлять от 75:25 до 99:1. В других вариантах изобретения массовое отношение цеолита к связующему материалу может составлять от 80:20 до 98:2. В некоторых вариантах массовое отношение цеолита к связующему материалу может составлять от 85:15 до 95:5 в расчете на безводную основу.
В некоторых вариантах изобретения катализатор дегидрирования-изомеризации может быть получен с одной или несколькими монокарбоновыми кислотами и/или неорганическими кислотами. Помимо монокарбоновых и/или неорганических кислот может быть использована, по меньшей мере, одна органическая кислота, по меньшей мере, с двумя карбоксильными группами («поликарбоновая кислота»). Монокарбоновые кислоты могут иметь замещенные или незамещенные углеводородные группы, содержащие от 1 до 20 атомов углерода. Углеводородные группы могут быть алифатическими, циклическими или ароматическими. Примерами монокарбоновых кислот, содержащих от 1 до 20 атомов углерода, являются, но не ограничиваются только ими, уксусная кислота, муравьиная кислота, пропионовая кислота, масляная кислота, капроновая кислота, гликолевая кислота, молочная кислота, гидроксимасляная кислота, гидроксициклопентановая кислота, салициловая кислота, миндальная кислота, бензойная кислота и жирные кислоты. Примерами неорганических кислот являются, но не ограничиваются только ими, азотная кислота, фосфорная кислота, серная кислота и соляная кислота.
Поликарбоновая кислота в некоторых вариантах изобретения может представлять собой органическую кислоту с двумя или более карбоксильными группами, присоединенными посредством углерод-углеродной связи к углеводородному сегменту. Соединение может находиться в любом положении углеводородного сегмента. Поликарбоновая кислота может иметь углеводородный сегмент с менее чем 10 атомами углерода. Углеводородный сегмент может быть алифатическим, циклическим или ароматическим. Углеводородный сегмент может не иметь атомов углерода в случае щавелевой кислоты с двумя карбоксильными группами, прикрепленными посредством связи углерод-углерод. Примерами поликарбоновых кислот являются, но не ограничиваются только ими, винная кислота, лимонная кислота, малеиновая кислота, щавелевая кислота, адипиновая кислота, малоновая кислота, галактаровая кислота, 1,2-циклопентан-дикарбоновая кислота, малеиновая кислота, фумаровая кислота, итаконовая кислота, фталевая кислота, терефталевая кислота, фенилмалоновая кислота, гидроксифталевая кислота, дигидроксифумаровая кислота, трикарбаллиловая кислота, бензол-1,3,5-трикарбоновая кислота, изолимонная кислота, слизевая кислота и глюкаровая кислота. Поликарбоновые кислоты могут представлять собой любые изомеры перечисленных кислот. В некоторых вариантах осуществления поликарбоновые кислоты могут представлять собой любые стереоизомеры приведенных выше кислот. В одном из вариантов изобретения используются поликарбоновые кислоты, по меньшей мере, с двумя карбоксильными группами и, по меньшей мере, с одной гидроксильной группой. В одном из вариантов изобретения в качестве поликарбоновых кислот могут быть использованы лимонная кислота, винная кислота и яблочная кислота.
Металлы, введенные в катализатор дегидрирования-изомеризации, могут быть металлами, которые способствуют окислению кокса в присутствии кислорода при температуре выше, чем 250оС, и дегидрированию парафинов. Определение «металл(ы)», используемое в данном случае, относится к металлам в нулевой степени окисления и/или более высоких степенях окисления (например, к оксидам металлов). В данном описании определение «кокс» относится к продукту термического разложения более крупных молекул до более мелких молекул.
Металлы, используемые в катализаторе дегидрирования-изомеризации, могут представлять собой переходные и редкоземельные металлы. Ускоряющие окисление кокса металлы представляют собой, но не ограничиваются только ими, металлы групп IB, VB, VIB, VIIB, VIII переходных металлов Периодической таблицы и/или их комбинации. В некоторых вариантах изобретения в катализаторе дегидрирования-изомеризации могут быть использованы Pd, Pt, Ni, Co, Mn, Ag, Cr и/или их комбинации. В других вариантах изобретения оксиды металлов, такие как, но без ограничения только ими, оксид хрома, оксид железа, благородные металлы и их смеси, могут присутствовать в катализаторе в качестве соединений, окисляющих кокс.
Количество введенного металла может составлять от 5 частей на миллион (ч./млн) и до 15% масс. В некоторых вариантах количество металла может составлять от 5 ч./млн до 10% масс. В некоторых вариантах количество металла может составлять от 5 ч./млн до 5% масс.
Благородные металлы (например, платина и/или палладий) могут быть использованы в более низких количествах, чем другие металлы, введенные в цеолит и/или связующее вещество. Определение «благородные металлы», используемое в данном случае, относится к металлам группы, которая включает платину, палладий, иридий, рутений, осмий и родий. В некоторых вариантах осуществления количество благородного(ых) металла(ов) может составлять от 5 ч./млн до 2% масс. металла в расчете на конечный катализатор. В некоторых вариантах количество благородного(ых) металла(ов) может составлять от 5 до 1000 ч./млн металла в расчете на конечный катализатор. В других вариантах количество благородного(ых) металла(ов) может составлять от 5 до 3000 ч./млн металла в расчете на конечный катализатор. Количество благородного(ых) металла(ов), используемое в катализаторе дегидрирования-изомеризации, в некоторых вариантах осуществления может составлять от 5 до 2000 масс. ч/млн металла в расчете на конечный катализатор. Количество благородного(ых) металла(ов), достаточное для ускорения регенерации без ухудшения свойств катализатора, может составлять от 30 до 100 ч/млн. Более высокие количества платины и/или палладия (например, больше чем 2% масс.) могут оказывать отрицательное влияние на катализатор (например, длительность работы, активность при изомеризации олефинов, селективность).
В варианте осуществления изобретения порошок цеолита и порошок оксида алюминия могут быть смешаны (например, сформованы в виде пасты) с водой и одним или несколькими соединениями металла катализатора. Полученную смесь можно формовать в гранулы. Катализаторы, полученные формованием пасты, могут обладать прекрасными свойствами по изомеризации олефинов в сравнении с пропиточными катализаторами. Определение «формование пасты», относится к смешению порошков, к которым добавлено достаточное количество воды, чтобы получить густую пасту и где смешение проводится сопутствующим сдвигом пасты. Могут быть использованы коммерчески доступные машины для формования пасты, такие как Lancaster Mix Muller и Simpson Mix Muller.
В некоторых вариантах изобретения гранулы могут быть получены экструзией. Одна или несколько пептизирующих кислот (например, азотная кислота, уксусная кислота, лимонная кислота или их смеси) могут быть добавлены к смеси, и можно использовать необязательные экструзионные добавки, такие как производные целлюлозы (например, METHOCEL® F4M, гидроксипропилметилцеллюлоза, производство The Dow Chemical Company). Количества используемой пептизирующей кислоты для получения пластичного экструдируемого материала может быть определено с помощью обычных опытов. Определение «гранулы», используемое в описании, относится к любой конфигурации или форме объединенного материала.
В некоторых вариантах изобретения благородный металл, такой как платина и/или палладий, может быть добавлен к цеолитному катализатору после получения гранул. Обычные способы введения металла, известные специалистам в данной области (например, пропитка, ионный обмен благородного металла и совместное формование в пасту) могут быть использованы для получения рабочих катализаторов, которые полезны при дегидрировании-изомеризации парафинов. Добавление благородных металлов к катализатору может способствовать реакции дегидрирования парафинов. Гранулы, содержащие благородные металлы, могут быть прокалены при температуре в интервале от 250 до 700°С. В некоторых вариантах изобретения температура прокаливания может составлять от 300 до 600°С. В некоторых вариантах изобретения температура прокаливания может составлять от 450 до 525°С.
Катализатор дегидрирования-изомеризации может быть введен в контакт с первым углеводородным потоком в установке дегидрирования-изомеризации 110 при различных условиях, чтобы подвергнуть дегидрированию, по меньшей мере, часть парафинов до олефинов и подвергнуть изомеризации, по меньшей мере, часть полученных олефинов. В установке дегидрирования-изомеризации 110 температуры могут составлять от 300 до 700°С. В некоторых вариантах температуры могут составлять от 350 до 550°С. Общее давление в установке дегидрирования-изомеризации 110 во время реакции может составлять от 0,010 до 25,0 атмосфер (от 1 до 2534 кПа). В одном из вариантов изобретения общее давление в установке дегидрирования-изомеризации 110 во время реакции может составлять от 0,010 до 15,0 атмосфер (от 1 до 1520 кПа). В одном из вариантов изобретения суммарное давление в установке дегидрирования-изомеризации 110 во время реакции может составлять от 1 до 5,0 атмосфер (от 101 до 507 кПа). Чтобы предотвратить коксование, вместе с первым углеводородным потоком может быть подан водород. Газообразный водород и парафины, присутствующие в первом углеводородном потоке, могут быть поданы при мольном отношении газообразного водорода к парафину в интервале от 0,1 до 20. В некоторых вариантах осуществления изобретения мольное отношение газообразного водорода к парафину может составлять от 1 до 10.
Время пребывания в установке дегидрирования-изомеризации 110 может быть выбрано так, чтобы степень превращения парафинов в олефины можно было поддерживать ниже 40% мол. В одном из вариантов изобретения степень превращения составляет от 5 до 30% мол. За счет поддержания низких значений степени превращения побочные реакции (например, образование диенов и реакции циклизации) могут быть сведены к минимуму. Превращение олефинов можно повысить за счет изменения условий проведения реакции (например, температуры, времени пребывания) до тех пор, пока побочные реакции остаются ниже допустимых пределов. Олефины, полученные в установке дегидрирования-изомеризации 110, могут иметь более высокие степени разветвления, чем парафин, подаваемый на установку дегидрирования-изомеризации. Следует понимать, что концентрация олефинов, полученных на установке дегидрирования-изомеризации 110, может быть ограничена термодинамическим равновесием олефинов и парафинов при температуре реакции. Условия для изомеризации олефинов в установке дегидрирования-изомеризации 110 можно регулировать так, чтобы число атомов углерода в олефинах до и после изомеризации было по существу одинаковым.
Разветвленные олефины, полученные в установке дегидрирования-изомеризации 110, могут содержать в качестве разветвлений метил, этил и/или более длинные разветвления углеродной цепочки. Может быть проведена спектроскопия ядерного магнитного резонанса на протонах (1Н-ЯМР) композиции изомеризованных олефинов. Разветвленные олефины могут содержать четвертичные и/или третичные алифатические атомы углерода. В некоторых вариантах изобретения количество алифатических атомов углерода, полученных в установке дегидрирования-изомеризации, можно свести до минимума. Спектроскопия 1Н-ЯМР олефинов может показать степень изомеризации олефинов в углеводородном потоке. Спектроскопия 1Н-ЯМР способна идентифицировать широкий спектр олефиновых структур. Присутствие четвертичных атомов углерода может быть определено с использованием методик на ядрах 13С, 13С-ЯМР. Тип разветвления (например, метил, этил, пропил или более крупные группы) может быть определен гидрированием олефиновой смеси с последующим анализом 13С-ЯМР гидрированного олефинового раствора.
Алифатические разветвления, как это используется в данном случае, относятся к разветвлениям на неолефиновых атомах углерода. Олефиновые разветвления, как это используется в данном случае, относятся к разветвлениям на олефиновых атомах углерода. Суммарное число разветвлений на двойной связи может быть определено путем суммирования отдельных вкладов различных олефиновых звеньев. Олефиновые звенья включают виниловые, дизамещенные, тризамещенные, винилиденовые и/или тетразамещенные олефины. Количество и тип олефинов может меняться в зависимости от состава технологического потока и условий реакции изомеризации. В одном из вариантов количество произведенного тетразамещенного олефина может быть низким.
В одном из вариантов осуществления изобретения среднее число разветвлений на молекулу олефина, присутствующее в полученном составе разветвленных олефинов, может составлять более чем 0,7. В некоторых вариантах среднее число разветвлений на молекулу олефина, присутствующее в полученном составе разветвленных олефинов, составляет от 0,7 до 2,5. В некоторых вариантах среднее число разветвлений на молекулу олефина, присутствующее в полученной композиции разветвленных олефинов, составляет от 0,7 до 2,2. В некоторых вариантах среднее число разветвлений на молекулу олефина, присутствующее в полученном составе разветвленных олефинов, составляет от 1,0 до 2,2. Степень разветвления в продукте можно контролировать за счет регулирования условий процесса, используемых в установке, в которой протекает изомеризация олефинов. Например, высокие реакционные температуры и более низкие скорости подачи сырья могут привести к более высокой степени разветвления. Метильные разветвления могут составлять от 20 до 99% от общего числа разветвлений, присутствующих в молекулах олефинов. В некоторых вариантах осуществления метильные разветвления могут составлять больше чем 50% от общего числа разветвлений, присутствующих в молекулах олефинов. Число этильных разветвлений в молекулах олефинов может составлять в некоторых вариантах изобретения менее чем 30% от общего числа разветвлений. В других вариантах изобретения число этильных разветвлений, если они присутствуют, может составлять от 0,1 до 2% от общего числа разветвлений. Разветвления, отличные от метила и этила, если они присутствуют, могут составлять менее чем 5% от общего числа разветвлений.
Алифатические четвертичные атомы углерода, присутствующие в составах разветвленных олефинов, могут составлять менее чем 2% от числа присутствующих атомов углерода. В одном из вариантов изобретения число присутствующих алифатических четвертичных атомов углерода составляет менее чем 1% от числа присутствующих атомов углерода. В случае применения, при котором значение имеет способность к биологическому разложению, число алифатических четвертичных атомов углерода может составлять менее чем 0,5% от числа присутствующих атомов углерода. В одном из вариантов осуществления изобретения число алифатических четвертичных атомов углерода составляет менее чем 0,3% от числа присутствующих атомов углерода. В другом варианте изобретения число присутствующих алифатических четвертичных атомов углерода в составе разветвленных олефинов составляет от 0,01 до 0,3% от числа присутствующих атомов углерода.
Второй углеводородный поток может выходить с установки дегидрирования-изомеризации 110 и может быть передан на другие технологические установки (например, установку гидроформилирования, установки разделения, установки алкилирования) через второй трубопровод 114. По меньшей мере, часть третьего углеводородного потока может выходить с установки дегидрирования-изомеризации 110 и может быть введена на установку гидроформилирования 116 через второй трубопровод 114. В установке гидроформилирования 116, по меньшей мере, часть олефинов во втором углеводородном потоке может быть превращена в олефины. По меньшей мере, часть полученных спиртов и, по меньшей мере, часть непрореагировавших компонентов второго углеводородного потока может образовывать поток реакции гидроформилирования.
В одном из вариантов изобретения олефины могут быть отделены, если это требуется, от второго углеводородного потока с помощью способов, в целом известных в данной области техники (например, перегонкой, с помощью молекулярных сит, экстракцией, адсорбцией, абсорбцией/десорбцией и/или с помощью мембран). Отделение, по меньшей мере, части разветвленных олефинов от линейных олефинов и парафинов может увеличить концентрацию разветвленных олефинов, поступающих на установку гидроформилирования. Кроме того, отделение, по меньшей мере, части разветвленных олефинов от линейных олефинов и парафинов может повлиять на отношение линейных олефинов к разветвленным олефинам, полученным на установке гидроформилирования.
Второй углеводородный поток может выходить с установки дегидрирования-изомеризации 110 и поступать на установку разделения 118 через разделительный трубопровод 120. Установка разделения 118 может давать, по меньшей мере, два потока, поток разветвленных олефинов и поток линейных олефинов и парафинов. На установке разделения 118 второй углеводородный поток может быть введен в контакт с органическими и/или неорганическими молекулярными ситами (например, цеолитами или мочевиной) с подходящим размером пор для разветвленных олефинов и/или линейных олефинов и парафинов. Последующая десорбция (например, десорбция растворителем), по меньшей мере, части разветвленных олефинов и/или, по меньшей мере, части линейных олефинов и парафинов из молекулярных сит может давать, по меньшей мере, два потока (например, поток разветвленных олефинов и поток линейных олефинов и парафинов).
Установка разделения 118 может включать неподвижный слой, содержащий адсорбент для разделения второго углеводородного потока с получением потока разветвленного олефина и парафинов и потока линейных олефинов и парафинов. Температуры разделения на установке разделения 118 могут составлять от 100 до 400°С. В некоторых вариантах изобретения температуры разделения могут составлять от 180 до 380°С. Разделение в установке разделения 118 может быть проведено при давлении от 2 до 7 атмосфер (от 202 до 710 кПа). В некоторых вариантах осуществления изобретения предварительная обработка второго углеводородного потока может быть проведена с целью предупреждения отравления адсорбента. Примером процесса адсорбции/десорбции является процесс Молекса (Molex) с использованием технологии разделения Sorbex® (процесс UOP, UOP, Des Plaines, IL). Процессы адсорбции/десорбции описаны в патенте США № 6225518 (Sohn et al.) под названием “Olefinic Hydrocarbon Separation Process”, в патенте США № 5292990 (Kantner et al.) под названием “Zeolite Compositions for use in Olefinic Separations” и в патенте США № 5276246 (McCulloch et al.) под названием “Process for Separating Normal Olefins from non-normal Olefins”.
По меньшей мере, часть потока линейных олефинов и парафинов может быть передана на другие технологические установки или может храниться на месте. В одном из вариантов изобретения, по меньшей мере, часть потока линейных олефинов и парафинов может быть смешана с первым углеводородным потоком в первом трубопроводе 112 через трубопровод рецикла линейного олефина и парафина 122. Объединенный поток может поступать на установку дегидрирования-изомеризации 110 через первый трубопровод 112, чтобы продолжить процесс получения алифатических спиртов. В некоторых вариантах изобретения поток линейных олефинов и парафинов может быть введен непосредственно на установку дегидрирования-изомеризации 110.
По меньшей мере, часть потока разветвленных олефинов может быть передана и использована в других технологических потоках и/или передана на хранение на месте через трубопровод разветвленных олефинов 124. В некоторых вариантах осуществления изобретения, по меньшей мере, часть потока разветвленных олефинов может поступать на установку разделения 118 и может быть введена во второй трубопровод 114 через трубопровод разветвленных олефинов 124. В другом варианте изобретения, по меньшей мере, часть потока разветвленных олефинов может выходить с установки разделения 118 и может быть введена непосредственно на установку гидроформилирования.
Второй углеводородный поток может выходить с установки дегидрирования-изомеризации и поступать на установку гидроформилирования 116 через второй трубопровод 114, как показано на ФИГ. 1 и 2. Установка гидроформилирования 116 может иметь несколько точек ввода, чтобы обеспечить ввод дополнительных технологических потоков. Используемое в описании выражение «поток, поступающий на установку гидроформилирования» определяется как поступление технологических потоков на установку гидроформилирования через одну или несколько точек ввода. Примерами таких технологических потоков являются, но не ограничиваются только ими, дополнительные потоки из установки дегидрирования-изомеризации 110, поток разбавителя углеводорода, потоки газов и/или других углеводородов, которые могут включать олефины и парафины, полученные в других процессах.
В процессе гидроформилирования олефины превращаются в альдегиды, спирты или их смеси за счет взаимодействия, по меньшей мере, части олефинов с монооксидом углерода и водородом в соответствии с оксо-процессом. В данном описании определение «оксо-процесс» относится к реакции олефина с монооксидом углерода и водородом в присутствии металлического катализатора (например, кобальтового катализатора) с получением спирта, содержащего на один атом углерода больше, чем исходный олефин. В других процессах гидроформилирования используется «модифицированный оксо-процесс». В данном описании «модифицированный оксо-процесс» относится к оксо-процессу, в котором используют модифицированный фосфиновым, фосфитным, арсиновым или пиридиновым лигандом кобальтовый или родиевый катализатор. Получение и применение модифицированного оксо-катализатора описано в патенте США № 3231621 (Slaugh) под названием «Reaction Rates in Catalytic Hydroformylation», в патенте США № 3239566 (Slaugh et al.) под названием “Hydroformylation of Olefins”, в патенте США № 3239569 (Slaugh et al.) под названием “Hydroformylation of Olefins”, в патенте США № 3239570 (Slaugh et al.) под названием “Hydroformylation of Olefins”, в патенте США № 3239571 (Slaugh et al.) под названием “Hydroformylation of Olefins”, в патенте США № 3400163 (Mason et al.) под названием “Bicyclic Heterocyclic Sec- and tert-Phoshines”, в патенте США № 3420898 (Van Winkle et al.) под названием “Single Stage Hydroformylation of Olefins to Alcohols Single Stage Hydroformylation of Olefins to Alcohols”, в патенте США № 3440291 (Van Winkle et al.) под названием “Single Stage Hydroformylation of Olefins to Alcohols”, в патенте США № 3448157 (Slaugh et al.) под названием “Hydroformylation of Olefins”, в патенте США № 3488158 (Slaugh et al.) под названием “Hydroformylation of Olefins”, в патенте США № 3496203 (Morris et al.) под названием “Tertiary Organophosphine-Cobalt-Carbonyl Complexes”; в патенте США № 3496204 (Morris et al.) под названием “Tertiary Organophosphine-Cobalt-Carbonyl Complexes”; в патенте США № 3501515 (Van Winkle et al.) под названием “Bicyclic Heterocyclic Terteriary Phoshine-Cobalt-Carbonyl Complexes”; в патенте США № 3527818 (Mason et al.) под названием “Oxo Alcohols Using Catalysts Comprising Ditertiary Phosphines”; в патентной заявке США, регистрационный № 10/075682 под названием “A Process for Preparing a Branched Olefin, a Method of Using the Branched Olefin for Making a Surfactant and a Surfactant” и в патентной заявке США, регистрационный № 10/167209 под названием “Process for Preparing of a Highly Linear Alcohol Composition”. Способы получения спирта также описаны Othmer в публикации “Encyclopedia of Chemical Technology” 2000, Fourth Edition; и Wickson в публикации “Monohydric Alcohols; Manufacture, Applications and Chemistry”, Ed. Am. Chem. Soc., 1981.
Катализатор гидроформилирования, используемый в установке гидроформилирования 116, может включать металл из группы VIII Периодической таблицы. Примерами металлов группы VIII являются кобальт, родий, никель, палладий или платина. Металл группы VIII может быть использован в виде комплексного соединения. Комплексное соединение может представлять собой металл группы VIII, объединенный с лигандом. Примерами лигандов являются, но не ограничиваются только ими, фосфиновый, фосфитный, арсиновый, стибиновый или пиридиновый лиганд. Примерами катализаторов гидроформилирования являются, но не ограничиваются только ими, катализатор кобальт-гидрокарбонил, катализатор кобальт-фосфиновый лиганд, катализатор родий-фосфиновый лиганд или их комбинации.
Источником углерода и водорода для процесса гидроформилирования в установке гидроформилирования 116 может быть газ. Примерами газов являются, но не ограничиваются только ими, монооксид углерода, водород или синтез-газ. Отношение монооксида углерода к водороду, применяемое в установке гидроформилирования, может составлять от 1,0 до 5,0. В некоторых вариантах изобретения мольное отношение водорода к монооксиду углерода может составлять от 1,5 до 2,5.
Синтез-газ, который содержит водород и монооксид углерода в мольном отношении от 1 до 2,5, может быть использован в установке гидроформилирования 116. В других вариантах может быть использован синтез-газ, который содержит водород и монооксид углерода в мольном отношении от 1,0 до 10,0. В других вариантах в качестве источника углерода и водорода может быть использован синтез-газ, который содержит водород и монооксид углерода в мольном отношении от 1,5 до 2,5. Следует понимать, что газовое сырье может представлять собой смесь только газообразных монооксида углерода и водорода, только синтез-газ или их комбинации.
В установке гидроформилирования 116 олефины во втором углеводородном потоке подвергаются гидроформилированию в непрерывном, полупериодическом или периодическом режимах. В случае непрерывной схемы работы часовые объемные скорости жидкости могут составлять от 0,1 до 10 ч-1. При работе установки гидроформилирования 116 в периодическом режиме время реакции может меняться от 0,1 до 10 ч или даже больше.
Температуры в установке гидроформилирования 116 могут составлять от 100 до 300°С. В некоторых вариантах изобретения могут быть использованы температуры в установке гидроформилирования в интервале от 125 до 250°С. Давление в установке гидроформилирования 116 может составлять от 1 до 300 атмосфер (от 101 до 30398 кПа). В одном из вариантов изобретения может быть использовано давление от 20 до 150 атмосфер (от 2027 до 15199 кПа). Количество катализатора относительно количества олефина, который должен быть гидроформилирован, может меняться. Типичные мольные отношения катализатора к олефину во втором углеводородном потоке могут составлять от 1:1000 до 10:1. В некоторых вариантах может быть использовано отношение от 1:10 до 5:1. В одном из вариантов изобретения в установку гидроформилирования 116 может быть добавлен второй поток с целью контроля реакционных условий. Второй поток может включать, но не ограничен только ими, спирты, простые эфиры, ацетонитрил, сульфолан и парафины.
В установке гидроформилирования 116 может быть достигнута селективность по одноатомным спиртам, по меньшей мере, 90% и даже, по меньшей мере, 92%. Кроме того, степень превращения олефинов до алифатических спиртов может составлять от 50% масс. до более чем 95% масс. В некоторых вариантах изобретения степень превращения олефинов до алифатических спиртов может составлять более чем 75% масс. В некоторых вариантах изобретения степень превращения олефинов до алифатических спиртов может составлять более чем 99% масс.
Выделение алифатических спиртов, полученных по реакции гидроформилирования потока продуктов, может быть достигнуто обычными известными способами. В одном из вариантов изобретения выделение алифатических спиртов включает первую перегонку полученных алифатических спиртов, омыление, промывку водой и вторую перегонку.
Поток смеси реакции гидроформилирования может поступать в сепаратор 126 через третий трубопровод 128. В сепараторе 126 поток продукта реакции гидроформилирования может быть подвергнут стадии первой перегонки (например, однократной быстрой перегонке или молекулярной перегонке). В одном из вариантов осуществления молекулярная перегонка может быть использована для получения, по меньшей мере, двух потоков, нижнего потока и головного потока. В некоторых вариантах, по меньшей мере, часть нижнего потока может быть рециркулирована на установку гидроформилирования 116 через трубопровод рецикла нижнего потока 130. Головной поток может содержать, но без ограничения, парафины, непрореагировавшие олефины и сырой продукт алифатического спирта.
В одном из вариантов изобретения головной поток может быть подвергнут омылению для удаления любых кислот и сложных эфиров, присутствующих в потоке. Омыление может быть проведено контактированием головного потока с водным раствором основания (например, гидроксида натрия или гидроксида калия) при повышенных температурах в условиях перемешивания. Омыление можно провести введением головного потока в контакт с 0,5-10%-ным водным раствором гидроксида при соотношении сырой спирт/вода от 10:1 до 1:1. Используемое количество гидроксида может зависеть от оцененного количества присутствующих сложных эфиров и кислот.
Омыление головного потока может быть проведено периодически или непрерывно. Головной поток может быть подвергнут одному или нескольким процессам омыления. Температуры реакции омыления могут составлять от 40 до 99 оС. В одном из вариантов изобретения температуры омыления могут составлять от 60 до 95 оС. Смешение головного потока со слоем основной воды может быть проведено во время процесса омыления. Отделение головного потока от слоя основной воды может быть осуществлено с использованием известных способов. Головной поток после отделения может быть подвергнут промывке водой с целью удаления любых присутствующих солей натрия. Головной поток может быть разделен с использованием обычных известных методик (например, фракционной перегонкой) с получением, по меньшей мере, двух потоков, потока сырого спиртового продукта и потока парафинов и непрореагировавших олефинов. Используемое в описании определение «фракционная перегонка» относится к перегонке жидкостей и последующему сбору фракций жидкостей, определяемых по температуре кипения. Поток парафинов и непрореагировавших олефинов может быть рециркулирован, подан на другие установки для переработки, может храниться на месте, передан на другое предприятие и/или продан.
В некоторых вариантах изобретения поток сырого продукта алифатического спирта может содержать нежелательные побочные продукты (например, альдегиды, полуацетали). Побочные продукты могут быть удалены за счет того, что поток сырого спиртового продукта подвергается стадии гидродоводки с получением потока продукта алифатического спирта. Используемое в данном случае определение «гидродоводка» относится к реакции гидрирования, проводимой в относительно мягких условиях. Гидродоводка может быть проведена с использованием обычных способов гидрирования. Обычные способы гидрирования могут представлять собой пропускание сырого спиртового сырья вместе с потоком водорода над слоем соответствующего катализатора. Поток продукта алифатического спирта может содержать больше чем 50% масс. полученных алифатических спиртов. В некоторых вариантах изобретения поток продукта алифатического спирта может содержать больше чем 80% масс. полученных алифатических спиртов. В некоторых вариантах осуществления изобретения поток продукта алифатического спирта может содержать больше чем 95% масс. полученных алифатических спиртов. Поток продукта алифатического спирта может содержать разветвленные алифатические первичные спирты. Полученные алифатические спирты в потоке продукта алифатического спирта можно продавать, передавать на другое предприятие, хранить на месте и/или направлять на использование в других технологических установках через трубопровод продукта 132.
Состав потока продукта алифатического спирта может содержать углеводороды со средним числом атомов углерода от 8 до 19. В некоторых вариантах среднее число атомов углерода в потоке продукта алифатического спирта может составлять от 10 до 17. Поток продукта алифатического спирта может содержать разветвленные первичные спирты. Разветвленные первичные спирты могут подходить для производства анионных, неионных и катионных поверхностно-активных веществ. В некоторых вариантах изобретения разветвленные первичные спиртовые продукты могут быть использованы в качестве предшественника для производства анионных сульфатов, в том числе алифатических сульфатов и оксиалкилсульфатов и оксиалкиловых спиртов.
Алифатические спирты могут иметь немного более высокое алифатическое разветвление и немного более высокое число четвертичных атомов углерода по сравнению с олефиновыми предшественниками. В некоторых вариантах изобретения алифатическое разветвление может включать метильные и/или этильные разветвления. В других вариантах изобретения алифатическое разветвление может содержать метильные, этильные и более высокие алифатические разветвления. В некоторых вариантах изобретения число четвертичных атомов углерода в алифатическом спиртовом продукте может составлять менее чем 0,5. В других вариантах изобретения число четвертичных атомов углерода в алифатическом спиртовом продукте может быть меньше чем 0,3. Разветвления спиртового продукта могут быть определены с помощью спектроскопии 1Н ЯМР. Число четвертичных атомов углерода может быть определено с помощью спектроскопии 13С ЯМР. Метод 13С ЯМР определения четвертичных атомов углерода для разветвленных алифатических спиртов описан в патенте США № 6150322 (Singleton et al.) под названием “Highly Branched Primary Alcohol Compositions and Biodegradable Detergents Made Therefrom”.
В некоторых вариантах изобретения, по меньшей мере, часть потока парафинов и непрореагировавших олефинов может быть объединена с первым углеводородным потоком в первом трубопроводе 112 с получением объединенного потока, подаваемого через пятый трубопровод 134. Объединенный поток может быть введен в установку дегидрирования-изомеризации 110 через первый трубопровод 112. По меньшей мере, часть олефинов в объединенном потоке может быть изомеризована до разветвленных олефинов. В некоторых вариантах изобретения, по меньшей мере, часть потока парафинов и непрореагировавших олефинов вводится непосредственно на установку дегидрирования-изомеризации 110 через одну или несколько точек ввода. Так как поток парафинов и непрореагировавших олефинов, содержащий парафины и непрореагировавшие олефины, может быть рециркулирован на установку дегидрирования-изомеризации 110 в виде одного потока, процесс может быть более эффективен, обеспечивая более высокую суммарную производительность. Более высокая производительность будет увеличивать общий выход алифатических спиртов.
В некоторых вариантах осуществления изобретения концентрация олефинов и парафинов в установке гидроформилирования 116 может быть отрегулирована в зависимости от источника потока олефинов, поступающего на установку гидроформилирования. Третий углеводородный поток может быть добавлен перед вводом на установку гидроформилирования 116 с получением объединенного потока. В другом варианте изобретения третий углеводородный поток может быть введен непосредственно на установку гидроформилирования 116 через одну или несколько точек. Третий углеводородный поток может быть введен во второй трубопровод 114 через пятый трубопровод 136 с получением объединенного потока, как это показано на ФИГ. 3. Объединенный поток может поступать на установку гидроформилирования 116 через второй трубопровод 114, чтобы продолжить процесс получения алифатических спиртов.
Третий углеводородный поток может происходить из того же самого источника, что и первый углеводородный поток. В некоторых вариантах изобретения третий углеводородный поток может представлять собой углеводородный поток, который содержит олефины, парафины и/или углеводородные растворители, полученные из другого источника. Третий углеводородный поток может содержать олефины и парафины. В некоторых вариантах изобретения среднее число атомов углерода в третьем углеводородном потоке составляет от 7 до 18. В некоторых вариантах изобретения содержание парафинов в третьем углеводородном потоке может составлять от 60 до 80% масс. В других вариантах изобретения содержание парафинов в третьем углеводородном потоке может составлять более 90% масс.
В одном из вариантов изобретения содержание олефинов в третьем углеводородном потоке составляет от 1 до 99% относительно суммарного содержания углеводородов. В некоторых вариантах содержание олефинов в третьем углеводородном потоке может составлять от 45 до 99% масс. В других вариантах изобретения концентрация олефинов в третьем углеводородном потоке может быть более 80% масс.
В некоторых вариантах изобретения установка дегидрирования-изомеризации 110 может быть разделена на большое число зон с целью контроля реакционных температур и/или предупреждения нежелательных побочных реакций (например, образования диенов и/или реакций циклизации). Первый углеводородный поток, содержащий парафины и непрореагировавшие олефины, может быть введен на установку дегидрирования-изомеризации 110 через первый трубопровод 112, как это показано в случае системы 200 на ФИГ. 4А. В некоторых вариантах первый углеводородный поток содержит -олефины. Углеводороды в первом углеводородном потоке могут иметь среднее число атомов углерода от 7 до 18. В других вариантах изобретения углеводороды в первом углеводородном потоке могут иметь среднее число атомов углерода от 10 до 17. В некоторых вариантах углеводороды в первом углеводородном потоке могут иметь среднее число атомов углерода от 14 до 17. В некоторых вариантах изобретения углеводороды в первом углеводородном потоке могут иметь среднее число атомов углерода от 10 до 13. Содержание -олефинов в первом углеводородном потоке может быть больше 70% в расчете на суммарное количество олефинов в первом углеводородном потоке. В некоторых вариантах первый углеводородный поток получают в процессе Фишера-Тропша. Установка дегидрирования-изомеризации 110 может быть разделена на большое число зон, включающая, но без ограничения, первую реакционную зону, переходную зону и вторую реакционную зону. В первой реакционной зоне 210, по меньшей мере, часть парафинов в первом углеводородном потоке может быть подвергнута дегидрированию до олефинов с получением олефинового потока. Технологический поток затем может поступать во вторую реакционную зону 212. Во второй реакционной зоне 212, по меньшей мере, часть олефинов в технологическом потоке может быть изомеризована до разветвленных олефинов с получением второго углеводородного потока.
В первой реакционной зоне 210 катализатор дегидрирования может быть выбран из широкого спектра типов катализаторов. Например, катализатор может быть на основе металла или соединения металла, нанесенного на пористую подложку. Металл или соединение металла могут быть выбраны, но без ограничения только ими, из оксида хрома, оксида железа и благородных металлов.
Методики приготовления катализаторов для проведения стадии дегидрирования и для проведения сопутствующих стадий разделения известны специалистам в данной области. Например, подходящие методики получения катализаторов и проведения стадии дегидрирования описаны в патенте США № 5012021 (Vora et al.) под названием “Process for Production of Alkyl Aromatic Hydrocarbons Using Solid Catalysts”, в патенте США № 3274287 (Moore et al.) под названием “Hydrocarbon Conversion Process and Catalyst”, в патенте США № 3315007 (Abell et al.) под названием “Dehydrogenation of Saturated Hydrocarbons Over Noble-Metal Catalyst”, в патенте США № 3315008 (Abell et al.) под названием “Dehydrogenation of Saturated Hydrocarbons Over Noble-Metal Catalyst”, в патенте США № 3745112 (Rausch) под названием “Platinum-Tin Uniformly Dispersed Hydrocarbon Conversion Catalyst and Process”, в патенте США № 4506032 (Imai et al.) под названием “Dehydrogenation Catalyst Composition” и в патенте США № 4430517 (Imai et al.) под названием “Dehydrogenation Process Using a Catalytic Composition”.
Температуры в первой реакционной зоне 210 могут составлять от 300 до 600°С. В некоторых вариантах изобретения температура в первой реакционной зоне 210 может составлять от 450 до 550°С. Общее давление в первой реакционной зоне 210 может составлять от 0,010 до 25,0 атмосфер (от 1 до 2534 кПа). В некоторых вариантах общее давление в первой реакционной зоне 210 может составлять от 0,010 до 15,0 атмосфер (от 1 до 1520 кПа). В некоторых вариантах изобретения вместе с непрореагировавшим вторым углеводородным потоком может быть подан водород для предотвращения коксообразование. Водород и парафины, присутствующие в непрореагировавшем первом углеводородном потоке, могут быть поданы при мольном отношении водорода к парафину от 0,1 до 20. В одном из вариантов изобретения мольное отношение водорода к парафину может находиться от 1 до 10.
Время пребывания в первой реакционной зоне 210 может быть выбрано так, чтобы степень превращения парафинов до олефинов составляла ниже 50% мол. В некоторых вариантах изобретения степень превращения парафинов в олефины можно поддерживать от 10 до 20% мол. При сохранении низкого уровня степеней превращения можно предупредить побочные реакции (например, образование диенов и реакции циклизации). В некоторых вариантах изобретения олефиновый углеводородный поток может выходить из первой реакционной зоны 210, проходить через переходную зону 214 и поступать во вторую реакционную зону 212. Переходная зона 214 может содержать теплообменник 216. Теплообменник 216 может понижать температуру потока олефиновых углеводородов. В одном из вариантов изобретения первая реакционная зона 210 и вторая реакционная зона 212 установки дегидрирования-изомеризации 110 могут представлять собой отдельные установки, как показано на ФИГ.4В, с теплообменником 216, расположенным между двумя установками.
После того как олефиновый углеводородный поток поступает на вторую реакционную зону 212, по меньшей мере, часть олефинов изомеризуется до разветвленных олефинов с получением второго углеводородного потока. Состав и степень разветвления второго углеводородного потока могут быть определены с помощью спектроскопии 1Н ЯМР. В одном из вариантов олефиновый поток может выходить из первой реакционной зоны 210 и непосредственно поступать во вторую реакционную зону 212, где, по меньшей мере, часть олефинов в олефиновом потоке подвергается изомеризации до разветвленных олефинов.
Катализатор, используемый для изомеризации олефинов до разветвленных олефинов, может представлять собой тот же катализатор, что описан в патенте США № 5648584 (Murray) под названием “Process for Isomerizing Linear Olefins to Isoolefins” и в патенте США № 5648585 (Murray et al.) под названием “Process for Isomerizing Linear Olefins to Isoolefins”.
В варианте изобретения линейные олефины во втором углеводородном потоке изомеризуются во второй реакционной зоне 212 за счет введения, по меньшей мере, части олефинового потока во взаимодействие с цеолитным катализатором. Цеолитный катализатор может иметь, по меньшей мере, один канал с кристаллографически свободным диаметром от более чем 4,2 Å до менее чем 7 Å. Цеолитный катализатор может иметь размер эллиптических пор достаточно большой, чтобы обеспечить вход линейного олефина и, по меньшей мере, частичную диффузию разветвленного олефина. Размер пор цеолитного катализатора также может быть достаточно маленьким, чтобы замедлить образованием кокса.
Температура во второй реакционной зоне 212 может составлять от 200 до 500°С, чтобы подвергнуть изомеризации линейные олефины до разветвленных олефинов. В некоторых вариантах изобретения реакционные температуры в первой и во второй реакционных зонах по существу являются одинаковыми. В таких вариантах применение теплообменника не требуется. Однако обычно реакционная температура второй реакционной зоны 212 меньше, чем первой реакционной зоны. Использование теплообменника снижает температуру потока, выходящего из первой реакционной зоны, до соответствующей температуры для реакции во второй реакционной зоне. Парциальное давление углеводорода во второй реакционной зоне может составлять от 0,1 до 10 атмосфер (от 10 до 1013 кПа).
В некоторых вариантах изобретения третий углеводородный поток может выходить из второй реакционной зоны и поступать на установку разделения. На установке разделения разветвленные олефины могут быть отделены от линейных олефинов и парафинов, как показано ранее при рассмотрении ФИГ. 2. Второй углеводородный поток может выходить из второй реакционной зоны 212 через второй трубопровод 114 и поступать на установку гидроформилирования 116, как показано на ФИГ. 4А. По меньшей мере, часть олефинов во втором углеводородном потоке может быть подвергнута гидроформилированию с получением потока реакции гидроформилирования, как это описано для системы 100. По меньшей мере, часть реакционного потока гидроформилирования может быть разделена на нижний поток и головной поток с использованием известных способов. Поток сырого продукта алифатического спирта может быть дополнительно очищен, как описано для системы 100, с получением потока парафинов и непрореагировавших олефинов и потока продукта алифатического спирта. Поток продукта алифатического спирта может содержать разветвленные алифатические спирты (например, разветвленные первичные алифатические спирты). Поток продукта алифатического спирта может быть рециркулирован, передан на другие технологические установки, продан и/или передан в емкости-хранилища.
Поток смеси реакции гидроформилирования может поступать в сепаратор 126 через третий трубопровод 128. В сепараторе 126, по меньшей мере, три потока, нижний поток, поток парафинов и непрореагировавших олефинов и поток продукта алифатического спирта, может быть получен при использовании способов, ранее описанных для системы 100. По меньшей мере, часть нижнего потока может быть рециркулирована на установку гидроформилирования через трубопровод рецикла нижнего потока 130. По меньшей мере, часть потока парафинов и непрореагировавших олефинов может быть рециркулирована, объединена с другими технологическими потоками, передана на другую установку и/или направлена на хранение на месте. Поток продукта алифатического спирта может быть передан через трубопровод 132 для хранения на месте, промышленной продажи, передачи на другое предприятие и/или на использование в других технологических установках.
В одном из вариантов, по меньшей мере, часть потока парафинов и непрореагировавших олефинов может быть объединена с первым потоком углеводородов с получением объединенного потока углеводородов через четвертый трубопровод 134. Объединенный углеводородный поток может поступать на первую реакционную зону 210 и подвергаться процессу дегидрирования-изомеризации и процессу гидроформилирования с получением алифатических спиртов. За счет рециркулирования потока парафинов и непрореагировавших олефинов выход продукта может быть максимально увеличен. В одном из вариантов изобретения поток парафинов и непрореагировавших олефинов может быть непосредственно введен на установку дегидрирования-изомеризации 110 через одну или несколько точек ввода.
В некоторых вариантах изобретения концентрация олефинов и парафинов в установке гидроформилирования 116 может регулироваться в зависимости от источника олефинового потока, поступающего на установку гидроформилирования, как это ранее было описано для системы 100. По меньшей мере, часть третьего потока гидроформилирования может быть введена во второй трубопровод 114 поступающего потока установки гидроформилирования 116 через пятый трубопровод 136. Объединенный поток может быть введен в установку гидроформилирования 116 через второй трубопровод 114. По меньшей мере, часть олефинов в объединенном потоке может быть подвергнута гидроформилированию с получением алифатических спиртов. В одном из вариантов осуществления изобретения третий углеводородный поток может быть введен непосредственно на установку гидроформилирования 116 через одну или несколько точек ввода.
Третий углеводородный поток может быть использован для оптимизации концентрации олефинов в установке гидроформилирования 116 при концентрации, достаточной, чтобы гидроформилирование олефина было максимальным. Кроме того, третий углеводородный поток может оптимизировать отношение линейных групп к разветвленным алифатическим группам в алифатическом спирте. Третий углеводородный поток может представлять собой, но без ограничения, углеводородный поток, содержащий олефины, парафины и/или углеводородные растворители.
В одном из вариантов изобретения третий углеводородный поток имеет содержание парафинов от 50 до 99% масс. относительно суммарного содержания углеводородов. В некоторых вариантах содержание парафина в третьем углеводородном потоке составляет от 60 до 90% масс. общего содержания углеводородов. В других вариантах содержание парафинов в третьем углеводородном потоке составляет более чем 80% общего содержания углеводородов.
В варианте изобретения содержание олефинов в третьем углеводородном потоке составляет от 1 до 99% общего содержания углеводородов. В других вариантах содержание олефинов в третьем углеводородном потоке может составлять более чем 80% общего содержания углеводородов.
В одном из вариантов осуществления изобретения катализатор в установке дегидрирования-изомеризации 110 может быть использован в конфигурации составного слоя. Конфигурация составного слоя допускает использование в реакторе одного или нескольких катализаторов. Катализатор дегидрирования парафинов и катализатор изомеризации олефинов может повышать селективность катализатора и/или процесса. Конфигурация составного слоя установки дегидрирования-изомеризации 110 показана для системы 300 на ФИГ. 5. Рабочие условия конфигурации составного слоя могут быть такими же, как для системы из двух зон, описанной в случае системы 200. Первый поток углеводородов может поступать в зону дегидрирования 310 через первый трубопровод 112.
Катализатор дегидрирования, используемый в конфигурации составного слоя, может иметь некислотные свойства. Определение «некислотные свойства», используемое в данном случае, относится к катализатору, который проявляет незначительную активность по изомеризации скелета. Катализатор дегидрирования может содержать благородный металл, компонент группы IVA, компонент щелочного или щелочно-земельного металла, галогеновый компонент и/или пористый материал-носитель.
В некоторых вариантах изобретения благородный металл может быть распределен по всему катализатору дегидрирования. Количество благородного металла может составлять от 0,01 до 5% масс. в расчете на элемент и на конечный катализатор дегидрирования. В некоторых вариантах изобретения катализатор дегидрирования содержит от 0,1 до 1% масс. платины. Благородный металл может быть введен в каталитическую систему с помощью методик, известных в данной области (например, совместным осаждением, совместным гелеобразованием, ионным обменом, пропиткой, осаждением из паровой фазы или из источника атомов) до введения других каталитических компонентов. В некоторых вариантах изобретения благородный металл может быть введен в каталитическую систему во время пропитки другими каталитическими компонентами. В других вариантах изобретения благородный металл может быть введен в каталитическую систему после введения других каталитических компонентов. В некоторых вариантах изобретения благородный металл может быть введен пропиткой материала-носителя раствором или суспензией подвергающегося разложению соединения благородного металла. Например, платина может быть добавлена к подложке катализатора извлечением платины из водного раствора платинохлористо-водородной кислоты. В других вариантах необязательные компоненты (например, азотная кислота) могут быть добавлены к пропиточному раствору, чтобы способствовать распределению или фиксации благородного металла в конечном каталитическом композите.
Компонент группы IVA может представлять собой германий, олово, свинец или их комбинацию. В некоторых вариантах изобретения компонент группы IVA может существовать в пределах катализатора в состоянии окисления выше, чем благородный металл. Компонент группы IVA может присутствовать в виде оксида. В некоторых вариантах изобретения компонент группы IVA может быть объединен с материалом-носителем. В некоторых вариантах изобретения компонент группы IVA может быть объединен с другими каталитическими компонентами. В других вариантах изобретения компонент группы IVA может быть распределен по всему катализатору. Компонент группы IVA может составлять от 0,01 до 5% масс. в расчете на элемент и конечную каталитическую систему. В некоторых вариантах катализатор содержит от 0,2 до 2% масс. олова.
Компонент группы IVA может быть введен в каталитическую систему в соответствии с обычными известными способами (например, совместным осаждением, совместным гелеобразованием, ионным обменом и пропиткой) до введения других каталитических компонентов. В некоторых вариантах изобретения компонент группы IVA может быть введен совместно с другими каталитическими компонентами. В других вариантах осуществления изобретения компонент группы IVA может быть введен после введения других каталитических компонентов. В некоторых вариантах компонент олова может быть введен с помощью совместного гелеобразования с пористым материалом-носителем. Олово может быть объединено с алюмооксидным материалом-носителем путем смешения растворимого соединения олова (например, дихлорида или тетрахлорида олова) с гидрозолем оксида алюминия. Гелеобразующий агент (например, гексаметилен-тетраамин) может быть добавлен к смеси олово-(гидрозоль оксида алюминия). Смесь олово-(гидрозоль оксида алюминия) можно добавлять по каплям в масляную баню с образованием сфер, содержащих оксид алюминия и олово. В некоторых вариантах изобретения компонентом германия может быть пропитан материал-носитель с помощью раствора или суспензии способного к разложению соединения германия (например, тетрахлорида германия, растворенного в спирте). В других вариантах изобретения компонент свинца может быть нанесен пропиткой из раствора нитрата свинца в воде.
В некоторых вариантах изобретения компонент щелочного или щелочно-земельного металла может быть введен в катализатор дегидрирования. Компонент щелочного или щелочно-земельного металла может представлять собой, но без ограничения, цезий, рубидий, калий, натрий, литий, барий, стронций кальций и магний, или их смеси. Компонент щелочного или щелочно-земельного металла может присутствовать в конечном каталитическом композите в состоянии окисления выше, чем благородный металл. Компонент щелочного или щелочно-земельного металла может присутствовать в виде оксида. В некоторых вариантах изобретения щелочной или щелочно-земельный металл могут быть объединены с материалом-носителем. В некоторых вариантах изобретения щелочной или щелочно-земельный металл могут быть объединены с другими каталитическими компонентами дегидрирования.
В других вариантах изобретения компонент щелочного или щелочно-земельного металла может быть распределен по всей каталитической системе. Количество щелочного или щелочно-земельного компонента может составлять от 0,01 до 15% масс. в расчете на элемент и в расчете на конечную каталитическую систему. В других вариантах осуществления изобретения катализатор дегидрирования содержит от 1 до 3% масс. калия. В некоторых вариантах атомное отношение щелочного или щелочно-земельного компонента в благородном металле составляет, по меньшей мере, больше чем 10.
Щелочной или щелочно-земельный компонент может быть введен в каталитическую систему по известным в целом методикам (например, совместным осаждением, совместным гелеобразованием, ионным обменом и пропиткой) до введения других каталитических компонентов. В некоторых вариантах изобретения компонент щелочного или щелочно-земельного металла может быть введен во время введения других каталитических компонентов. В других вариантах осуществления изобретения щелочной или щелочно-земельный компонент может быть введен после введения других каталитических компонентов. Например, компонент калия может быть введен пропиткой материала-носителя с помощью раствора нитрата калия. Атомное отношение щелочного или щелочно-земельного компонента к благородному металлу может составлять, по меньшей мере, 10. В некоторых вариантах изобретения атомное отношение щелочного или щелочно-земельного компонента к благородному металлу может составлять от 15 до 25.
Пористый материал-носитель, используемый в катализаторе дегидрирования, может представлять собой пористую абсорбирующую подложку с высокой удельной площадью поверхности от 25 до 500 м2/г. Пористый материал-носитель имеет температуру плавления более высокую, чем температура в зоне дегидрирования. Примерами материалов-носителей являются, но не ограничиваются только ими, активированный уголь, кокс, уголь, диоксид кремния, силикагель, карбид кремния, синтетически полученные и/или существующие в природе глины и силикаты, высокоплавкие неорганические оксиды, кристаллические цеолитные алюмосиликаты, существующие в природе или полученные синтетическим путем морденит и/или файжезит, шпинель или их комбинации. В некоторых вариантах изобретения материал-носитель может представлять собой гамма- или эта-оксид алюминия. В некоторых вариантах глины и силикаты могут быть обработаны или не обработаны кислотой (например, аттапульгит, фарфоровая глина, диатомовая земля, фуллерова земля, каолин, кизельгур, керамика, фарфор, измельченный огнеупорный кирпич, боксит). Примерами высокоплавких неорганических оксидов являются оксид алюминия, диоксид титана, диоксид циркония, оксид хрома, оксид бериллия, оксид ванадия, оксид церия, оксид гафния, оксид цинка, оксид магния, оксид бора, оксид тория, алюмосиликат, магниевосиликат, алюмохромат, алюмоборат и циркониевосиликат. Цеолитные алюмосиликаты в некоторых вариантах могут находиться в водородной форме. В других вариантах цеолитные алюмосиликаты могут находиться в форме, которая может быть обменена с катионами металлов. Примерами шпинелей являются, но без ограничения, MgAl2O4, FeAl2O4, ZnAl2O4, CaAl2O4 и другие подобные соединения, имеющие формулу MO-Al2O3, в которой М представляет собой металл, имеющий валентность 2.
В некоторых вариантах изобретения алюмооксидный материал-носитель, используемый в катализаторе дегидрирования, может быть получен соответствующим способом из синтетического или существующего в природе сырьевого материала. Алюмооксидный материал-носитель может быть получен в любой желаемой форме (например, в виде сфер, шариков, лепешек, экструдатов, порошков, гранул). Алюмооксидный носитель может быть использован в форме частиц любого размера. В некоторых вариантах может быть использована форма сфер. Частицы могут иметь диаметр 1/16 дюйма. В некоторых вариантах могут быть использованы частицы с диаметром менее 1/32 дюйма.
Алюмооксидные сферы могут быть получены в некоторых вариантах превращением металлического алюминия в золь оксида алюминия. Золь оксида алюминия может быть получен реакцией металлического алюминия с подходящей пептизирующей кислотой и водой. Полученный золь оксида алюминия и гелеобразующий агент могут быть добавлены по каплям в масляную баню с получением сферических частиц алюмооксидного геля. Полученный алюмооксидный гель может быть превращен в материал-носитель на основе гамма- или эта-оксида алюминия с использованием известных технологий (например, путем вызревания, сушки и прокаливания).
В других вариантах изобретения могут быть получены цилиндры из оксида алюминия путем замешивания в пасту порошка оксида алюминия с водой и подходящим пептизирующим агентом (например, с азотной кислотой) с получением экструдируемой композиции. Композицию можно экструдировать через головку подходящего размера, затем нарезать с образованием частиц экструдата. Другие формы материала-носителя на основе оксида алюминия могут быть получены с помощью обычных способов. После формования частиц оксида алюминия они могут быть высушены и прокалены. В процессе приготовления алюмооксидный носитель может быть подвергнут промежуточным обработкам (например, промывке водой или раствором гидроксида аммония).
Катализатор дегидрирования может содержать компонент галогена. Компонент галогена может представлять собой, но без ограничения, фтор, хлор, бром, йод или их смеси. Компонент галогена может быть связан с пористым материалом-носителем. В некоторых вариантах изобретения компонент галогена может быть распределен по всей каталитической системе. Компонент галогена может составлять, по меньшей мере, от 0,2 до 15% масс. в расчете на элемент и конечную каталитическую систему. В некоторых вариантах катализатор дегидрирования содержит от 1 до 3% масс. хлора.
В некоторых вариантах изобретения композиция катализатора может содержать, по меньшей мере, 0,2% масс., в расчете на элемент, компонента галогена. Компонент галогена в катализаторе может улучшить активность катализатора в случае дегидрирования углеводородов. В некоторых вариантах активный галогеновый компонент подавляет образование углерода на катализаторе. Преимущество каталитической системы может состоять в том, что побочные реакции нежелательной изомеризации или образования кокса могут быть замедлены. В некоторых вариантах изобретения компонент галогена может повысить активность катализатора. Активность может быть понижена за счет обработки паром катализатора дегидрирования с целью удаления избытка галогена из катализатора дегидрирования.
Галоген может быть введен в каталитическую систему любым подходящим способом. Введение галогена может быть проведено до получения материала-носителя. В некоторых вариантах введение галогена может быть осуществлено во время введения других компонентов. В других вариантах введение галогена может быть проведено после введения других каталитических компонентов. В некоторых вариантах изобретения алюмооксидный зольный носитель содержит галоген, который может обеспечивать, по меньшей мере, некоторую часть содержания галогена в конечной каталитической системе. В некоторых вариантах изобретения галоген или часть его могут быть добавлены к каталитической системе во время объединения материала-носителя с другими каталитическими компонентами (например, при использовании платинохлористо-водородной кислоты для введения пропиткой платинового компонента). В других вариантах изобретения галоген или часть его могут быть добавлены к каталитической системе введением катализатора в контакт с галогеном. В некоторых вариантах осуществления галоген может быть добавлен к катализатору в виде соединения, раствора, суспензии или дисперсии, содержащей галоген (например, соляной кислоты), до или после объединения других каталитических компонентов с материалом-носителем. В некоторых вариантах галогеновый компонент или его часть могут быть введены обработкой катализатора соединением, раствором, суспензией или дисперсией, содержащей галоген, на последующей стадии регенерации катализатора. На стадии регенерации углерод, осажденный на катализаторе в виде кокса во время применения катализатора на стадии превращения углеводородов, может быть выжжен из катализатора. Благородный металл на катализаторе может быть снова распределен, чтобы получить регенерированный катализатор с характеристиками, аналогичными характеристикам свежего катализатора. Галогеновый компонент может быть добавлен во время стадии выжигания углерода или во время стадии повторного распределения благородного металла (например, введением катализатора в контакт с газообразным хлористым водородом). В некоторых вариантах осуществления изобретения галогеновый компонент может быть добавлен к каталитической системе добавлением галогена или соединения, раствора, суспензии или дисперсии, содержащей галоген (например, пропилендихлорид) к потоку углеводородного сырья. В других вариантах изобретения галоген может быть добавлен к рециркулируемому газу во время работы установки дегидрирования.
В некоторых вариантах изобретения катализатор дегидрирования может содержать компонент серы в интервале от 0,01 до 10% масс., в расчете на элемент и на конечную каталитическую систему. Компонент серы может быть введен в каталитическую систему любым подходящим способом. В некоторых вариантах изобретения сера или соединение, содержащее серу (например, сульфид водорода или более низкомолекулярный меркаптан), могут быть введены во взаимодействие с каталитической системой в присутствии атома водорода при температуре от 10 до 540°С, в безводных условиях. Отношение водорода к сере в некоторых вариантах может составлять 100.
Катализатор дегидрирования в некоторых вариантах изобретения может содержать другие дополнительные компоненты или их смеси, которые действуют отдельно или во взаимодействии, как модификаторы, для улучшения каталитической активности, селективности или стабильности. Примерами модификаторов катализатора являются, но не ограничиваются только ими, сурьма, мышьяк, бериллий, висмут, кадмий, кальций хром, кобальт, медь, галлий, золото, индий, железо, литий, магний, молибден, никель, рений, скандий, серебро, тантал, таллий, титан, вольфрам, ураний, цинк и цирконий. Модификаторы катализатора могут быть добавлены любым подходящим способом к материалу-носителю во время получения катализатора дегидрирования. В других вариантах изобретения модификаторы катализатора могут быть добавлены любым подходящим способом после приготовления катализатора дегидрирования. В некоторых вариантах изобретения модификаторы катализатора могут быть добавлены любым подходящим способом к каталитической системе до введения других каталитических компонентов. В некоторых вариантах изобретения модификаторы катализатора могут быть добавлены совместно с другими каталитическими компонентами. В других вариантах изобретения модификаторы катализатора могут быть добавлены после введения других компонентов катализатора. Описание катализатора дегидрирования может быть найдено в патенте США № 4506032 (Imai et al.) под названием “Dehydrogenation Catalyst Composition”.
Поток олефиновых углеводородов может поступать в зону изомеризации 312. В некоторых вариантах осуществления изобретения может быть необходимо понижение температуры от зоны дегидрирования 310 до зоны изомеризации 312, чтобы предупредить крекинг потока олефиновых углеводородов при поступлении в зону изомеризации. Холодный водород-газ может быть введен в зону дегидрирования 310 через газовый трубопровод 314, чтобы контролировать температуры в зоне дегидрирования 310. В зоне изомеризации 312, по меньшей мере, часть олефинов в потоке олефиновых углеводородов может быть изомеризована до разветвленных олефинов с получением второго углеводородного потока.
В некоторых вариантах изобретения катализатор изомеризации может быть тем же катализатором, что описан для изомеризации олефинов в системе 200. Описание катализатора изомеризации можно найти в патенте США № 5510306 (Murray) под названием “Process for Isomerizing Linear Olefins to Isoolefins”. В некоторых вариантах изобретения к катализатору изомеризации, используемому в конфигурации составного слоя, может быть добавлено от 0,01 до 5% масс. благородного металла для повышения дегидрирующей активности цеолитного катализатора. Могут быть использованы обычные способы введения металла (например, пропитка, ионный обмен благородного металла, совместное замешивание в пасту) для введения благородного металла (например, платины, палладия) в цеолит для получения рабочего катализатора, который можно использовать при дегидрировании-изомеризации парафинов.
Второй углеводородный поток может выходить из зоны изомеризации 312 и поступать на установку гидроформилирования 116 через второй трубопровод 114. По меньшей мере, часть олефинов во втором углеводородном потоке может быть подвергнута гидроформилированию с получением потока реакции гидроформилирования, как это описано для системы 100. По меньшей мере, часть потока реакции гидроформилирования может быть разделена на нижний поток и головной поток при использовании в целом известных способов. Головной поток может быть очищен и разделен так, как описано для системы 100, с получением потока парафинов и непрореагировавших олефинов и потока сырого продукта алифатических спиртов. Поток сырого продукта алифатических спиртов может быть дополнительно очищен так, как описано в случае системы 100, с получением потока продукта алифатического спирта. Поток смеси реакции гидроформилирования может поступать на сепаратор 126 через третий трубопровод 128. В сепараторе 126, по меньшей мере, два потока, нижний поток и головной поток, могут быть получены так, как ранее описано для системы 100. Нижний поток можно рециркулировать на установку гидроформилирования 116 через трубопровод рецикла нижнего потока 130. Головной поток может быть очищен и разделен, по меньшей мере, на два потока, поток парафинов и непрореагировавших олефинов и поток сырого продукта алифатических спиртов. По меньшей мере, часть потока парафинов и непрореагировавших олефинов может быть рециркулирована, объединена с другими технологическими потоками, направлена на другие технологические установки и/или направлена в хранилища. Поток сырого продукта алифатических спиртов может быть дополнительно очищен так, как описано в случае системы 100, с получением потока продукта алифатического спирта. Поток продукта алифатического спирта может содержать разветвленные алифатические спирты (например, разветвленные первичные алифатические спирты). Поток продукта алифатического спирта может быть передан через трубопровод продукта 132, чтобы его можно было хранить на месте, коммерчески продавать, передавать на другие предприятия и/или использовать на других технологических установках.
По меньшей мере, часть потока парафинов и непрореагировавших олефинов может быть объединена с первым углеводородным потоком в первом трубопроводе 112 с получением объединенного потока углеводородов через пятый трубопровод 134. Объединенный углеводородный поток может поступать на зону дегидрирования 310 установки дегидрирования-изомеризации 110 через первый трубопровод 112. Объединенный углеводородный поток, поступающий в зону дегидрирования 310, вступает в процесс дегидрирования-изомеризации и процесс гидроформилирования с получением алифатических спиртов. За счет рециркулирования потока парафинов и непрореагировавших олефинов выход продукта может быть максимально увеличен. В одном из вариантов изобретения поток парафинов и непрореагировавших олефинов может быть непосредственно введен на установку дегидрирования-изомеризации 110 через одну или несколько точек ввода.
В некоторых вариантах изобретения концентрация олефинов и парафинов в установке гидроформилирования 116 может регулироваться в зависимости от источника олефинового потока, поступающего на установку гидроформилирования. По меньшей мере, часть третьего углеводородного потока может быть введена во второй трубопровод перед входом на установку гидроформилирования, как это ранее описано для системы 100. Объединенный поток может быть введен на установку гидроформилирования 116 через второй трубопровод 114. По меньшей мере, часть олефинов в объединенном потоке может быть гидроформилирована с получением алифатических спиртов.
В некоторых вариантах изобретения третий углеводородный поток имеет содержание парафинов от 50 до 99% масс. от общего содержания углеводородов. В некоторых вариантах содержание парафина в третьем углеводородном потоке составляет от 60 до 90% масс. от общего содержания углеводородов. В других вариантах содержание парафинов в третьем углеводородном потоке составляет более чем 80% от общего содержания углеводородов.
В варианте изобретения содержание олефинов в третьем углеводородном потоке составляет от 1 до 99% от общего содержания углеводородов. В других вариантах содержание олефинов в третьем углеводородном потоке может составлять более чем 80% от общего содержания углеводородов.
Алифатические спирты могут быть превращены в оксо-спирты, сульфаты или другие промышленные продукты. По меньшей мере, часть алифатических спиртов в потоке спиртовых продуктов может быть введена в реакцию в установке оксиалкилирования с помощью эпоксидов (например, этиленоксида, пропиленоксида, бутиленоксида) в присутствии основания с получением оксиалкилового спирта. Конденсация спирта с эпоксидами дает возможность спиртовой функциональности увеличиваться в размерах за счет одной или несколько окси-групп. Число окси-групп может составлять от 3 до 12. Например, реакция спирта с этиленоксидом может давать спиртовые продукты, имеющие от 3 до 12 этокси-групп. Реакция спирта с этиленоксидом и пропиленоксидом может давать спирты с этокси/пропокси-отношением этокси-групп к пропокси-группам от 4:1 до 12:1. В некоторых вариантах изобретения значительная часть спиртовых фрагментов может становиться объединенной с более чем тремя этиленоксидными фрагментами. В других вариантах изобретения приблизительно равные части могут быть смешаны с менее чем тремя этиленоксидными фрагментами. В типичной смеси продуктов оксиалкилирования может присутствовать небольшая часть непрореагировавшего спирта. В варианте осуществления изобретения, по меньшей мере, часть потока продукта алифатического спирта может быть получена путем конденсации С5-С31-алифатического спирта с эпоксидом. В некоторых вариантах разветвленные первичные С5-С15-спирты могут быть конденсированы с этиленоксидом и/или пропиленоксидом. В других вариантах разветвленные первичные С11-С17-спирты могут быть конденсированы с этиленоксидом и/или пропиленоксидом. Полученные оксиалкиловые спирты могут продаваться коммерчески, передаваться на другие предприятия, храниться на месте и/или использоваться на других технологических установках. В некоторых вариантах оксиалкиловый спирт может быть сульфирован с получением анионного поверхностно-активного вещества.
В одном из вариантов изобретения, по меньшей мере, часть спиртов в потоке продукта алифатического спирта может быть добавлена к основанию. Основание может представлять собой гидроксид щелочного металла или щелочно-земельного металла (например, гидроксид натрия или гидроксид калия). Основание может действовать в качестве катализатора реакции оксиалкилирования. Для оксиалкилирования спирта может быть использовано количество от 0,1 до 0,6% масс. основания в расчете на общую массу спирта. В одном из вариантов изобретения массовый процент основания может составлять от 0,1 до 0,4% масс. в расчете на общее количество спирта. Реакция спирта с основанием может привести к получению алкоксида. Полученный алкоксид может быть высушен, чтобы удалить любое количество присутствующей воды. Высушенный алкоксид может быть введен в реакцию с эпоксидом. Количество используемого эпоксида может составлять от 1 до 12 молей на моль алкоксида. Полученной смеси (алкоксид-эпоксид) можно позволить реагировать, пока не израсходуется эпоксид. Понижение общего давления может указывать на то, что реакция закончилась.
Температуры в установке оксиалкилирования могут составлять от 120 до 220°С. В одном из вариантов реакционные температуры могут составлять от 140 до 160°С. Реакционное давление может быть достигнуто путем введения в реакционный сосуд требуемого количества эпоксида. Эпоксиды имеют высокое давление паров при требуемой температуре реакции. С точки зрения безопасности процесса парциальное давление эпоксидных реагентов должно быть ограничено, например, до менее чем 4 атмосфер (413 кПа). Другие меры безопасности могут включать разбавление реагентов инертным газом, таким как азот. Например, разбавление инертным газом может привести к концентрации паровой фазы реагентов 50% или менее. В некоторых вариантах изобретения реакция спирт-эпоксид может быть безопасно осуществлена при более высокой концентрации реагента, более высоком общем парциальном давлении и более высоком парциальном давлении эпоксида, если подходящие, в целом известные меры безопасности предпринимаются, чтобы обеспечивать взрывобезопасность. Что касается этиленоксида, то может быть использовано общее давление от 3 до 7 атмосфер (от 304 до 709 кПа). Общее давление этиленоксида от 1 до 4 атмосфер (от 101 до 415 кПа) может быть использовано в некоторых вариантах изобретения. В одном из вариантов изобретения может быть использовано общее давление от 1,5 до 3 атмосфер (от 150 до 304 кПа) относительно этиленоксида. Давление служит мерой степени протекания реакции. Реакцию можно рассматривать по существу оконченной, когда давление со временем более не падает.
Алифатические спирты и оксиалкиловые спирты могут быть дериватизированы с получением композиций (например, сульфонатов, сульфатов, фосфатов), которые могут быть использованы в рецептурах коммерческих продуктов (например, детергентов, поверхностно-активных веществ, масляных добавок, рецептур смазочных масел). Например, спирты могут быть сульфированы с помощью SO3 с получением сульфатов. Определение «сульфированы» относится к атому серы или серосодержащей функциональности, добавленной к атому углерода или кислорода. Процессы сульфирования описаны в патенте США № 6462215 (Jacobson et al.) под названием “Sulfonation, Sulfation and Sulfamation”, в патенте США № 6448435 (Jacobson et al.) под названием “Sulfonation, Sulfation and Sulfamation”, в патенте США № 3462525 (Levinsky et al.) под названием “Dental Compositions Comprising Long-Chain Olefin Sulfonates”, в патенте США № 3428654 (Rubinfeld et al.) под названием “Alkene Sulfonation Process and Products”, в патенте США № 3420875 (DiSalvo et al.) под названием “Olefin Sulfonates”, в патенте СШа № 3506580 (Rubinfeld et al.) под названием “Heat-Treatment of Sulfonated Olefin Products” и в патенте США № 3579537 (Rubinfeld) под названием “Process for Separation of Sulfones from Alkenyl Sulfonic Acids”.
Общий класс сульфатов алифатических спиртов можно охарактеризовать химической формулой: (R-O-(A)x-SO3)nМ. R представляет собой алифатический остаток. «А» представляет собой остаток алкиленоксида; х соответствует среднему числу остатков «А» на остаток R-О и может составлять от 0 до 15; и n представляет собой число, зависящее от валентности катиона М. Примерами катиона М являются, но не ограничиваются только ими, ионы щелочного металла, ионы щелочно-земельного металла, аммонийные ионы и/или их смеси. Примерами катионов являются, но не ограничиваются только ими, магний, калий, моноэтаноламин, диэтаноламин или триэтаноламин.
Алифатические и оксиалкиловые спирты могут быть сульфатированы на установке сульфатирования. Процесс сульфатирования включает реакцию триоксида серы (SO3), хлорсульфоновой кислоты (ClSO3H), сульфаминовой кислоты (NH2SO3H) или серной кислоты со спиртом. В одном из вариантов изобретения триоксид серы в концентрированной (например, дымящей) серной кислоте может быть использован для сульфатирования спиртов. Концентрированная серная кислота может иметь концентрацию в воде от 75 до 100% масс. В одном из вариантов концентрированная серная кислота может иметь концентрацию в воде от 85 до 98% масс. Количество триоксида серы может составлять от 0,3 до 1,3 молей триоксида серы на моль спирта. В некоторых вариантах изобретения триоксид серы может составлять от 0,4 до 1,0 моля триоксида серы на моль спирта.
В одном из вариантов изобретения методика сульфатирования триоксидом серы может включать контактирование жидкого спирта или оксиалкилового спирта и газообразного триоксида серы в сульфаторе со стекающей пленкой с получением сложного эфира серной кислоты и спирта. Реакционная зона сульфатора со стекающей пленкой может работать при атмосферном давлении и при температуре от 25 до 70°С. Эфир серной кислоты и спирта может выходить из сульфатора со стекающей пленкой и поступать в реактор нейтрализации. Сернокислый эфир может быть нейтрализован раствором щелочного металла с получением алкилсульфатной соли или оксиалкилсульфатной соли. Примерами растворов щелочного металла являются растворы гидроксида натрия или калия.
Дериватизированные спирты могут найти широкое применение. Примерами таких вариантов применения являются моющие препараты. Моющие препараты представляют собой, но без ограничения, гранулированные и жидкие моющие препараты для стирки белья, жидкие моющие препараты для мытья посуды и другие препараты. Примерами других препаратов могут быть очищающие агенты общего назначения, жидкие мыла, шампуни и жидкие чистящие средства.
Гранулированные моющие препараты для стирки белья могут включать ряд компонентов помимо дериватизированных спиртов (например, поверхностно-активные вещества, модифицирующие добавки, сопутствующие модифицирующие добавки, отбеливающие агенты, активаторы отбеливающих агентов, регуляторы пенообразования, ферменты, средство против обесцвечивания, оптические бескообразователи и стабилизаторы). Примерами поверхностно-активных веществ могут быть ионные, неионные, амфотерные или катионные поверхностно-активные вещества.
Жидкие моющие препараты для стирки белья включают те же самые компоненты, что и гранулированные моющие препараты для стирки белья. В некоторых вариантах изобретения жидкие моющие препараты для стирки белья могут включать меньше компонента неорганического модифицирующего агента, чем гранулированные моющие препараты для стирки белья. В жидких моющих препаратах могут присутствовать гидротропные соединения. Очищающие агенты общего назначения могут включать другие поверхностно-активные вещества, модифицирующие агенты, пенорегуляторы, гидротропы и солюбилизирующие спирты.
Препараты обычно могут включать один или несколько инертных компонентов. Например, остаток жидких моющих препаратов обычно может составлять инертный растворитель или разбавитель (например, вода). Порошкообразные или гранулированные моющие препараты обычно содержат определенные количества инертного наполнителя или материала-носителя.
ПРИМЕРЫ
Пример 1: Изомеризация олефинов в углеводородном потоке, полученном в процессе Фишера-Тропша
Монооксид углерода и водород вводят в реакцию в условиях процесса Фишера-Тропша с получением углеводородной смеси из линейных парафинов, линейных олефинов, незначительного количества диенов и незначительного количества оксигенатов. Углеводородный поток Фишера-Тропша разделяют на различные потоки с использованием фракционной перегонки. Получают углеводородный поток, содержащий олефины и парафины со средним числом атомов углерода от 8 до 10. Состав полученного С8-С10-углеводородного потока анализируют с помощью газовой хроматографии, полученные результаты представлены в таблице 1.
| Таблица 1 |
| Состав углеводородного потока процесса Фишера-Тропша |
% Масс. |
| С7 и более легкие углеводороды |
0,12 |
| С8 разветвленные олефины |
0,02 |
| С8 линейные олефины |
0,75 |
| 1-Октен |
0,69 |
| н-Октан |
2,21 |
| С9 разветвленные олефины |
0,16 |
| С9 линейные олефины |
8,52 |
| 1-Нонен |
8,07 |
| н-Нонан |
20,03 |
| С10 разветвленные олефины |
0,28 |
| С10 линейные олефины |
22,92 |
| 1-Децен |
20,87 |
| н-Декан |
41,12 |
| С11 и более тяжелые углеводороды |
0,21 |
| С9-C11 спирты |
3,56 |
Цеолитный катализатор, используемый для изомеризации линейных олефинов в углеводородном потоке, получают следующим образом. Аммоний-ферриерит (645 г), дающий потерю массы 5,4% при прокаливании и имеющий следующие свойства: мольное отношение диоксида кремния к оксиду алюминия 62:1, удельная площадь поверхности 369 кв. метров на грамм (Р/Р0=0,03), содержание соды 480 ч./млн и сорбционную емкость по н-гексану 7,3 г на 100 г аммоний-ферриерита, загружают в смеситель для замешивания пасты Lancaster. Оксид алюминия CATAPAL® D (91 г), дающий потерю массы при прокаливании 25,7%, добавляют к смесителю для замешивания пасты. В течение пятиминутного периода замешивания к смеси оксид алюминия/аммоний-ферриерит добавляют 152 мл деионизированной воды. Затем к смеси оксид алюминия/аммоний-ферриерит в смесителе для замешивания пасты медленно добавляют смесь 6,8 г ледяной уксусной кислоты, 7,0 г лимонной кислоты и 152 мл деионизированной воды для пептизации оксида алюминия. Полученную смесь оксид алюминия/аммоний-ферриерит/кислота замешивают в течение 10 мин. Через 15 мин к замешанной смеси оксид алюминия/аммоний-ферриерит/кислота медленно добавляют смесь 0,20 г нитрата тетрааминпалладия в 153 г деионизированной воды. Полученная смесь имеет отношение цеолита к оксиду алюминия 90:10 и потерю массы при прокаливании 43,5%. Смесь цеолит/оксид алюминия формуют путем экструдирования смеси через матричный диск из нержавеющей стали (отверстия 1/16″) 2,25-дюймового экструдера Боннота (Bonnot).
Влажный экструдат цеолит/оксид алюминия сушат при 125 оС в течение 16 ч. После сушки экструдат цеолит/алюминий вторично разбивают вручную. Экструдат цеолит/оксид алюминия прокаливают в токе воздуха при 200°С в течение 2 ч. Температуру повышают до максимальной 500°С и экструдат цеолит/оксид алюминия прокаливают в течение еще двух часов с получением катализатора изомеризации. Катализатору изомеризации дают остыть в десикаторе в атмосфере азота.
В качестве реактора изомеризации используют трубку из нержавеющей стали с наружным диаметром 1 дюйм, внутренним диаметром 0,6 дюймов и длиной 26 дюймов. Измерительный канал для ввода термопар выступает на 20 дюймов от верхней части реакторной трубки из нержавеющей стали. Для загрузки реакторной трубки ее опрокидывают, и кусочек стекловаты перемещают вниз стенки реакторной трубки по измерительному каналу для ввода термопары и размещают в нижней части реакторной трубки, чтобы он выполнял функцию заглушки реакторной трубки. В реакторную трубку добавляют карбид кремния (20 меш) до глубины приблизительно 6 дюймов. Второй кусочек стекловаты помещают над карбидом кремния. Смесь 6,0 г частиц катализатора изомеризации (6-10 меш) и 45 г свежего карбида кремния (60-80 меш) добавляют к реакторной трубке в две части. Добавление в виде двух частей распределяет катализатор изомеризации равномерно в реакторной трубке и дает слой катализатора изомеризации длиной приблизительно 10 дюймов. Третий кусочек стекловаты добавляют на верхнюю часть катализатора в реакторной трубке. Карбид кремния (20 меш) накладывают слоем на третий кусочек стекловаты. Четвертый кусочек стекловаты размещают над карбидом кремния, и он служит в качестве заглушки для нижней части реакционной трубки. Чтобы наблюдать за температурой реакции в различных точках реакторной трубки многоконтактную термопару вводят в измерительный канал для ввода термопары реакторной трубки. Контролируют температуру выше, ниже и в трех различных частях слоя катализатора. Реакторную трубку переворачивают и устанавливают в печи. Реакторную трубку нагревают до рабочей температуры 280°С в течение четырехчасового периода времени при пропускании азота. По достижении температуры 280°С реакторную трубку поддерживают при рабочей температуре в течение еще двух часов для кондиционирования катализатора изомеризации.
После кондиционирования катализатора изомеризации насосом через реакторную трубку подают углеводородный поток со скоростью 60 г/ч. Азот со скоростью 6 л/ч пропускают над катализатором изомеризации совместно с углеводородным потоком. Углеводородный поток переходит в газообразное состояние перед вступлением в контакт с катализатором изомеризации. Реакторная трубка работает при давлении на выходе 20 кПа выше атмосферного давления.
В таблице 2 представлены массовые проценты С8-С10-разветвленных олефинов, С8-С10-линейных олефинов и С8-С10-парафинов в углеводородном потоке при 0 часов и потоке, выходящем из реакторной трубки через 24 и 48 часов изомеризации. Более чем 90% линейных олефинов в углеводородном потоке превращается в разветвленные олефины в реакторе изомеризации. Во время стадии изомеризации небольшое количество вещества, кипящего ниже С8, образуется в результате побочной реакции расщепления. Кроме того, часть С9-С11-спиртов, присутствующих в сырье, подвергается дегидрированию, давая дополнительное количество олефинов в продукте. Среднее число алкильных разветвлений на С8-С10-олефинах в продукте, как установлено, составляет 1,0 при оценке с помощью спектроскопии 1Н-ЯМР.
| Таблица 2 |
| Состав углеводородного потока Фишера-Тропша во время реакции изомеризации |
0 ч, |
24 ч, |
48 ч, |
| % масс. |
% масс. |
% масс. |
| |
|
|
| С8-С10-разветвленные олефины |
0,46 |
33,04 |
33,16 |
| С8-С10-линенйные олефины |
32,19 |
2,52 |
2,54 |
| С8-С10-парафины |
63,19 |
63,32 |
63,27 |
| Отношение разветвленных к линейным |
0,01 |
13,1 |
13,1 |
| С8-С10-олефинам |
|
|
|
Пример 2: Изомеризация 1-додецена
1-Додецен получают от Shell Chemical Co. В таблице 3 приведен состав 1-додецена, определенный с помощью газовой хроматографии.
| Таблица 3 |
| Состав 1-додецена |
% Масс. |
| 1-Додецен |
98,0 |
| Другие С10-С14-олефины |
1,2 |
| <С10 углеводороды |
0,2 |
| >C14 углеводороды |
0,2 |
| Парафины |
0,4 |
| Всего С10-С14-углеводородов |
99,6 |
1-Додецен изомеризуют с использованием той же конструкции реакторной трубки и того же способа получения катализатора изомеризации, которые описаны в примере 1. Поток 1-додецена подают насосом через реакторную трубку при скорости потока 90 г/ч. Азот со скоростью потока 6 л/ч пропускают над катализатором изомеризации одновременно с потоком 1-додецена. Поток додецена переходит в газообразное состояние перед вступлением во взаимодействие с катализатором изомеризации.
Реакторная трубка работает при давлении на выходе 20 кПа выше атмосферного давления и при температуре 290°С.
В таблице 4 приведены массовые проценты молекул меньше чем С10, С10-С14 и больше чем С14 в 1-додецене через 0 ч и в потоке, выходящем из реакторной трубки, через 168 и 849 ч. Линейные С10-С14-олефины превращаются с выходом 94% в разветвленные С10-С14-олефины через 168 ч технологического времени. Во время стадии изомеризации менее чем 3% масс. материала, кипящего ниже С10, образуется из-за побочной реакции расщепления. Среднее число алкильных разветвлений на С10-С14-олефинах в продукте, как установлено, составляет 1,3 при оценке с помощью спектроскопии 1Н-ЯМР.
| Таблица 4 |
| Состав 1-додеценового потока во время реакции изомеризации |
0 ч, % масс. |
168 ч, % масс. |
849 ч, % масс. |
| < С10-углеводороды |
0,2 |
2,5 |
2,4 |
| С10-С14-углеводороды |
99,6 |
97,2 |
97,4 |
| > С14-углеводороды |
0,2 |
0,3 |
0,2 |
| Разветвленные С10-С14-олефины |
0,6 |
93,2 |
93,4 |
| Линейные С10-С14-олефины |
99,0 |
2,8 |
2,9 |
| Парафины |
1,0 |
2,0 |
1,9 |
Пример 3: Дегидрирование додекана при минимальной изомеризации
Додекан получают от Aldrich Chemical Company и хранят в атмосфере азота до переработки. В таблице 5 указан состав додекана, определенный с помощью газовой хроматографии.
| Таблица 5 |
| Состав додекана |
% Масс. |
| Додекан |
99,3 |
| < С10 углеводороды |
<0,1 |
| С10, С11, С13 и С14 углеводороды |
<0,6 |
| > С14 углеводороды |
<0,1 |
| Другие С10-С14-олефины |
<0,1 |
Катализатор дегидрирования парафинов получают в соответствии с примером 1 (катализатор А) патента США № 4430517 (Imai et al.) под названием “Dehydrogenation Process Using a Catalytic Composition”. Полученный катализатор содержит 0,8% масс. платины, 0,5% масс. олова, 2,7% масс. калия и 1,3% масс. хлора на гамма-алюминооксидной подложке. Атомное отношение калия к палладию для данного катализатора составляет 16,8.
Катализатор дегидрирования готовят растворением по существу чистых гранул алюминия в растворе соляной кислоты. Добавляют количество хлорида четырехвалентного олова к полученному раствору, чтобы получить конечный композит, содержащий 0,5% масс. олова, и перемешивают для распределения компонента олова равномерно по всей смеси. К полученной смеси с оловом добавляют гексаметилентетраамин и полученную смесь олово-амин добавляют по каплям в масляную баню таким образом, чтобы получить сферические частицы, имеющие средний диаметр частиц приблизительно 1/16 дюйма. Сферы выдерживают, промывают аммиачным раствором, сушат и прокаливают, получают сферический материал-носитель из гамма-оксида алюминия. Полученные сферы содержат приблизительно 0,5% масс. олова в форме оксида. Более подробно способ получения алюмооксидного материала-носителя описан в патенте США № 2620314 (Hoesktra) под названием “Spheroidal Alumina”.
Композит олово-(оксид алюминия) вводят в контакт с деионизированным раствором платинохлористо-водородной кислоты и соляной кислоты (2% масс. в расчете на массу оксида алюминия) в роторной сушилке в течение 15 мин при комнатной температуре. Количество используемой платинохлористо-водородной кислоты представляет собой количество, необходимое для введения 0,8% масс. платины в композит олово-(оксид алюминия). Затем раствор нагревают и продувают азотом, чтобы удалить воду с получением композита платина-хлор-олово-(оксид алюминия). Введенный хлор удаляют нагреванием композита платина-хлор-олово-(оксид алюминия) до 550°С и обработкой композита смесью воздух/80°С пар (50:50) при часовой объемной скорости газа (GHSV) 300 ч-1. После обработки смесью воздух/пар композит платина-олово-(оксид алюминия) содержит менее чем 0,1% масс. хлора.
Композит платина-олово-(оксид алюминия) вводят в контакт с раствором нитрата калия в деионизированной воде. Используемое количество нитрата калия составляет количество, необходимое для введения в композит платина-олово-(оксид алюминия) 2,7% масс. калия. Воду из композита платина-олово-калий-(оксид алюминия) удаляют нагреванием композита до 100°С при продувке сухим воздухом (GHSV 1000 ч-1) в течение 0,5 ч. Температуру повышают до 525°С и композит платина-олово-калий-(оксид алюминия) обрабатывают потоком соляной кислоты (12 куб.см/ч, 0,9 М HCl) и потоком смеси воздух/80°С пар (50:50) (GHSV 300 ч-1) для введения хлора в композит платина-олово-калий-(оксид алюминия). Композит платина-олово-калий-хлор-(оксид алюминия) сушат при 525 оС при продувке сухим воздухом (GHSV 1000 ч-1). Полученные сферы катализатора имеют средний диаметр частиц 1/16 дюйма, и перед испытанием их измельчают и доводят до размера частиц 6-20 меш.
В качестве реактора изомеризации используют трубку из нержавеющей стали с наружным диаметром 1 дюйм, внутренним диаметром 0,6 дюйма и длиной 26 дюймов. Измерительный канал для ввода термопары выступает на 20 дюймов от верхней части реакторной трубки из нержавеющей стали. Для загрузки реакторной трубки ее опрокидывают, и кусочек стекловаты перемещают вниз по стенке реакторной трубки по измерительному каналу для ввода термопары и размещают в нижней части реакторной трубки, чтобы он выполнял функцию заглушки реакторной трубки. В реакторную трубку добавляют карбид кремния (20 меш) до глубины приблизительно 6 дюймов. Второй кусочек стекловаты помещают над карбидом кремния. Смесь 6,0 г частиц катализатора платина-олово на оксиде алюминия (6-20 меш) и 45 г свежего карбида кремния (60-80 меш) добавляют в реакторную трубку в две части. Добавление в виде двух частей распределяет катализатор равномерно в реакторной трубке и дает слой катализатора длиной приблизительно 10 дюймов. Третий кусочек стекловаты добавляют на верхнюю часть катализатора в реакторной трубке. Карбид кремния (20 меш) накладывают слоем на третий кусочек стекловаты. Четвертый кусочек стекловаты размещают над карбидом кремния, и он служит в качестве заглушки для нижней части реакторной трубки. Чтобы наблюдать за температурой реакции в различных точках реакторной трубки многоконтактную термопару вводят в измерительный канал для ввода термопары реакторной трубки. Контролируют температуру выше, ниже и в трех различных частях слоя катализатора. Реакторную трубку переворачивают и устанавливают в печи. Реакторную трубку продувают азотом. Реакторную трубку нагревают до рабочей температуры 425°С в течение четырех часов при пропускании азота (250 стандартных литров в час). По достижении температуры 425°С реакторную трубку выдерживают при рабочей температуре в течение еще двух часов. Катализатор подвергают предварительному осернению пропусканием через реакторную трубку 1%-ной смеси газообразного сульфида водорода в водороде при 425°С в течение пяти минут. Через 5 мин сульфид водорода в потоке газообразного водорода переключают, чтобы через реакторную трубку пропускать поток газообразного водорода.
После предварительного осеривания катализатора реакторную трубку выдерживают при 425°С в течение восьми часов. Через восемь часов давление в реакторной трубке повышают до 25 фунт/кв.дюйм с помощью газообразного водорода. Через реакторную трубку насосом подают додекан при скорости потока 40 г/ч при скорости потока водорода 125 стандартных литров в час. Через 4 ч поток додекана увеличивают до 80 г/ч. После получения скорости потока 80 г/ч температуру в реакторной трубке повышают до 460°С. После достижения рабочей температуры 460°С из реакторной трубки отбирают образцы каждые восемь часов.
Через двадцать четыре часа массовый процент додекана составляет 11,4% масс., как это показано в таблице 6. При температуре 479°С превращение додекана в олефины составляет 16% масс. через двадцать четыре часа. Из полученных олефинов 84% масс. составляют моноолефины, 4,1% масс. составляют ароматические соединения и 7,5% масс. составляют диолефины. Из суммарного числа образовавшихся олефинов 6% составляют разветвленные олефины, как это определено с помощью спектроскопии 1Н-ЯМР.
| Таблица 6 |
| Результаты испытаний |
|
| Конверсия (% масс.) через 24 ч на потоке при 460°С |
11,4 |
| Температура, требуемая для конверсии 16% масс. |
479°С |
| Селективность по моноолефинам при конверсии 16% масс. |
84% масс. |
| Селективность по ароматике при конверсии 16% масс. |
4,1% масс. |
| Селективность по диолефинам при конверсии 16% масс. |
7,5% масс. |
| % разветвленных С12-олефинов среди всех С12-олефинов |
6 |
Пример 4: Дегидрирование-изомеризация додекана
Додекан получают от Aldrich Chemical Company и хранят в атмосфере азота до переработки. В таблице 5 указан состав додекана, определенный с помощью газовой хроматографии.
Катализатор дегидрирования-изомеризации готовят следующим образом. Аммоний-ферриерит (645 г), дающий потерю массы при прокаливании 5,4% и имеющий следующие характеристики: мольное отношение диоксида кремния к оксиду алюминия 62:1, удельная площадь поверхности 369 кв. метров на грамм (Р/Р0=0,03), содержание соды 480 ч./млн и сорбционную емкость по н-гексану 7,3 г на 100 г аммоний-ферриерита, загружают в смеситель для замешивания пасты Lancaster. Оксид алюминия CATAPAL® D (91 г), проявляющий потерю при прокаливании 25,7%, добавляют к смесителю для замешивания пасты. В течение пятиминутного периода замешивания к смеси оксид алюминия/аммоний-ферриерит добавляют 152 мл деионизированной воды. Затем к смеси оксид алюминия/аммоний-ферриерит в смесителе для замешивания пасты медленно добавляют смесь 6,8 г ледяной уксусной кислоты, 7,0 г лимонной кислоты и 152 мл деионизированной воды для пептизации оксида алюминия. Полученную смесь оксид алюминия/аммоний-ферриерит/кислота замешивают в течение 10 мин. Через 15 мин к замешанной смеси оксид алюминия/аммоний-ферриерит/кислота медленно добавляют смесь 0,20 г нитрата тетрааминпалладия в 153 г деионизированной воды. Полученная смесь имеет отношение цеолита к оксиду алюминия 90:10 и потерю при прокаливании 43,5%. Смесь цеолит/оксид алюминия формуют путем экструдирования смеси через матричный диск из нержавеющей стали (отверстия 1/16″) 2,25-дюймового экструдера Боннота (Bonnot).
Шесть граммов полученной смеси цеолит/оксид алюминия пропитывают водным раствором гексагидрата гексахлорплатината натрия (IV) для введения 0,8% масс. платины в 1/16 дюймовый экструдат. Влажный экструдат цеолит/оксид алюминия, пропитанный платиной, сушат при 125°С в течение 2 ч в токе воздуха. Температуру повышают до максимальной температуры 500°С и экструдат цеолит/оксид алюминия, пропитанный платиной, прокаливают, получают катализатор дегидрирования-изомеризации. Прокаленный катализатор измельчают и до проведения испытаний доводят до размера частиц 6-20 меш.
Додекан подвергают дегидрированию и изомеризации с использованием той же конструкции реакторной трубки, которая описана в примере 3. Степень превращения додекана в олефины 16,1% масс. наблюдается через двадцать четыре часа при 459 оС. Как показано в таблице 7, из образовавшихся олефинов 86% масс. составляют моноолефины, 1,2% масс. составляют ароматические соединения и 6,8% масс. составляют диолефины. Из общего количества образовавшихся олефинов 86% составляют разветвленные олефины, как это определено с помощью спектроскопии 1Н-ЯМР.
| Таблица 7 |
| Результаты испытаний |
|
| Конверсия (% масс.) через 24 ч на потоке при 460°С |
16,1 |
| Температура, требуемая для конверсии 16% масс. |
459°С |
| Селективность по моноолефинам при конверсии 16% масс. |
86% масс. |
| Селективность по ароматике при конверсии 16% масс. |
1,2% масс. |
| Селективность по диолефинам при конверсии 16% масс. |
6,8% масс. |
| % разветвленных С12-олефинов среди всех С12-олефинов |
86 |
Пример 5: Катализатор дегидрирования-изомеризации
Цеолитную часть катализатора дегидрирования-изомеризации готовят, как в примере 4. Шесть граммов полученной смеси цеолит/оксид алюминия пропитывают водным раствором тетраамина нитрата палладия для введения 0,8% масс. палладия в 1/16 дюймовый экструдат.
Влажный пропитанный палладием экструдат цеолит/оксид алюминия сушат при 125°С в течение 2 ч в потоке воздуха. Температуру повышают до максимальной температуры 500°С и пропитанный палладием экструдат цеолит/оксид алюминия прокаливают с получением катализатора дегидрирования-изомеризации. Прокаленный катализатор тщательно измельчают и перед испытанием доводят до размера частиц 6-20 меш.
Пример 6: Катализатор дегидрирования-изомеризации
Катализатор дегидрирования-изомеризации готовят в соответствии со способом получения катализатора D патента США № 5648585 (Murray et al.) под названием “Process for Isomerizing Linear Olefins to Isoolefins”.
Используют аммоний-ферриерит, имеющий мольное отношение диоксида кремния к оксиду алюминия 62:1, удельную площадь поверхности 369 кв. метров на грамм (Р/Р0=0,03), содержание соды 480 ч/млн и сорбционную емкость по н-гексану 7,3 г на 100 г цеолита. Компоненты катализатора замешивают в пасту с использованием смесителя для замешивания пасты Lancaster. Замешанный каталитический материал экструдируют с использованием штифтового барабанного экструдера Боннота. В качестве связующего вещества используют оксид алюминия CATAPAL® D от Sasol. В качестве экструзионной добавки используют METHOCEL® F4M, гидроксипропилметилцеллюлозу, от Dow Chemical Company.
В смеситель для замешивания пасты Lancaster загружают 632 г аммоний-ферриерита (потеря при прокаливании 3,4%) и 92 г оксида алюминия CATAPAL® D (потеря при прокаливании 26,2%). Оксид алюминия смешивают с ферриеритом пять минут, и за это время добавляют 156 мл деионизированной воды. Смесь 6,8 г ледяной уксусной кислоты и 156 мл деионизированной воды медленно добавляют в смеситель для замешивания пасты, чтобы пептизировать оксид алюминия. Смесь перемешивают-замешивают 10 мин. Добавляют в смеситель для замешивания пасты тетраамин нитрата платины и тетраамин нитрата палладия, чтобы получить катализатор, который содержит 0,25% масс. палладия и 0,55% масс. платины. Добавляют десять граммов гидроксиметилцеллюлозы METHOCEL® F4M и цеолит/оксид алюминия замешивают еще в течение 15 мин. Экструдат переносят в штифтовый барабанный экструдер Боннота и экструдируют с использованием матричного диска из нержавеющей стали (отверстия 1/16 дюйма). Экструдат сушат при 120°С в течение 16 часов, затем прокаливают в воздухе при 500°С в течение 2 ч. Прокаленный катализатор тщательно измельчают и перед испытанием доводят до размера 6-20 меш.
Формула изобретения
1. Способ получения алифатических спиртов, включающий:
введение первого углеводородного потока, полученного по способу Фишера-Тропша, содержащего олефины и парафины, указанный поток Фишера-Тропша содержит 5-80% олефинов, имеющих среднее число атомов углерода от 10 до 17, в установку дегидрирования-изомеризации, где установка дегидрирования-изомеризации выполнена так, чтобы дегидрировать, по меньшей мере, часть парафинов в углеводородном потоке Фишера-Тропша до олефинов, и где установка дегидрирования-изомеризации также выполнена так, чтобы изомеризовать, по меньшей мере, часть линейных олефинов до разветвленных олефинов, в присутствии катализатора дегидрирования-изомеризации, содержащего водородную форму цеолита, имеющего изотопическую решетчатую структуру ферриерита и где время пребывания выбрано так, чтобы конверсия парафинов в олефины была ниже 40%, и где, по меньшей мере, часть не прореагировавших компонентов углеводородного потока, полученного по способу Фишера-Тропша, и, по меньшей мере, часть продуктов реакций дегидрирования и изомеризации образуют второй углеводородный поток, причем второй углеводородный поток содержит олефины и парафины, и где, по меньшей мере, часть олефинов во втором углеводородном потоке представляет собой разветвленные олефины; и
введение, по меньшей мере, части второго углеводородного потока в установку гидроформилирования, где установка гидроформилирования выполнена так, чтобы гидроформилировать, по меньшей мере, часть олефинов во втором углеводородном потоке с получением алифатических спиртов, имеющих среднее число атомов углерода от 11 до 18, и где, по меньшей мере, часть полученных алифатических спиртов содержит разветвленные алкильные группы.
2. Способ по п.1, где установка дегидрирования-изомеризации работает в температурном интервале от 300 до 500°С.
3. Способ по любому из пп.1 и 2, где установка дегидрирования-изомеризации выполнена так, чтобы она работала в интервале давлений от 0,10 до 15 атм.
4. Способ по любому из пп.1 и 2, где установка гидроформилирования работает при температуре реакции от 100 до 300°С.
5. Способ по п.3, где установка гидроформилирования работает при температуре реакции от 100 до 300°С.
6. Способ по любому из пп.1 и 2, где установка дегидрирования-изомеризации включает катализатор дегидрирования-изомеризации, который дополнительно содержит связующее вещество, соединение, окисляющее кокс, и соединение, стимулирующее дегидрирование парафинов.
7. Способ по п.3, где установка дегидрирования-изомеризации включает катализатор дегидрирования-изомеризации, который дополнительно содержит связующее вещество, соединение, окисляющее кокс, и соединение, стимулирующее дегидрирование парафинов.
8. Способ по любому из пп.1 и 2, который дополнительно включает введение водорода в поток углеводородов, полученный по способу Фишера-Тропша.
9. Способ по п.3, который дополнительно включает введение водорода в поток углеводородов, полученный по способу Фишера-Тропша.
РИСУНКИ
|
|