|
|
(21), (22) Заявка: 2005127635/04, 03.02.2004
(24) Дата начала отсчета срока действия патента:
03.02.2004
(30) Конвенционный приоритет:
05.02.2003 US 60/445,312
(43) Дата публикации заявки: 20.01.2006
(46) Опубликовано: 20.03.2009
(56) Список документов, цитированных в отчете о поиске:
WO 02/44114 А, 06.06.2002. US 3492364 А, 27.01.1970. RU 2179166 С2,10.02.2002.
(85) Дата перевода заявки PCT на национальную фазу:
05.09.2005
(86) Заявка PCT:
US 2004/002958 (03.02.2004)
(87) Публикация PCT:
WO 2004/072000 (26.08.2004)
Адрес для переписки:
129090, Москва, ул. Б.Спасская, 25, стр.3, ООО “Юридическая фирма Городисский и Партнеры”, пат.пов. Е.Е.Назиной, рег. № 517
|
(72) Автор(ы):
ЭЮБ Пол Мари (NL), ДИРКЗВАГЕР Хендрик (NL), МЮРРЕЙ Брендан Дермот (US), САМРОУ Стивен Клоис (US)
(73) Патентообладатель(и):
ШЕЛЛ ИНТЕРНЭШНЛ РИСЕРЧ МААТСХАППИЙ Б.В. (NL)
|
(54) СПОСОБ ПОЛУЧЕНИЯ РАЗВЕТВЛЕННЫХ АРОМАТИЧЕСКИХ УГЛЕВОДОРОДОВ С ИСПОЛЬЗОВАНИЕМ ТЕХНОЛОГИЧЕСКОГО ПОТОКА ИЗ УЗЛА ИЗОМЕРИЗАЦИИ
(57) Реферат:
Представленное изобретение относится к способу получения алкилароматических углеводородов, который включает: введение первого потока углеводородов, содержащего олефины и парафины, в узел изомеризации, причем узел изомеризации предназначен для изомеризации, по меньшей мере, части линейных олефинов первого потока углеводородов в разветвленные олефины, и при этом, по меньшей мере, часть непрореагировавших компонентов первого потока углеводородов и, по меньшей мере, часть непрореагировавших компонентов первого потока углеводородов и, по меньшей мере, часть полученных разветвленных олефинов образует второй поток углеводородов; введение, по меньшей мере, части второго потока углеводородов и ароматических углеводородов в узел алкилирования, причем узел алкилирования предназначен для алкилирования, по меньшей мере, части ароматических углеводородов, по меньшей мере, частью олефинов во втором потоке углеводородов с образованием алкилароматических углеводородов, где, по меньшей мере, часть полученных алкилароматических углеводородов содержит разветвленные алкильные группы, и где, по меньшей мере, часть непрореагировавших компонентов второго потока углеводородов, по меньшей мере, часть ароматических углеводородов и, по меньшей мере, часть полученных алкилароматических углеводородов образуют поток реакции алкилирования; отделение алкилароматических углеводородов от потока реакции алкилирования с образованием потока непрореагировавших углеводородов и потока алкилароматических углеводородов, где поток непрореагировавших углеводородов содержит, по меньшей мере, часть непрореагировавших компонентов второго потока углеводородов и ароматических углеводородов; отделение, по меньшей мере, части парафинов и, по меньшей мере, части олефинов от потока непрореагировавших углеводородов с образованием потока ароматических углеводородов и потока парафинов и непрореагировавших олефинов; и введение, по меньшей мере, части потока парафинов и непрореагировавших олефинов в узел дегидрирования, причем узел дегидрирования предназначен для дегидрирования, по меньшей мере, части парафинов в потоке парафинов и непрореагировавших олефинов с образованием олефинов, и где, по меньшей мере, часть полученных олефинов отбирают из узла дегидрирования с образованием потока олефиновых углеводородов; и введение, по меньшей мере, части потока олефиновых углеводородов в узел изомеризации. Применение данного способа позволяет сэкономить время, понизить стоимость катализатора и/или повысить суммарную экономическую привлекательность проточного процесса на основе газа с низким содержанием олефинов. 22 з.п. ф-лы, 4 табл., 1 ил.
Уровень техники изобретения
Область техники, к которой относится изобретение
Настоящее изобретение относится к системам и способам получения алкилароматических углеводородов. Более конкретно, воплощения, приведенные здесь, относятся к системам и способам получения разветвленных алкилароматических углеводородов.
Описание предшествующего уровня техники
Алкилированные ароматические углеводороды являются важными соединениями, которые можно использовать многими способами или превращать в другие химические соединения (например, поверхностно-активные вещества, сульфонаты). Поверхностно-активные вещества можно использовать разными способами, например, в виде моющих средств, мыл и при добыче нефти.
Структурный состав алкилароматического углеводорода может влиять на свойства (например, растворимость в воде, способность к биоразложению, моющие свойства в холодной воде) поверхностно-активного вещества и/или моющего средства, полученного из алкилароматического углеводорода. Например, линейность алкильной группы может оказать влияние на растворимость в воде. По мере увеличения линейности алкильной группы может уменьшаться гидрофильность (т.е. сродство к воде) алкилароматического поверхностно-активного вещества. Таким образом, растворимость в воде и/или моющие свойства (моющая активность) алкилароматического поверхностно-активного вещества могут уменьшаться. Введение боковых групп, содержащих минимальное число четвертичных и/или третичных атомов углерода, в алкильную часть алкилароматического поверхностно-активного вещества может повысить растворимость в холодной воде и/или моющую способность алкилароматического поверхностно-активного вещества при сохранении его способности к биоразложению. Однако количество боковых групп и тип разветвления в алкильной группе могут понизить скорость биоразложения поверхностно-активного вещества и/или моющего средства.
Разветвленные алкилароматические углеводороды состоят из разветвленной алкильной группы, соединенной с ароматической группой. Разветвленные алкильные группы состоят из линейных алкильных групп с боковыми группами, расширяющими форму линейной алкильной группы. Разветвления линейных алкильных групп могут включать одну или несколько алифатических алкильных групп, линейную алкильную группу или их комбинации. Боковые группы могут включать метильную, этильную, пропильную или высшие алкильные группы. В разветвленной алкильной группе могут присутствовать четвертичные и третичные атомы углерода. Число четвертичных и третичных атомов углерода зависит от способа разветвления в алкильной группе. Использованное здесь выражение «алифатический четвертичный атом углерода» относится к атому углерода, который не связан с атомами водорода и не соединен с ароматическим кольцом.
Поверхностно-активное вещество с разветвленной алкильной группой, включающей четвертичные и/или третичные атомы углерода, может характеризоваться пониженной скоростью биоразложения по сравнению с поверхностно-активным веществом, содержащим линейную или моноразветвленную алкильную группу. Термин «способный к биоразложению» в данном изобретении относится к веществу, которое может химически изменяться или разрушаться под действием бактерий или других природных агентов. Например, в опыте по биоразложению активированного осадка сточных вод путем обработки в пористом тигле скорость биоразложения 2-метил-2-ундецил[14С]бензолсульфоната натрия была больше скорости биоразложения 5-метил-5-ундецил[14С]бензолсульфоната натрия. Подробное описание эксперимента приведено в книге Nielsen et al. “Biodegradation of Coproducts of Commercial Linear Alkylbenzene Sulfonate”, Environmental Science and Technology, 1997, 31:3397-3404.
Примеры составов и процессов для производства разветвленных алкилароматических углеводородов приведены в патенте США №3484498 на имя Berg, озаглавленном “Способ получения арилзамещенных нормальных парафиновых углеводородов”; в патенте США №6111158 на имя Marinangeli et al., озаглавленном “Способ получения арилалканов в условиях алкилирования с применением цеолита со структурой NES”, и в патенте США №6187981 на имя Marinangeli et al., озаглавленном “Способ получения арилалканов и арилалкансульфонатов; получение композиций на их основе и их применение”. В последнем источнике описаны хорошо известные способы дегидрирования и изомеризации углеводородов, а также показано хорошо известное использование таких дегидрированных и изомеризованных углеводородов в алкилировании и сульфонировании бензолов с получением алкилбензолсульфонатов.
Совсем недавно было обнаружено, что поверхностно-активные вещества, получаемые из разветвленных олефинов, обладают другими, более желательными свойствами по сравнению с поверхностно-активными веществами, полученными из линейных олефинов. Например, поверхностно-активные вещества, полученные из разветвленных олефинов, обладают повышенной растворимостью в воде, улучшенными моющими свойствами и приемлемой способностью к биоразложению по сравнению с поверхностно-активными веществами, полученными из линейных олефинов. Экономическую ценность метода может повысить синтез разветвленных олефинов по Фишеру-Тропшу. В некоторых воплощениях линейные олефины можно превратить в разветвленные олефины с помощью катализатора изомеризации. Разветвленные олефины можно использовать для производства поверхностно-активных веществ, которые более востребованы и таким образом являются более ценными продуктами процесса Фишера-Тропша. Вообще в процессах Фишера-Тропша образуются очень малые количества олефинов. Увеличение содержания олефинов (например, разветвленных алкилолефинов) в продуктах синтеза Фишера-Тропша может повысить экономическую ценность проточного процесса.
Сущность изобретения
В одном воплощении алкилароматические углеводороды можно получить по способу, который включает изомеризацию олефинов в узле изомеризации. После изомеризации олефины можно использовать для алкилирования ароматических углеводородов. После алкилирования ароматических углеводородов непрореагировавшие компоненты из процесса алкилирования можно отделить от полученных алкилароматических углеводородов. Парафины в отделенном потоке можно подвергать дегидрированию и получать дополнительные олефиновые компоненты. Полученный поток олефинов после дегидрирования может быть направлен обратно в узел изомеризации.
Изомеризация олефинов в проточном процессе может происходить в узле изомеризации. В одном воплощении исходный поток на входе в узел изомеризации может содержать линейные олефины и парафины со средним числом атомов углерода от 7 до 16. В другом воплощении поток, входящий в узел изомеризации, включает линейные олефины и парафины со средним числом атомов углерода от 10 до 13. Используемое здесь выражение «число атомов углерода» относится к общему числу атомов углерода в молекуле. В некоторых воплощениях исходный поток на входе в узел изомеризации может быть получен в процессе Фишера-Тропша. В узле изомеризации, по меньшей мере, часть линейных олефинов в потоке углеводородов можно изомеризовать с образованием разветвленных олефинов. Разветвленные олефины могут содержать среднее число боковых групп на молекулу олефина от примерно 0,7 до примерно 2,5. Разветвленный олефин может включать, но не ограничивается этим, боковую метильную и/или этильную группу. Метод изомеризации позволяет получить разветвленные олефины, содержащие менее примерно 0,5% алифатических четвертичных атомов углерода.
В одном воплощении один или несколько потоков углеводородов можно объединять с исходным потоком на входе в узел изомеризации. Поток углеводородов можно смешивать с исходным потоком для изменения концентрации олефинов, входящих в узел изомеризации. После обработки исходного потока в узле изомеризации полученный поток разветвленных олефинов можно пропустить через узел алкилирования. Один или несколько потоков углеводородов можно объединять с потоком, содержащим разветвленные олефины, для изменения концентрации олефинов на входе в узел алкилирования.
Алкилирование ароматических углеводородов олефинами может протекать в узле алкилирования. В одном воплощении поток олефиновых углеводородов из узла изомеризации и ароматических углеводородов может входить в узел алкилирования. В узле алкилирования, по меньшей мере, часть ароматических углеводородов может быть проалкилирована, по меньшей мере, частью олефинов в потоке углеводородов с образованием алкилароматических углеводородов. По меньшей мере, часть полученных алкилароматических углеводородов может содержать боковую алкильную группу. По меньшей мере, часть непрореагировавших компонентов углеводородного потока, по меньшей мере, часть непрореагировавших ароматических углеводородов и, по меньшей мере, часть полученных алкилароматических углеводородов могут образовывать поток реакции алкилирования.
По меньшей мере, часть парафинов, непрореагировавших олефинов, ароматических углеводородов и алкилароматических углеводородов может быть выделена из потока реакции алкилирования с образованием потока непрореагировавших углеводородов и потока продуктов – алкилароматических углеводородов. Поток непрореагировавших углеводородов можно, в некоторых воплощениях, разделять дальше с образованием потоков парафинов, непрорегировавших олефинов и ароматических углеводородов. По меньшей мере, часть потока непрореагировавших ароматических углеводородов может быть возвращена в узел алкилирования.
Дегидрирование парафинов можно проводить в узле дегидрирования. В одном воплощении, по меньшей мере, часть потоков парафинов и непрореагировавших олефинов можно вводить в узел дегидрирования. В узле дегидрирования, по меньшей мере, часть парафинов в потоке парафинов и непрореагировавших олефинов может быть подвергнута дегидрированию с образованием олефинов. По меньшей мере, часть полученных олефинов может быть выведена из узла дегидрирования с образованием потока олефиновых углеводородов. Полученный поток олефиновых углеводородов из процесса дегидрирования может быть возвращен в основной технологический поток путем подачи олефинов в узел изомеризации и/или в поток на входе в узел изомеризации.
В некоторых воплощениях, по меньшей мере, часть потоков продуктов – алкилароматических углеводородов из описанных выше процессов может быть подвергнута сульфонированию с образованием алкилароматических сульфонатов. В некоторых воплощениях алкилароматические сульфонаты могут содержать разветвленные алкильные группы.
Краткое описание чертежей
Преимущества настоящего изобретения станут очевидны для специалистов в данной области при последующем подробном описании воплощений и анализе чертежа, который представляет собой технологическую схему воплощения системы для производства разветвленных алкилароматических углеводородов с использованием узла изомеризации олефинов.
Несмотря на то что изобретение допускает различные модификации и формы, его специфические воплощения показаны с помощью чертежа и будут подробно описаны. Следует понимать, что чертеж и подробное описание направлены не на ограничение изобретения раскрытием одной частной формы, а наоборот, его распространением на все модификации, эквиваленты и альтернативы, попадающие в объем настоящего изобретения и не противоречащие его смыслу, как это следует из приведенной формулы.
Подробное описание воплощений
Углеводороды можно получать из синтез-газа (т.е. смеси водорода и оксида углерода) по способу Фишера-Тропша. Синтез-газ можно получать из угля или риформингом природного газа. В процессе Фишера-Тропша синтез-газ каталитически превращается в смесь продуктов, которая содержит прежде всего насыщенные углеводороды, некоторое количество олефинов и небольшое количество кислородсодержащих продуктов. Продукты синтеза Фишера-Тропша можно использовать для производства топлив (например, бензина, дизельного топлива), смазочных масел и восков. Топлива и другие продукты, полученные по способу Фишера-Тропша, обычно содержат мало серы, азота и/или металлов и содержат очень мало или совсем не содержат циклических соединений (например, ароматических соединений и нафталинов).
Потоки продуктов синтеза Фишера-Тропша можно также использовать для приготовления экономически важных продуктов массового потребления. Например, линейные олефины являются продуктами массового спроса, поскольку их используют для производства поверхностно-активных веществ. Использование части потока для получения линейных олефинов может повысить экономическую ценность проточного процесса Фишера-Тропша. Чтобы понизить стоимость полученных алкилароматических углеводородов, поток, содержащий значительное количество парафинов и малое количество олефинов, надо сначала подвергнуть изомеризации и затем алкилированию с образованием алкилароматических углеводородов. Переработка исходного потока с низким содержанием олефинов в узле изомеризации перед алкилированием позволяет сэкономить время, понизить стоимость катализатора и/или повысить суммарную экономическую привлекательность проточного процесса на основе газа с низким содержанием олефинов.
Как уже упоминалось, в состав исходного потока углеводородов могут входить парафины и олефины. По меньшей мере, часть потока углеводородов может состоять из линейных парафинов и олефинов, содержащих, по меньшей мере, 4 атома углерода и до 16 атомов углерода. Исходный поток углеводородов можно получить способом Фишера-Тропша и/или путем олигомеризации этилена. Катализаторы и условия синтеза Фишера-Тропша можно выбрать таким образом, чтобы получить заданную смесь продуктов в потоке продуктов реакции. Катализаторы и/или комбинации катализаторов, которые способствуют производству нужных углеводородов в синтезе Фишера-Тропша, широко известны.
При упоминании потока Фишера-Тропша следует отметить, что любой поток, полученный любым способом с участием олефинов и насыщенных углеводородов, является подходящим сырьем для раскрытых здесь способов. Во многих случаях продукты синтеза Фишера-Тропша могут содержать от 5% до 99% олефинов, а остальное составляют насыщенные углеводороды и другие соединения.
В некоторых воплощениях исходные потоки, содержащие олефины и парафины, получают крекингом парафинового воска и/или олигомеризацией олефинов. Продажные олефиновые продукты, полученные олигомеризацией олефинов, в США поставляют на рынок фирмы Chevron Chemical Company, Shell Chemical Company (под торговой маркой NEODENE) и British Petroleum. Крекинг парафинового воска для получения исходных потоков альфа-олефинов и парафинов описан в патенте США №4579986 на имя Sie, озаглавленном “Способ получения углеводородов”, и в патентной заявке с порядковым №10/153955 от имени Ansorge et al., озаглавленной “Способ получения линейных олефинов и их применение для синтеза линейных спиртов”. Конкретные методики получения линейных олефинов из этилена описаны в патенте США №3676523 на имя Mason, озаглавленном “Получение альфа-олефинов”; в патенте США №3686351 на имя Mason, озаглавленном “Получение альфа-олефинов”; в патенте США №3737475 на имя Mason, озаглавленном ” Получение альфа-олефинов”, и в патенте США №4020121 на имя Kister et al., озаглавленном “Реакционные системы для олигомеризации.” В большинстве указанных способов получают альфа-олефины. Высшие линейные олефины можно получать в промышленном масштабе, например, хлорированием-дехлорированием парафинов, дегидрированием парафинов или изомеризацией альфа-олефинов.
В одном воплощении исходный поток перерабатывают для получения потока углеводородов, содержащего разветвленные олефины. Разветвленные олефины можно использовать для алкилирования ароматических углеводородов с целью получения разветвленных алкилароматических углеводородов. Исходный поток может содержать парафины в интервале от примерно 50 мас.% до примерно 90 мас.%. В некоторых воплощениях исходный поток может содержать более примерно 90 мас.% парафинов. Исходный поток может содержать также олефины. Содержание олефинов в исходном потоке может составлять от примерно 10 мас.% до примерно 50 мас.%. В других воплощениях исходный поток может более чем на 90 мас.% состоять из олефинов. В состав исходного потока могут входить углеводороды со средним числом атомов углерода от 4 до 30. В одном случае среднее число атомов углерода в углеводородах исходного потока может варьироваться от 4 до 24. В других воплощениях среднее число атомов углерода в исходном потоке может находиться в пределах от 4 до 16, от 7 до 16 или от 10 до 13. Исходный поток может содержать небольшое количество углеводородов с числом атомов углерода больше и/или меньше, чем необходимый интервал чисел атомов углерода. В некоторых воплощениях исходный поток можно получать путем перегонки продуктов технологического процесса, который включает более широкий интервал чисел атомов углерода.
В одном воплощении исходный поток на входе в узел изомеризации содержит моноолефины и/или парафины. Моноолефины могут быть линейного или разветвленного строения. Моноолефины могут содержать концевую (альфа-) или внутреннюю двойную связь. Исходный поток может содержать олефины, на 50% или более состоящие из альфа-олефинов линейного (прямая цепь) строения углеродного каркаса. В некоторых воплощениях, по меньшей мере, примерно 70% олефинов представляют собой альфа-олефины с линейным строением углеродного скелета. Углеводородный поток, в котором более 70% всех олефинов являются альфа-олефинами линейного строения углеродного скелета, можно использовать в некоторых воплощениях для алкилирования ароматических углеводородов. Такой поток можно получить синтезом Фишера-Тропша. В некоторых воплощениях исходный поток состоит из олефинов, среди которых, по меньшей мере, примерно 50% являются внутренними олефинами.
Ароматические соединения (например, ароматические углеводороды) могут включать бензол или замещенный бензол. В одном воплощении алкилзамещенный бензол используют в способе в качестве замещенного бензола. Алкилзамещенные бензолы могут представлять собой моно- и/или полизамещенные низшие алкилбензолы. Алкильный заместитель в алкилзамещенном бензоле может содержать от 1 до 5 атомов углерода, а в некоторых воплощениях – от 1 до 2. Подходящими примерами ароматических соединений являются, но не ограничиваются ими, бензол, толуол, ксилолы, этилбензол и другие моно- и полизамещенные низшие алкилбензолы. В некоторых воплощениях в исходном потоке используют одно ароматическое соединение и/или смесь двух или более ароматических соединений. Ароматические углеводороды можно подавать в реактор непосредственно или смешивать в подходящем нереакционноспособном органическом растворителе перед тем, как вводить в узел алкилирования.
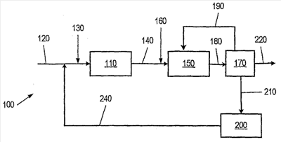
Система 100 на чертеже изображает воплощение способа получения разветвленных алкилароматических углеводородов. Первый поток углеводородов, содержащий олефины и парафины, можно подавать в узел изомеризации 110 по первому трубопроводу 120. Первый поток углеводородов может содержать углеводороды со средним числом атомов углерода от 7 до 16 или в некоторых воплощениях – от 10 до 13. В некоторых воплощениях первый поток углеводородов включает альфа-олефины. В специальных воплощениях первый поток углеводородов представляет собой поток, полученный синтезом Фишера-Тропша. Содержание альфа-олефинов в первом потоке углеводородов может превышать 70% от общего количества олефинов в первом потоке углеводородов. В узле изомеризации 110, по меньшей мере, часть олефинов в первом потоке углеводородов может быть изомеризована в разветвленные олефины, которые образуют второй поток углеводородов.
В некоторых воплощениях узел изомеризации 110 может иметь несколько входов для сбора потоков с разными составами. Эти потоки могут подаваться из других узлов процесса и/или из накопительной емкости. Примеры технологических потоков включают, но не ограничиваются ими, разбавленный поток углеводородов и/или другие потоки углеводородов, содержащие олефины и парафины, полученные в других процессах. Используемое выражение “вход в узел изомеризации” относится к входу технологических потоков в узел изомеризации через один или несколько входов.
Условия изомеризации олефинов в узле изомеризации 110 можно регулировать таким образом, чтобы число атомов углерода в олефинах до и после изомеризации оставалось неизменным. Патент США №5648584 на имя Murray, озаглавленный “Процесс изомеризации линейных олефинов в изоолефины”, и патент США №5648585 на имя Murray et al., озаглавленный “Процесс изомеризации линейных олефинов в изоолефины”, описывают катализаторы и условия скелетной изомеризации линейных олефинов в разветвленные.
В одном воплощении линейные олефины первого потока углеводородов изомеризуются в узле изомеризации 110 при контакте, по меньшей мере, части первого потока углеводородов с цеолитным катализатором. Цеолитный катализатор может иметь, по меньшей мере, один открытый кристаллографический канал диаметром более 4.2 Å и менее примерно 7 Å. Цеолитный катализатор может иметь достаточно большой размер эллиптических пор для проникновения молекул линейного олефина и диффузии, по меньшей мере, частичной, разветвленного олефина. Размер пор в цеолитном катализаторе может быть достаточно малым, чтобы замедлить коксообразование. Используемое здесь выражение “кокс” относится к продукту термического разложения молекулы на более мелкие молекулы.
Температуры, при которых можно проводить изомеризацию олефинов, находятся в интервале от примерно 200°С до примерно 500°С. В некоторых воплощениях температуру в узле изомеризации 110 поддерживают ниже температуры, при которой олефины в значительной степени подвергаются крекингу. Используемое здесь выражение “крекинг” относится к процессу термического разложения молекул на более мелкие молекулы. Чтобы избежать крекинга, надо использовать низкие температуры при низких скоростях подачи сырья. В некоторых воплощениях можно использовать более низкие температуры, когда количество оксигенатов в технологическом потоке мало. Более высокие скорости подачи необходимы для повышения скорости образования продуктов изомеризации. Более высокие скорости подачи сырья можно применять в некоторых воплощениях при работе при более высоких температурах реакции. Однако температуру реакции следует выбирать таким образом, чтобы минимизировать крекинг до более низкокипящих продуктов. Например, при 230°С более 90% линейных олефинов можно превратить в разветвленные олефины при скорости подачи 60 г/ч с минимальным крекингом. Давление, поддерживаемое в узле изомеризации 110, может быть на уровне парциального давления углеводорода в интервале от 0,1 атм (10 кПа) до примерно 20 атм (202 6 кПа). В одном воплощении парциальное давление может быть от выше примерно 0,5 атм (51 кПа) до примерно 10 атм (1013 кПа).
Разветвленные олефины, полученные в узле изомеризации 110, могут включать метильную, этильную и/или разветвленные углеводородные группы с более длинной углеродной цепью. Анализ состава изомеризованных олефинов можно проводить методом ядерного магнитного резонанса на ядрах водорода (1Н ЯМР). Разветвленные олефины могут содержать алифатические четвертичные и/или третичные атомы углерода. В некоторых воплощениях число алифатических четвертичных и/или третичных атомов углерода, полученных в узле изомеризации, может быть минимальным. Анализ олефинов, полученных в узле изомеризации, может указывать на степень изомеризации олефинов в потоке углеводородов.
Присутствие четвертичных атомов углерода может быть установлено методом ЯМР на ядрах углерода (13С ЯМР). Тип боковой группы (например, метильная, этильная, пропильная или более длинные группы) можно определить путем гидрирования смеси олефинов и затем анализом раствора гидрированных олефинов методом 13С ЯМР.
В одном воплощении среднее число боковых групп в расчете на молекулу олефина в составе разветвленных олефинов составляет от примерно 0,1 до примерно 2,5. В других воплощениях среднее число боковых групп на молекулу олефина в составе разветвленных олефинов составляет от примерно 0,7 до примерно 2,5. В специальных воплощениях, когда исходный поток содержит больше 70% линейных олефинов, среднее число боковых групп на молекулу олефина в составе разветвленных олефинов составляет от примерно 0,2 до примерно 1,5. Степень разветвления продукта можно регулировать путем подбора условий процесса в узле изомеризации. Например, высокие температуры реакции и пониженные скорости подачи могут привести к более высокой степени разветвления. Метильные боковые группы могут составлять от примерно 20% до примерно 99% от общего числа боковых групп в молекулах олефинов. В некоторых воплощениях число боковых метильных групп может превышать 50% от общего числа разветвлений в молекулах олефинов. Число этильных боковых групп в молекулах олефинов может составлять в некоторых воплощениях менее 30% от общего числа разветвлений. В других воплощениях число этильных боковых групп может быть равно от примерно 0,1% до примерно 2% от общего числа разветвлений. Другие боковые группы, кроме метильной или этильной, если они присутствуют, могут составлять менее 10% от числа всех боковых групп.
Число алифатических четвертичных и/или третичных атомов углерода в составе разветвленных олефинов может быть менее примерно 2% от общего числа атомов углерода. В одном воплощении число алифатических четвертичных и/или третичных атомов углерода может быть менее примерно 1% от общего числа атомов углерода. В тех случаях, когда важна способность к биоразложению, число алифатических четвертичных атомов углерода может быть менее примерно 0,5% от общего числа атомов углерода. В одном воплощении число алифатических четвертичных и/или третичных атомов углерода может составлять менее примерно 0,3% от общего числа атомов углерода. В других воплощениях число алифатических четвертичных атомов углерода в составе разветвленных олефинов может быть от примерно 0,01% до примерно 0,3% от общего числа алифатических атомов углерода.
В специальных воплощениях для регулирования условий реакции и/или оптимизации концентрации парафинов и непрореагировавших олефинов в узле изомеризации 110 можно использовать дополнительные потоки углеводородов. В одном воплощении, по меньшей мере, часть потока парафиновых углеводородов можно вводить в первый трубопровод 120 через второй трубопровод 130 выше по ходу к узлу изомеризации 110 для создания объединенного потока. Объединенный поток можно подавать в узел изомеризации 110 через первый трубопровод 120. В других воплощениях поток парафиновых углеводородов вводят непосредственно в узел изомеризации 110 через один или несколько входов.
По меньшей мере, часть олефинов в объединенном потоке может изомеризоваться в разветвленные олефины в узле изомеризации 110 с образованием второго потока углеводородов. Для оптимизации концентрации олефинов в узле изомеризации 110 и регулирования степени разветвления полученных олефинов в узел изомеризации 110 можно вводить поток парафиновых углеводородов. Концентрация парафинов в потоке парафиновых углеводородов может находиться в интервале от примерно 10 мас.% до примерно 99 мас.%. Поток парафинов может также содержать другие углеводороды и/или олефины. В специальных воплощениях концентрация парафинов может составлять от примерно 10 мас.% до примерно 50 мас.%. В некоторых воплощениях концентрация парафинов может составлять от примерно 25 мас.% до примерно 7 5 мас.%.
Возвращаясь к системе 100, изображенной на Фиг.1, можно видеть, что узел изомеризации 110 может создать второй поток углеводородов, содержащий олефины и парафины. По меньшей мере, часть второго углеводородного потока содержит разветвленные олефины. Второй поток углеводородов можно отвести из узла изомеризации 110 через третий трубопровод 140 и подавать в узел алкилирования 150.
Алкилирование ароматических углеводородов, по меньшей мере, частью разветвленных олефинов, полученных в узле изомеризации 110, можно проводить в реакторах разных типов. В специальных воплощениях процесс можно осуществлять в периодическом режиме путем добавления в реактор катализатора и ароматических углеводородов, нагревания смеси до температуры реакции и затем добавления к нагретой смеси олефиновых или ароматических углеводородов. Температуру реакции можно регулировать путем циркуляции жидкого теплоносителя в рубашке реактора, охлаждения за счет испарения ароматических углеводородов или использования холодильника. В некоторых воплощениях можно использовать реактор с неподвижным слоем, работающий в восходящих и нисходящих потоках, или реактор с движущимся слоем катализатора, работающий в параллельных потоках углеводородов или в противотоке. Реакторы с неподвижным слоем могут содержать один слой катализатора или несколько слоев и могут быть оснащены устройствами для подачи олефинов и охлаждения. Постоянное удаление отработанного катализатора для регенерации и замену свежим или регенерированным катализатором можно легко осуществлять в реакторе с движущимся слоем. В других воплощениях можно также использовать дистилляционный каталитический реактор.
Каталитические дистилляционные реакторы описаны в патенте США №6291719 на имя Gao et al., озаглавленном “Способы и оборудование для применения бифункциональных катализаторов с упаковкой по типу 2”, и в патенте США №5866736 на имя Chen под заголовком “Способ получения алкилбензолов”.
Узел алкилирования 150 может иметь несколько входов для подачи дополнительных технологических потоков. Используемое здесь выражение “поток, входящий в узел алкилирования” означает поступление технологических потоков в узел алкилирования через один или несколько входов. Примерами таких технологических потоков являются, но не ограничиваются ими, потоки из узла изомеризации 110, разбавленный поток углеводородов и/или другие потоки углеводородов, содержащие олефины и парафины, полученные в других процессах.
В одном воплощении, по меньшей мере, часть олефинов во втором потоке углеводородов, полученном в узле изомеризации 110, контактирует с ароматическими углеводородами (например, бензолом) в узле алкилирования 150 в различных условиях алкилирования. По меньшей мере, часть полученных алкилароматических углеводородов являются моноалкилированными ароматическими углеводородами, содержащими боковую алкильную группу. Можно минимизировать образование других продуктов алкилирования, например диалкилированных и высших алкилированных продуктов, путем подбора условий процесса (например, мольного соотношения реагентов, температуры реакции, типа катализатора и концентрации реагента) в узле алкилирования 150. В некоторых воплощениях узел алкилирования предназначен для получения более примерно 50% или более примерно 85% моноалкилированных ароматических углеводородов.
В одном воплощении парафины и другие нереакционноспособные компоненты второго потока углеводородов действуют как разбавители на стадии алкилирования. Присутствие разбавителя в узле алкилирования 150 помогает регулировать температуру реакции алкилирования. Разбавители в узле алкилирования 150 могут также повышать селективность процесса алкилирования. Повышенная температура в узле алкилирования 150 может приводить к образованию побочных продуктов (например, диалкилированных и высших алкилированных продуктов).
Стехиометрия реакции алкилирования диктует соотношение один моль ароматического углеводорода на моль суммы моноолефинов. Однако при мольном соотношении 1:1 может образоваться смесь олигомеров и/или полимеров олефинов, моноалкилароматических углеводородов, диалкил-, триалкил- и, возможно, высших полиалкилированных ароматических углеводородов и непрореагировавших олефинов. Чем ближе мольное соотношение к 1:1, тем выше вероятность максимально использовать ароматические углеводороды и минимизировать рецикл непрореагировавших ароматических углеводородов или непрореагировавших олефинов. Мольное отношение ароматических углеводородов к общему количеству моноолефинов может оказать влияние как на конверсию, так и на селективность реакции алкилирования. В специальных воплощениях для достижения максимального образования моноалкилированных ароматических углеводородов мольное отношение общего количества ароматических углеводородов к сумме моноолефинов может быть установлено на уровне от примерно 3:1 до примерно 100:1. В некоторых воплощениях отношение ароматических углеводородов к олефинам может быть от примерно 5:1 до примерно 50:1. В других воплощениях отношение ароматических углеводородов к олефинам может быть от примерно 5:1 до примерно 35:1. В специальных воплощениях отношение ароматических углеводородов ко всем олефинам может быть от примерно 8:1 до примерно 30:1.
В некоторых воплощениях мольное отношение ароматических углеводородов к разветвленным олефинам в узле алкилирования равно от примерно 0,1 до примерно 2,0.
В специальных воплощениях для регулирования условий реакции и/или оптимизации концентрации парафинов и непрореагировавших олефинов в узле алкилирования 150 можно использовать дополнительные потоки углеводородов. В специальных воплощениях, по меньшей мере, часть третьего потока углеводородов можно вводить в третий трубопровод 140 через четвертый трубопровод 160 перед входом в узел алкилирования 150 с образованием смешанного потока. Смешанный поток затем можно вводить в узел алкилирования 150 через третий трубопровод 140. По меньшей мере, часть олефинов в смешанном потоке может проалкилировать, по меньшей мере, часть ароматических углеводородов. В некоторых воплощениях третий поток углеводородов можно вводить непосредственно в узел алкилирования 150 через один или несколько входов. Следует обратить внимание, что разбавление технологического потока можно осуществлять введением дополнительного разбавляющего потока только через второй трубопровод 130, только через четвертый трубопровод 160, прямо в узел алкилирования 150 или комбинируя указанные варианты.
Третий поток углеводородов в четвертом трубопроводе 160 можно использовать для оптимизации концентрации олефинов в узле алкилирования 150 с целью получения максимального количества моноалкилированных ароматических углеводородов и разветвленных алкильных групп в продукте. Третий поток углеводородов может быть получен из тех же источников, что и первый поток углеводородов. Или же третий поток углеводородов может быть потоком углеводородов, содержащих олефины, парафины и/или углеводородные растворители, из другого источника. Третий поток углеводородов может быть получен из того же источника, что поток парафиновых углеводородов, вводимый через второй трубопровод 130.
Третий поток углеводородов может содержать олефины и парафины. В некоторых воплощениях среднее число атомов углерода в углеводородах третьего потока углеводородов находится в пределах от 7 до 16. Содержание парафинов в третьем потоке углеводородов может находиться в пределах от примерно 45 мас.% до 99 мас.%. В специальных воплощениях содержание парафинов в третьем потоке углеводородов может быть от примерно 60 мас.% до примерно 90 мас.%. В некоторых воплощениях содержание парафинов может превышать 80 мас.%.
В одном воплощении содержание олефинов в третьем потоке находится в пределах от примерно 1% до примерно 99% от общего содержания углеводородов. В специальных воплощениях содержание олефинов в третьем потоке углеводородов может находиться в пределах от примерно 5% до примерно 15% от общего содержания углеводородов. В других воплощениях концентрация олефинов в третьем потоке углеводородов может быть больше 80 мас.%.
В некоторых воплощениях третий поток углеводородов может содержать линейные олефины. Добавление потока, содержащего линейные олефины, вниз по потоку из узла изомеризации позволяет создать поток для алкилирования, содержащий смесь линейных и разветвленных олефинов. При введении потока, содержащего линейные и разветвленные олефины, в узел алкилирования 150 можно получить смесь разветвленных и линейных алкилароматических углеводородов. Варьируя количество линейных олефинов, добавляемых к исходному потоку для алкилирования, можно регулировать соотношение линейных и разветвленных алкилароматических продуктов. Смесь разветвленных и линейных алкилароматических углеводородов может в дальнейшем улучшить свойства алкилароматических поверхностно-активных веществ. Примеры таких улучшенных свойств включают, но не ограничиваются ими, слабое раздражение кожи и глаз, способность к пенообразованию, способность к биоразложению, растворимость в холодной воде и моющая способность в холодной воде. Эти поверхностно-активные вещества применяются, и не только здесь, в средствах личной гигиены, в домашних и промышленных прачечных, в посудомоечных машинах, в смазках для машин и в составе смазочных масел.
В одном воплощении условия для алкилирования ароматических углеводородов в узле алкилирования 150 могут включать применение катализатора типа катализатора Фриделя-Крафтса. Катализатор Фриделя-Крафтса может представлять собой кислотное неорганическое вещество. Примерами кислотных неорганических веществ являются, но не ограничивают их круг, минеральные кислоты, например серная кислота, содержащая менее 10% воды, фтористоводородная кислота, содержащая менее 10% воды, жидкий безводный фтористый водород и/или другие неорганические вещества, используемые в комбинации с фтористоводородной кислотой. Другие неорганические вещества могут включать, но не ограничиваться ими, льюисовские кислоты типа безводного хлорида алюминия, безводного бромида алюминия и трифторида бора.
В специальных воплощениях катализатор алкилирования может представлять собой молекулярные сита, например, ITQ-21 в кислой форме. Синтез и структуры катализаторов на основе молекулярных сит описаны Corma et al. в работе “Широкополостный цеолит с широкими окнами пор и его потенциал в качестве катализатора нефтепереработки,” Nature, 2002, 418:514.
В специальных воплощениях катализатор, используемый в узле алкилирования 150, основан на цеолитном катализаторе, который может быть немодифицированным или модифицированым металлами или соединениями металлов. Цеолитный катализатор может содержать, по меньшей мере, один канал с диаметром свободного кристаллографического канала в интервале от более примерно 4 Å до менее чем примерно 9 Å; при этом имеется в виду, что, когда поры имеют эллиптическую форму, то следует рассматривать больший размер поры. В одном воплощении размеры пор могут колебаться от примерно 5,5 Å до примерно 7 Å. Более подробное описание катализатора можно найти в патентной заявке США, порядковый № 10/075318, озаглавленной “Способ получения арилсульфонатов с разветвленными алкильными группами и композиций арилсульфонатов с разветвленными алкильными группами”, в патенте США № 6111158 на имя Marinangeli et al., озаглавленном “Способ получения арилалканов в условиях алкилирования с использованием цеолита со структурой NES”, и патенте США № 5041402 на имя Schoennagel et al., озаглавленном “Термически стабильные цеолитные катализаторы, содержащие благородные металлы”.
В узле алкилирования 150, по меньшей мере, часть олефинов во втором потоке углеводородов и, по меньшей мере, часть ароматических углеводородов могут прореагировать в условиях алкилирования в присутствии катализатора алкилирования. Температуры реакции алкилирования могут находиться в пределах от выше примерно 30°C до ниже примерно 300°C. В специальных воплощениях температуры реакции могут быть выше, чем примерно 100°C, и ниже, чем примерно 250°C. Реакцию алкилирования можно проводить, по меньшей мере, в частично жидкой фазе, целиком в жидкой фазе или в сверхкритических условиях. В специальных воплощениях давление в узле алкилирования достаточно для поддержания реагентов в жидкой фазе. Давления, используемые в узле алкилирования 150, могут зависеть от природы олефина, природы ароматического соединения и/или температуры реакции. Давление в узле алкилирования 150 может находиться в пределах от примерно 3 атм до примерно 70 атм (304 кПа-7095 кПа). В специальных воплощениях давление может быть в пределах от примерно 20 атм до примерно 35 атм (2025-3545 кПа).
В узле алкилирования 150 можно поддерживать такие условия реакции, чтобы минимизировать скелетную изомеризацию разветвленных олефинов. Условия алкилирования можно также поддерживать так, чтобы получать алкилароматические углеводороды с алкильной группой, соответствующей разветвлению олефинов, полученных в узле изомеризации 110. Используемое здесь выражение “скелетная изомеризация в ходе алкилирования” относится к изомеризации во время алкилирования, которая изменяет разветвление олефинов или алкилароматических продуктов. Соответственно, условия алкилирования выбирают таким образом, чтобы в ходе реакции алкилирования число четвертичных алифатических атомов углерода в олефине и в образовавшемся алкилароматическом углеводороде оставалось неизменным.
В целом класс разветвленных алкилароматических соединений, полученных в узле алкилирования 150, можно охарактеризовать химической формулой R-Y, в которой Y представляет собой ароматический гидрокарбильный радикал (например, фенильный радикал), а R представляет собой радикал, образовавшийся из олефина, полученного в узле изомеризации 110. Олефин может содержать от 7 до 16 атомов углерода. В специальных воплощениях число атомов углерода в олефине может находиться в пределах от 10 до 16. В других воплощениях число атомов углерода в олефине может быть в пределах от 10 до 13. R может представлять собой разветвленный алкильный радикал. Боковые группы в разветвленном алкильном радикале могут включать, но не ограничиваются ими, метильную, этильную и/или более длинные углеводородные цепи. Среднее число разветвлений в расчете на алкильную молекулу в составе смеси алкилов может быть равно числу разветвлений в олефинах, полученных в узле изомеризации 110 (например, от 0,1 до 2,0).
Смешанный поток для реакции алкилирования может входить в сепаратор 170 через пятый трубопровод 180. В сепараторе 170 можно получить, по меньшей мере, два потока – поток непрореагировавших углеводородов и поток алкилароматических углеводородов. Выделение, по меньшей мере, части непрореагировавших углеводородов из полученных разветвленных алкилароматических углеводородов можно проводить способами, известными специалистам (например, перегонкой, разделением твердой/жидкой фаз, адсорбцией, экстракцией растворителями и т.д.).
В специальных воплощениях, по меньшей мере, часть потока реакции алкилирования, полученного в узле алкилирования 150, может проходить через сепаратор, содержащий твердую и жидкую фазы (например, фильтр или центрифугу) для удаления твердого катализатора и получения потока алкилирования, не содержащего катализатора. Далее, по меньшей мере, часть потока алкилирования без катализатора можно пропустить через одну или несколько дистилляционных колонн для получения потока алкилароматических углеводородов, потока ароматических углеводородов и потока непрореагировавших олефинов или их комбинации. В специальных воплощениях, по меньшей мере, часть потока ароматических углеводородов и, по меньшей мере, часть потоков парафинов и непрореагировавших олефинов можно объединить в один поток и затем разделить методом дистилляции на поток ароматических углеводородов и поток парафинов и непрореагировавших олефинов. По меньшей мере, часть отделенного потока ароматических углеводородов можно вернуть в узел алкилирования 150 через шестой трубопровод 190. По меньшей мере, часть выделенных парафинов и непрореагировавших олефинов можно направить в узел дегидрирования 200 через седьмой трубопровод 210. В других воплощениях, по меньшей мере, часть потока парафинов и непрореагировавших олефинов после их отделения от смеси реакции алкилирования можно направить в другие узлы переработки и/или в накопительную емкость.
В отдельных воплощениях среднее число атомов углерода в углеводородном потоке парафинов и непрореагировавших олефинов может быть в пределах от 7 до 16. В некоторых воплощениях среднее число атомов углерода в потоке парафинов и непрореагировавших олефинов может колебаться от 10 до 16. В других воплощениях среднее число атомов углерода в углеводородном потоке парафинов и непрореагировавших олефинов может быть в пределах от 10 до 13.
В отдельных воплощениях поток алкилароматических углеводородов может содержать нежелательные продукты с более высокой молекулярной массой. По меньшей мере, часть потока алкилароматических углеводородов можно пропустить через дистилляционную колонну для отделения полученных алкилароматических углеводородов от более тяжелых побочных продуктов и еще лучше очистить поток алкилароматических углеводородов. По меньшей мере, часть очищенного потока алкилароматических углеводородов можно подать через восьмой трубопровод 220 для хранения на месте, реализации на продажу, транспортировки и/или использования в других узлах переработки.
Возвращаясь к системе 100, приведенной на Фиг.1, можно видеть, что, по меньшей мере, часть потока парафинов и непрореагировавших олефинов можно ввести в узел дегидрирования 200 через седьмой трубопровод 210. По меньшей мере, часть непрореагировавших парафинов в потоке углеводородов можно дегидрировать с образованием потока олефиновых углеводородов с помощью катализатора, выбранного из широкого набора катализаторов разных типов. Например, катализатор может представлять собой металл или соединение металла, нанесенные на пористый носитель. Металл или соединение металла выбирают, но не ограничиваются ими, из оксида хрома, оксида железа и благородных металлов. Используемое здесь выражение “благородные металлы” относится к металлам группы, состоящей из платины, палладия, иридия, рутения, осмия и родия.
Способы приготовления катализаторов для стадии дегидрирования и проведения стадий разделения известны специалистам в данной области. Например, подходящие методики приготовления катализаторов и проведения стадии дегидрирования описаны в патенте США № 5012021 на имя Vora et al., озаглавленном “Способ получения алкилароматических углеводородов с применением твердых катализаторов”; в патенте США № 3274287 на имя Moore et al., озаглавленном “Способ и катализатор конверсии углеводородов”; в патенте США № 3315007 на имя Abell et al., озаглавленном “Дегидрирование насыщенных углеводородов в присутствии катализаторов на основе благородных металлов”; в патенте США № 3315008 на имя Abell et al., озаглавленном “Дегидрирование насыщенных углеводородов в присутствии катализаторов на основе благородных металлов”; в патенте США № 3745112 на имя Rausch, озаглавленном “Равномерно диспергированный катализатор платина-олово для конверсии углеводородов и способ”; в патенте США № 4506032 на имя Imai et al., озаглавленном “Состав катализатора дегидрирования” и в патенте США № 4430517 на имя Imai et al., озаглавленном “Способ дегидрирования с использованием каталитической композиции”.
Условия реакции в узле дегидрирования 200 можно варьировать с целью регулирования образования нежелательных побочных продуктов (например, кокса, диенов, олигомеров, циклических углеводородов) и положения двойной связи в молекуле олефина. В специальных воплощениях температуры могут быть в пределах выше от примерно 300°C до ниже примерно 700°C. В других воплощениях температура реакции может быть в пределах от примерно 450°C до примерно 550°C. В ходе дегидрирования давление в узле дегидрирования 200 может быть в пределах от выше, чем 1,0 атм (101 кПа), до ниже, чем 15 атм (1520 кПа). В специальных воплощениях давление в узле дегидрирования 200 может быть в пределах от примерно 1,0 атм (101 кПа) до примерно 5 атм (510 кПа). Для предотвращения коксообразования можно подавать в узел дегидрирования 200 водород вместе с потоком парафинов и непрореагировавших олефинов. Мольное отношение водорода к парафинам можно устанавливать от примерно 0,1 моля водорода до примерно 20 молей на моль парафинов. В некоторых воплощениях мольное отношение водорода к парафину составляет от примерно 1 до 10.
Время (например, время пребывания в зоне реакции), которое технологический поток проводит в узле дегидрирования 200, может до некоторой степени определять количество образующихся олефинов. В целом, чем дольше технологический поток находится в узле дегидрирования 200, тем больше увеличивается степень превращения парафинов в олефины вплоть до достижения термодинамического равновесия олефин-парафин. Время пребывания потока парафинов и непрореагировавших олефинов в узле дегидрирования 200 можно выбирать таким образом, чтобы степень превращения парафинов в олефины поддерживать на уровне ниже 50 мол.%. В специальных воплощениях степень превращения парафинов в олефины можно поддерживать в интервале от примерно 5 до 30 мол.%. Поддерживая степень превращения на низком уровне, можно ингибировать побочные реакции (например, образование диенов и реакции циклизации).
В узел дегидрирования 200 можно ввести, по меньшей мере, часть потока парафинов и непрореагировавших олефинов из разделительного узла 170 и получить поток олефиновых углеводородов. Поток олефиновых углеводородов может содержать парафины. Концентрация олефинов в потоке олефиновых углеводородов может составлять от 5 до 50 мас.%. В конкретных воплощениях концентрация олефинов может составлять от 10 до 20 мас.%. Олефины, получаемые в узле дегидрирования 200, могут быть преимущественно линейными. Среднее число атомов углерода в углеводородах потока олефинов может составлять от 7 до 16. В конкретных воплощениях среднее число атомов углерода в углеводородах потока олефинов может составлять от 10 до 16. В других воплощениях среднее число атомов углерода в углеводородах потока олефинов может составлять от 10 до 13.
В конкретных воплощениях, по меньшей мере, часть неизмененных парафинов можно отделить от потока олефинов, и, при желании, неизмененные парафины можно вернуть в узел дегидрирования 200 для дальнейшего дегидрирования. Такое разделение можно осуществить методами экстракции, дистилляции или адсорбции.
Возвращаясь к системе 100, приведенной на чертеже, можно видеть, что поток олефиновых углеводородов можно объединить с первым потоком углеводородов в первом трубопроводе 120 через девятый трубопровод 240. Объединенный поток можно подать в узел изомеризации 110, и, по меньшей мере, часть олефинов, присутствующих в объединенном потоке, можно изомеризовать в разветвленные олефины. В некоторых воплощениях поток олефиновых углеводородов можно отбирать из узла дегидрирования 200 и направлять прямо в узел изомеризации 110 через один или несколько входов.
Полученный поток алкилароматических углеводородов можно ввести в реакцию сульфонирования в узле сульфонирования с образованием алкилароматических сульфонатов. В специальных воплощениях алкилароматические углеводороды могут содержать разветвленные алкильные группы. Сульфонирование, по меньшей мере, части ароматических углеводородов в потоке полученных алкилароматических углеводородов можно осуществлять любым способом, известным специалистам. Примеры таких способов включают сульфонирование с помощью серной кислоты, хлорсульфоновой кислоты, олеума или триоксида серы. Подробности способа сульфонирования с помощью смеси воздух/триоксид серы описаны в патенте США № 3427342 на имя Brooks et al., озаглавленном “Способ непрерывного сульфонирования”. В одном воплощении мольное отношение триоксида серы к алкилароматическому продукту, который подвергается сульфонированию, равно 1,03.
После завершения реакции сульфонирования реакционную смесь можно выдержать примерно тридцать минут и затем гидролизовать с помощью примерно 1% воды. Полученную кислую смесь можно нейтрализовать основанием с образованием соли сульфоната алкилароматического углеводорода с разветвленной алкилароматической группой. Подходящими основаниями для нейтрализации могут быть гидроксиды щелочных и щелочноземельных металлов и гидроксиды аммония, которые вносят в соль катион М, как описано в тексте.
В целом класс сульфонатов алкилароматических углеводородов с разветвленной алкильной группой можно описать химической формулой (R-A’-SO3)nM. Группа R может представлять собой радикал, полученный из разветвленных олефинов, со средним числом атомов углерода от 4 до 16. В одном воплощении среднее число атомов средства общего назначения, жидкие мыла, шампуни и жидкие чистящие средства.
Примеры
Пример 1. Изомеризация олефинов в потоках углеводородов, полученных синтезом Фишера-Тропша. Монооксид углерода и водород вводили в синтез Фишера-Тропша с образованием смеси углеводородов, содержащей линейные парафины, линейные олефины, небольшое количество диенов и небольшое количество оксигенатов. Поток углеводородов из синтеза Фишера-Тропша разделяли на различные потоки углеводородов методом фракционной перегонки. Получали поток углеводородов, содержащих олефины и парафины со средним числом атомов углерода от 8 до 10. Состав полученного потока углеводородов С8-С10, приведенный в таблице 1, был определен методом газовой хроматографии.
| |
Таблица 1 |
| Состав потока углеводородов после синтеза Фишера-Тропша |
мас.% |
| С7 и более легкие углеводороды |
0,12 |
| C8 – разветвленные олефины |
0,02 |
| С8 – линейные олефины |
0,75 |
| В том числе, 1-октен |
0,69 |
| н-Октан |
2,21 |
| С9 – разветвленные олефины |
0,16 |
| С9 – линейные олефины |
8,52 |
| В том числе, 1-нонен |
8,07 |
| н-Нонан |
20,03 |
| С10 – разветвленные олефины |
0,28 |
С10 – линейные олефины В том числе, 1-децен |
22,92 20,87 |
| н-Декан |
41,12 |
| С11 и более тяжелые углеводороды |
0,21 |
| C9-С11 – спирты |
3,56 |
Цеолитный катализатор, использованный для изомеризации линейных олефинов в потоке углеводородов, готовили следующим образом. Аммоний-ферьерит (645 г), теряющий 5,4% веса при прокаливании и обладающий следующими свойствами: мольное отношение оксида кремния к оксиду алюминия 62:1, величина поверхности 369 м2/г (Р/Ро=0,03), содержание соды 480 ч/млн и сорбционная емкость по н-гексану 7,3 г на 100 г аммоний-ферьерита, помещали в мельничную дробилку Lancaster. Добавляли оксид алюминия CATAPAL® D (91 г), теряющий 25,7% веса при прокаливании. Во время пятиминутного дробления к смеси оксид алюминия/аммоний-ферьерит добавляли 152 мл деионизированной воды. Затем к смеси оксид алюминия/аммоний-ферьерит в дробилке медленно добавляли смесь 6,8 г ледяной уксусной кислоты, 7,0 г лимонной кислоты и 153 мл деионизированной воды для пептизации оксида алюминия. Полученную смесь оксид алюминия/аммоний-ферьерит /кислота размалывали в течение 10 мин. Через 15 мин к размолотой смеси оксид алюминия/аммоний-ферьерит/кислота медленно добавляли смесь 0,20 г тетрамминпалладийнитрата в 153 г деионизированной воды. В полученной смеси отношение цеолита к оксиду алюминия составляло 90:10, и при прокаливании смесь теряла 43,5% веса. Смесь цеолит/оксид алюминия формовали экструзией смеси через матричный диск из нержавеющей стали (отверстия 1/16″) 2,25-дюймового экструдера Bonnot.
Влажный экструдат цеолита/оксида алюминия сушили при 125°С в течение 16 ч. После сушки экструдат цеолита/оксида алюминия разламывали вручную. Экструдат цеолита/оксида алюминия прокаливали в токе воздуха при 200°С в течение 2 ч. Температуру поднимали до максимальной температуры 500°С, экструдат цеолита/оксида алюминия прокаливали еще два часа и получали катализатор изомеризации. Катализатор изомеризации охлаждали в эксикаторе в атмосфере азота.
В качестве реактора изомеризации использовали трубку из нержавеющей стали с наружным диаметром 1″, внутренним диаметром 0,6″ и длиной 26 дюймов. Для загрузки реакторной трубки ее переворачивали, вводили поверх кармана для термопары кусок стекловаты, перемещая его вдоль стенки трубки, и помещали его на дне реактора в качестве заглушки. Карбид кремния (20 меш) помещали в реакторную трубку на глубину примерно 6 дюймов. Второй кусок стекловаты помещали сверху карбида кремния. Смесь 6,0 г частиц катализатора изомеризации (6-20 меш) и 45 г свежего карбида кремния (60-80 меш) вводили в реакторную трубку двумя порциями. При этом катализатор изомеризации равномерно распределялся в трубке реактора, образуя слой длиной примерно 10 дюймов. Вверху реакторной трубки помещали третий кусок стекловаты. Поверх третьего куска стекловаты насыпали карбид кремния (20 меш). В качестве заглушки на дне реакторной трубки использовали четвертый кусок стекловаты поверх слоя карбида кремния. Для контроля температуры реакции в различных участках реакторной трубки в карман для термопары вводили многоточечную термопару. За температурой следили в верхней и нижней точках и еще в трех различных точках слоя катализатора. Реакторную трубку переворачивали и помещали в электрическую печь. Реактор нагревали до рабочей температуры 280°С в течение четырех часов в токе азота. По достижении температуры 280°С реакторную трубку выдерживали при рабочей температуре еще два часа для кондиционирования катализатора изомеризации.
После кондиционирования катализатора изомеризации поток углеводородов пропускали через реакторную трубку со скоростью 60 г/ч. Одновременно с потоком углеводородов через катализатор изомеризации пропускали ток азота со скоростью 6 л/ч. Поток углеводородов перед контактом с катализатором изомеризации получали испарением. Реакторная трубка работала при избыточном давлении на выходе 20 кПа.
В таблице 2 приведены массовые проценты разветвленных олефинов C8-C10, линейных олефинов С8-С10 и парафинов С8-С10 в потоке углеводородов в начальный момент (0 ч) и на выходе из трубки реактора через 24 и 48 ч изомеризации. Более 90% линейных олефинов в потоке углеводородов превратились в реакторе изомеризации в разветвленные олефины. Во время изомеризации в результате побочных реакций крекинга образовалось небольшое количество вещества, кипящего ниже, чем углеводороды С8. Кроме того, часть спиртов С9-С11, присутствующих в исходном потоке, подверглась дегидратации с образованием дополнительного количества олефинов. По данным 1Н ЯМР среднее число боковых алкильных групп в полученных олефинах С8-С10 составляло 1,0.
| Таблица 2 |
| Состав потока углеводородов Фишера-Тропша в ходе изомеризации |
0 ч мас.% |
24 ч мас.% |
48 ч мас.% |
| Разветвленные олефины С8-С10 |
0,46 |
33,04 |
33,16 |
| Линейные олефины С8-С10 |
32,19 |
2,52 |
2,54 |
| Парафины С8-С10 |
63,19 |
63,32 |
63,27 |
| Другие соединения (С7– и С11+) |
4,06 |
1,12 |
1,03 |
| Отношение разветвленных олефинов С8-С10 к линейным олефинам |
0,1 |
13,1 |
13,1 |
Пример 2. Изомеризация 1-додецена. 1-Додецен был получен от Shell Chemical Со. Состав 1-додецена по данным газовой хроматографии приведен в таблице 3.
| Таблица 3 |
| Состав 1-додецена |
мас.% |
| 1-Додецен |
98,0 |
| Другие олефины C10-C14 |
1,2 |
| Углеводороды<С10 |
0,2 |
| Углеводороды>C14 |
0,2 |
| Парафины |
0,4 |
| Всего углеводородов С10-С14 |
99, 6 |
1-Додецен изомеризовали в таком же реакторе и на том же катализаторе изомеризации, которые описаны в Примере 1. Поток 1-додецена пропускали через трубку реактора со скоростью 90 г/ч. Одновременно с потоком 1-додецена через катализатор изомеризации пропускали азот со скоростью 6 л/ч. Поток 1-додецена получали испарением перед контактом с катализатором изомеризации. Трубка реактора работала при избыточном давлении на выходе 20 кПа и температуре 290°С.
В таблице 4 приведены массовые проценты углеводородов в 1-додецене с числом атомов углерода менее С10, с числом атомов углерода от С10 до С14 и более С14 в начальный момент времени (0 ч) и на выходе из трубки реактора через 168 и 849 ч. Через 168 ч реакции линейные олефины на 94% превратились в разветвленные олефины С10-С14. За счет побочных реакций крекинга во время изомеризации образовалось менее 3 мас.% вещества, кипящего ниже, чем углеводороды С10. Среднее число алкильных боковых групп в олефинах С10-С14 составляло 1,3 по данным 1Н ЯМР.
| Таблица 4 |
| Состав потока 1-додецена во время изомеризации |
0 ч мас.% |
168 ч мас.% |
849 ч мас.% |
| Углеводороды<С10 |
0,2 |
2,5 |
2,4 |
| Углеводороды C10-C14 |
99, б |
97,2 |
97, 4 |
| Углеводороды>С14 |
0,2 |
0,3 |
0,2 |
| Всего: |
100% |
100% |
100% |
| Разветвленные олефины С10-С14 |
0, б |
93,2 |
93, 4 |
| Линейные олефины С10-С14 |
99, 0 |
2,8 |
2,9 |
| Парафины |
1,0 |
2,0 |
1,9 |
Дальнейшие модификации и альтернативные воплощения различных аспектов изобретения очевидны для специалистов в данной области из приведенного описания. Соответственно, это описание служит только для иллюстрации и для обучения специалистов основам осуществления изобретения. Следует отметить, что приведенные и описанные формы изобретения можно принять как предпочтительные воплощения на данный момент. Элементы и вещества могут быть заменены на такие, которые были приведены в качестве иллюстраций и описаны здесь, части и процессы можно менять местами, и специальные особенности изобретения можно применять независимо, как это очевидно специалистам после ознакомления с описанием изобретения. Можно вносить изменения в описанные элементы, не отклоняясь от духа и объема изобретения, как описано в приведенной формуле. Кроме того, следует понимать, что в некоторых воплощениях детали, приведенные как независимые, можно комбинировать.
Формула изобретения
1. Способ получения алкилароматических углеводородов, включающий:
введение первого потока углеводородов, содержащего олефины и парафины, в узел изомеризации, причем узел изомеризации предназначен для изомеризации, по меньшей мере, части линейных олефинов первого потока углеводородов в разветвленные олефины, и при этом, по меньшей мере, часть непрореагировавших компонентов первого потока углеводородов и, по меньшей мере, часть полученных разветвленных олефинов образует второй поток углеводородов;
введение, по меньшей мере, части второго потока углеводородов и ароматических углеводородов в узел алкилирования, причем узел алкилирования предназначен для алкилирования, по меньшей мере, части ароматических углеводородов, по меньшей мере, частью олефинов во втором потоке углеводородов с образованием алкилароматических углеводородов, где, по меньшей мере, часть полученных алкилароматических углеводородов содержит разветвленные алкильные группы, и где, по меньшей мере, часть непрореагировавших компонентов второго потока углеводородов, по меньшей мере, часть ароматических углеводородов и, по меньшей мере, часть полученных алкилароматических углеводородов образуют поток реакции алкилирования;
отделение алкилароматических углеводородов от потока реакции алкилирования с образованием потока непрореагировавших углеводородов и потока алкилароматических углеводородов, где поток непрореагировавших углеводородов содержит, по меньшей мере, часть непрореагировавших компонентов второго потока углеводородов и ароматических углеводородов;
отделение, по меньшей мере, части парафинов и, по меньшей мере, части олефинов от потока непрореагировавших углеводородов с образованием потока ароматических углеводородов и потока парафинов и непрореагировавших олефинов; и
введение, по меньшей мере, части потока парафинов и непрореагировавших олефинов в узел дегидрирования, причем узел дегидрирования предназначен для дегидрирования, по меньшей мере, части парафинов в потоке парафинов и непрореагировавших олефинов с образованием олефинов, и где, по меньшей мере, часть полученных олефинов отбирают из узла дегидрирования с образованием потока олефиновых углеводородов; и
введение, по меньшей мере, части потока олефиновых углеводородов в узел изомеризации.
2. Способ по п.1, в котором первый поток углеводородов содержит олефины и парафины с числом атомов углерода от 10 до 13 или числом атомов углерода от 10 до 16.
3. Способ по п.1, в котором узел изомеризации работает при температуре реакции от примерно 200°С до примерно 500°С.
4. Способ по п.1, в котором узел изомеризации работает при давлении реакции от примерно 0,1 атм до примерно 10 атм.
5. Способ по п.1, в котором, по меньшей мере, часть разветвленных олефинов содержит метильную и этильную боковые группы.
6. Способ по п.1, в котором часть разветвленных олефинов содержит среднее число боковых групп на все молекулы олефинов, равное, по меньшей мере, 0,7, от примерно 0,7 до примерно 1,5, от примерно 0,7 до примерно 2,0, от примерно 1,0 до примерно 1,5 или меньше 2,5.
7. Способ по п.1, в котором боковые группы в разветвленных олефинах более чем на 50%, являются метальными группами, менее чем на 10% – этильными группами или менее чем на 5%, не являются ни метальными, ни этильными группами.
8. Способ по п.1, в котором разветвленные олефины содержат менее примерно 0,5% алифатических четвертичных атомов углерода или менее 0,3% алифатических четвертичных атомов углерода.
9. Способ по п.1, в котором узел алкилирования предназначен для получения более примерно 50% или более примерно 85% моноалкилированных ароматических углеводородов.
10. Способ по п.1, в котором мольное отношение ароматических углеводородов к разветвленным олефинам в узле алкилирования равно от примерно 0,1 до примерно 2,0.
11. Способ по п.1, в котором узел алкилирования работает при температуре реакции от примерно 30°С и до примерно 300°С.
12. Способ по п.1, в котором ароматические углеводороды содержат бензол.
13. Способ по п.1, в котором ароматические углеводороды содержат алкилбензолы.
14. Способ по п.1, дополнительно включающий регулирование отношения олефинов к парафинам, вводимым в узел изомеризации, путем добавления, по меньшей мере, части потока парафиновых углеводородов в узел изомеризации; или путем объединения потока парафиновых углеводородов, по меньшей мере, с частью первого потока углеводородов перед узлом изомеризации с образованием объединенного потока и введения объединенного потока в узел изомеризации.
15. Способ по п.1, дополнительно включающий регулирование отношения олефинов к парафинам, вводимым в узел алкилирования, путем добавления, по меньшей мере, части третьего потока углеводородов в узел алкилирования; или путем добавления, по меньшей мере, части третьего потока углеводородов в узел алкилирования, причем третий поток углеводородов содержит более примерно 90 мас.% парафинов.
16. Способ по п.1, дополнительно включающий: регулирование соотношения олефинов и парафинов, вводимых в узел алкилирования, путем объединения, по меньшей мере, части третьего потока углеводородов с, по меньшей мере, частью второго потока углеводородов перед узлом алкилирования с образованием объединенного потока; объединения, по меньшей мере, части третьего потока углеводородов с, по меньшей мере, частью второго потока углеводородов перед узлом алкилирования, с образованием объединенного потока, причем третий поток углеводородов содержит более примерно 80, более примерно 90 или от 85 до 95 мас.% парафинов; объединения, по меньшей мере, части третьего потока углеводорода с, по меньшей мере, частью второго потока углеводородов перед узлом алкилирования с образованием объединенного потока, причем третий поток углеводородов содержит парафины и олефины с числом атомов углерода от 10 до 16; объединения, по меньшей мере, части третьего потока углеводорода с, по меньшей мере, частью второго потока углеводородов перед узлом алкилирования с образованием объединенного потока, причем третий поток углеводородов содержит линейные олефины; объединения, по меньшей мере, части третьего потока углеводорода с, по меньшей мере, частью второго потока углеводородов перед узлом алкилирования с образованием объединенного потока, причем, по меньшей мере, часть второго потока углеводородов содержит разветвленные олефины; объединения, по меньшей мере, части третьего потока углеводорода с, по меньшей мере, частью второго потока углеводородов перед узлом алкилирования с образованием объединенного потока, причем, по меньшей мере, часть третьего потока углеводородов содержит линейные олефины и, по меньшей мере, часть второго потока углеводородов содержит разветвленные олефины; и
введение объединенного потока в узел алкилирования.
17. Способ по п.1, дополнительно включающий: регулирование отношения олефинов к парафинам, вводимым в узел изомеризации, путем объединения, по меньшей мере, части потока парафиновых углеводородов с, по меньшей мере, частью первого потока углеводородов перед узлом изомеризации с образованием объединенного потока;
введение объединенного потока в узел изомеризации;
регулирование отношения олефинов к парафинам, вводимым в узел алкилирования, путем объединения, по меньшей мере, части третьего потока углеводородов с, по меньшей мере, частью второго потока углеводородов перед узлом алкилирования с образованием объединенного потока; и
введение объединенного потока в узел алкилирования.
18. Способ по п.1, в котором узел дегидрирования работает при температуре от примерно 300°С до примерно 700°С.
19. Способ по п.1, в котором узел дегидрирования работает при давлении от примерно 1,0 атм до примерно 15 атм.
20. Способ по п.1, в котором время пребывания, по меньшей мере, части потока непрореагировавших углеводородов в узле дегидрирования таково, что степень превращения парафинов в потоке непрореагировавших углеводородов в олефины составляет меньше примерно 50 мол.%.
21. Способ по п.1, в котором введение потока олефиновых углеводородов в узел изомеризации включает объединение, по меньшей мере, части потока олефиновых углеводородов с, по меньшей мере, частью первого потока углеводородов с образованием объединенного потока перед узлом изомеризации и введение, по меньшей мере, части объединенного потока в узел изомеризации.
22. Способ по п.1, включающий также отделение непревращенных парафинов от потока олефинов и введение, по меньшей мере, части непревращенных парафинов, выделенных из потока олефинов, в узел дегидрирования.
23. Способ по любому из пп.1-22, в котором первый поток углеводородов получают олигомеризацией олефинов или синтезом Фишера-Тропша.
РИСУНКИ
MM4A – Досрочное прекращение действия патента СССР или патента Российской Федерации на изобретение из-за неуплаты в установленный срок пошлины за поддержание патента в силе
Дата прекращения действия патента: 04.02.2009
Извещение опубликовано: 27.07.2010 БИ: 21/2010
|
|