|
|
(21), (22) Заявка: 2006133533/15, 16.02.2005
(24) Дата начала отсчета срока действия патента:
16.02.2005
(30) Конвенционный приоритет:
20.02.2004 HU P0400453
(43) Дата публикации заявки: 27.03.2008
(46) Опубликовано: 20.03.2009
(56) Список документов, цитированных в отчете о поиске:
US 6190554 B1, 20.02.2001. SU 1036689 A, 23.08.1983. RU 39596 U1, 10.08.2004. US 6398957 B1, 04.06.2002. EP 1099668 A1, 16.05.2001. DE 19816076 A1, 15.10.1998.
(85) Дата перевода заявки PCT на национальную фазу:
20.09.2006
(86) Заявка PCT:
HU 2005/000013 (16.02.2005)
(87) Публикация PCT:
WO 2005/080277 (01.09.2005)
Адрес для переписки:
129010, Москва, ул. Б.Спасская, 25, стр.3, ООО “Юридическая фирма Городисский и Партнеры”, пат.пов. С.А.Дорофееву
|
(72) Автор(ы):
ЦЕПЕК Дьюла (HU), ТАКАЧ Золтан (HU), КЕНЬЕРЕШ Иштван (HU)
(73) Патентообладатель(и):
ОРГАНИКА КЕРНЬЕЗЕТТЕКНОЛОГИАК Зрт. (HU)
|
(54) ОБОРУДОВАНИЕ ДЛЯ ОЧИСТКИ СТОЧНОЙ ВОДЫ БИОЛОГИЧЕСКИ АКТИВИРОВАННЫМ ИЛОМ И СПОСОБ ЕГО ЭКСПЛУАТАЦИИ
(57) Реферат:
Изобретение может быть использовано для очистки муниципальных и/или сточных вод пищевой промышленности от органических загрязнений. Оборудование содержит отделенные стенкой 12 основной реактор I и предшествующий реактор II, средства для подачи неочищенных сточных вод, удаления очищенной воды и ила и аэрации сточной воды. В предшествующем реакторе II расположен смеситель 2. Между основным реактором I и предшествующим реактором II находится приспособление для рециркуляции сточной воды, содержащее U-образный участок трубы 15 с рукавами 16а и 16b, нижние концы которых соединены трубой, проходящей через стенку 12. Верхние концы рукавов 16а и 16b расположены на высоте, соответствующей минимальному уровню воды. Воздуховод, выполняющий функцию эрлифта, соединен с рукавом 16b. В верхней части стенки 12 на максимальном уровне воды предшествующего реактора II расположено переливное отверстие 8, обеспечивающее рециркуляцию. Изобретение позволяет гибко подстраиваться под изменения гидравлической нагрузки, обеспечивает надежность и эффективность удаления азота и фосфора при периодическом режиме в условиях низкого объемного расхода. 2 н. и 7 з.п. ф-лы, 8 ил.
Настоящее изобретение касается оборудования для очистки биологически активированным илом сточных вод, содержащих органические загрязнители, в особенности муниципальных сточных вод и/или сточных вод пищевой промышленности, и способу эксплуатации такого оборудования.
Существуют два основных способа очистки биологически активированным илом сточных вод, содержащих органические загрязнители: непрерывная и периодическая (SBR – аэробные реакторы с циклично прерываемой активностью) технологии. Различие между этими двумя решениями состоит в том, что в непрерывных системах отдельные технологические стадии очистки – удаление органических материалов, фосфора и азота, разделение фаз – выполняются так, что они отделены друг от друга в пространстве, в то время как в SBR системе эти процессы осуществляются в одном месте, следуя один за другим со сдвигом во времени. Обе системы имеют свои преимущества и недостатки, и это может быть основанием для появления решений, основанных на соединении этих двух технологий в области очистки сточных вод.
Главные преимущества SBR технологии состоят в том, что она может лучше отслеживать изменения в гидравлической нагрузке и поступлении загрязняющих веществ, чем непрерывные системы, используя меньше энергии, и эксплуатационная надежность отстаивания является более высокой, так как на стадии отстаивания нет потоков жидкости, влияющих на отстаивание хлопьев ила. Дополнительное преимущество SBR технологии состоит в том, что даже в случае низкой производительности, например, ниже 100 м3/день, она легко может быть снабжена оборудованием, тогда как для непрерывной системы такой производительности не существует коммерчески доступных насосов малой производительности для сточных вод, в то же время существует риск закупоривания труб малого сечения.
Важным преимуществом непрерывных технологий является то, что удаление биологических питательных веществ (N, Р) осуществляют в отдельных помещениях, поэтому эффективность этих операций в меньшей мере подвержена влиянию эксплуатационных параметров, и их эксплуатационная надежность оказывается более высокой. Их дополнительное преимущество состоит в том – если стадия предварительной денитрификации включена в последовательность операций – что содержание нитрата в воде, поступающей в отстойник, оказывается более низким, следовательно, уменьшается вероятность или риск всплывания ила в результате денитрификации. В случае непрерывных систем улучшается возможность применения селекторной схемы, ограничивающей образование волокон в иле.
В патенте США №6406628 описано решение проблемы улучшения эффективности удаления питательных веществ в SBR технологии. Согласно ему подверженные действию ферментов метаболиты гниения органических отходов поступают в следующий реактор периодического действия в подходящий момент времени как легкорастворимый источник углерода. Благодаря этому удаление N и Р становится исключительно активным, но недостатком является образование дополнительного ила. Дополнительным недостатком является то, что на предприятиях по очистке канализационных стоков мелких поселений задача сбора, хранения и переработки органических отходов повышает затраты труда на обслуживание выше разумного предела.
Технология, описанная в патенте США №4966705, основана на соединении непрерывной и SBR установки. Эта установка содержит основной реактор, оснащенный неподвижным декантатором, и предшествующий реактор, выполняющий функцию распределения и выделения. Это означает, что очищенная вода из предыдущей текущей загрузки подвергается декантированию посредством вытеснения массой входящих сточных вод из следующей загрузки. Даже вместе с отстоянным илом, возвращенным назад в предшествующий реактор после декантирования, количество воды с высоким содержанием нитратов, поступающее обратно в то место, где может происходить денитрификация, остается меньшим, чем количество, которое могло бы произвести удаление N, осуществляемое в ходе очистки муниципальных сточных вод среднего состава. Поскольку в этом случае количество возвращенной жидкости определяет минимальный объем последующей загрузки, рециркуляция не может быть оптимизирована для удаления питательных веществ.
В установке, описанной в патентах США №6190554 и 6398957, также имеется предшествующий реактор и основной реактор; в этой установке рециркуляция, направленная к аноксическому предшествующему реактору, отрегулирована для удаления питательных веществ так, чтобы обеспечить условия процесса денитрификации, который представляет собой биологическое удаление азота. Отдельное пространство для предварительной аноксической денитрификации предпочтительно, поскольку активные органические вещества, обеспечивающие быструю денитрификацию, там не разбавляются, наоборот, они полностью используются для удаления азота при недостатке растворенного кислорода. Недостаток установки состоит в том, что она не обеспечивает достаточное биологическое удаление фосфора. Хотя установка опционально содержит анаэробный реактор, но он используется для сбраживания ила, так что входящий в ил фосфор снова переходит в раствор и поступает в основной реактор вместе со сброшенной водой; это означает, что при избытке ила биологическое удаление фосфора невозможно.
Дополнительный недостаток этих решений состоит в том, что ни одно из этих очистных сооружений не содержит непрерывного гидравлического соединения ниже уровня жидкости, следовательно, зона аноксической предварительной денитрификации не может рассматриваться как узел отстаивания. В случае SBR технологии верхний уровень ила в жидкости определяет количество очищенной жидкости, которая может быть отведена, которое, в свою очередь, также определяет суточную гидравлическую производительность очистного сооружения.
Другим недостатком этих решений является то, что в процессе эксплуатации зоны аноксической предварительной денитрификации в качестве усреднительного резервуара, иными словами при непрерывном вводе, биологические процессы, происходящие там, не могут быть оптимизированы.
В решении, содержащемся в патентной заявке ЕР 1.099.668, существует непрерывное гидравлическое соединение между предшествующим реактором и аэрированным основным реактором. Однако недостатком такого соединения, допускающего течение среды, является то, что это соединение находится на уровне плиты основания, и поэтому, когда очищенная вода удаляется, жидкость, текущая в основной реактор, смешивается с активированным илом, вследствие чего взвешенное вещество может попасть в очищенную воду, что существенно повредит уровню эффективности очистного сооружения.
Другой недостаток этих решений состоит в том, что эрлифт осуществляет принудительное течение из основного реактора назад в предшествующий реактор. Благодаря этому эрлифт вызывает растворение кислорода в предшествующем реакторе, ограничивая, таким образом, протекающие там аноксические процессы.
Еще один недостаток этого очистного сооружения состоит в том, что введение неочищенных сточных вод осуществляется сверху, где пропущенный ранее активированный ил, как в реакторе идеального вытеснения, подается через нижнее соединение в основной реактор. В этой операции именно эта стадия производственного процесса является важной, поскольку требование состоит в том, чтобы неочищенные сточные воды не смешивались с очищенными сточными водами при одновременной декантации. Однако это может приводить к нежелательной ситуации, когда на данный момент неочищенные сточные воды не могут быть преднамеренно смешаны с илом, поэтому N и Р не могут быть эффективно удалены. Только после этой стадии возникает перенос между этими двумя зонами (S-стадия). На стадии аэрации рециркуляция отсутствует (В-стадия). Следствием этого, однако, является то, что этот процесс может удалять загрязнение нитратами только в соответствии с отношением объемов этих двух зон, что приводит к неудовлетворительной эффективности.
В оборудовании, описанном в патенте DE 19816076, также используются два соединения между основным и вспомогательным SBR реакторами, которые могут быть открыты или закрыты независимо друг от друга благодаря различным механическим операциям. Этот вид регулирования дорог, и из-за действующих приборов повышается вероятность отказов.
Другой недостаток состоит в том, что резервуар предварительной очистки не содержит смесителя, и поэтому аноксические процессы осуществляются только в ограниченном объеме.
Недостаток способа, осуществляемого на очистном сооружении, состоит в том, что во время декантирования гидравлическое соединение, соединяющее предшествующий и основной реакторы, закрыто, и поэтому резервуар предварительной очистки не может рассматриваться как область отстаивания, и это оказывает нежелательное действие на уровень эффективности и эксплуатацию очистного сооружения.
Задача настоящего изобретения заключается в создании оборудования и способа биологической очистки сточной воды активированным илом в периодическом режиме, в результате чего станет менее сложно обеспечить его технологическим оборудованием даже в случае низкого объемного расхода или малого размера, и в результате соответствующей эксплуатации оборудования станет возможным гибко подстраиваться под изменения в гидравлической нагрузке и поступлении загрязняющих веществ; с другой стороны, решение должно обеспечить высокую эксплуатационную надежность наряду с высокой эффективностью биологического удаления азота и фосфора, которая должна составлять 90% в случае азота и 80-85% в случае фосфора.
Изобретение основано на том факте, что, если в аэрированном основном реакторе, используемом для вторичного осаждения, перемешивания не проводят, аэрация происходит даже во время заполнения, а все операции, для которых аэрация не нужна, осуществляются в анаэробном/аноксибиотическом предшествующем реакторе, в котором механический смеситель включают на стадии между заполнением и осаждением, и из основного реактора вода, обогащенная нитратами, возвращается назад в предшествующий реактор, чем может быть обеспечена весьма эффективная денитрификация, и отлично может быть проведено удаление органического вещества и фосфора.
На основе приведенного выше утверждения в согласии с изобретением определенная задача была решена посредством оборудования для очистки сточных вод, содержащих органические загрязнители, в частности, муниципальных и/или относящихся к пищевой промышленности сточных вод, содержащего основной реактор и предшествующий реактор, средства для подачи неочищенных сточных вод, удаления очищенной воды и ила, и аэрации сточной воды, входящей в основной реактор, а также оно содержит смеситель, расположенный в предшествующем реакторе, причем основной реактор и предшествующий реактор отделены друг от друга разделяющей стенкой, а между основным реактором и предшествующим реактором расположено, по меньшей мере, одно устройство для рециркуляции сточной воды, причем это оборудование отличается тем, что упомянутое устройство содержит U-образный участок трубы, образующий рукав для рециркуляции, при этом один рукав U-образного участка трубы расположен в предшествующем реакторе, другой рукав U-образного участка трубы расположен в основном реакторе, и они отделены друг от друга разделяющей стенкой, нижний конец одного рукава и нижний конец другого рукава соединены с трубой, проходящей сквозь разделяющую стенку, а их верхние концы расположены на высоте, соответствующей минимальному уровню воды, определенному для данного реактора; воздухопровод с концевым фитингом, выполняющий функцию эрлифта, соединен с другим рукавом U-образного участка трубы, расположенного в основном реакторе; а выше верхнего конца одного рукава и выше верхнего конца другого рукава на заданном расстоянии расположено переливное отверстие в разделяющей стенке, обеспечивающее рециркуляцию.
В соответствии с другим вариантом изобретения система аэрации, принадлежащая основному реактору, имеет побудитель потока и воздухопровод, начинающийся из него, распределительные воздушные трубы, которые соединены с вышеупомянутым воздухопроводом и проходят около плиты основания основного реактора, и головки для подачи воздуха, соединенные с воздушными трубами.
В соответствии с другим вариантом изобретения устройство отвода очищенной воды представляет собой декантирующее устройство, расположенное на плавающем теле. Предпочтительно, чтобы имелся насос, расположенный в компенсирующем резервуаре для подачи неочищенных сточных вод, которые насос подает в предшествующий реактор.
Способ согласно изобретению реализуемый посредством эксплуатации оборудования для очистки сточной воды, содержащей органические примеси, биологически активированным илом, включает, по меньшей мере, одну стадию заполнения, одну стадию реакции, одну стадию отстаивания, и одну стадию отведения, и одну стадию удаления ила, где на стадии заполнения основной реактор заполняют от минимального уровня до максимального уровня неочищенными сточными водами, ранее взятыми в более низком слое массы ила, находящегося в предшествующем реакторе, и перенесенными из предшествующего реактора в основной реактор, в то время как – в данном случае – вода, находящаяся в основном реакторе, аэрируется, затем на стадии реакции нитрификации-денитрификации воду, находящуюся в основном реакторе, аэрируют, а воду, находящуюся в предшествующем реакторе, перемешивают, на практике механически, тогда как сточная вода рециркупирует между двумя реакторами, затем ил отстаивают из сточных вод, обрабатываемых, как описано выше, наконец, очищенные сточные воды отводят из оборудования декантированием таким путем, что уровень воды в реакторах опускается до минимального уровня; и избыток ила удаляют из реактора, отличающийся тем, что на стадии заполнения U-образный участок трубы применяют для переноса неочищенных сточных вод из предшествующего реактора в основной реактор, и затем необработанную сточную воду переносят в основной реактор по принципу сифона через U-образный участок трубы, и, таким образом, уровень воды в предшествующем реакторе и в основном реакторе повышается до обычного максимального уровня, затем на стадии реакции воздух продувают через воздухопровод в другой рукав U-образного участка трубы в основном реакторе, и поэтому с помощью U-образного участка трубы в качестве эрлифта часть жидкости из предшествующего реактора засасывается через U-образный участок трубы в основной реактор, и поэтому уровень жидкости основного реактора поднимается выше уровня переливного отверстия, и количество жидкости, превышающее уровень переливного отверстия, выходит через переливное отверстие назад в предшествующий реактор, и, таким образом, создается рециркуляция.
Ниже изобретение описано детально на основе приложенных чертежей, на которых показана предпочтительная конструкция оборудования и его работа. На чертежах представлено:
на фиг.1 – конструкция оборудования в разрезе, взятом вдоль линии Е-Е, показанной на фиг.2;
на фиг.2 – разрез вдоль линии А-А, показанной на фиг.1;
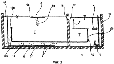
на фиг.3 – разрез вдоль линии В-В, показанной на фиг.1;
на фиг.4-7 показаны стадии заполнения, реакции, отстаивания, отвода очищенной воды и удаления избыточного ила на оборудовании, изображенном на фиг.1-3 в разрезе вдоль линии С-С, показанной на фиг.1.
Как показано на фиг.1-3, оборудование согласно изобретению содержит основной реактор I, анаэробный/аноксический предшествующий реактор II, компенсирующий резервуар III и накопитель избыточного ила IV, все созданные внутри единой баковой конструкции, обозначенной номером 10 как целое, и оно содержит подающий насос 1, рециркуляционный насос 5 и насос для удаления избыточного ила 7. Компенсирующий резервуар III обеспечивает равномерную нагрузку стадий очистки, или в случае очень низкой нагрузки он обеспечивает возможность остановки. Нагнетательный трубопровод 1а подающего насоса 1 входит в предшествующий реактор около его плиты основания 9 (фиг.4); в предшествующем реакторе II находится механический смеситель 2 ниже уровня воды vmax (фиг.1 и 3). Устройство нагнетания воздуха 4 (фиг.2), помещенное снаружи баковой структуры 10, также является частью оборудования, оно соединено с системой воздухораспределительных труб 3а, проходящих около плиты основания 11 основного реактора I, с воздушной трубой 4а и головками для подачи воздуха 3, соединенными с трубами системы распределительных труб 3а (фиг.1-5).
В случае представленной конструкции оборудование также содержит U-образный участок трубы 15 с рукавами, направленными вверх, применяемый для рециркуляции сточных вод между основным реактором I и предшествующим реактором II, и нижняя горизонтальная часть U-образного участка трубы 15 проходит через стенку 12, один из его рукавов 16а, протянутый вверх, снабженный сверху воронкой 15а, расположен в предшествующем реакторе II, в то время как его другой рукав 16b расположен в основном реакторе I, и их торцевые отверстия расположены на одной высоте. Высота, на которой расположены отверстия, определяется выбором высоты минимального уровня воды. Участок трубы 15, как описано выше, может работать в двух режимах: на основе закона о сообщающихся сосудах благодаря различиям в уровне воды или как эрлифт, поскольку он соединен с устройством для нагнетания воздуха 4, показанным на фиг.2, с воздухопроводом 14, содержащим концевой фитинг 13а, начинающийся из места соединения 14 (см. также фиг.5), так, что, когда концевой фитинг 13а открыт – если устройство нагнетания воздуха 4 работает – участок трубы 15 как эрлифт подает воду из предшествующего реактора II в основной реактор I. Для обеспечения рециркуляции в верхней части разделительной стенки 12, разделяющей основной реактор I и предшествующий реактор II, проделано переливное отверстие 8.
В основном реакторе I в диапазоне уровня воды, соответствующем изменению уровня воды, находится декантирующее устройство 6 на поплавке 6b, перемещающемся вверх и вниз, следуя изменению уровня воды (фиг.1-3), и отводящая труба 6а выведена вовне баковой структуры 10.
На плите основания 9 предшествующего реактора II или вблизи от нее находится насос 7, обеспечивающий удаление избыточного ила, и его выводная труба 7а выведена вовне баковой структуры 10 или в резервуар для избыточного ила IV.
Ниже работа оборудования, изображенного на фиг.1-3 – технологический процесс, реализуемый с помощью оборудования – описана подробно со ссылкой на фиг.4-8, где уже описанные устройства обозначены теми же позициями, которые использовались на фиг.1-3.
На фиг.4 представлена стадия заполнения технологического процесса, в начале которого уровень воды vmin минимален как в предшествующем реакторе II, так и в основном реакторе I. В этих двух реакторах уровень заполнения обозначен через удах. Во время стадии заполнения уровни воды в двух реакторах изменяются одновременно в пределах высоты m. Во время процесса заполнения неочищенные сточные воды поступают в компенсирующий резервуар III, как показано стрелкой а, где они могут достигать уровня v1max; тем временем с помощью подающего насоса 1 неочищенные сточные воды из компенсирующего резервуара III подаются в нижнюю часть предшествующего реактора II, как показано стрелкой b, предпочтительно без значительного перемешивания ила, осажденного там на предыдущей стадии очистки, распределяя неочищенные сточные воды по массе ила. В иле 17 значительное содержание органического вещества в неочищенных сточных водах приводит к быстрому падению концентрации кислорода до нуля, создаются анаэробные условия, клетки бактерий используют их запасы полифосфатов, и они вызывают накопление фосфора в жидкости. Тем временем уровень воды возрастает как в предшествующем реакторе II, так и в основном реакторе I до максимального уровня vmax – приблизительно до нижнего края переходного отверстия 8 поскольку основной реактор I через U-образный участок трубы 15 заполняется практически в то же время, что и предшествующий реактор II, где неочищенные сточные воды движутся, как показано стрелкой b, но поскольку перемешивания не происходит, только малое количество неочищенных сточных вод попадает в основной реактор I, где должна практически начинаться аэрация через головки для подачи воздуха 3 (см. также фиг.1-3) в ходе заполнения путем вдувания воздуха в жидкость, что обеспечивает окисление органических веществ, запасенных в клетках, и, в результате этого, быстрое потребление органического вещества, содержащегося в загрузке, введенной на стадии заполнения.
В зависимости от объема оборудования стадия заполнения может длиться 0-60 минут. Заполнение начинается только тогда, когда для загрузки имеется достаточное количество неочищенных сточных вод в компенсирующем резервуаре III.
На фиг.5 представлен процесс реакции, удаления органического вещества, нитрификации и денитрификации, которые могут длиться 60-240. В начале этой стадии предшествующий реактор II и основной реактор I заполняются до максимального уровня воды. В предшествующем реакторе II начинают перемешивание, включая механический смеситель 2, и в течение этой стадии ил, смешанный с неочищенными сточными водами, взмучивается и перемешивается с водой, содержащей нитраты, которая осталась от предыдущего цикла – после расслоения в верхней части – и благодаря этому создаются условия для денитрификации. В основном реакторе I аэрация происходит в течение всей стадии реакции, что приводит к удалению органических веществ и нитрификации аммиака. Когда эти процессы завершаются, потребление введенного кислорода падает, что приводит к повышению содержания растворенного кислорода. Когда принимается контрольный сигнал с помощью контролирующего процесс прибора (здесь не показанного), начинается рециркуляция жидкости между основным реактором I и предшествующим реактором II, которая протекает в случае представленной конструкции с относительно низким расходом и осуществляется на основе принципа эрлифта посредством открывания концевого фитинга 13а (см. также фиг.1 и 3), в результате чего сжатый воздух вдувается в рукав 16b участка трубы 15 в точке соединения 14, вызывая движение жидкости. Рециркуляция осуществляется через переливное отверстие 8 – измерительный водослив – и U-образный участок трубы, как показано стрелками с1-с3. В результате рециркуляции из предшествующего реактора II более активированный ил, содержащий органические вещества и аммиак, смешанный с неочищенными сточными водами, подается в основной реактор I, что приводит к ускорению процессов поглощения кислорода и снижению или, по меньшей мере, стабилизации уровня содержания растворенного кислорода в реакторе. Тем временем, активированный ил с высоким содержанием нитратов течет назад в предшествующий реактор II – на практике через маленькую камеру обескислороживания (здесь не показанную) – под действием силы тяжести. В предшествующем реакторе II нитраты подвергаются денитрификации с помощью органических веществ, которые там остались и этим обеспечивается удаление азота из сточных вод.
Поскольку рециркуляция приводит к смешиванию водных масс, находящихся в основном реакторе I и предшествующем реакторе II, возрастающее количество воды требуется для транспортировки единичного количества органических загрязнителей в основной реактор I, поэтому рециркуляция постепенно ускоряется. К концу стадии реакции, показанной на фиг.5, концентрации органических загрязнителей в двух реакторах могут быть более или менее одинаковыми. На всем протяжении всей стадии реакции эти условия, превалируя в обоих реакторах, делают возможным возмещение потери фосфата бактериями в анаэробных условиях и накопление избыточного фосфата и, кроме того, удаление фосфора путем удаления ила, то есть осуществляется биологическое удаление фосфора.
Как правило, стадия отстаивания технологического процесса, показанная на фиг.6, занимает 30-60 минут. Как ввод воздуха в основной реактор I, так и перемешивание в предшествующем реакторе II приостанавливаются в течение всего процесса отстаивания (необходимые установки и устройства на фиг.6 не показаны). К концу стадии ил 17 опускается в обоих реакторах в нижнюю часть водной массы на уровне vmax. Очевидно, неочищенные сточные воды могут прибывать в компенсирующий резервуар III даже в течение стадии отстаивания, как показано стрелкой а.
На стадии технологического процесса, показанной на фиг.7, очищенная вода выводится, например, в место приема, как показано стрелкой е; эта стадия может занимать 30-60 минут, и перемешивание, и аэрация приостанавливаются во время этой стадии. На этой стадии очищенная вода в количестве одной загрузки удаляется согласно настоящему примеру посредством декантатора 6, описанного выше со ссылкой на фиг.1-3, который всегда забирает воду из верхнего слоя водной массы толщиной в несколько сантиметров, всегда одинаковое количество, причем одновременно из основного реактора I и из предшествующего реактора II, так что ил 17 на дне не может примешиваться. К концу стадии исходное максимальное значение уровня воды vmax снижается до минимального уровня vmin. Это нижний уровень отстаивания, и объем одной порции соответствует водной массе слоя высотой vmax-vmin=m.
Наконец, на фиг.8 представлена стадия удаления избыточного ила, которая обычно занимает 5-30 минут, и для осуществления которой применяется, как показано на фиг.1-3, насос 7, погруженный в ил 17. В течение этой стадии избыточная биомасса, возникшая в системе, удаляется из системы, как показано стрелкой е. Ил выгружается в резервуар для избыточного ила IV, показанный на фиг.1. Ил может быть удален из любого из реакторов, потому что в ходе рециркуляции вся водная масса перемешивается в обоих реакторах столь интенсивно, что практически становится однородной илистой массой воды, и при течении также происходит выравнивание в этом смысле.
На практике продолжительность перечисленных выше стадий не зависит от номинальной производительности данного оборудования, которая обычно может составлять 10-3000 м3/сутки на стадию.
Необходимо подчеркнуть, что наряду с аэрацией вдуванием воздуха, описанной выше, могут быть использованы другие обычные – например, механический ввод кислорода и т.д. – способы аэрации.
Следовательно, на основе вышесказанного, процесс очистки осуществляется согласно классическим циклам – стадиям, таким как заполнение, реакция, отстаивание, декантирование очищенной воды, удаление избыточного ила. В сравнении с традиционной SBR установкой основное отличие состоит, во-первых, в том, что в основном реакторе I нет смесителя, аэрация осуществляется там практически во время стадии заполнения и приостанавливается только во время стадий отстаивания, декантирования и удаления избыточного ила, тогда как процессы, которые не требуют аэрации, проводят в предшествующем реакторе II, где механический смеситель работает на стадии между заполнением и отстаиванием, и он не работает в течение стадии заполнения. Здесь неочищенные сточные воды вводят в ил 17, отстоявшийся в предшествующем реакторе II, на практике периодически, с низкой скоростью, для предотвращения взмучивания ила. Во время стадии заполнения в слое ила создаются анаэробные условия, в результате чего возникают предпосылки для биологического удаления фосфора. Во время стадии заполнения заполнение основного реактора I также начинается через трубу с переливом – участок трубы 15, расположенный на уровне декантации, и хотя во время стадии заполнения сюда не попадает значительного количества неочищенной воды, может начаться аэрация, в результате которой органические вещества, абсорбированные биомассой, разлагаются, и абсорбция органических веществ идет быстрее, когда примешиваются неочищенные сточные воды.
На стадии реакции, может быть в конце стадии заполнения под действием механического смесителя в анаэробном/аноксическом предшествующем реакторе II вода с высоким содержанием нитратов, которая остается там от предыдущего цикла в верхнем слое, смешивается с неочищенными сточными водами и активированным илом в нижних слоях, что, благодаря присутствию растворимых органических веществ, приводит к быстрой денитрификации. Как было описано выше, на стадии реакции (фиг.5) сточные воды, содержащие активный ил, перекачиваются из предшествующего реактора II в основной реактор I эрлифтом, и выпускная горловина – переливное отверстие 8 – обеспечивает рециркуляцию через предшествующий реактор II. Поток к основному реактору I несет органические вещества и аммиак сюда, что вызывает потребление кислорода, и вода, текущая через выпускную горловину, переносит нитраты в предшествующий реактор II. Скорость рециркуляции постепенно повышают согласно программе, составленной заранее. Разложение органических веществ и нитрификация аммония приводят к снижению потребления кислорода в аэрированном пространстве, поэтому для того, чтобы использовать возможность аэрации, необходимо вводить дополнительное количество неочищенных сточных вод, смешанных с дополнительным количеством активированного ила, в основной реактор, используя его разлагающее действие. Благодаря разбавлению вследствие рециркуляции концентрация органических загрязнителей в аноксическом реакторе постепенно снижается, поэтому рециркуляция с возрастающей скоростью необходима для использования потребления кислорода. К концу цикла аэрации образуется полностью перемешанная система.
В заключение можно утверждать, что
– в предшествующем реакторе идут анаэробные, аноксические и седиментационные процессы, в то время как в основном реакторе идут аэробные и седиментационные процессы, снижение содержания биологически разлагаемого органического вещества сточных вод путем аккумулирования и повышение содержания фосфора, вызванное им, имеет место в предшествующем реакторе, в то время как практически полное удаление органического вещества и содержания фосфора происходит в основном реакторе;
– изменение содержания азота в биологически разлагаемых органических загрязнителях посредством нитрификации происходит в основном реакторе, в то время как биологическое удаление нитратов, образовавшихся в ходе нитрификации (денитрификация) осуществляется в предшествующем реакторе.
В заключение следует подчеркнуть возможность того, что растительность может быть высажена как в основном реакторе I, так и в предшествующем реакторе II таким образом, что в случае реактора с фиксированным уровнем воды растения сажают на сетке, установленной около поверхности воды, тогда как в случае реактора с переменным уровнем воды растения сажают на сетке, установленной на поплавке. В обоих случаях корни прорастают в воду в зоне реактора. Корни растений с большой удельной поверхностью благодаря микроорганизмам, осажденным на них, осуществляют биологическую очистку в погруженном неподвижном слое, дополняя систему с активированным илом, то есть они способствуют протеканию биохимических реакций на корнях и интенсифицируют технологию очистки.
Преимущество изобретения состоит в том, что нет необходимости устанавливать мощность аэрации на основе обычно высокого потребления кислорода после загрузки как в случае обычных SBR установок, и, поддерживая потребление кислорода на более или менее постоянном уровне, объем аэрации используют максимально. Кроме того, нет необходимости затрачивать средства на преобразователь частоты, регулирующий инжектор воздуха.
Очевидно, изобретение не ограничивается конкретной конструкцией оборудования или реализацией способа, описанного выше, оно может быть осуществлено различными путями в объеме охраны, определенном формулой.
Список ссылок
I – основной реактор
II – предшествующий реактор
III – компенсирующий резервуар
IV – накопитель избыточного ила
1 – подающий насос
1a – выпускная труба
2 – механический смеситель
3 – головка для подачи воздуха
3а – воздухораспределительная труба
4 – устройство для нагнетания воздуха
4а – воздушная труба
5 – рециркуляционный насос
6 – декантирующее устройство
6а – отводящая труба
6b – поплавок
7 – насос для удаления избыточного ила
7а – выводная труба
8 – переливное отверстие
9 – плита основания
10 – баковая конструкция
11 – плита основания
12 – разделительная стенка
13 – воздушная труба
13а – концевой фитинг
14 – воздухопровод
15 – U-образный участок трубы
15а – воронка
16а – один рукав
16b – другой рукав
17 – ил
“а” – стрелка
“b” – стрелка
“ci” – стрелка
“m” – высота
Формула изобретения
1. Оборудование для очистки сточных вод, содержащих органические загрязнители, в особенности муниципальных сточных вод и/или сточных вод пищевой промышленности, содержащее основной реактор (I) и предшествующий реактор (II), а также средства для подачи неочищенных сточных вод, удаления очищенной воды и ила и аэрации сточных вод, поступивших в основной реактор, и смеситель (2), размещенный в предшествующем реакторе (II), при этом основной реактор (I) и предшествующий реактор (II) отделены друг от друга разделяющей стенкой (12), а между основным реактором (I) и предшествующим реактором (II) расположено, по меньшей мере, одно устройство для рециркуляции сточной воды, отличающееся тем, что упомянутое устройство содержит U-образный участок трубы (15), снабженный рукавами (16а, 16b) для рециркуляции, причем один рукав (16а) U-образного участка трубы (15) расположен в предшествующем реакторе (II), другой рукав (16b) U-образного участка трубы (15) расположен в основном реакторе (I), и они отделены друг от друга разделяющей стенкой (12), нижний конец одного рукава (16а) и нижний конец другого рукава (16b) соединены с трубой, проходящей сквозь разделяющую стенку (12), а их верхние концы расположены на высоте, соответствующей минимальному уровню воды (vmin), определенному для данного реактора; воздухопровод (13) с концевым фитингом (13а), выполняющий функцию эрлифта, соединен с другим рукавом (16b) U-образного участка трубы (15), расположенным в основном реакторе (I); причем в верхней части разделяющей стенки (12) на максимальном уровне предшествующего реактора (II) расположено переливное отверстие (8), обеспечивающее рециркуляцию.
2. Оборудование по п.1, отличающееся тем, что воздухопровод (13), питающий эрлифт, выполнен разветвленным в систему аэрации, принадлежащую основному реактору (I).
3. Оборудование по п.1 или 2, отличающееся тем, что система аэрации, принадлежащая основному реактору (I), содержит устройство для нагнетания воздуха (4) и воздухопровод (4а), начинающийся из него, воздухораспределительные трубы (3а), соединенные с воздухопроводом (4а) и проходящие около плиты основания основного реактора (I), и головки для подачи воздуха (3), соединенные с этими воздушными трубами (3а).
4. Оборудование по п.1 или 2, отличающееся тем, что устройство отвода очищенной воды представляет собой декантирующее устройство (6), расположенное на поплавке (6b).
5. Оборудование по п.3, отличающееся тем, что устройство отвода очищенной воды представляет собой декантирующее устройство (6), расположенное на поплавке (6b).
6. Оборудование по пп.1, 2 или 5, отличающееся тем, что насос (1) расположен в компенсирующем резервуаре (III) для подачи неочищенных сточных вод, которые насос (1) подает в предшествующий реактор (II).
7. Оборудование по п.3, отличающееся тем, что насос (1) расположен в компенсирующем резервуаре (III) для подачи неочищенных сточных вод, которые насос (1) подает в предшествующий реактор (II).
8. Оборудование по п.4, отличающееся тем, что насос (1) расположен в компенсирующем резервуаре (III) для подачи неочищенных сточных вод, которые насос (1) подает в предшествующий реактор (II).
9. Способ очистки сточных вод биологически активированным илом, содержащим органические примеси, осуществляемый посредством оборудования по любому из пп.1-8, содержащий, по меньшей мере, одну стадию заполнения, одну стадию реакции, одну стадию отстаивания и одну стадию отведения, и одну стадию удаления ила, где на стадии заполнения основной реактор (I) и предшествующий реактор (II) заполняют от минимального уровня (vmin) до максимального уровня (vmax) неочищенными сточными водами, ранее взятыми в более низком слое массы ила (17), находящегося в предшествующем реакторе (II), и перенесенными из предшествующего реактора (II) в основной реактор (I), в то время как – в данном случае – воду, находящуюся в основном реакторе (I), аэрируют, затем на стадии реакции нитрификации-денитрификации воду, находящуюся в основном реакторе (I), аэрируют, а воду, находящуюся в предшествующем реакторе (II), перемешивают, на практике механически, тогда как сточная вода рециркулирует между двумя реакторами, затем ил (17) отстаивают из сточных вод, обрабатываемых, как описано выше, и очищенные сточные воды отводят из оборудования декантированием таким образом, что уровень воды в реакторах опускается до минимального уровня (vmin); и избыток ила удаляется из реактора, отличающийся тем, что на стадии заполнения U-образный участок трубы (15) применяют для переноса неочищенных сточных вод из предшествующего реактора (II) в основной реактор (I), и затем неочищенные сточные воды переносят в основной реактор (I) по принципу сифона через U-образный участок трубы (15), и, таким образом, уровень воды в предшествующем реакторе (II) и в основном реакторе (I) повышается до обычного максимального уровня (vmax), затем на стадии реакции воздух вдувают через воздухопровод (13) в другой рукав (16b) U-образного участка трубы (15) в основном реакторе (I), вследствие чего с помощью U-образного участка трубы (15), действующего в качестве эрлифта, часть жидкости из предшествующего реактора (II) засасывается через U-образный участок трубы (15) в основной реактор (I), а уровень жидкости в основном реакторе (I) поднимается выше уровня переливного отверстия (8), при этом количество жидкости, оказавшейся выше уровня переливного отверстия (8), выходит через переливное отверстие (8) назад в предшествующий реактор (II), и, таким образом, создается рециркуляция.
РИСУНКИ
|
|