|
|
(21), (22) Заявка: 2006115746/15, 06.05.2006
(24) Дата начала отсчета срока действия патента:
06.05.2006
(43) Дата публикации заявки: 27.11.2007
(46) Опубликовано: 20.03.2009
(56) Список документов, цитированных в отчете о поиске:
US 2004/0045808 A1, 11.03.2004. ОРЛОВ В.Ю. и др. Производство и использование технического углерода для резин. – Ярославль, Александр Рутман, 2002, с.118-120, 185, 164. RU 2124928 C1, 20.01.1999. US 6173002 B1, 09.01.2001. RU 2087413 C1, 20.08.1997. RU 2114138 C1, 27.06.1998. RU 2129584 C1, 27.04.1999.
Адрес для переписки:
630090, г.Новосибирск, пр. Академика Лаврентьева, 1, лаб.3.1, Институт теплофизики им. С.С. Кутателадзе, И.М. Уланову
|
(72) Автор(ы):
Александров Анатолий Валентинович (RU), Варшавер Михаил Евгеньевич (RU), Куклина Лидия Геннадьевна (RU), Лукин Алексей Васильевич (RU), Уланов Игорь Максимович (RU)
(73) Патентообладатель(и):
Александров Анатолий Валентинович (RU), Варшавер Михаил Евгеньевич (RU), Куклина Лидия Геннадьевна (RU), Лукин Алексей Васильевич (RU), Уланов Игорь Максимович (RU), Общество с ограниченной ответственностью “Наноматериалы” (RU)
|
(54) УСТАНОВКА ДЛЯ ПОЛУЧЕНИЯ ТЕХНИЧЕСКОГО УГЛЕРОДА И ВОДОРОДА
(57) Реферат:
Изобретение может быть использовано в химической и резинотехнической промышленности. Установка содержит камеру плазмогенератора 1 и плазмохимический блок 2, футерованные изнутри графитом 8, а также фазоразделительное устройство, включающее последовательно установленные смесительный короб, циклон и фильтр. Основную часть углеводородного сырья подогревают до 800°С в теплообменнике 3, расположенном между футеровкой 8 и теплоизоляционной рубашкой 9, и вводят в факел газовой горелки 4. Остальную часть сырья подают через газовую горелку в камеру плазмогенератора 1. Плазмохимическое разложение сырья осуществляется в камере плазмогенератора 1 в электрической дуге, создаваемой электродами 5 и 6. Камера плазмогенератора 1 и плазмохимический блок 2 соединены сужающимся отверстием. Полученные технический углерод и водород, а также непрореагировавшие продукты разделяют в фазоразделительном устройстве. Изобретение позволяет упростить конструкцию, обеспечить непрерывное производство и контролировать качество получаемых продуктов. 2 ил.
Изобретение относится к нефтяной и нефтеперерабатывающей промышленности и служит главным образом для переработки попутного нефтяного газа в полезный продукт – технический углерод (ТУ) и водород, в то время как сейчас, в основном, он просто сжигается в атмосфере. Изобретение может быть использовано в резинотехнической и в других отраслях промышленности.
Известно устройство для получения технического углерода и водорода [патент РФ №2087413, 1992 г., С01В 3/24]. Устройство работает следующим образом. Питающий исходный поток сырья по охлажденной впускной трубе вводится в плазменную горелку. Первый нагрев исходного материала осуществляется в области, расположенной вблизи факела плазмы. Ниже факела плазмы УВ материал смешивается с плазменным газом и происходит разложение УВ сырья. Полученный таким образом материал далее пропускают через одну или более последовательных зон для достижения заключительного разложения углеводородов. Возможно введение дополнительного сырьевого материала для охлаждения смеси и реакции с уже полученной углеродной сажей. Устройство для осуществления данного способа состоит из главной плазменной горелки, впускной трубы для исходного потока сырья и реакционной камеры. Основная плазменная горелка снабжена минимум тремя трубчатыми коаксиально расположенными электродами, изготовленными из графита. В месте горения плазменной дуги установлена магнитная катушка, связанная с отдельным источником энергии, для регулирования магнитного поля. Устройство также снабжено дополнительными плазменными горелками, расположенными вдоль боковой стены реакционной камеры.
Для осуществления данного способа получения углеродной сажи, как видим, необходимо достаточно сложное оборудование, кроме того, он требует больших затрат электроэнергии, поэтому экономически маловыгоден. Недостатком является также необходимость остановки производства, поскольку электроды, используемые в плазменной горелке, изнашиваются в процессе работы и требуют замены.
Наиболее близкими по технической сущности и достигнутому техническому результату является устройство для разложения углеводородов, рассматриваемое нами в качестве прототипа [заявка US 20040045808, 2004, С09С 1/48). В известном устройстве в камеру плазмогенератора подается исходное сырье. В камере плазмогенератора используют электрический разряд, горящий между графитовыми электродами. Затем сырье поступает в плазмохимический блок с последующим пиролизом и далее – на фазораспределительное устройство.
Однако в данном устройстве не предусмотрен теплообменник для рекуперации тепла отходящих газов, что существенно снижает КПД установки. Кроме того, нагрев плазмообразующего газа и вводимого сырья осуществляется исключительно за счет энергии дугового разряда, что существенно увеличивает затраты электроэнергии на проведение процесса. В предлагаемом нами способе предусмотрен как процесс рекуперации тепла (для подогрева вводимого сырья), так и дополнительный нагрев за счет частичного сжигания сырья.
Задача настоящего изобретения заключается в упрощении конструкции и повышении КПД установки для комбинированного разложения углеводородного материала.
Поставленная задача решается тем, что в предложенном устройстве разложение УВ сырья происходит в камере плазмогенератора, а завершается в плазмохимическом блоке. Согласно изобретению перед подачей в плазмогенератор исходный поток сырья предварительно подогревается в теплообменнике, затем нагретое до 800°С сырье смешивается с термическим факелом газовой горелки для увеличения энтальпии потока.
Поставленная задача решается также тем, что согласно изобретению в газовую горелку окислитель подается с недостатком.
Поставленная задача решается также и тем, что согласно изобретению в камере плазмогенератора используют электрический разряд, горящий между двумя графитовыми электродами.
Поставленная задача решается также и тем, что согласно изобретению камеры плазмогенератора и плазмохимического блока соединены сужающимся отверстием.
Поставленная задача решается также и тем, что согласно изобретению в плазмохимический блок могут быть введены специальные вещества, а именно: частицы железа, олова или других металлов для регулирования параметров процесса.
Изобретение включает устройство, при помощи которого можно осуществить комбинированный способ разложения углеводородного сырья.
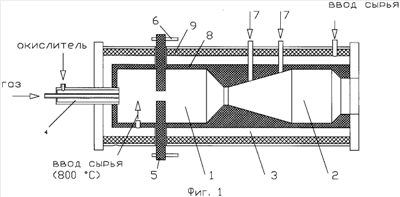
На Фиг.1 представлено устройство для разложения УВ сырья, где:
1 – камера плазмогенератора; 2 – плазмохимический блок; 3 – теплообменник; 4 – газовая горелка; 5 – графитовые электроды; 6 – клеммы токоподвода; 7 – отверстия для подвода специальных веществ; 8 – графитовая футеровка; 9 – теплоизоляционная футеровка.
На Фиг.2 представлена принципиальная схема устройства для комбинированного плазмохимического и термического способа получения водорода и технического углерода, где:
10 – плазмохимический реактор; 11 – смесительный короб; 12 – батарейный циклон; 13 – рукавный фильтр.
Установка, показанная на Фиг.1, состоит из камеры плазмогенератора 1 и плазмохимического блока 2. Камера плазмогенератора 1 и плазмохимический блок 2 выложены изнутри графитом, чтобы защитить теплоизоляционную футеровку 9 от восстановления водородом.
Данное устройство для получения ТУ и водорода работает следующим образом.
Основную часть УВ сырья предварительно подогревают в теплообменнике 3, расположенном между графитовой футеровкой 8 и теплоизоляционной рубашкой 9. Температура подогретого сырья должна быть на уровне 800°С во избежание образования нагара на стенках теплообменника. Разогретое УВ сырье радиально вводят в термический факел газовой горелки 4, где происходит дополнительный термический нагрев исходного продукта. Остальная часть сырья поступает через газовую горелку 4 в камеру плазмогенератора 1.
В зависимости от требуемого качества исходного продукта определенное количество углеводорода частично сжигают в газовой горелке 4, чтобы увеличить энтальпию потока. В качестве окислителя используется воздух или кислород. Окислитель подается с недостатком в газовую горелку 4. Далее смесь проходит через зону горения электрического разряда в камере плазмогенератора 1. В этой области осуществляется дополнительный нагрев и плазмохимическое разложение УВ сырья. Для получения плазменной дуги в камере плазмогенератора используют электрический разряд, горящий между двумя графитовыми электродами 5. Материал (графит), из которого изготовлены электроды, не загрязняет процесс, а, наоборот, является составной его частью. Продукты разрушения электродов способствуют получению качественной сажи, т.к. могут быть центрами образования наночастиц. Электроды не нужно заменять в процессе работы. По мере износа они имеют возможность передвижения навстречу друг другу, тем самым сохраняются стабильные характеристики электрического разряда. Данный способ получения плазмы прост и обеспечивает непрерывность процесса получения ТУ.
Камера плазмогенератора 1 имеет сужение диаметра перед входом в плазмохимический блок 2. Это сужение зависит от расходов газа, который поступает от газовой горелки 4, и количества УВ сырья, а также от мощности электрического дугового разряда и подбирается экспериментально. Нахождение материала в плазмохимическом блоке способствует более полному перемешиванию горячих потоков газа с УВ сырьем, увеличивает время, необходимое для разложения исходного продукта. Для регулирования скорости процесса и качества получаемого продукта с целью осуществления каталитических реакций в камеру плазмохимического блока можно вводить через отверстия 7 специальные вещества, например частицы железа, олова или других металлов. В плазмохимическом блоке происходит окончательный пиролиз углеводородов.
Полученная смесь в виде углеродной сажи, водорода и непрореагировавшего газа подается на фазоразделительное устройство, показанное на Фиг.2. В смесительном коробе 11 температура продуктов реакции снижается до 200-250°С путем перемешивания с холодным газом. Это может быть природный газ, попутный газ или любой другой. Далее охлажденная смесь поступает в батарейный циклон 12. Количество секций в батарейном циклоне зависит от производительности установки. Окончательное отделение углеродной сажи из смеси происходит в рукавном фильтре 13. После отделения сажи газовый поток поступает на газоразделительные установки с целью получения чистого водорода либо может сжигаться в газотурбинных или парогазовых установках.
Предлагаемая установка позволяет обеспечить непрерывное производство технического углерода и водорода, контролировать качество конечного продукта. Бесспорными преимуществами данного изобретения являются также его неэнергоемкость, экономическая эффективность и экологическая безопасность.
Формула изобретения
Устройство для получения технического углерода и водорода, состоящее из камеры плазмогенератора, плазмохимического блока, выложенных изнутри графитом, и фазоразделительного устройства, включающего последовательно установленные смесительный короб, циклон и фильтр, отличающееся тем, что установка дополнительно содержит теплообменник, газовую горелку, установленную перед плазмогенератором, а камеры плазмогенератора и плазмохимического блока соединены сужающимся отверстием, причем в камере плазмогенератора установлены два графитовых электрода, между которыми горит электрическая дуга.
РИСУНКИ
|
|