|
|
(21), (22) Заявка: 2007115935/11, 26.04.2007
(24) Дата начала отсчета срока действия патента:
26.04.2007
(46) Опубликовано: 20.03.2009
(56) Список документов, цитированных в отчете о поиске:
SU 1368249 A1, 23.01.1988. SU 1404693 A1, 23.06.1988. RU 2048424 С1, 20.11.1995. SU 557990 A1, 15.05.1977. SU 197912 A1, 01.01.1967. FR 2105034 А, 28.04.1972. DE 3112344 А, 21.10.1982.
Адрес для переписки:
346500, Ростовская обл., г. Шахты, пл. Ленина, 1, ШИЮРГТУ, гос. эксперту И.И. Кузнецовой
|
(72) Автор(ы):
Страданченко Сергей Георгиевич (RU), Мартыненко Иван Андреевич (RU), Волков Владимир Владимирович (RU), Волков Дмитрий Владимирович (RU)
(73) Патентообладатель(и):
Государственное образовательное учреждение высшего профессионального образования “Южно-Российский Государственный технический университет (Новочеркасский политехнический институт)” (RU)
|
(54) ДВУХКАНАТНАЯ ЛЕБЕДКА С ГИДРАВЛИЧЕСКИМ ШАГОВЫМ ПРИВОДОМ
(57) Реферат:
Изобретение относится к горной промышленности, в особенности к шахтным подъемным устройствам с гидравлическим приводом. Устройство состоит из двух неподвижно закрепленных гидроцилиндров, через которые пропущены гибкие штоки, выполненные из каната закрытой конструкции. Гибкий шток имеет возможность быть попеременно захватываемым поршнями с управляемыми цангами, которые позволяют перемещать канат с грузом. Перемещение указанных поршней происходит под действием рабочей жидкости, подаваемой в гидроцилиндры гидрораспределителями от маслостанции. Возвратная полость первого гидроцилиндра двухканатной лебедки соединена трубопроводом с рабочей полостью второго гидроцилиндра. Рабочая полость второго и возвратная полость первого гидроцилиндров попеременно получают питание рабочей жидкостью от маслостанции непосредственно через реверсивный гидрораспределитель. Это позволяет расширить технологические возможности устройства. 2 ил.
Изобретение относится к горной промышленности, в особенности к шахтным подъемным устройствам с гидравлическим приводом, и может быть использовано для доставки или перемещения грузов по выработкам угольной и горнорудной промышленности. Может быть использовано и в других отраслях промышленности для перемещения грузов.
Известна конструкция подъемного устройства, использующая для перемещения грузов гидроцилиндры с гибким штоком [1].
Недостатком известного устройства является то, что расстояние перемещения груза зависит от величины хода поршня гидроцилиндра и с увеличением расстояния приходится применять гидроцилиндры большой длины.
Указанный недостаток устранен в устройстве [2]. Однако при использовании данного устройства для перемещения грузов или использования их для производства работ, требующих совместного синхронного действия, наблюдается рассогласованность. Так, например, если требуется перемещать на двух канатах основной рамы подъемной машины при ее монтаже с использованием указанных лебедок, то через некоторое время наблюдается перекос рамы. Это объясняется тем, что скорости перемещения канатов двумя одинаковыми лебедками оказываются различными. Происходит это по причине неодинаковости нагрузок на каждую из лебедок, различий в пропускной способности гидравлических линий и др. Отличия в скорости перемещения (даже очень небольшие) через некоторое время и приводят к перекосам перемещаемого оборудования.
Необходима такая конструкция двухканатной лебедки, которая была бы свободна от указанных недостатков, т.е. скорости перемещения обоих канатов должны быть одинаковыми и не зависеть от величины нагрузки на каждом из канатов – движение канатов должно происходить синхронно.
Согласно изобретению поставленная цель достигается тем, что рабочая полость одного из гидроцилиндров двухканатной лебедки соединена трубопроводом с возвратной полостью второго, а возвратная полость второго и рабочая полость первого попеременно получают питание рабочей жидкостью непосредственно через реверсивный гидрораспределитель.
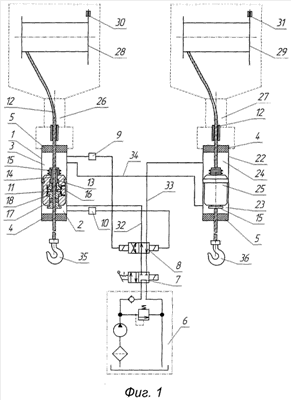
На фиг.1 изображена предлагаемая лебедка с гидравлическим шаговым приводом, ее принципиальная схема; на фиг.2 изображен разрез поршня с гибким штоком.
Двухканатная лебедка с гидравлическим шаговым приводом содержит цилиндр 1 с рабочей 2 и возвратной 3 полостями и узлами 4 и 5 герметизации, насосный агрегат 6, гидрораспределители 7 и 8, датчики 9 и 10 контроля положения. В цилиндре 1 установлен поршень 11, имеющий возможность перемещения вдоль гибкого штока 12. Поршень 11 выполнен с расточкой 13, в которой размещена коническая цанга 14, подпружиненная при помощи пружины 15 относительно поршня 11, охватывающая гибкий шток 12 и взаимодействующая со ступенчатым поршнем 16, размещенным в поршне 11. Шток 12 уплотнен относительно поршня 11 поджимным сальником 17 с нажимным элементом 18. Ступенчатый поршень 16 и нажимной элемент 18 образуют в расточке 13 поршня 11 полости 19-21 (смотри фиг.2). При этом полости 19 и 21 сообщены посредством зазоров между частями сборного поршня с возвратной полостью 3, а полость 20 – с рабочей полостью 2. Такой же гибкий шток 12 проходит через второй гидроцилиндр 22, имеющий такие же узлы герметизации 4 и 5, рабочую 23 и возвратную полость 24 и поршень 25, имеющий точно такую же конструкцию, что и поршень 11, и поэтому изображенный на чертеже без разреза – непрозрачным.
При этом поршень 25 так расположен в гидроцилиндре 22, что тяговое усилие, развиваемое им, направлено согласно тяговому усилию, развиваемому поршнем 11. Сигнал о крайнем нижнем положении поршня 11 поступает на датчик положения 10, а сигнал о верхнем положении поршня 11 поступает на датчик положения 9. В верхней части гидроцилиндров 1 и 22 размещены траверсы 26 и 27, на которых установлены (показаны условно) катушки 28 и 29 (реборды которых снабжены дисковыми тормозами 30 и 31), предназначенные для приемки и укладки холостых ветвей канатов (гибких штоков) 12. Катушка 28 и 29 имеет внутри привод для их вращения (на схеме не показан, как не имеющий отношения к сути заявки).
Рабочая полость 2 соединена трубопроводом 32 с гидрораспределителем 8, а возвратная полость 24 с тем же гидрораспределителем 8 соединена трубопроводом 33. Рабочая полость 23 соединена с возвратной полостью 3 трубопроводом 34. На рабочих ветвях канатов (гибких штоках) 12 помещены прицепные устройства 35 и 36.
Двухканатная лебедка с гидравлическим шаговым приводом работает следующим образом.
Предварительно двухканатная лебедка с гидравлическим шаговым приводом устанавливается в горизонтальном положении.
При подаче рабочей среды от насосного агрегата 6 через гидрораспределители 7 и 8 в рабочую полость 2 поршень 11 перемещается вверх, перемещая в том же направлении и шток 12. При этом поршень 11 вытесняет гидрожидкость из возвратной полости 3 гидроцилиндра 1 через трубопровод 34 в рабочую полость 23 гидроцилиндра 22. В связи с тем, что из полости 3 вытесняется столько же жидкости, сколько ее поступает в полость 2, то при попадании ее в полость 23 поршень 25 переместится вверх на то же расстояние, что и поршень 11, а из полости 24 будет вытеснено такое же количество гидрожидкости, которая по трубопроводу 33 через распределитель 8 будет сброшена в бак маслостанции.
Прицепные устройства 35 и 36 также переместятся на одинаковое расстояние и переместят синхронно перемещаемый объект. По достижении поршнем 11 крайнего верхнего положения сигнал с датчика положения 9 поступит на катушку управления гидрораспределителя 8, который переключится в реверсивный режим.
При этом распределитель 8 переключится в положение подачи гидрожидкости в возвратную полость 24 гидроцилиндра 22 и сброса гидрожидкости из рабочей полости 2 гидроцилиндра 1. По достижении поршнем 11 нижнего положения датчик положения 10 заставит переключиться гидрораспределитель 8 в положение, обеспечивающее ход поршня 11 вверх.
Далее цикл повторяется многократно, если система не будет отключена распределителем 7. При этом грузы, находящиеся на прицепных устройствах 35 и 36, будут синхронно перемещаться в верхнее направление, а холостые ветви канатов 12 будут поступать соответственно на приемные катушки 28 и 29 для укладки и аккумулирования.
Синхронность движения поршней 11 и 39 достигается за счет соединения трубопроводом рабочей полости одного из цилиндров с возвратной полостью другого цилиндра трубопроводом. Этим достигается равномерное распределение (поровну) количества жидкости, поступающей в цилиндры.
Для решения поставленной задачи – синхронного движения двух поршней, обычно используются специальные устройства и конструкции: мультипликаторы, делители расхода с балансировочными клапанами (смотри, например, [3] стр.440, рис.191, а, б, в). Применение таких устройств значительно усложняет и удорожает все устройство.
Для остановки системы в любой момент (например, вручную) достаточно при помощи распределителя 7 прекратить подачу рабочей жидкости от маслостанции 6. При этом дополнительно катушки 28 и 29 могут быть заторможены дисковыми тормозами 30 и 31. Дисковые тормоза предназначены также для осуществления маневровых операций, например, при спуске груза.
Для возобновления работы достаточно включить распределитель 7, а для осуществления реверса необходимо воздействовать на систему распределителем 8 (например, при местном управлении).
Литература
1. A.c. CCCP №1368249, кл. В66В 15/00, 1988.
2. А.с. СССР №1404693, кл. F15В 11/12, 1988.
3. Ковалевский В.Ф., Железняков Н.Т., Бейлин Ю.Е. Справочник по гидроприводам горных машин. Изд. 2-е, перераб. и доп. М. (1-е изд. – 1967), «Недра», 1973, 504 с.
Формула изобретения
Двухканатная лебедка с гидравлическим шаговым приводом, содержащая гибкие штоки в виде каната закрытой конструкции, гидроцилиндры с рабочими и возвратными полостями и узлами герметизации, поршни, узел уплотнения поджимных сальников с нажимными элементами, размещенными в поршнях, полости, сообщенные с рабочими полостями гидроцилиндров, узлы фиксации в виде подпружиненных конических цанг, отличающаяся тем, что поршень одного из гидроцилиндров расположен так, что тяговое усилие, развиваемое им, направлено согласно тяговому усилию, развиваемому поршнем другого гидроцилиндра, а возвратная полость одного из гидроцилиндров двухканатной лебедки соединена трубопроводом с рабочей полостью второго, а рабочая полость второго и возвратная полость первого попеременно получают питание рабочей жидкостью от маслостанции непосредственно через реверсивный гидрораспределитель.
РИСУНКИ
|
|