|
(21), (22) Заявка: 2006124507/11, 07.07.2006
(24) Дата начала отсчета срока действия патента:
07.07.2006
(43) Дата публикации заявки: 20.01.2008
(46) Опубликовано: 20.03.2009
(56) Список документов, цитированных в отчете о поиске:
WO 2004063075 А1, 29.07.2004. JP 2001072398 А1, 19.02.2001. RU 2012540 С1, 15.05.1994. SU 285187 А1, 29.10.1970. SU 1533977 А1, 07.01.1990. RU 2181426 C1, 20.04.2002. RU 2231259 C2, 27.06.2004.
Адрес для переписки:
630020, г.Новосибирск-20, а/я 78, А.С. Турковскому
|
(72) Автор(ы):
Власов Алексей Викторович (RU)
(73) Патентообладатель(и):
Общество с ограниченной ответственностью “Росресурсы и К” (RU)
|
(54) ПОДВЕСНОЕ УСТРОЙСТВО МНОГОКАНАТНОЙ ПОДЪЕМНОЙ УСТАНОВКИ
(57) Реферат:
Изобретение относится к шахтному подъемнику и может использоваться в угольной и горнорудной промышленности. Подвесное устройство многоканатной подъемной установки состоит из гидравлических домкратов, переходных элементов, канатов и поперечной балки подъемного сосуда или противовеса. Гидравлические домкраты включены в единую гидравлическую систему. Гидравлические домкраты нижней пятой жестко закреплены непосредственно на поперечной балке подъемного сосуда или противовеса. Штоки гидравлических домкратов присоединены к переходным элементам. Переходные элементы расположены между домкратами и тягами. Канаты закреплены в коушах. Тяги выполнены с возможностью их скольжения по направляющим, закрепленным на поперечной балке. Достигается повышение надежности, снижение высоты конструкции и устойчивости к горизонтальным перемещениям. 3 з.п. ф-лы, 3 ил.
Изобретение относится к шахтному подъему и может использоваться в угольной и горнорудной промышленности.
Известно подвесное устройство шахтного подъемного сосуда RU 772966 [1], содержащее гидравлические домкраты, канатные коуши, соединенные с домкратами, и узел предотвращения раскручивания подъемных канатов, включающий в себя направляющие. Узел предотвращения раскручивания подъемных канатов содержит ролики, каждый из которых установлен на корпусе гидроцилиндра домкрата с возможностью перемещения по направляющей, которая размещена параллельно корпусу гидроцилиндра и закреплена на его штоке.
Недостатком устройства является использование нестандартных гидравлических домкратов, в которых рабочая жидкость размещена со стороны штока. Наличие нестандартных устройств приводит к повышению стоимости устройства и удорожанию эксплуатации, что отрицательно сказывается на экономических показателях устройства. Также недостатком конструкции является наличие усилий на гидравлический домкрат, направленных перпендикулярно ходу штока, приводящих к повышенному износу гидравлического домкрата.
Наиболее близким к заявляемому техническому решению является подвесное устройство шахтного подъемного сосуда SU 285187 [2]. Подвесное устройство шахтного подъемного сосуда содержит гидравлические домкраты, траверсы (верхнюю и нижнюю), тяги, выполнено с подвижной крестовиной, расположенной между траверсами и направляющими, снабженными ограничительными упорами.
Недостатком известного устройства является повышенная сложность конструкции, приводящая к пониженной надежности устройства в целом. Также недостатком является повышенные габариты, в частности, высота конструкции и масса устройства, приводящие к низким массогабаритным показателям. Недостатком является пониженная устойчивость конструкции к горизонтальным перемещениям.
Техническим эффектом данного изобретения является повышение надежности, повышение массогабаритных показателей, в частности снижение высоты конструкции и устойчивости к горизонтальным перемещениям.
Технический эффект достигается тем, что гидравлические домкраты нижней пятой жестко закрепляют непосредственно на поперечную балку подъемного сосуда или противовеса, штоки гидравлических домкратов присоединяют к переходным элементам от домкратов к тягам, а тяги выполняют с возможностью их скольжения по направляющим, закрепленным на поперечной балке.
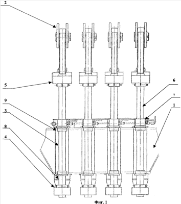
На фиг.1 схематически показано предлагаемое устройство, где
1 – поперечная балка подъемного сосуда или противовеса;
2 – коуши;
3 – гидравлические домкраты;
4 – переходный элемент от гидравлического домкрата к тягам;
5 – переходный элемент от тяг к коушам;
6 – тяги;
7 – втулки;
8 – шток гидравлического домкрата;
9 – пята гидравлического домкрата.
На фиг.2 показан разрез предлагаемого устройства.
Тяги могут быть соединены с поперечной балкой подъемного сосуда, например, посредством цилиндрических втулок.
Для повышения удобства монтажа и обслуживания гидравлическая система может быть снабжена отсекателем и гидронасосом.
На фиг.3 показан пример выполнения гидравлической схемы предлагаемого устройства, где
10 – гидравлические домкраты;
11 – гидромагистраль;
12 – трубопроводы;
13 – отсекатели;
14 – гидронасос.
Подвесное устройство действует следующим образом: перед началом работы все гидравлические домкраты 10 подключены к гидромагистрали 11. Штоки 8 втянуты. Гидронасосом 14 нагнетается рабочая жидкость в подпоршневые полости гидравлических домкратов, выдвигая штоки 8 на половину максимального хода штоков. Затем подъемный сосуд или противовес (в зависимости от конструкции шахтного подъемника) освобождается от крепления и его вес посредством поперечной балки сосуда 1 воспринимается гидравлическими домкратами 3 через пяту 9. Штоки 8 гидравлических домкратов передают вертикальное усилие через переходные элементы от гидравлических домкратов к тягам 4 на тяги 6. Тяги 6 передают вертикальное усилие на коуши 2 посредством переходных элементов тяг к коушам 5. Коуши 5 передают вертикальное усилие на подъемные канаты (не показаны). Тяги 6 передают усилия в горизонтальном направлении на поперечную балку подъемного сосуда или противовеса 1 посредством втулок 7. Так как подпоршневые полости всех гидравлических домкратов гидравлически связаны между собой, происходит выравнивание усилия натяжения во всех канатах подъемной установки. В случае необходимости производится корректировка величины выдвижения штоков гидравлических домкратов при помощи ручного насоса 14 и отсекателя 13.
Предлагаемое устройство обладает существенно меньшим, по сравнению с прототипом, количеством деталей и промежуточных креплений, что повышает надежность устройства в целом.
Устройство обладает пониженной массой и габаритами, в частности высотой, что позволяет переоборудовать действующие подъемные установки, не увеличивая высоту переподъема.
Устройство обладает благодаря фиксации жестких вертикальных тяг в горизонтальном направлении повышенной устойчивостью к горизонтальным перемещениям.
Дополнение установки гидронасосом и отсекателем позволяет упростить запуск и обслуживание предлагаемого подвесного устройства. При необходимости произвести операции с отдельным канатом соответствующий гидравлический домкрат может быть отключен от общей гидромагистрали. Давление гидравлического домкрата может быть снижено, например, путем перетекания подпоршневой жидкости в соответствующую емкость. После ослабления каната можно производить операции перепанцировки каната, замены домкрата и т.д.
Промышленное применение. Изобретение может быть с успехом применено в шахтных подъемных установках.
Формула изобретения
1. Подвесное устройство многоканатной подъемной установки, включающее гидравлические домкраты, включенные в единую гидравлическую систему, переходные элементы от домкратов к тягам, соединенные двумя тягами каждый с верхними переходными элементами от тяг к коушам, канаты, закрепленные в коушах, поперечную балку подъемного сосуда или противовеса, отличающееся тем, что гидравлические домкраты нижней пятой жестко закрепляют непосредственно на поперечную балку подъемного сосуда или противовеса, штоки гидравлических домкратов присоединяют к переходным элементам от домкратов к тягам, а тяги выполняют с возможностью их скольжения по направляющим, закрепленным на поперечной балке.
2. Устройство по п.1, отличающееся тем, что тяги выполняют цилиндрической формы, а в качестве направляющих применяют втулки с отверстиями, соответствующими тягам.
3. Устройство по п.1, отличающееся тем, что гидравлическая система снабжена отсекателем.
4. Устройство по п.1, отличающееся тем, что гидравлическая система снабжена гидронасосом.
РИСУНКИ
|