|
(21), (22) Заявка: 2005133409/11, 28.10.2005
(24) Дата начала отсчета срока действия патента:
28.10.2005
(30) Конвенционный приоритет:
30.10.2004 DE 102004052784.9
(43) Дата публикации заявки: 10.05.2007
(46) Опубликовано: 20.03.2009
(56) Список документов, цитированных в отчете о поиске:
JP 63143114 А, 15.06.1988. US 2002066640 А1, 06.06.2002. RU 2013209 С1, 30.05.1994. RU 2221734 С2, 20.01.2004. GB 2077209 А, 16.12.1981. US 3834516 А, 10.09.1974. SU 582158 А1, 18.11.1977.
Адрес для переписки:
103735, Москва, ул. Ильинка, 5/2, ООО “Союзпатент”, пат.пов. И.М.Захаровой
|
(72) Автор(ы):
ВАГНЕР Штефан (DE), РИПКЕНС Ганс-Герд (DE), ВИЛЛЕМСЕН Штефан (DE), НЕБЕЛЬ Франк (DE)
(73) Патентообладатель(и):
КХС МАШИНЕН-УНД АНЛАГЕНБАУ АГ (DE)
|
(54) ПОВОРОТНОЕ УСТРОЙСТВО
(57) Реферат:
Устройство для поворота (16) упаковок содержит основное колесо (13) с поворотными элементами, взаимодействующими с упаковками. При поступательном движении каждая из упаковок упирается своей фронтальной стороной в один из поворотных элементов, и при последовательном вращении основного колеса прилегающая к поворотному элементу упаковка двигается в направлении подачи, а затем захватывается следующим поворотным элементом, отделяется от ряда следующих упаковок. После прохождения верхней точки полукруга, описываемого поворотными элементами перпендикулярно направлению транспортировки, упаковка захватывается ленточным транспортером (17) и отводится от основного колеса. Обеспечивается возможность работы устройства в высокопроизводительных режимах и с разными размерами упаковки. 2 н. и 13 з.п. ф-лы, 2 ил.
Настоящее изобретение относится к поворотному устройству для двух или n-угольных упаковок согласно ограничительной части пункта 1 формулы изобретения. Предпочтительные варианты осуществления изобретения приведены в зависимых пунктах формулы изобретения.
Большое количество поступающих в торговлю продуктов имеют упакованный вид. При этом на четырехугольные упаковки, в основном, с плоским основанием приходится наибольшая доля. Такие упаковки могут быть выполнены, например, из жести, пластмассы или же бумаги и разных видов картона. В отношении содержащихся в этих упаковках товаров имеются лишь незначительные ограничения, вследствие чего почти все товары такие как, например, мука, рис, напитки, гвозди и пр., могут предлагаться в таких упаковках. При производстве таких товаров речь идет преимущественно о массовой продукции, оптимизированной и рассчитанной на производство в больших количествах, вследствие чего, например, в единицу времени формируется большое количество заполненных продуктом упаковок.
В целях максимально возможного снижения капитальных затрат и площадей под такие производственные установки особо оптимальным оказалось транспортировать упаковки и пакеты в таком положении, чтобы они по возможности располагались «впритык», т.е. без образования зазора или промежутка между двумя упаковками. Благодаря такому приему стало возможным существенно сократить площади и, следовательно, протяженность необходимых транспортеров. Также за счет этой меры повысилась устойчивость упаковок во время их перемещения.
Во время производственного процесса может оказаться необходимым, чтобы для последующей технологической операции или обработки пакеты поворачивались вокруг своей вертикальной оси, причем во многих случаях такой поворот должен составлять 90°.
Для решения этой задачи известно, например, устройство по патенту Германии № 4214321 С2. В этом устройстве упаковки перемещаются по его нижней стороне ленточными транспортерами, установленными на противолежащих концах этой нижней стороны, при этом ленточные транспортеры приводятся в движение с разной скоростью. По меньшей мере, на отдельном участке между обоими ленточными транспортерами расположен дополнительный ленточный транспортер, с помощью которого упаковки выводятся из устройства. Вследствие разности скоростей ленточных транспортеров упаковки разворачиваются вокруг своей вертикальной оси во время перемещения через устройство сначала на угол, меньший 90°. После выхода упаковок из зоны действия обоих ленточных транспортеров они перемещаются далее средним ленточным транспортером и затем упираются в упорную кромку, которая вызывает их дополнительный поворот. После этого упаковки поступают на участок с боковыми воронкообразными направляющими, которые завершают требуемый разворот на 90°.
Недостатки такого устройства заключаются в том, что для своего поворота упаковки не должны располагаться встык и, следовательно, предварительно должны быть разобщены и что упор упаковок в упорную кромку вызывает неопределенный, в основном, случайный поворот.
Кроме того, устройство по патенту Германии № 4214321 С2 предназначено только для установок с низкой производительностью.
Также известно устройство по патенту Германии №4036627. В этом устройстве поворачиваемые упаковки перемещаются транспортером, содержащим, по меньшей мере, две ленты, причем одна лента выполнена с отверстием. В этом отверстии располагается приводимый во вращение, плоский или имеющий вид усеченного конуса диск.
Транспортеры расположены таким образом, что упаковки поступают на диск одним из своих нижних передних углов, в результате чего этот передний угол ускоренно перемещается в направлении к середине транспортеров.
При дальнейшем повороте диск захватывает упаковку за ее нижнюю продольную кромку и прокатывается по ней почти по всей ее длине. Поскольку окружная скорость диска в толчках прокатывания выше, чем линейная скорость транспортера, уже начавшееся вращательное движение будет продолжаться.
Благодаря соответствующему расположению боковых направляющих и/или предпочтительному регулированию скоростью транспортера, примыкающего к диску, завершается требуемый поворот на 90°.
Согласно этому предложению также требуется, чтобы поворачиваемые упаковки входили в устройство не впритык, а с зазором. Поворот происходит также, в основном, произвольно, вследствие чего сомнительна возможность применения в условиях повышенной производительности.
Наконец в патенте Германии №3043469 С2 описано еще одно устройство для поворота упаковок на 90°. При этом устройстве поворот осуществляется с помощью отклоняющих элементов, установленных на вертикальной вращающейся оси.
При этом указанные отклоняющие элементы сначала находятся в состоянии покоя в положении, в котором они способны захватить подведенную упаковку. Как только такая упаковка упрется в отклоняющие элементы, происходит поворот на 90°. При этом обращенные от отклоняющих элементов боковые поверхности или кромки упаковки оказываются в зоне действия приводного фрикционного ленточного транспортера, который в результате направления и перемещения боковых поверхностей или кромок воздействует на упаковку таким образом, что происходит эффективное содействие ее вращательному движению.
По завершении поворота упаковки отклоняющие элементы снова приходят в состояние покоя и находятся в положении захвата до тех пор, пока в устройство не поступит следующая упаковка.
Хотя поворот в этом устройстве является, в основном, управляемым и задаваемым, однако необходимость разобщения и периодический режим работы препятствуют более высокой производительности установки.
Особым недостатком всех известных устройств для поворота упаковок вокруг их вертикальной оси является то, что упаковки для поворота должны быть разъединены. Такое разъединение обуславливает, как правило, повышение скорости движения упаковок, что означает не только дополнительные затраты на оборудование и возрастание расходов, но и, кроме того, это усложняет собственно поворот.
Далее известны устройства (ЕР-А-1388509, US-A-3834516, GB-A-2077209), которые позволяют поворачивать вплотную примыкающие друг к другу в ряд на транспортере в направлении транспортировки стоящие на нем упаковки вокруг их вертикальной оси на 90°. В принципе, эти известные устройства состоят из приводимого во вращение вокруг вертикальной оси транспортного колеса или звездочки, с помощью которого/которой каждая первая, стоящая наготове на позиции загрузки упаковка захватывается поводком, выдвигается поперек направления транспортировки транспортера вбок из ряда упаковок и движется со скольжением заодно с транспортером по обусловленной поворотным движением транспортной звездочки круговой траектории, пока эта упаковка на позиции освобождения не будет отпущена транспортным колесом или звездочкой или его/ее поводком и отведена транспортером в направлении подачи.
В этих известных устройствах поводки выполнены на лежащем радиально снаружи по отношению к оси поворота периферийном участке транспортного колеса или звездочки, из-за чего согласование с разными размерами упаковок невозможно или возможно лишь условно.
Задачей настоящего изобретения является создание поворотного устройства, с помощью которого поворот упаковок на 90° вокруг их вертикальной оси может быть осуществлен под контролем и быстро также для разных размеров упаковок.
Эта задача решается посредством поворотного устройства согласно пункту 1 формулы изобретения и способа согласно пункту 11 формулы изобретения. Предпочтительные модификации являются объектом зависимых пунктов.
Ниже изобретение подробнее поясняется с помощью примера его осуществления.
При этом показаны на:
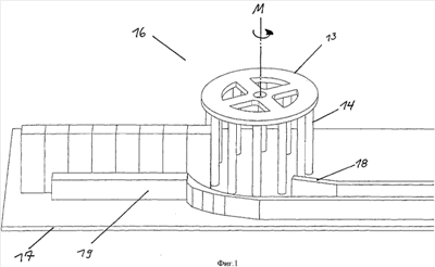
фиг.1 в виде трехмерного изображения общий вид поворотного устройства согласно изобретению,
фиг.2 процесс поворачивания упаковок, отдельные операции, вид сверху а-d.
Варианты осуществления, преимущества и возможности применения изобретения вытекают из приводимого ниже описания примеров осуществления и чертежа. При этом все описанные и/или графически представленные признаки сами по себе или в любой комбинации образуют предмет изобретения, причем независимо от их изложения в пунктах формулы изобретения или их подчиненности. Одновременно содержание формулы изобретения является составной частью описания.
В объем настоящего изобретения входит не только поворот рассмотренных четырехугольных упаковок, но также и поворот двух-, трех- или n-угольных упаковок.
Как изображено на фиг.1, поворотное устройство 16 расположено над транспортером или ленточным транспортером 17, причем не требуется, чтобы ленточный транспортер проходил через всю ширину поворотного устройства 16.
Поворотное устройство 16 состоит из основного колеса 13, установленного с зазором по отношению к плоскости ленточного транспортера и приводимого во вращение вокруг своей основной оси М приводным устройством (не показано).
На основном колесе 13 предусмотрено наличие нескольких поворотных элементов 14, установленных, в основном, вертикально от основного колеса 13 вниз в направлении к плоскости ленточного транспортера 17.
Для направления упаковок до, во время и после их поворота предусмотрены внутренняя направляющая 18 и наружная направляющая 19.
Функционирование поворотного устройства 16 представлено на фиг.2 в изображениях a-d.
С помощью ленточного транспортера 17 упаковки 20 подаются на поворотное устройство 16. При этом упаковки 20 могут располагаться впритык. Во время поступательного движения каждая из упаковок 20 упирается своей фронтальной стороной в один из поворотных элементов 14, в результате чего движение замедляется, но не снижается до нуля. Вследствие того, что скорость движения упаковок 20 постоянно больше нуля, такое поворотное устройство 16 особенно пригодно для высокопроизводительного режима работы.
В результате последовательного вращения основного колеса 13 прилегающая к поворотному элементу 14 упаковка 20 продолжает двигаться в направлении подачи. После достижения основным колесом 13 определенного угла поворота упаковка 20 захватывается на ее прилегающей к внутренней направляющей 18 стороне следующим поворотным элементом 14.
Целесообразно выбирать размеры основного колеса 13, поворотных элементов 14 и направляющих 18, 19 такими, чтобы захват упаковки следующим поворотным элементом 14 происходил посередине или на участке между серединой и тыльной стороной, так как таким образом обеспечивается оптимальный поворот.
При последующем повороте основного колеса 13 упаковка 20 сначала отделяется от ряда следующих упаковок 20 и при дальнейшем движении поворачивается вокруг своей вертикальной оси на определенный угол. При этом достигается то особое преимущество, что упаковки 20 надежно направляются поворотными элементами 14.
При вращательном движении основного колеса 13 поворотные элементы 14 описывают в числе прочего полукруг перпендикулярно направлению транспортировки. После прохождения отдельной упаковкой 20 верхней точки этого полукруга направляющее действие поворотных элементов 14 – вследствие соответствующей геометрии – ослабевает. Начиная с определенного, соотнесенного с отдельной упаковкой 20 угла поворота основного колеса 13, это действие становится настолько незначительным, что упаковка 20 захватывается непрерывно движущимся ленточным транспортером 17 и таким образом полностью отводится от основного колеса 13.
После прохождения короткого пути упаковка 20 упирается во внутреннюю направляющую 18, которой она выравнивается и направляется таким образом, что завершается поворот на требуемые 90°.
С учетом того что внутренняя направляющая 18 должна замедлить движение упаковки 20 на ее прилегающей стороне по отношению к противолежащей стороне этой упаковки, особо предпочтительным является выполнение релевантного участка внутренней направляющей 18 таким, чтобы коэффициент трения этой направляющей превышал коэффициент трения наружной направляющей 19.
Согласно другому варианту осуществления настоящего изобретения выполнение, по меньшей мере, релевантного участка наружной направляющей 19 предусмотрено таким, что он придает ускорение упаковке 20 на прилегающей к нему стороне, для чего применяются, например, направляющие, образованные приводным ленточным транспортером.
В рамках настоящего изобретения также предусмотрено выполнение релевантных участков внутренней и наружной направляющих 18, 19 в виде приводных ленточных транспортеров, причем эти транспортеры могут приводиться в движение с одинаковой или разными скоростями.
В рассматриваемом примере выполнения поворотные элементы 14 имеют круговое сечение. В еще одном варианте осуществления изобретения предусмотрена замена этого кругового сечения на конфигурацию, которая лучше подходит к наружному контуру упаковок 20. Так, например, предусмотрено плоскостное выполнение поворотных элементов 14, способных взаимодействовать с боковыми поверхностями упаковок 20 на большой площади. Также предусматривается снабдить поворотные элементы 14 направляющим элементом 21 (фиг.2b), соответствующим форме передней кромки упаковки 20 и таким образом дополнительно обеспечивающим надежный поворот.
Благодаря тому что изображенный в качестве примера направляющий элемент 21 образует упорную поверхность, которая препятствует тому, что упаковки 20 или их кромки заходят в поворотное устройство настолько глубоко, что позже они не могут быть надежно снова выведены из этого устройства, такая компоновка особенно пригодна для поворота упаковок с 2 или 3 углами.
В другом варианте осуществления предусмотрено выполнение поворотных элементов 14 с возможностью поворота вокруг их вертикальной оси, в результате чего также достигается надежный поворот упаковок 20. В качестве примера для этого предлагается поворачивать с возможностью управления поворотные элементы 14 во время вращения основного колеса 13 с помощью невращающегося кулачкового диска. В качестве альтернативы предлагается придавать поворотным элементам 14 вращательное движение с помощью серводвигателей, причем угол поворота каждого поворотного элемента 14 определяется его достигнутым в настоящий момент угловым положением при вращении основного колеса 13 на 360°.
Для упрощения настройки рассматриваемого устройства на разные размеры упаковок в другом варианте осуществления предложено такое выполнение поворотных элементов 14, при котором эти элементы удерживаются в основном колесе 13 с возможностью регулировки по отношению к вертикальной оси этого колеса, радиально и/или по дуге окружности.
Также предлагается, чтобы поворотные элементы 14 закреплялись в основном колесе 13 с возможностью их замены.
В качестве приводного двигателя в неизображенном приводном устройстве основного колеса 13 применяется преимущественно так называемый серводвигатель или синхронный двигатель. В рамках настоящей заявки под этим понятием следует подразумевать любой вид приводного двигателя, который можно эксплуатировать с возможностью регулировки, причем в отдельности или в любой комбинации задают, например, угол поворота, направление поворота, угловую скорость и вращающий момент двигателя управляющим устройством, например задающим компьютером, определяют с помощью датчиков фактические показатели, сравнивают их с помощью соответствующего вычислительного устройства с заданными показателями и при необходимости автоматически корректируют отклонения ответными мерами.
Благодаря применению такого серводвигателя становится возможным, например, использовать основное колесо 13 не только в непрерывном режиме, но и в шаговом, в результате чего это колесо будет применяться только в том случае, когда упаковки поступят для их поворачивания.
Формула изобретения
1. Устройство для поворота упаковок с двух- или n-угольным поперечным сечением и, в основном, плоским основанием на угол преимущественно 90° вокруг своей вертикальной оси, содержащее несколько предусмотренных на основном колесе поворотных элементов, взаимодействующих с упаковками, отличающееся тем, что поворотные элементы выполнены с возможностью взаимодействовать с упаковками таким образом, что при поступательном движении каждая из упаковок упирается своей фронтальной стороной в один из поворотных элементов и при последовательном вращении основного колеса прилегающая к поворотному элементу упаковка двигается в направлении подачи, а затем захватывается следующим поворотным элементом, отделяется от ряда следующих упаковок и после прохождения верхней точки полукруга, описываемого поворотными элементами перпендикулярно направлению транспортировки, упаковка захватывается ленточным транспортером и отводится от основного колеса.
2. Устройство по п.1, отличающееся тем, что основное колесо (13) расположено над транспортером (15).
3. Устройство по п.1, отличающееся тем, что поворотные элементы (14) направлены в основном вертикально вниз от основного колеса.
4. Устройство по п.3, отличающееся тем, что поворотные элементы (14) имеют сечение, которое соответствует наружному контуру упаковок.
5. Устройство по п.4, отличающееся тем, что поворотные элементы (14) установлены с возможностью управляемого вращения вокруг своей вертикальной оси.
6. Устройство по п.5, отличающееся тем, что управление вращательным движением поворотных элементов (14) вокруг своей вертикальной оси достигается с помощью кулачкового управляющего устройства.
7. Устройство по п.5, отличающееся тем, что управление вращательным движением поворотных элементов вокруг своей вертикальной оси достигается с помощью серводвигателей и задающего компьютера.
8. Устройство по любому из пп.1-7, отличающееся тем, что поворотные элементы (14) выполнены с возможностью устанавливаться по отношению к основному колесу (13) радиально и/или по дуге окружности.
9. Устройство по п.8, отличающееся тем, что поворотные элементы (14) выполнены сменными.
10. Устройство по п.1, отличающееся тем, что на транспортере (17) предусмотрены боковые направляющие (18, 19) для упаковок (20), при этом боковые направляющие (18, 19) имеют разные коэффициенты трения,
11. Устройство по п.10, отличающееся тем, что, по меньшей мере, одна боковая направляющая (18, 19) состоит из приводного элемента.
12. Устройство по п.1, отличающееся тем, что на поворотных элементах (14) закреплен, по меньшей мере, один направляющий элемент (21).
13. Способ поворота упаковок с двух- или n-угольным поперечным сечением и, в основном, плоским основанием, при котором упаковки (20) перемещают по транспортеру, подают упаковки на поворотное устройство без зазора между ними, захватывают и направляют поворотными элементами (14) поворотного устройства, отличающийся тем, что используют поворотное устройство, расположенное над транспортером и состоящее из основного колеса (13), установленного с зазором по отношению к плоскости транспортера, и поворотных элементов (14), проходящих в основном вертикально от основного колеса вниз в направлении к плоскости транспортера, причем упаковки внутри поворотного устройства перемещают со скоростью больше нуля и поворачивают на угол преимущественно 90° вокруг своей вертикальной оси без предварительного разъединения.
14. Способ по п.13, отличающийся тем, что поворотные элементы (14) воздействуют на грани и/или кромки упаковок (20).
15. Способ по п.13 или 14, отличающийся тем, что поворотное устройство (16) используют в непрерывном или периодическом режиме.
РИСУНКИ
|