|
|
(21), (22) Заявка: 2007117665/11, 11.05.2007
(24) Дата начала отсчета срока действия патента:
11.05.2007
(46) Опубликовано: 20.03.2009
(56) Список документов, цитированных в отчете о поиске:
RU 2291821 С1, 20.01.2007. RU 2195417 С2, 27.12.2002. СА 2065356 А, 01.05.1991. US 4500057 А, 19.02.1985.
Адрес для переписки:
141070, Московская обл., г. Королев, ул. Ленина, 4а, ОАО “РКК “Энергия” им. С.П. Королева, отдел интеллектуальной собственности
|
(72) Автор(ы):
Земцов Геннадий Александрович (RU), Павлов Виктор Николаевич (RU), Пучков Андрей Евгеньевич (RU), Фролов Леонид Иванович (RU)
(73) Патентообладатель(и):
Открытое акционерное общество “Ракетно-космическая корпорация “Энергия” имени С.П. Королева” (RU)
|
(54) АГРЕГАТ СТЫКОВОЧНЫЙ ПАССИВНЫЙ
(57) Реферат:
Изобретение относится к космической технике, в частности к стыковочным устройствам космических аппаратов, которые применяются для обеспечения жесткой электромеханической связи между двумя стыкующимися в условиях космического пространства космическими аппаратами с обеспечением герметичного переходного туннеля. Агрегат стыковочный пассивный содержит основной корпус, устанавливаемый и механически фиксируемый на привалочной плоскости космического модуля соосно его продольной оси, механизм герметизации стыка, приемный конус и крышку переходного люка, электро- и гидроразъемы, электромеханические устройства автоматики. В агрегат введен переходной стыковочный узел, выполненный в виде корпуса кольцеобразной формы с двумя стыковочными плоскостями, снабженными электро- и гидроразъемами и электромеханическими устройствами автоматики, и механизма герметизации стыка. Электро- и гидроразъемы и электромеханические устройства автоматики стыковочных плоскостей образуют узлы взаимодействия с соответствующими электро- и гидроразъемами и электромеханическими устройствами автоматики основного корпуса, а одна из стыковочных плоскостей состыкована соосно с основным корпусом посредством соответствующего механизма герметизации стыка с возможностью отстыковки. Достигается расширение функциональных возможностей агрегата. 2 ил.
Изобретение относится к космической технике, в частности к стыковочным устройствам космических аппаратов, которые применяются для обеспечения жесткой электромеханической связи между двумя стыкующимися в условиях космического пространства космическими аппаратами с обеспечением герметичного переходного туннеля.
Использование для обеспечения работы международной космической станции (МКС) кораблей “Союз” и “Прогресс”, стыкуемых к портам МКС, определило облик широко используемого стыковочного механизма типа “штырь-конус”. Однако несущая способность стыковочных агрегатов для ряда стыков МКС недостаточна и препятствует дальнейшему развитию МКС. В настоящее время требуется значительное увеличение несущей способности стыка, в данном случае увеличение изгибающего момента почти в два раза. Известен агрегат стыковочный пассивный (АСП) [1], использовавшийся при эксплуатации орбитальной станции “Салют-6” и содержащий основной корпус, приемный конус, крышку переходного люка и электромеханические элементы, в котором для увеличения несущей способности стыка использовался комплект активных механических замков, обеспечивающий стягивание стыкуемых аппаратов как со стороны АСП, так и со стороны активного агрегата стыковочного. Такой АСП не удовлетворяет текущим требованиям по несущей способности стыка для приема крупногабаритных космических модулей в связи с низкой базовой площадью стыка и соответственно повышенными моментными нагрузками на механические замки АСП.
Известен агрегат стыковочный пассивный [2] содержащий основной корпус, устанавливаемый и механически фиксируемый на привалочной плоскости космического модуля соосно его продольной оси, механизм герметизации стыка, приемный конус и крышку переходного люка, электро- и гидроразъемы, электромеханические устройства автоматики, и взятый за прототип.
Основной недостаток такого АСП заключается в том, что он рассчитан на многоразовую стыковку только с космическими кораблями, имеющими сходные габаритно-массовые характеристики, и не приспособлен к приему крупногабаритных космических модулей.
Техническим результатом предлагаемого изобретения является расширение функциональных возможностей агрегата стыковочного пассивного за счет обеспечения возможности стыковки наряду с кораблями обслуживания МКС крупногабаритных космических модулей дооснащения МКС.
Указанный технический результат достигается тем, что в агрегат стыковочный пассивный, содержащий основной корпус, устанавливаемый и механически фиксируемый на привалочной плоскости космического модуля соосно его продольной оси, механизм герметизации стыка, приемный конус и крышку переходного люка, электро- и гидроразъемы, электромеханические устройства автоматики, в отличие от известного, введен переходной стыковочный узел, выполненный в виде корпуса кольцеобразной формы с двумя стыковочными плоскостями и механизма герметизации стыка, при этом стыковочные плоскости снабжены электро- и гидроразъемами, а также электромеханическими устройствами автоматики, причем электро- и гидроразъемы и электромеханические устройства автоматики образуют узлы взаимодействия с соответствующими электро- и гидроразъемами и электромеханическими устройствами автоматики основного корпуса, а одна из стыковочных плоскостей состыкована соосно с основным корпусом посредством соответствующего механизма герметизации стыка с возможностью отстыковки.
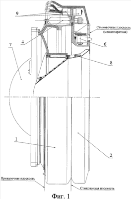
Сущность изобретения поясняется фиг.1-2 на которых изображены:
на фиг.1 – вид сбоку АСП;
на фиг.2 – главный вид АСП.
АСП (фиг.1) содержит основной корпус 1, устанавливаемый на космический модуль по привалочной плоскости, и переходной стыковочный узел 2, стыкуемый с основным корпусом по стыковочной плоскости системой механических замков 3, размещаемых по ее периферии и входящих в механизм герметизации стыка 4. Механические замки 5 размещены по периферии второй стыковочной плоскости (межаппаратной) переходного стыковочного узла 2 и входят в механизм герметизации стыка 6. На основной корпус 1 устанавливается крышка переходного люка 7, которая имеет механическую связь с приемным конусом 8. При этом основной корпус 1 и переходной стыковочный узел 2 содержат электроразъемы 9, а также гидроразъемы 10, электромеханические устройства автоматики 11 (фиг.2), размещаемые по периферии стыковочных плоскостей с образованием узлов взаимодействия между ответными частями соответствующих элементов, размещаемых на основном корпусе 1 и переходном стыковочном узле 2, а также с ответными элементами, размещаемыми на агрегате стыковочном активном.
Подготовка и работа АСП осуществляется следующим образом.
В условиях сборочного цеха производится механическая состыковка переходного стыковочного узла 2 с основным корпусом 1 АСП по стыковочной плоскости с помощью системы механических замков 3 механизма герметизации стыка 4 основного корпуса 1 с возможностью отстыковки. При этом обеспечивается согласование электромеханических и гидромеханических устройств, размещаемых на стыковочной плоскости переходного стыковочного узла 2 и основного корпуса 1 с обеспечением их работоспособности. Крышка переходного люка 7 закрыта. После чего происходит установка и жесткая фиксация АСП на привалочной плоскости космического модуля. Данная конфигурация АСП считается рабочей. После вывода космического модуля в космическое пространство АСП готов к работе. Работа АСП осуществляется совместно с агрегатами стыковочными активными, размещаемыми на стыкуемых космических аппаратах путем образования жесткой механической связи и герметичного переходного тоннеля между стыкуемыми аппаратами, а также электромеханических и гидромеханических узлов взаимодействия элементов между собой. При этом приемный конус 8 АСП служит для выравнивания стыкуемого космического аппарата в пространственных координатах с совмещением продольных осей и предварительной сцепки с штангой стыковочного механизма активного агрегата стыковки. Окончательная стяжка и фиксация стыкуемого космического корабля осуществляется посредством системы механических замков 5 механизма герметизации стыка 6 переходного стыковочного узла 2. С образованием переходного тоннеля и выравниванием давления происходит открытие крышки переходного люка 7 для обеспечения межаппаратного перехода космонавтов. После выполнения всей намеченной программы стыковки космического модуля с космическими кораблями типа «Союз», «Прогресс» и др. происходит отстыковка переходного стыковочного узла 2 от основного корпуса 1 путем нарушения механической связи между корпусами (расфиксации механических замков 3 механизма герметизации 4) и одновременного отвода переходного стыковочного узла 2, состыкованного с космическим кораблем, завершающим данную программу. После этого на освободившуюся стыковочную плоскость (межаппаратную) стыкуется космический модуль дооснащения МКС.
Конструкция АСП обеспечивает полное выполнение поставленной задачи в части надежного функционирования и развития строительства МКС и позволяет произвести многоразовую стыковку с космическими кораблями, а также стыковку с космическим модулем дооснащения с обеспечением увеличения диаметра переходного туннеля. В то же время конструкция АСП, являясь компактной и унифицированной, позволяет не производить существенных доработок стыковочных поверхностей как космического модуля, так и космических кораблей, что позволяет использовать уже имеющиеся конструктивные решения и существенно сократить финансовые затраты по реализации программы. При этом стыковка как с космическими кораблями, так и с модулем дооснащения производится на один стыковочный конус, что существенно упрощает конструктивную схему АСП.
Литература
1. “Салют” на орбите / Коллектив авторов. – М.: Машиностроение, 1973. с.160.
2. Сыромятников В.С. Стыковочные устройства космических аппаратов. – М.: Машиностроение, 1984. с.22-25 – прототип; с.78-84.
Формула изобретения
Агрегат стыковочный пассивный, содержащий основной корпус, устанавливаемый и механически фиксируемый на привалочной плоскости космического модуля соосно его продольной оси, механизм герметизации стыка, приемный конус и крышку переходного люка, электро- и гидроразъемы, электромеханические устройства автоматики, отличающийся тем, что в него введен переходной стыковочный узел, выполненный в виде корпуса кольцеобразной формы с двумя стыковочными плоскостями, снабженными электро- и гидроразъемами, а также электромеханическими устройствами автоматики, и механизма герметизации стыка, причем электро- и гидроразъемы и электромеханические устройства автоматики стыковочных плоскостей образуют узлы взаимодействия с соответствующими электро- и гидроразъемами и электромеханическими устройствами автоматики основного корпуса, а одна из стыковочных плоскостей состыкована соосно с основным корпусом посредством соответствующего механизма герметизации стыка с возможностью отстыковки.
РИСУНКИ
|
|