|
(21), (22) Заявка: 2006142217/11, 30.11.2006
(24) Дата начала отсчета срока действия патента:
30.11.2006
(43) Дата публикации заявки: 10.06.2008
(46) Опубликовано: 20.03.2009
(56) Список документов, цитированных в отчете о поиске:
RU 2003133632 А, 27.04.2005. JP 2006118541 A, 11.05.2006. JP 2004098928 A, 02.04.2004. JP 2001002000 A, 14.08.2000. US 20030213873 A, 20.11.2003. US 3666133 A, 30.05.1972. US 3439885 A, 22.04.1969. EP 1293429 A1, 19.03.2003.
Адрес для переписки:
127410, Москва, ул. Стандартная, 25, кв.52, Е.В. Мохову
|
(72) Автор(ы):
Семенов Валерий Валентинович (RU)
(73) Патентообладатель(и):
Семенов Валерий Валентинович (RU)
|
(54) УСТРОЙСТВО ДЛЯ СОХРАНЕНИЯ ГЕРМЕТИЧНОСТИ ОБОЛОЧКИ КОСМИЧЕСКИХ АППАРАТОВ ПРИ СТОЛКНОВЕНИИ С ВЫСОКОСКОРОСТНЫМИ ТЕЛАМИ
(57) Реферат:
Изобретение относится к средствам защиты космических аппаратов (КА) и сооружений на поверхности небесных тел, не обладающих плотной атмосферой, от возможных последствий разгерметизации данных объектов в результате их столкновения с мелкими метеоритами и другими сторонними телами. Согласно изобретению, устройство содержит не менее одного слоя элементов, приобретающих вращение при внецентренном прохождении через них метеорита или стороннего тела. Эти элементы размещены в защищаемом объеме оболочки КА и выполнены в форме цилиндра или шара. Каждый из указанных элементов помещен в жесткую оболочку, которая обеспечивает свободное вращение элемента. В зазор между оболочкой и данным элементом помещен слой смазки, застывающей при контакте с веществом указанного защищаемого объема или в результате спада давления. Технический результат изобретения состоит в создании надежного и универсального устройства, обеспечивающего сохранение герметичности оболочки КА после столкновения с мелкими метеоритами и сторонними телами. 3 ил.
Область применения
Изобретение относится к средствам защиты космических аппаратов (КА) и сооружений на поверхности небесных тел, не обладающих плотной атмосферой, от возможных последствий разгерметизации данных объектов в результате их столкновения с мелкими метеоритами и другими сторонними телами.
Уровень техники
Из уровня техники известны многочисленные средства и методы для защиты и автоматической герметизации оболочек КА, пробитых метеоритами или сторонними предметами: US 3439885 А, ЕР 1293429 A1, US 3666133 A, RU 2003133632 А и др.
Однако данные средства и методы недостаточно надежны и не гарантируют длительную герметизацию оболочек КА до тех пор, пока в ходе восстановительных работ не будет заделаны образовавшиеся отверстия в корпусе КА или сооружения.
Между началом разгерметизации и началом восстановительных работ может пройти значительное время, за которое КА может погибнуть или ему будет нанесен значительный ущерб, в связи с утечкой воздуха, воды или топлива. Особенно это может быть актуально для необитаемых хранилищ воды, воздуха или топлива в космосе (например, на поверхности Луны). Мелкие метеориты имеют огромную скорость (несколько км/сек или даже на порядок больше) и столкновение с ними не выдержит ни одна известная легкая броня, какой бы мощной она не была. Выведение же КА, обладающих тяжелой броней, на околоземную орбиту затруднено и дорого по причине большой массы брони.
Задачей настоящего изобретения является экстренное и надежное устранение последствий столкновения мелких метеоритов и сторонних предметов (в основном искусственного происхождения – космического мусора) с корпусом КА, без использования для этого тяжелой защиты.
Технический результат настоящего изобретения состоит в создании более надежного и универсального устройства, обеспечивающего сохранение герметичности оболочки КА после столкновения с корпусом КА мелких метеоритов и сторонних тел.
Краткое описание чертежей
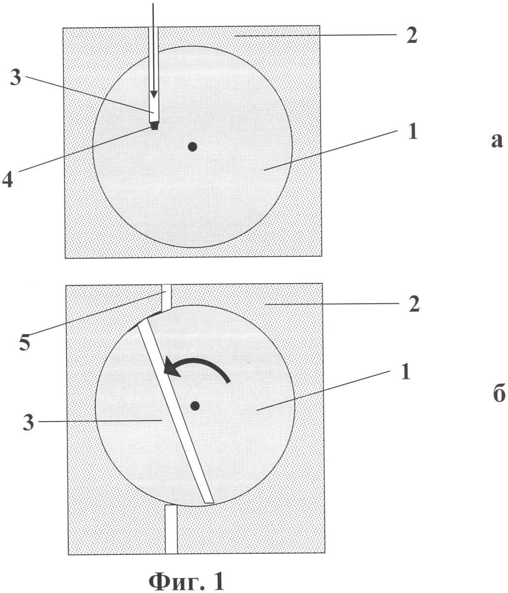
На Фиг.1 показан принцип прохождения метеорита через одиночный вращающийся элемент, где 1 – вращающийся элемент (на чертеже не показана его оболочка), 2 – оболочка (вязкий материал), 3 – отверстие, создаваемое проникновением мелкого метеорита или стороннего тела, 4 – проникающий метеорит или стороннее тело, 5 – канал, пробитый метеоритом, 6 – внешние слои оболочки КА;
На Фиг.2 показан результат прохождения мелкого метеорита или стороннего тела через несколько слоев вращающихся элементов (на чертеже не показана их оболочка);
На Фиг.3 показано конструктивное устройство вращающегося элемента, где 7 – оболочка, 8 – слой смазки.
Осуществление изобретения
Заявленный технический результат достигается за счет того, что устройство для сохранения герметичности оболочки космических аппаратов при столкновении с высокоскоростными телами содержит не менее одного слоя размещенных в защищаемом объеме оболочки космического аппарата элементов, приобретающих вращение при внецентренном прохождении через них метеорита или стороннего тела и выполненных в форме цилиндра или шара, причем каждый из указанных элементов помещен в жесткую оболочку, которая обеспечивает свободное вращение элемента, а в зазор между оболочкой и данным элементом помещен слой смазки, застывающей при контакте с веществом указанного защищаемого объема или в результате спада давления. В оболочке космического аппарата (см. Фиг.2) размещают не менее одного слоя вращающихся элементов (1), выполненных в форме цилиндра или шара. Предпочтительно, чтобы диаметр элементов выбирался таким образом, чтобы был в несколько раз больше тех отверстий, что чаще всего по статистике образуются от столкновения КА с мелкими метеоритами.
Вращающийся элемент (1) может быть из любого материала, обладающего свойствами, исключающими его разламывание и растрескивание, при прохождении мелкого метеорита или стороннего тела через него.
Вращающийся элемент (см. Фиг.3) помещают в жесткую оболочку (7), которая обеспечивает свободное вращение элемента (1) в независимости от внешних сил, в том числе от сил трения других элементов и конструкций КА. Оболочка (7) также должна обладать свойствами выдерживать прохождение мелкого метеорита или стороннего тела и не приводить к заклиниванию вращающегося элемента.
Между оболочкой (7) и вращающимся элементом (1) может быть размещен слой смазки (8) (см. Фиг.3).
Укладка вращающихся элементов должна обеспечивать прохождение метеорита или стороннего тела как минимум через два вращающихся элемента при любой траектории движения метеорита.
Наиболее опасной будет траектория входа метеорита по нормали к оболочке.
Вращающиеся элементы в слое могут быть различных размеров (диаметров).
Размещение вращающихся элементов не должно приводить к снижению прочностных свойств оболочки.
Принцип работы устройства
После пробивания мелкого метеорита или стороннего тела (4) внешней оболочки (6) КА (см. Фиг.1(а, б). Фиг.2(а, б)), далее он(о) проходит через вращающийся элемент (1), из-за давления, оказываемого метеоритом (сторонним телом) на поверхность элемента (1), последний приобретает вращательное движение вокруг своего центра тяжести.
Вращательное движение не возникнет, только если траектория центра метеорита пройдет через центр тяжести вращающегося элемента шара (для цилиндра через ось).
Само по себе это событие имеет низкую вероятность, а при нескольких слоях вращающихся элементов вероятность прохождения центра метеорита через центры тяжести всех элементов равна нулю.
После прохождения метеорита или стороннего тела (4) (см. Фиг.1(б), Фиг.2(б, в)) вращающийся элемент (1) продолжит вращательное движение по инерции, закрывая зону (5) канала (зону) пробитого отверстия (3).
При прохождении мелкого метеорита или стороннего тела (4) через несколько элементов каждый из них также перекроет канал отверстия (3).
После прохождения мелкого метеорита или стороннего тела (4) элементы (1) перекрывают канал (3), пробитый ими, и препятствуют разгерметизации КА.
Дополнительным фактором, увеличивающим надежность защиты, может стать застывание смазки между вращающимся элементом и его оболочкой под воздействием резкого изменения давления или контакта с защищаемым веществом, что приведет к фиксации вращающегося элемента после его поворота и исключению разгерметизации через зазор между вращающимся элементом и его оболочкой.
Канал перекрывается практически мгновенно после прохождения метеорита через оболочку КА, что исключает утечку вещества из защищаемого объема.
У экипажа появляется время для ликвидации последствий столкновения с метеоритом.
Формула изобретения
Устройство для сохранения герметичности оболочки космических аппаратов при столкновении с высокоскоростными телами, содержащее не менее одного слоя размещенных в защищаемом объеме оболочки космического аппарата элементов, приобретающих вращение при внецентренном прохождении через них метеорита или стороннего тела и выполненных в форме цилиндра или шара, причем каждый из указанных элементов помещен в жесткую оболочку, которая обеспечивает свободное вращение элемента, а в зазор между оболочкой и данным элементом помещен слой смазки, застывающей при контакте с веществом указанного защищаемого объема или в результате спада давления.
РИСУНКИ
|