|
|
(21), (22) Заявка: 2007120597/11, 01.06.2007
(24) Дата начала отсчета срока действия патента:
01.06.2007
(46) Опубликовано: 20.03.2009
(56) Список документов, цитированных в отчете о поиске:
RU 2109658 C1, 27.04.1998. RU 2209162 C1, 27.07.2003. US 6622971 A, 23.09.2003. US 2005109878 A, 26.05.2005.
Адрес для переписки:
141070, Московская обл., г. Королев, ул. Ленина, 4а, ОАО “РКК “Энергия” им. С.П. Королева”, отдел интеллектуальной собственности
|
(72) Автор(ы):
Клиппа Владимир Петрович (RU), Веселов Виктор Николаевич (RU), Лакеев Василий Николаевич (RU), Мертвищев Григорий Николаевич (RU), Падалка Александр Иванович (RU), Софинский Алексей Николаевич (RU), Романов Анатолий Александрович (RU), Негодяев Виктор Иванович (RU), Журавлев Владимир Иванович (RU), Катаев Виктор Иванович (RU), Рожков Михаил Викторович (RU)
(73) Патентообладатель(и):
Открытое акционерное общество “Ракетно-космическая корпорация “Энергия” имени С.П. Королева” (RU)
|
(54) РАКЕТНО-КОСМИЧЕСКАЯ СИСТЕМА
(57) Реферат:
Изобретение относится к ракетно-космической технике, а именно к средствам выведения аппаратов космического назначения на заданные орбиты. Ракетно-космическая система содержит ракету-носитель и космический аппарат с головным обтекателем. Введен опорный отсек, установленный на последнюю ступень ракеты-носителя, который обеспечивает стыковку ракеты-носителя с головным обтекателем, имеющим стыковочный диаметр больше стыковочного диаметра последней ступени ракеты-носителя. Опорный отсек имеет наружный и внутренний силовые контуры, состоящие из силовых элементов, размещенных соответственно по образующим конусной и цилиндрической поверхностей, для передачи силовой нагрузки от головного обтекателя и космического аппарата к корпусу ракеты-носителя. В поперечном сечении опорный отсек представляет собой силовой прямоугольный треугольник, малый катет которого расположен в плоскости стыка ракеты-носителя с головным обтекателем. Гипотенуза размещена на образующей конической поверхности опорного отсека, а большой катет является продолжением образующей цилиндрической поверхности корпуса последней ступени ракеты-носителя. Опорный отсек имеет также торцевое разъемное соединение с головным обтекателем, разделяемое в полете, соединение с фермой сопряжения с космическим аппаратом и соединение с корпусом последней ступени ракеты носителя. Достигается увеличение полезного объема. 2 ил.
Изобретение относится к ракетно-космической технике, а именно к средствам выведения аппаратов космического назначения на заданные орбиты.
Известны ракетно-космические системы «Протон», «Союз-2», ракетно-космическая система морского базирования, состоящие из ракеты-носителя и космического аппарата с головным обтекателем.
За прототип принята ракетно-космическая система морского базирования (см. стр.522-524 издание «Ракетно-космическая корпорация «Энергия» имени С.П.Королева, издательство МЕНОНСОВПОЛИГРАФ).
В последнее время применение в ракетно-космических системах космических аппаратов большого объема потребовало разработки головных обтекателей большего диаметра, в связи с чем переход головного обтекателя к последней ступени ракет-носителей, имеющих меньший стыковочный диаметр, осуществляют с помощью нижней части головного обтекателя, выполненного в виде обратного конуса.
Ракетно-космические системы, имеющие в своем составе головные обтекатели с нижней частью, выполненной в виде обратного конуса, имеют следующие недостатки:
– дополнительный переход от цилиндрической части обтекателя к обратному конусу в нижней его части снижает надежность конструкции и ухудшает технологичность изготовления обтекателя;
– за счет выполнения нижней части обтекателя в виде обратного конуса уменьшается полезный объем головного обтекателя.
Задачей предложенного изобретения является создание ракетно-космических систем, в которых обеспечивается стыковка различных типоразмеров головных обтекателей с ракетами-носителями, имеющими на последней ступени меньший стыковочный диаметр с головным обтекателем, увеличение полезного объема головного обтекателя и сохранение общей длины ракетно-космической системы.
Задача достигается тем, что в ракетно-космическую систему введен опорный отсек, установленный на последнюю ступень ракеты-носителя, который обеспечивает стыковку ракеты-носителя с головным обтекателем, имеющим стыковочный диаметр больше стыковочного диаметра последней ступени ракеты-носителя; при этом опорный отсек имеет наружный и внутренний силовые контуры, состоящие из силовых элементов, размещенных соответственно по образующим конусной и цилиндрической поверхностям, для передачи силовой нагрузки от головного обтекателя и космического аппарата к корпусу ракеты-носителя; в поперечном сечении опорный отсек представляет собой силовой прямоугольный треугольник, малый катет которого расположен в плоскости стыка ракеты-носителя с головным обтекателем, гипотенуза размещена на образующей конической поверхности опорного отсека, а большой катет является продолжением образующей цилиндрической поверхности корпуса последней ступени ракеты-носителя; опорный отсек имеет также торцевое разъемное соединение с головным обтекателем, разделяемое в полете, соединение с фермой сопряжения с космическим аппаратом и соединение с корпусом последней ступени ракеты-носителя.
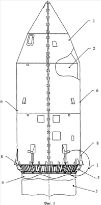
На фиг.1 и 2 изображена ракетно-космическая система, где:
1 – головной обтекатель;
2 – космический аппарат;
3 – опорный отсек;
4 – последняя ступень;
5 – ракета-носитель;
6 – створки обтекателя;
7 – узлы разворота;
8 – наружный силовой контур;
9 – внутренний силовой контур;
10 – разъемное соединение;
11 – соединения;
12 – ферма сопряжения.
Предложена ракетно-космическая система, состоящая из ракеты-носителя 5, космического аппарата 2 с головным обтекателем 1, в состав которой введен опорный отсек 3, установленный на последнюю ступень 4 ракеты-носителя 5, который обеспечивает стыковку ракеты-носителя 5 с головным обтекателем 1, имеющим стыковочный диаметр больше стыковочного диаметра последней ступени 4 ракеты-носителя 5; опорный отсек 3 имеет наружный силовой контур 8 и внутренний силовой контур 9, состоящие из силовых элементов, например балок, стрингеров, размещенных соответственно по образующим конусной и цилиндрической поверхностей, для передачи нагрузки от головного обтекателя 1 и космического аппарата 2 к корпусу ракеты-носителя 5; опорный отсек 3 имеет также торцевое разъемное соединение 10 с головным обтекателем 1, разделяемое в полете, соединение 11 с фермой сопряжения 12 с космическим аппаратом 2 и соединение 11 с корпусом последней ступени 4 ракеты-носителя 5.
Опорный отсек 3 установлен между корпусом последней ступени 4 ракеты-носителя 5 и головным обтекателем 1, при этом корпус последней ступени 4 ракеты-носителя 5 выполнен укороченным для сохранения общей длины ракеты-носителя 5 неизменной.
В поперечном сечении опорный отсек 3 представляет собой силовой прямоугольный треугольник, малый катет которого расположен в плоскости стыка ракеты-носителя 5 с головным обтекателем 1, гипотенуза размещена на образующей конической поверхности опорного отсека 3, а большой катет является продолжением образующей цилиндрической поверхности корпуса последней ступени 4 ракеты-носителя 5.
Боковая поверхность опорного отсека 3 выполняется конической, обеспечивая переход от стыковочного диаметра головного обтекателя 1 к стыковочному диаметру последней ступени 4 ракеты-носителя 5, при этом опорный отсек 3 нижней своей частью крепится к корпусу последней ступени 4 ракеты-носителя 5.
Имея в наличии опорные отсеки 3 нескольких типоразмеров, обеспечивается стыковка эксплуатируемых ракет-носителей 5 (с диаметром стыковочного шпангоута последней ступени 4 ракеты-носителя 5 меньшим, чем диаметр стыковочного шпангоута головного обтекателя 1) с эксплуатируемыми головными обтекателями 1 различных типоразмеров стыковочного шпангоута. Кроме того, в головном обтекателе 1 коническая нижняя часть заменяется на цилиндрическую (т.е. цилиндрическая часть удлиняется на величину равную длине конической части). Это позволяет увеличить полезный объем головного обтекателя 1.
Предложенная ракетно-космическая система функционирует следующим образом.
При эксплуатации ракетно-космической системы головной обтекатель 1 до своего отделения от ракеты-носителя 5 передает нагрузку по стыку головного обтекателя 1 с опорным отсеком 3 и далее через наружный силовой контур 8 опорного отсека 3 на корпус последней ступени 4 ракеты-носителя 5.
После прохождения ракетно-космической системы плотных слоев атмосферы головной обтекатель 1 делится в продольном направлении на две створки 6, производится отделение головного обтекателя 1 по стыку с опорным отсеком 3, затем створки 6 расходятся в стороны относительно узлов разворота 7, после чего створки 6 головного обтекателя 1 отделяются от ракеты-носителя 5.
Реализация настоящего предложения в ракетно-космической системе позволяет:
– с помощью опорного отсека 3 применить ракеты-носители 5 с укороченным корпусом последней ступени 4 ракеты-носителя 5 совместно с различными типоразмерами головных обтекателей 1 без увеличения общей длины ракетно-космической системы;
– увеличить полезный объем головного обтекателя 1 за счет замены конической нижней части обтекателя 1 на цилиндрическую для размещения космического аппарата 1 большего объема;
– упростить конструкцию головного обтекателя 1 за счет замены конической нижней части на цилиндрическую, исключив тем самым в конструкции обтекателя 1 силовой переход цилиндра к конусу, что приводит к увеличению надежности конструкции и улучшению технологичности изготовления обтекателя 1.
Формула изобретения
Ракетно-космическая система, содержащая ракету-носитель и космический аппарат с головным обтекателем, отличающаяся тем, что введен опорный отсек, установленный на последнюю ступень ракеты-носителя, который обеспечивает стыковку ракеты-носителя с головным обтекателем, имеющим стыковочный диаметр больше стыковочного диаметра последней ступени ракеты-носителя; при этом опорный отсек имеет наружный и внутренний силовые контуры, состоящие из силовых элементов, размещенных соответственно по образующим конусной и цилиндрической поверхностей, для передачи силовой нагрузки от головного обтекателя и космического аппарата к корпусу ракеты-носителя; в поперечном сечении опорный отсек представляет собой силовой прямоугольный треугольник, малый катет которого расположен в плоскости стыка ракеты-носителя с головным обтекателем, гипотенуза размещена на образующей конической поверхности опорного отсека, а большой катет является продолжением образующей цилиндрической поверхности корпуса последней ступени ракеты-носителя; опорный отсек имеет также торцевое разъемное соединение с головным обтекателем, разделяемое в полете, соединение с фермой сопряжения с космическим аппаратом и соединение с корпусом последней ступени ракеты-носителя.
РИСУНКИ
|
|