|
|
(21), (22) Заявка: 2007131133/11, 16.08.2007
(24) Дата начала отсчета срока действия патента:
16.08.2007
(46) Опубликовано: 20.03.2009
(56) Список документов, цитированных в отчете о поиске:
RU 2297950 C1, 10.09.2007. RU 2090956 С1, 20.09.1997. RU 2021165 C1, 15.10.1994. US 2005006525 А, 13.01.2005.
Адрес для переписки:
141980, Московская обл., г. Дубна, ул. Жуковского, 2а, ОАО “ГосМКБ “РАДУГА” им. А.Я. Березняка”, патентный отдел
|
(72) Автор(ы):
Бетковский Юрий Яковлевич (RU), Вершинин Геннадий Алексеевич (RU), Ефремов Анатолий Михайлович (RU), Жаворонков Александр Вячеславович (RU), Карпов Сергей Иванович (RU), Киреев Александр Филиппович (RU), Кликодуев Николай Григорьевич (RU), Ковальчук Владимир Антонович (RU), Мищенко Анатолий Петрович (RU), Смирнов Владимир Нестерович (RU), Щеглов Валерий Анатольевич (RU)
(73) Патентообладатель(и):
ОТКРЫТОЕ АКЦИОНЕРНОЕ ОБЩЕСТВО “ГОСУДАРСТВЕННОЕ МАШИНОСТРОИТЕЛЬНОЕ КОНСТРУКТОРСКОЕ БЮРО “РАДУГА” ИМЕНИ А.Я. БЕРЕЗНЯКА” (RU)
|
(54) БЕСПИЛОТНЫЙ ЛЕТАТЕЛЬНЫЙ АППАРАТ (ВАРИАНТЫ)
(57) Реферат:
Изобретение относится к конструкции наружных элементов фюзеляжа летательных аппаратов. Беспилотный летательный аппарат содержит корпус (1) с радиопрозрачным обтекателем (2) и систему управления (3). При этом радиопрозрачный обтекатель выполнен герметичным. В предлагаемых вариантах конструкции в качестве источника наддува может быть использован автономный источник сжатого газа, приемник напора атмосферного воздуха, автономный компрессор или компрессор авиадвигателя. Изобретение повышает прочность обтекателей. 4 н. и 16 з.п. ф-лы, 4 ил.
Изобретение относится к конструкции наружных элементов фюзеляжа летательных аппаратов (ЛА), в частности передних обтекателей, являющихся одновременно оболочкой антенны, не имеющих механической связи с излучающими элементами.
Известен беспилотный летательный аппарат (БПЛА), патент РФ на изобретение №2297950, принятый за прототип, содержащий корпус с носовым радиопрозрачным обтекателем, двигательной установкой, системой управления, включающей головку самонаведения, размещенную под носовым обтекателем, полезной нагрузкой, аэродинамическими поверхностями, оснащенный, по крайней мере, одним навесным топливным баком, который снабжен аэродинамическим обтекателем, закрепленным снаружи его корпуса с образованием дополнительного объема, в котором размещена аппаратура дополнительного пассивного широкодиапазонного канала головки самонаведения, сообщенная электрической связью с системой управления, при этом аэродинамический обтекатель выполнен с радиопрозрачными характеристиками, оптимизированными для работы аппаратуры дополнительного канала. Как вариант, БПЛА может содержать авиадвигатель с воздушным компрессором.
Существенными признаками предлагаемого БПЛА по варианту 1-3 предлагаемого изобретения, совпадающими с существенными признаками прототипа, являются наличие корпуса с радиопрозрачным обтекателем и системы управления. Существенными признаками предлагаемого БПЛА по варианту 4 предлагаемого изобретения, совпадающими с существенными признаками варианта прототипа, являются наличие корпуса с радиопрозрачным обтекателем, авиадвигателя с воздушным компрессором и системы управления.
В известных на сегодняшний день БПЛА применяются бортовые радиолокационные станции (БРЛС), работающие в узком диапазоне длин волн. Для БПЛА с широкополосной или многоканальной БРЛС из условий обеспечения приемлемых радиотехнических параметров требуются обтекатели предельно малой толщины, когда толщина оболочки в зоне излучения значительно меньше минимальной длины волны излучения БРЛС ( =(0,05-0,1) ) – «тонкостенные» обтекатели. Данные обтекатели имеют недостаточную прочность для их применения в скоростных БПЛА.
Задачей, на решение которой направлено предлагаемое изобретение, является обеспечение прочности тонкостенных радиопрозрачных обтекателей с целью возможности их использования на больших, околозвуковых и сверхзвуковых скоростях полета.
Для достижения названного технического результата по первому варианту – в БПЛА, содержащем корпус с радиопрозрачным обтекателем и систему управления, радиопрозрачный обтекатель выполнен герметичным, а БПЛА снабжен автономным источником сжатого газа, сообщенным с полостью обтекателя и подключенным к системе управления. Кроме того, дополнительно: для уменьшения максимального рабочего давления в полости обтекателя при максимальной работоспособности газа источника (максимальной эксплуатационной температуре применения) или увеличенном аэродинамическом нагреве стенки обтекателя, БПЛА снабжен линией сброса газа из полости обтекателя, имеющей предохранительный клапан; для обеспечения плавного наддува полости обтекателя, уменьшения акустической нагрузки на аппаратуру БПЛА снабжен устройством ограничения расхода сжатого газа; для уменьшения динамической силы воздействия струи газа наддува на стенку обтекателя, в полости обтекателя установлен распределитель струи газа наддува; система управления БПЛА, для более точного определения момента подачи газа наддува, содержит сигнализатор признака перенагружения обтекателя, например, установленный в потенциально-опасном месте обтекателя сигнализатор предельной величины перемещения стенки обтекателя, ее деформации, увеличения температуры и т.п.
Для достижения названного технического результата по второму варианту – в БПЛА, содержащем корпус с радиопрозрачным обтекателем и систему управления, радиопрозрачный обтекатель выполнен герметичным, а на корпусе летательного аппарата установлен приемник напора атмосферного воздуха, сообщенный с полостью обтекателя. Кроме того, дополнительно: для исключения сообщения полости обтекателя с атмосферой через приемник при хранении и воздушном транспортировании, в линии сообщения приемника напора с полостью обтекателя установлен перекрывной клапан, подключенный к системе управления; для более точного определения момента подачи газа наддува, система управления содержит сигнализатор признака перенагружения обтекателя.
Для достижения названного технического результата по третьему варианту – в БПЛА, содержащем корпус с радиопрозрачным обтекателем и систему управления, радиопрозрачный обтекатель выполнен герметичным, а БПЛА снабжен автономным компрессором, сообщенным с полостью обтекателя, и приводом компрессора, подключенным к системе управления. Кроме того, дополнительно: система управления содержит сигнализатор признака перенагружения обтекателя; для сохранения давления в полости обтекателя при отключении компрессора и расширения технических возможностей, линия сообщения компрессора с полостью обтекателя снабжена перекрывным клапаном.
Для решения названного технического результата по четвертому варианту – в БПЛА, содержащем корпус с радиопрозрачным обтекателем, авиадвигатель с воздушным компрессором и систему управления, радиопрозрачный обтекатель выполнен герметичным и соединен линией наддува с воздушным компрессором. Кроме того, дополнительно: для уменьшения максимального рабочего давления в полости обтекателя при увеличении давления в компрессоре авиадвигателя, а также для возможности обеспечения необходимого давления наддува полости обтекателя, при отборе воздуха от штатного штуцера с большим давлением, БПЛА снабжен линией сброса газа из полости обтекателя, имеющей предохранительный клапан; для уменьшения проходных сечений и массы магистралей подачи и сброса газа, предохранительного клапана, а также для обеспечения возможности присоединения линии подачи газа наддува к штатному штуцеру авиадвигателя с давлением больше необходимого для наддува полости обтекателя, линия наддува обтекателя снабжена устройством ограничения расхода сжатого газа; для расширения технических возможностей, в линии наддува обтекателя установлен перекрывной клапан, подключенный к системе управления; система управления дополнительно содержит сигнализатор признака перенагружения обтекателя; БПЛА снабжен линией сброса газа из полости обтекателя, имеющей дренажный клапан, подключенный к системе управления.
Отличительными признаками предлагаемого устройства по первому варианту БПЛА являются выполнение радиопрозрачного обтекателя герметичным, наличие в БПЛА автономного источника сжатого газа, сообщенного с полостью обтекателя и подключенного к системе управления, кроме того, дополнительно – наличие в БПЛА линии сброса газа из полости обтекателя, имеющей предохранительный клапан; наличие устройства ограничения расхода сжатого газа; наличие в полости обтекателя распределителя струи газа наддува; наличие в системе управления сигнализатора признака перенагружения обтекателя.
Отличительными признаками предлагаемого устройства по второму варианту БПЛА являются выполнение радиопрозрачного обтекателя герметичным, установка на корпусе летательного аппарата приемника напора атмосферного воздуха, сообщенного с полостью обтекателя, кроме того, дополнительно – наличие в линии сообщения приемника напора с полостью обтекателя перекрывного клапана, подключенного к системе управления; наличие в системе управления сигнализатора признака перенагружения обтекателя.
Отличительными признаками предлагаемого устройства по третьему варианту БПЛА являются выполнение радиопрозрачного обтекателя герметичным, наличие автономного компрессора, сообщенного с полостью обтекателя, и привода компрессора, подключенного к системе управления, кроме того, дополнительно – наличие в системе управления сигнализатора признака перенагружения обтекателя; наличие в линии сообщения компрессора с полостью обтекателя перекрывного клапана.
Отличительными признаками предлагаемого устройства по четвертому варианту БПЛА являются выполнение радиопрозрачного обтекателя герметичным и соединенным линией наддува с воздушным компрессором, кроме того, дополнительно – наличие линии сброса газа из полости обтекателя, имеющей предохранительный клапан; наличие в линии наддува обтекателя устройства ограничения расхода сжатого газа; наличие в линии наддува обтекателя перекрывного клапана, подключенного к системе управления; наличие в системе управления сигнализатора признака перенагружения обтекателя; наличие линии сброса газа из полости обтекателя, имеющей дренажный клапан, подключенный к системе управления.
Благодаря наличию указанных отличительных признаков в совокупности с известными, указанными в ограничительной части формулы, при использовании любого из предлагаемых вариантов БПЛА обеспечивается прочность тонкостенного обтекателя при околозвуковых и сверхзвуковых скоростях полета. При этом обеспечивается значительный выигрыш массы конструкции обтекателя, по сравнению с конструкцией без системы наддува. Дополнительно, в БПЛА по второму варианту обеспечивается полет с широким спектром возможных траекторий по высоте и скорости полета, при минимальной потребной толщине стенки обтекателя.
Кроме того, благодаря дополнительным пунктам в БПЛА:
– по первому и четвертому вариантам исключается заброс давления в полости обтекателя в широком диапазоне температур эксплуатации и режимов полета БПЛА; исключается динамическое воздействие струи газа на стенку обтекателя; уменьшается акустическое воздействие струи газа наддува на аппаратуру БПЛА;
– по второму, третьему и четвертому вариантам уменьшается возможность накопления в полости обтекателя влаги, попадаемой с газом наддува;
– по третьему и четвертому вариантам обеспечивается полет с широким спектром возможных траекторий по высоте и скорости полета, при минимальной потребной толщине стенки обтекателя.
Изобретение поясняется чертежами.
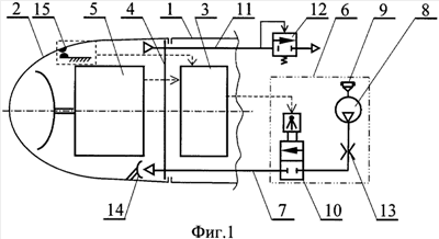
На фиг.1 представлен БПЛА по пп.1-8 формулы, снабженный автономным источником сжатого газа для наддува полости обтекателя.
На фиг.2 представлен БПЛА по пп.9-11 формулы с использованием для наддува полости обтекателя корпуса БПЛА приемника напора атмосферного воздуха.
На фиг.3 представлен БПЛА по пп.12-14 формулы, снабженный автономным компрессором.
На фиг.4 представлен БПЛА по пп.15-20 формулы, в котором полость обтекателя сообщена с воздушным компрессором авиадвигателя.
Представленный на чертежах, фиг.1-4 БПЛА имеет корпус с радиопрозрачным обтекателем 2 и систему управления 3. Обтекатель 2 выполнен герметичным благодаря установке перегородки 4. К системе управления 3 подключен приемник 5 радиоволн, размещенный в полости обтекателя 2.
По варианту 1 (фиг.1) БПЛА снабжен автономным источником 6 сжатого газа, сообщенным линией 7 с полостью обтекателя 2 и подключенным к системе управления 3. Автономный источник 6 сжатого газа может быть выполнен в виде баллона 8 высокого давления с зарядным устройством 9 и пусковым клапаном 10. В этом варианте исполнения источника 6, его подключение к системе управления 3 обеспечивается подводом электрического напряжения к приводу пускового клапана 10 источника 6. Автономный источник 6 может быть выполнен в виде баллона сжиженного газа с пусковым клапаном или твердотопливного генератора с пусковым устройством (не показаны). БПЛА снабжен линией 11 сброса газа из полости обтекателя 2, имеющей предохранительный клапан 12, а также снабжен устройством 13 ограничения расхода газа, установленного в линии 7 сообщения баллона 8 источника 6 с полостью обтекателя 2. В качестве устройства 13 ограничения расхода газа может быть использован дроссель или редуктор давления. В полости обтекателя 2 установлен распределитель 14 струи выходящего из линии 7 газа наддува, а система управления 3 содержит сигнализатор 15 признака перенагружения обтекателя 2.
По варианту 2 (фиг.2) для наддува полости обтекателя 2 сжатым газом использован приемник 16 напора атмосферного воздуха, установленный на корпусе 1 БПЛА или составной части корпуса 1 – обтекателе 2, сообщенный линией 17 с полостью обтекателя 2; в линии сообщения 17 установлен перекрывной клапан 18; система управления 3 содержит сигнализатор 15 признака перенагружения обтекателя 2.
По варианту 3 (фиг.3) для наддува полости обтекателя 2 БПЛА снабжен автономным компрессором 19, сообщенным, с полостью обтекателя 2 линией 20 подачи газа и приводом компрессора 21, подключенным к системе управления 3; система управления 3 содержит сигнализатор 15 признака перенагружения обтекателя 2; линия 20 подачи в полость обтекателя 2 снабжена перекрывным клапаном 18.
По варианту 4 (фиг.4) обтекатель 2 соединен линией 22 наддува с воздушным компрессором 23 авиадвигателя 24 БПЛА. БПЛА снабжен линией 11 сброса газа из полости обтекателя 2, имеющей предохранительный клапан 12. Линия 22 наддува обтекателя 2 снабжена устройством 13 ограничения расхода газа и перекрывным клапаном 18, подключенным к системе управления 3; система управления 3 содержит сигнализатор 15 признака перенагружения обтекателя 2; БПЛА снабжен линией 25 сброса газа из полости обтекателя 2, имеющей дренажный клапан 26.
БПЛА по п.1 формулы (фиг.1) работает следующим образом. При разгоне БПЛА в полете или уменьшении его высоты полета увеличивается динамическое давление (напор) струи обтекающего БПЛА потока атмосферного воздуха на стенки радиопрозрачного обтекателя 2 и перепад давления, воспринимаемый стенкой обтекателя 2, при этом система управления 3 выдает электрическое напряжение на привод пускового клапана 10 источника сжатого газа 6, и сжатый газ из баллона 8 через открытый пусковой клапан 10 по линии 7 поступает в полость обтекателя 2, герметичность которой обеспечивается перегородкой 4; увеличение давления газа в полости обтекателя 2 уменьшает перепад давления воспринимаемый стенкой обтекателя 2, что обеспечивает сохранение прочности радиопрозрачного обтекателя 2 с минимальной по условиям радиопрозрачности толщиной стенки при увеличенных внешних нагрузках. Для задействования пускового клапана 10 система управления 3 может использовать штатную бортовую команду, например запуск авиадвигателя, снижение, перевод авиадвигателя на другой режим работы. По п.2 формулы при увеличении начальной температуры рабочего вещества источника газа 6 в эксплуатационном диапазоне температур или увеличенном аэродинамическом внешнем нагреве стенки обтекателя 2 увеличивается температура газа в полости обтекателя 2, при этом для предотвращения дополнительного повышения давления в полости обтекателя 2 часть газа через линию 11 и предохранительный клапан 12 стравливается в окружающую среду, что уменьшает возможный рабочий диапазон давлений наддува полости 2, и тем самым дополнительно уменьшает рабочие нагрузки на стенку обтекателя 2 и обеспечивает его прочность при увеличенных внешних нагрузках с меньшей толщиной стенки. По п.3 формулы снабжение БПЛА устройством 13 ограничения расхода газа позволяет уменьшить максимальный расход газа, следовательно, и скорость газа на выходе из линии 7 в полость обтекателя, с уменьшением которой уменьшается динамическое и акустическое воздействие струи на конструкцию обтекателя 2 и приемник радиоволн 5. По пп.4, 5 формулы распределитель 14 струи газа наддува, выходящего из линии 7 в полость обтекателя, позволяет распределить усилие от струи на элементы конструкции, исключить местное (“точечное”) воздействие струи на стенку обтекателя 2, при этом рассеяние струи конструкцией распределителя 14 приводит и к уменьшению ее акустического воздействия на конструкцию обтекателя 2 и приемник 5. По пп.6-8 формулы сигнализатор 15 позволяет системе управления 3 более точно определить момент включения пускового клапана 10 автономного источника 6 сжатого газа, и благодаря этому исключить преждевременное увеличение давления в полости обтекателя 2 и, соответственно, увеличение перепада давления, действующего на его стенку при полете БПЛА в верхних слоях атмосферы или у поверхности земли до существенного увеличения скорости БПЛА. Сигнализатор 15 настраивается таким образом, чтобы в полете БПЛА минимизировать максимальный рабочий перепад давления на стенке обтекателя 2.
БПЛА по п.9 формулы (фиг.2) работает следующим образом. При разгоне ЛА в полете или уменьшении его высоты полета увеличивается динамическое давление струи обтекающего БПЛА потока атмосферного воздуха на стенку радиопрозрачного обтекателя 2, при этом атмосферный воздух с давлением напора, воспринимаемым приемником 16 через линию 17 поступает в полость обтекателя 2 и увеличивает в ней давление соответственно увеличению внешнего давления потока воздуха на стенку обтекателя 2 и уменьшает перепад давления воспринимаемый стенкой обтекателя 2. При уменьшении напора атмосферного воздуха с уменьшением скорости полета или увеличением высоты полета воздух из полости обтекателя с большим давлением через линию 17 и приемник 16 напора атмосферного воздуха стравливается в атмосферу. Таким образом, минимальный перепад давления на стенке обтекателя 2 обеспечивается при различных напорах атмосферного воздуха, что позволяет дополнительно уменьшить потребную толщину стенки для БПЛА с широким спектром возможных траекторий полета, с различными высотами и скоростями. По п.10 формулы система управления 3 обеспечивает включение перекрывного клапана 18 только на участках траектории с разгоном БПЛА или снижения с большой скоростью полета, когда необходима разгрузка стенки обтекателя 2 по условиям его прочности. В остальное время атмосферный воздух не поступает в полость обтекателя 2, что уменьшает возможность накопления в его полости влаги, поступающей с атмосферным воздухом. По п.11 формулы сигнализатор 15 позволяет системе управления 3 точно определять моменты времени для включения и отключения перекрывного клапана 18 и тем самым дополнительно уменьшить общее время сообщения с атмосферой полости обтекателя 2 через линию 17 и приемник 16 и, соответственно, дополнительно уменьшить возможность накопления влаги в полости обтекателя 2.
БПЛА по п.12 формулы (фиг.3) работает следующим образом. Для разгрузки стенки обтекателя 2 система управления 3 запитывает привод 21 автономного компрессора 19 и сжатый компрессором 19 воздух по линии сообщения 20 поступает в полость обтекателя 2, обеспечивая повышение в ней давления, при росте скоростного напора атмосферного воздуха. При уменьшении скоростного напора воздуха система управления 3 отключает питание привода 21 компрессора 19 и воздух из полости обтекателя 2 по линии сообщения 20 через полости компрессора 19 сбрасывается в окружающую среду. По п.13 формулы сигнализатор 15 позволяет более точно системе управления 3 определять моменты времени для управления приводом 21 автономного компрессора 19 и тем самым экономить рабочий ресурс привода 21 с компрессора 19 и уменьшить возможность накопления влаги в полости обтекателя 2, попадаемой с газом наддува. По п.14 формулы перекрывной клапан 18 позволяет, после повышения давления в полости обтекателя 2, сохранять в ней давление при отключенном приводе 21 компрессора 19, что дополнительно экономит рабочий ресурс компрессора 19 и привода 21 и уменьшает возможность накопления влаги в полости обтекателя 2. Дополнительно в устройстве, содержащем сигнализатор 15, наддув полости обтекателя 2 при увеличении скоростного напора атмосферного воздуха прекращается после размыкания сигнализатора 15. При этом система управления 3 закрывает перекрывной клапан 18 и отключает привод 21 компрессора 19. При уменьшении скорости полета БПЛА система управления 3 открывает перекрывной клапан 18, воздух из полости обтекателя через линию сообщения 20 и полость неработающего компрессора 19 сбрасывается в окружающую среду, и давление в полости обтекателя 2 уменьшается. Для открытия перекрывного клапана 18 система управления 3 может использовать бортовую команду. Кроме того, сигнализатор 15 может быть выполнен двухступенчатым, с парой контактов, определяющей момент основной разгрузки полости обтекателя 2, для управления включением или отключением привода 21 компрессора 19, и парой контактов, определяющей момент полной разгрузки полости обтекателя 2, для закрытия или открытия системой управления 3 перекрывного клапана 18. Таким образом, обеспечивается наддув полости обтекателя 2 компрессором 19 до различных конкретных давлений, соответствующих конкретному скоростному напору атмосферного воздуха, что позволяет БПЛА обеспечивать минимальный перепад давлений на стенке обтекателя 2 при широком спектре траекторий с различной высотой и скоростью полета, и тем самым обеспечить возможность выполнения обтекателя 2 с минимальной потребной толщиной стенки.
БПЛА по п.15 формулы (фиг.4) работает следующим образом. При запуске авиадвигателя 24 и раскрутке компрессора 23 увеличивается давление за ступенями компрессора 23 и сжатый воздух через линию наддува 22 поступает в полость обтекателя 2, давление в которой увеличивается до значения давления в компрессоре 23 в точке подсоединения к нему линии наддува 22. На величину увеличения давления в полости обтекателя 2 увеличивается и его способность сохранять прочность при воздействии на стенку обтекателя 2 увеличенного напора атмосферного воздуха. В БПЛА по п.16 формулы, в случае увеличения давления в компрессоре 23 авиадвигателя 24 при его переходе на другой режим работы и, соответственно, появлении дополнительного расхода воздуха в полость обтекателя 2 по линии наддува 22, начинает увеличиваться давление в полости обтекателя 2, при этом открывается предохранительный клапан 12 в линии 11, избыток воздуха стравливается из полости обтекателя 2 и дальнейший рост давления в ней прекращается. Таким образом, наличие линии 11 сброса газа из полости обтекателя 2 с предохранительным клапаном 12 позволяет уменьшить возможный заброс давления при наддуве полости обтекателя 2, соответственно, уменьшается возможный перепад давления на его стенке и обеспечивается прочность обтекателя 2 при меньшей толщине стенки, по сравнению с устройством по п.15 формулы. По п.17 формулы устройство 13 ограничения расхода газа, например, дроссель или редуктор давления, позволяет уменьшить расход газа при наддуве полости обтекателя 2 и, соответственно, уменьшить расход газа по линии 11 при открытии предохранительного клапана 12, что позволяет уменьшить необходимые проходные сечения магистралей 11 и 22, и массу предохранительного клапана 12. Дополнительно, наличие устройства 13 ограничения расхода газа по линии наддува 22 обтекателя 2 обеспечивает возможность использования не специально изготовленной точки присоединения линии наддува 22 к компрессору 23, с необходимым для наддува полости обтекателя 2 давлением, а любого штатного штуцера отбора воздуха от компрессора 23 авиадвигателя 24, с рабочим давлением, большим необходимого для наддува полости обтекателя 2. По п.18 формулы система управления 3 обеспечивает включение перекрывного клапана 18 только на участках траектории с разгоном БПЛА или его снижением с большой скоростью полета, когда необходима разгрузка стенки обтекателя 2 по условиям его прочности. В остальное время атмосферный воздух не поступает в полость обтекателя 2, что уменьшает возможность накопления влаги поступающей с атмосферным воздухом. Кроме того, периодическое включение перекрывного клапана 18 обеспечивает возможность наддува полости обтекателя 2 различным, увеличивающимся по мере набора скорости БПЛА давлением, что дополнительно уменьшает максимальный рабочий перепад давления, воспринимаемый стенкой обтекателя 2, при различных скоростях полета и позволяет дополнительно уменьшить потребную толщину стенки обтекателя 2 при полете БПЛА в этих условиях. По п.19 формулы сигнализатор 15 позволяет системе управления 3 более точно определить момент включения перекрывного клапана 18. Сигнализатор 15 настраивается таким образом, чтобы в полете БПЛА минимизировать максимальный рабочий перепад давления на стенке обтекателя 2, соответственно обеспечивать прочность при меньшей толщине стенки обтекателя 2. По п.20 формулы при размыкании сигнализатора 15 система управления 3 открывает дренажный клапан 26 в линии сброса газа 25 и закрывает перекрывной клапан 18 в линии 22 наддува обтекателя 2. При этом давление в полости обтекателя 2 уменьшается. При замыкании сигнализатора 15 система управления 3 закрывает дренажный клапан 26 в линии 25, и открывает перекрывной клапан 18 в линии 22, что приводит к увеличению давления в полости обтекателя 2. Таким образом, минимальный перепад давления на стенке обтекателя 2 обеспечивается при различных скоростных напорах атмосферного воздуха, соответственно, обеспечивается прочность обтекателя 2 с минимальной потребной толщиной стенки при широком спектре возможных траекторий БПЛА, с различными высотами и скоростями полета.
Формула изобретения
1. Беспилотный летательный аппарат, имеющий корпус с радиопрозрачным обтекателем и систему управления, отличающийся тем, что радиопрозрачный обтекатель выполнен герметичным, а летательный аппарат снабжен автономным источником сжатого газа, сообщенным с полостью обтекателя и подключенным к системе управления.
2. Беспилотный летательный аппарат по п.1, отличающийся тем, что снабжен линией сброса газа из полости обтекателя, имеющей предохранительный клапан.
3. Беспилотный летательный аппарат по п.1 или 2, отличающийся тем, что снабжен устройством ограничения расхода сжатого газа.
4. Беспилотный летательный аппарат по п.1 или 2, отличающийся тем, что в полости обтекателя установлен распределитель струи газа наддува.
5. Беспилотный летательный аппарат по п.3, отличающийся тем, что в полости обтекателя установлен распределитель струи газа наддува.
6. Беспилотный летательный аппарат по п.1 или 2, отличающийся тем, что система управления содержит сигнализатор признака перенагружения обтекателя.
7. Беспилотный летательный аппарат по п.3, отличающийся тем, что система управления содержит сигнализатор признака перенагружения обтекателя.
8. Беспилотный летательный аппарат по п.4, отличающийся тем, что система управления содержит сигнализатор признака перенагружения обтекателя.
9. Беспилотный летательный аппарат, имеющий корпус с радиопрозрачным обтекателем и систему управления, отличающийся тем, что радиопрозрачный обтекатель выполнен герметичным, на корпусе летательного аппарата установлен приемник напора атмосферного воздуха, сообщенный с полостью обтекателя.
10. Беспилотный летательный аппарат по п.9, отличающийся тем, что в линии сообщения приемника напора с полостью обтекателя установлен перекрывной клапан, подключенный к системе управления.
11. Беспилотный летательный аппарат по п.10, отличающийся тем, что система управления содержит сигнализатор признака перенагружения обтекателя.
12. Беспилотный летательный аппарат, имеющий корпус с радиопрозрачным обтекателем и систему управления, отличающийся тем, что радиопрозрачный обтекатель выполнен герметичным, а летательный аппарат снабжен автономным компрессором, сообщенным с полостью обтекателя, и приводом компрессора, подключенным к системе управления.
13. Беспилотный летательный аппарат по п.12, отличающийся тем, что система управления содержит сигнализатор признака перенагружения обтекателя.
14. Беспилотный летательный аппарат по п.12 или 13, отличающийся тем, что линия сообщения компрессора с полостью обтекателя снабжена перекрывным клапаном.
15. Беспилотный летательный аппарат, имеющий корпус с радиопрозрачным обтекателем, авиадвигатель с воздушным компрессором и систему управления, отличающийся тем, что радиопрозрачный обтекатель выполнен герметичным и соединен линией наддува с воздушным компрессором.
16. Летательный аппарат по п.15, отличающийся тем, что снабжен линией сброса газа из полости обтекателя, имеющей предохранительный клапан.
17. Беспилотный летательный аппарат по п.16, отличающийся тем, что линия наддува обтекателя снабжена устройством ограничения расхода газа.
18. Беспилотный летательный аппарат по любому из пп.15-17, отличающийся тем, что в линии наддува обтекателя установлен перекрывной клапан, подключенный к системе управления.
19. Беспилотный летательный аппарат по п.18, отличающийся тем, что система управления содержит сигнализатор признака перенагружения обтекателя.
20. Беспилотный летательный аппарат по п.15 или 16, отличающийся тем, что снабжен линией сброса газа из полости обтекателя, имеющей дренажный клапан.
РИСУНКИ
|
|