|
(21), (22) Заявка: 2005118642/11, 16.06.2005
(24) Дата начала отсчета срока действия патента:
16.06.2005
(43) Дата публикации заявки: 27.12.2006
(46) Опубликовано: 20.03.2009
(56) Список документов, цитированных в отчете о поиске:
US 4417708 А1, 29.11.1983. RU 2328412 С2, 07.10.2008. RU 2212359 С1, 20.09.2003. RU 29030 U1, 04.11.2002. US 3971535 С1, 27.07.1976. US 2002096598 А1, 25.07.2002. WO 0246038 А2, 13.06.2002.
Адрес для переписки:
119027, Москва, а/я 17, В.Н. Сиротину
|
(72) Автор(ы):
Сиротин Валерий Николаевич (RU)
(73) Патентообладатель(и):
Сиротин Валерий Николаевич (RU)
|
(54) ПАССАЖИРСКИЙ СВЕРХЗВУКОВОЙ САМОЛЕТ С ОБРАТНОЙ СТРЕЛОВИДНОСТЬЮ КРЫЛА И С АВАРИЙНО-СПАСАТЕЛЬНЫМИ МОДУЛЯМИ
(57) Реферат:
Изобретение относится к области авиации, а именно к пассажирским сверхзвуковым самолетам, к самолетам с обратной стреловидностью крыла и к пассажирским самолетам, имеющим аварийно-спасательные модули. Самолет содержит фюзеляж, шасси, два крыла с элеронами, силовую установку, включающую четыре подъемно-маршевых турбореактивных двигателя, каждый из которых прикреплен к крылу самолета снизу соплом назад. Каждое крыло прикреплено к фюзеляжу с возможностью поворота относительно оси фюзеляжа, горизонтально на угол 53° градуса. Самолет содержит переднее горизонтальное оперение с возможностью поворота по горизонтали параллельно относительно оси фюзеляжа, а также содержит горизонтальное и вертикальное оперение. Фюзеляж включает пассажирские аварийно-спасательные катапультирующиеся модули, а также кабину пилотов с катапультирующимися креслами. Достигается повышение надежности и безопасности для пассажиров в процессе полета, при спуске в аварийно-спасательных модулях, уменьшение расхода топлива при взлете и посадке. 4 з.п. ф-лы, 13 ил.
Изобретение относится к области авиации, в частности к самолетам, имеющим аварийные средства для покидания.
Известен пассажирский сверхзвуковой самолет, содержащий фюзеляж с кабиной пилотов, правое и левое крыло, вертикальный стабилизатор, переднее горизонтальное оперение, шасси и силовую установку, включающую два подъемно-маршевых турбореактивных двигателя, каждый из которых сверху соответствующего крыла прикреплен соплом назад /Патент США №6575406, 2003/.
Самолет имеет высокую скорость посадки, что снижает безопасность, а потому необходим аэродром с длинной взлетно-посадочной полосой.
Небольшая площадь крыла приводит к большому расходу топлива при взлете и посадке у пассажирских сверхзвуковых самолетов.
Самолет не имеет аварийно-спасательных катапультирующихся модулей
Известен также самолет, имеющий возможность полета с обратной стреловидностью правого и левого крыльев, содержащий фюзеляж, правое и левое крыло с элеронами, вертикальный стабилизатор, переднее горизонтальное оперение, шасси и силовую установку, включающую два подъемно-маршевых турбореактивных двигателя, каждый из которых прикреплен соплом назад /Патент США №4417708, 1983/.
Данный самолет по решаемой технической задаче и совокупности существенных признаков является прототипом.
Расположение крыльев не позволяет развить сверхзвуковую скорость полета, т.к правое и левое крыло будут выворачиваться в разные стороны, а потому при большой скорости необходимо использовать большое количество приборов для поддержания самолета в устойчивом положении.
Изобретение направлено на решение задачи повышения надежности и безопасности, как при взлете и посадке на дозвуковой скорости полета, так и на сверхзвуковой скорости полета.
Изобретение также направлено на решение задачи уменьшения расхода топлива при взлете и посадке за счет увеличения площади крыла самолета.
Изобретение направлено еще на решение задачи повышения безопасности для пассажиров при спуске в аварийно-спасательных модулях.
Для решения указанных задач предложен пассажирский сверхзвуковой самолет, имеющий возможность полета с обратной стреловидностью правого и левого крыльев, содержащий фюзеляж, аварийно-спасательные модули, правое и левое крыло с элеронами и механизмами поворота, вертикальный и горизонтальный стабилизаторы, переднее горизонтальное оперение, которое установлено с возможностью поворота относительно оси по горизонтали фюзеляжа, шасси и силовую установку, включающую четыре подъемно-маршевых турбореактивных двигателя, каждый из которых снизу соответствующего крыла прикреплен соплом назад, а каждое крыло прикреплено с возможностью поворота к удерживающим захватам фюзеляжа на 53 градуса к относительно оси по горизонтали.
Каждый аварийно-спасательный модуль выполнен с теплоизолированными стенками, которые образуют внешний обвод фюзеляжа.
Каждый аварийно-спасательный модуль снабжен катапультными установками, парашютным отсеком, расположенным в верхней части, и посадочным устройством, а кабина пилотов имеет катапультные кресла.
Каждый аварийно-спасательный модуль снабжен автономной системой энергоснабжения.
Каждый аварийно-спасательный модуль снабжен надувными амортизационными баллонами с автономной системой наддува.
Изобретение поясняется чертежами.
Фиг.1. Самолет по схеме с обратной стреловидностью крыла, имеющий переднее горизонтальное оперение. Вид сверху.
Фиг.2. Схема расположения модулей на самолете. Вид сбоку.
Фиг.3. Самолет после поворота правого и левого крыльев к удерживающим захватам фюзеляжа. Вид сверху.
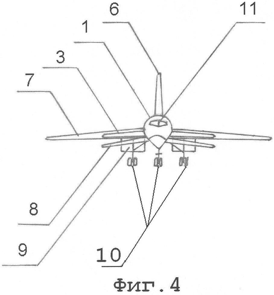
Фиг.4. Самолет. Вид спереди.
Фиг.5. Самолет. Схема механизмов поворота правого и левого крыла. Вид сверху.
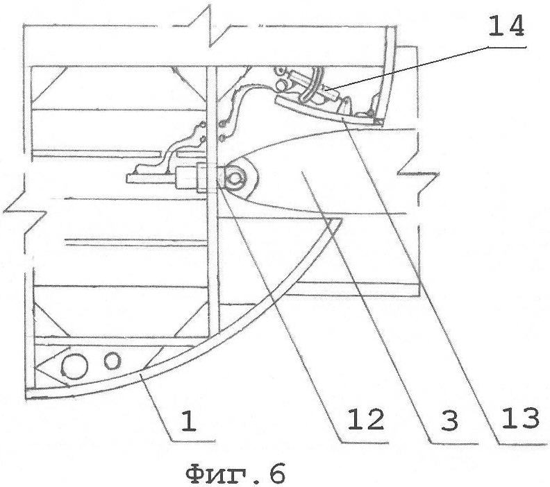
Фиг.6. Положение удерживающего захвата при расположении крыла в фюзеляже.
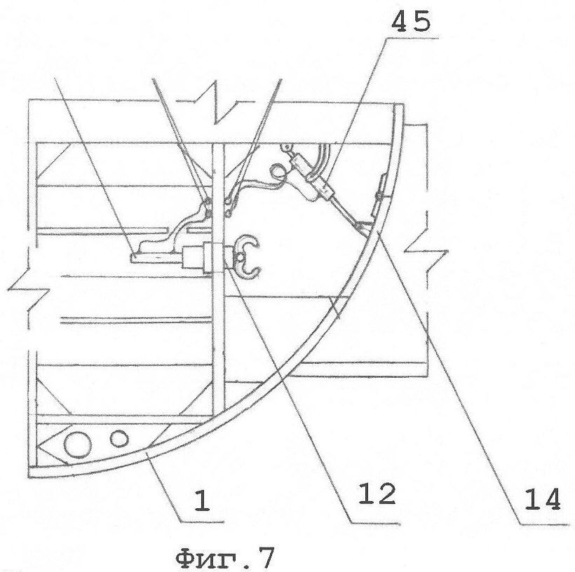
Фиг.7. Положение удерживающего захвата при расположении крыла вне фюзеляжа.
Фиг.8. Схема поворота переднего горизонтального оперения. Вид сверху.
Фиг.9. Расположение модулей в фюзеляже. Поперечное сечение.
Фиг.10. Расположение модулей в фюзеляже. Продольное сечение.
Фиг.11. Расположение катапультной установки на модуле.
Фиг.12. Схема отделения модулей от самолета.
Фиг.13. Вид модуля при спуске с парашютом.
Пассажирский сверхзвуковой самолет, имеющий возможность полета с обратной стреловидностью правого и левого крыльев, содержит (фиг.1-8) фюзеляж 1, аварийно-спасательные модули 2, правое и левое крыло 3 с элеронами 4 и механизмами 5 поворота, вертикальный стабилизатор 6 и горизонтальный стабилизатор 7, переднее горизонтальное оперение 8, силовую установку, включающую четыре подъемно-маршевых турбореактивных двигателя 9, и шасси 10.
В носовой части фюзеляжа 1 расположена кабина 11 пилотов, которая имеет катапультные кресла.
В средней части фюзеляжа 1 между кабиной 11 пилотов и вертикальным стабилизатором 6 расположены (фиг.1, 2) аварийно-спасательные модули 2.
Каждый подъемно-маршевый турбореактивный двигатель 9 снизу правого и левого крыла 3 прикреплен соплом назад.
В отсеках нижней части фюзеляжа 1 расположены (фиг.6) удерживающие захваты 12, предназначенные для фиксации положения правого и левого крыла 3 на сверхзвуковой скорости полета.
Как правое крыло 3, так и левое крыло 3 прикреплено к фюзеляжу 1 с возможностью поворота к удерживающим захватам 12.
Каждый отсек нижней части фюзеляжа 1 снабжен (фиг.7) створкой 13 с приводом 14, который предназначен для фиксации створки 13 в закрытом положении на дозвуковой скорости полета по схеме самолета с обратной стреловидностью крыла.
Для поворота правого и левого крыла 3 предусмотрены (фиг.5) двигатели 15.
Выбор величины поворота правого и левого крыла 3 на угол 53 градуса к относительно оси по горизонтали фюзеляжа 1 для осуществления полета с обратной стреловидностью обусловлен обеспечением высокого уровня безопасности полета путем смещения зоны, где начинается срыв потока, с концов крыла 3 к корню.
Переднее горизонтальное оперение 8 установлено (фиг.8) с возможностью поворота относительно оси по горизонтали фюзеляжа 1.
Для поворота переднего горизонтального оперения 8 предусмотрены двигатели 16.
Аварийно-спасательные модули 2 расположены (фиг.9-11) в два ряда от прохода вдоль фюзеляжа 1 между кабиной 11 пилотов и вертикальным стабилизатором 6.
Каждый аварийно-спасательный модуль 2 имеет (фиг.12) теплоизолированную стенку 20, которая является частью обвода фюзеляжа 1.
Каждый аварийно-спасательный модуль 2 снабжен катапультными установками 21, парашютом 22, надувными амортизационными баллонами 23 посадочного устройства и электрическим аккумулятором системы энергоснабжения.
Парашют расположен в парашютном отсеке в верхней части аварийно-спасательного модуля.
Надувные амортизационные баллоны 23 автономной системы наддува расположены в нижней части каждого аварийно-спасательного модуля 2.
Подготовка самолета к полету.
Последовательно запускают вспомогательную силовую установку (не показана), а затем по одному подъемно-маршевому турбореактивному двигателю 9 силовой установки.
На электродвигатель 16 механизма (фиг.8) подают напряжение от генераторов силовой установки для поворота переднего горизонтального оперения на угол 85 градусов в направлении от оси фюзеляжа.
Подают напряжение на электроклапаны управления гидроцилиндрами приводов захватов 12 для освобождения правого и левого крыла 3.
Двигатели 15 механизмов осуществляют поворот левого и правого крыла 3 в направлении от фюзеляжа 1 на угол 53 градуса.
Приводами закрывают створки отсеков фюзеляжа 1.
Самолет, правое и левое крылья 3 которого расположены по аэродинамической схеме с обратной стреловидностью, с выпущенным передним горизонтальным оперением 8 взлетает.
После достижения высокой дозвуковой скорости полета открывают створки отсеков фюзеляжа 1, а затем правое и левое крылья 3 поворачивают по направлению к фюзеляжу 1 и удерживают захватами 12.
Осуществляют поворот переднего горизонтального оперения 8 в направлении внутрь к оси фюзеляжа 1.
Самолет, по аэродинамической схеме треугольное крыло, с убранным передним горизонтальным оперением 8 разгоняют до сверхзвуковой скорости полета.
В случае возникновения аварийной ситуации, по команде пилота или по сигналу от бортового компьютера, удерживающие устройства освобождают модули 2, а пружины выталкивают их из фюзеляжа.
От фюзеляжа модули 2 уводят (фиг.12) катапультные установки 21, расположенные на передней и задней стенках.
На каждом аварийно-спасательном модуле 2 потребителей электрической энергии подключают к электрическому аккумулятору автономной системы энергоснабжения.
По сигналу реле времени открываются створки парашютного отсека.
С использованием вытяжного парашюта вводят в действие парашют 22 для плавного спуска на грунтовую или водную поверхность.
По сигналу барометрического высотомера отсоединяют основной парашют 22, что позволяет избежать протаскивания модуля 2 по поверхности.
Формула изобретения
1. Пассажирский сверхзвуковой самолет, имеющий возможность полета с обратной стреловидностью правого и левого крыльев, содержащий фюзеляж, аварийно-спасательные модули, правое и левое крыло с элеронами и механизмами поворота, шасси, вертикальный и горизонтальный стабилизаторы, два передних горизонтальных стабилизатора, которые установлены с возможностью поворота относительно оси по горизонтали фюзеляжа, и силовую установку, включающую четыре подъемно-маршевых турбореактивных двигателя, каждый из которых снизу соответствующего крыла прикреплен соплом назад, а каждое крыло прикреплено с возможностью поворота горизонтально к удерживающим захватам фюзеляжа на 53° относительно оси фюзеляжа.
2. Самолет по п.1, отличающийся тем, что каждый аварийно-спасательный модуль выполнен с теплоизолированными стенками, которые образуют внешний обвод фюзеляжа.
3. Самолет по п.1, отличающийся тем, что каждый аварийно-спасательный модуль снабжен катапультными установками, парашютным отсеком, расположенным в верхней части, и посадочным устройством, а кабина пилотов имеет катапультные кресла.
4. Самолет по п.1, отличающийся тем, что каждый аварийно-спасательный модуль снабжен автономной системой энергоснабжения.
5. Самолет по п.1, отличающийся тем, что каждый аварийно-спасательный модуль снабжен надувными амортизационными баллонами с автономной системой наддува.
РИСУНКИ
|