|
| На основании пункта 1 статьи 1366 части четвертой Гражданского кодекса Российской Федерации патентообладатель обязуется заключить договор об отчуждении патента на условиях, соответствующих установившейся практике, с любым гражданином Российской Федерации или российским юридическим лицом, кто первым изъявил такое желание и уведомил об этом патентообладателя и федеральный орган исполнительной власти по интеллектуальной собственности. |
|
(21), (22) Заявка: 2007126001/11, 09.07.2007
(24) Дата начала отсчета срока действия патента:
09.07.2007
(46) Опубликовано: 20.03.2009
(56) Список документов, цитированных в отчете о поиске:
US 2946540 А, 26.07.1960. RU 2033945 C1, 30.04.1995. RU 2223891 C1, 20.04.2004. US 2005178923 A, 18.08.2005. DE 4237873 A, 19.05.1994. US 2005072876 A, 07.04.2005. GB 952107 A, 11.03.1964. GB 839012 A, 29.06.1960. EP 517459 A, 09.12.1992. RU 2277059 C2, 27.05.2006.
Адрес для переписки:
443093, Самарская обл., г.Самара, ул. М.Тореза, 29, кв.43, пат.пов. Н.И.Максимову
|
(72) Автор(ы):
Максимов Николай Иванович (RU)
(73) Патентообладатель(и):
Максимов Николай Иванович (RU)
|
(54) СПОСОБ СОЗДАНИЯ ПОДЪЕМНОЙ СИЛЫ САМОЛЕТА (ВАРИАНТЫ), СПОСОБ ПОЛЕТА САМОЛЕТА, БЕЗАЭРОДРОМНЫЙ ВСЕПОГОДНЫЙ САМОЛЕТ “МАКСИНИО” ВЕРТИКАЛЬНОГО ВЗЛЕТА И ПОСАДКИ (ВАРИАНТЫ), СПОСОБ ВЗЛЕТА И СПОСОБ ПОСАДКИ, СПОСОБ И СИСТЕМА УПРАВЛЕНИЯ САМОЛЕТОМ В ПОЛЕТЕ, ФЮЗЕЛЯЖ, КРЫЛО (ВАРИАНТЫ), РЕВЕРС ТЯГИ И СПОСОБ ЕГО РАБОТЫ, СИСТЕМА ШАССИ, СИСТЕМА ГАЗОРАЗДЕЛЕНИЯ И ГАЗОРАСПРЕДЕЛЕНИЯ ЕГО
(57) Реферат:
Группа изобретений относится к области авиации. Способы создания подъемной силы, взлета, полета и посадки характеризуются разделением воздушного потока с возможностью получения противоположно направленных частей реактивной тяги при обдуве несущих плоскостей. Самолет содержит фюзеляж, силовую установку, средство отбора воздушного потока и предкромочный распределитель крыла для воздушного потока. Фюзеляж содержит систему магистралей подвода воздушного потока от компрессора ТРД к предкромочному распределителю крыла для воздушного потока. Крыло содержит предкромочный распределитель для воздушного потока. Крыло в другом варианте выполнено со щелями на верхней поверхности, которые соединены каналами со щелями воздухозаборника. Способ управления взлетом, полетом и посадкой самолета характеризуется использованием системы управления аэростатической подъемной силой. Система управления самолета содержит подсистему управления аэродинамической подъемной силой и подсистему управления аэростатической подъемной силой. Реверс тяги содержит систему управления створками и решетками, которые выполнены с возможностью разделения реактивной тяги на части. Способ работы реверса тяги характеризуется использованием системы управления створками и решетками. Система шасси содержит трехстоечное шасси с пневматиками низкого давления. Система газоразделения и газораспределения содержит магистрали, соединенные с ресивером воздухозаборника, компрессора для обтекания крыла. Изобретения направлены на уменьшение зависимости полета от погодных условий. 17 н. и 26 з.п. ф-лы, 27 ил.
Изобретения относятся к производству и эксплуатации авиационной техники и ее инфраструктуре, преимущественно крылатых летательных аппаратов грузопассажирского назначения, палубного, в том числе с ТРД, ТРДД в качестве силовой установки, а именно способам создания подъемной силы, полета, взлета и посадки, управления самолетом в полете, а также конструкции безаэродромных самолетов вертикального взлета и посадки, реверса тяги и способу его работы, несущей плоскости и шасси самолета, системам газоразделения и газораспределения.
Вся известная в науке и широко применяемая в хозяйственной практике авиатехника изготовлена по закону и нормам аэродинамики, требующей трудоемкой и дорогостоящей инфраструктуры для использования этой техники, так как аэродинамический принцип функционирует только при взаимодействии движущегося несущего крыла относительно воздушной среды и земной поверхности и с очень большой скоростью на большой, к тому же, высоте.
Именно это свойство самолетов на аэродинамическом принципе определяет основной недостаток этого вида авиатехники: она хорошо выполняет основную функцию – высокоскоростное перемещение полезной нагрузки (грузов, пассажиров; вооружения) на основном этапе полета – на эшелоне перемещения от пункта взлета к цели полета или во время выполнения полетного задания. Однако на этапах взлета и посадки высокая скорость является большим и опасным недостатком: даже при максимально возможном снижении ее до посадочной она остается настолько высокой, что последствия нештатных ситуаций на посадке имеют катастрофические результаты. Это снижает надежность полетов даже при исключительно высоких требованиях к летному составу: к квалификации, здоровью, режиму и состоянию. Также ужесточается зависимость полетов и их результатов от погодных условий. Именно из-за высокой скорости, определяемой аэродинамикой, большинство летных происшествий, возникающих вследствие технических неполадок, перерастают в катастрофу, так как из-за больших скоростей полета, взлета и посадки для благополучного приземления в экстремальной ситуации на удалении от взлетно-посадочной полосы шансов практически нет. А длина аэродромных взлетно-посадочных полос, их износ и дороговизна строительства и периодического ремонта также не относятся к достоинствам аэродинамического принципа в производстве авиатехники и летной практике. А большие площади ВПП, рулежных дорожек и светотехнического оборудования полос и дорожек дополнительно к стоимости капитального строительства и дороговизне билетов и прочих авиатехнических услуг, предопределяют расположение аэропортов на большом удалении от городов с дополнительными расходами и неудобствами пользования услугами авиации. Не исключено, что описанные недостатки аэродинамики, в том числе, стали основой для ученых в поиске новых принципов создания подъемной силы летательных аппаратов. Например, описанный в газете АиФ №5 (48) за 1996 год на стр.3 способ движения в пространстве с магнитогидродинамическим (МГД) ускорением или проект по созданию многоразового корабля АЯКС с МГД (там же). В «Российской газете» от 6 сентября 1996 года описаны исследования с расщеплением компонентов вещества, используемого в качестве топлива двигателей нового типа, на стр. 28. Однако расходы на создание этих двигателей даже для космических целей настолько грандиозны и нереальны, что в ближайшие 50 лет останутся фантастическими проектами еще и вследствие ограниченной потребности в космических путешествиях.
Такой же глобальной по масштабу задачей является проблема обеспечения услугами авиатехники местных авиалиний, что в российских просторах является единственной возможностью. Но пока, наоборот, в период перехода к рыночным отношениям уровень обеспечения населения этими услугами ухудшился. Одним из свидетельств этого, по мнению директора государственного проектно-изыскательного и научно-исследовательского института гражданской авиации «Аэропроект» академика Академии транспорта России Вадима Иванова, является закрытие около шестисот аэропортов из полутора тысяч, действующих в России в советское время.
Усугубляет ситуацию изношенность самолетного парка – до 60% эксплуатируемых аппаратов израсходовали ресурс и подлежат замене.
Таким образом, перечисленная совокупность причин, обуславливающая большие затраты на восстановление уровня обеспеченности авиауслугами советского времени, может быть совмещена со сменой самолетного парка для существенного улучшения комфортности транспортных услуг с использованием производственной инфраструктуры авиапромышленности с удвоением объема транспортных услуг за счет аэростатического принципа создания подъемной силы самолетов посредством восстановления самолетного парка самолетами вертикального взлета-посадки с нескоростным регулированием их подъемной силы, условно названной аэростатической.
Аэростатическая подъемная сила незаслуженно ограниченно применяется в прикладной аэродинамике, например в способе проведения экспериментов в аэродинамической трубе, пат. РФ №2063014, G01M 9/00 за 1996 г., с законом обращения движения. Эта узкая область аэродинамики не отражает истинного значения этого закона для мировой экономики и эта ошибка конструкторов авиатехники усложняет быт населения земного шара даже в промышленно развитых странах и увеличивает транспортные расходы. А важность улучшения надежности авиаперевозок авиатехникой, изготовленной с использованием закона обращения движения, следует из анализа статистики летных катастроф, являющихся следствием летных происшествий, отказа авиатехники и дефицита времени на принятие правильных решений, при появлении их вследствие высокой скорости полета.
Исторически первым появившимся и наиболее широко распространенным способом полета летательных аппаратов тяжелее воздуха является полет крылатого летательного аппарата – винтомоторного самолета с тянущим винтом. Физика этого процесса состоит из трехступенчатого преобразования энергии топлива в аэродинамические свойства самолета. В двигателе из энергии топлива создается вращение винта с воздушным потоком и тягой, которая преобразуется в скорость руления к взлетной полосе и разбега по ней для взлета, с началом которого обтекание движущегося в воздушной среде крыла преобразуется в подъемную силу, пропорциональную скорости разбега или полета. Отличие реактивного полета состоит в том, что воздушно-газовый поток, создающий вращение ротора, располагается внутри двигателя и в скорость с подъемной силой преобразуется реактивная сила. Таким образом, в этих вариантах движения одновременно с ростом горизонтальной скорости движения крыла и синхронно ей увеличивается вертикально направленная подъемная сила, которая по достижении величины веса самолета «отрывает» его от поверхности ВПП, после чего самолет дополнительно увеличивает скорость на взлетном режиме работы двигателей для перехода в набор высоты на уменьшенных оборотах. А подъемная сила образуется посредством обтекания специальным образом спрофилированного крыла, движущегося в воздушной среде, т.е. эта сила – аэродинамическая. После набора высоты до заданного эшелона полета самолет переходит в горизонтальный полет на крейсерском режиме – 0,7 взлетного и менее до подлета к аэродрому посадки, затем начинает снижение и подготовку к посадке на меньших оборотах, иногда выполняя полет по кругу над аэродромом посадки до своей очереди на посадку, так как самолеты вынуждены приземляться только на полосу. Дождавшийся своей очереди на посадку самолет с четвертого разворота выходит на посадочную глиссаду и начинает планирование с промежуточной высоты круга с постепенным уменьшением скорости до посадочной на высоте приземления, на которой подъемная сила становится равной посадочному весу самолета и уменьшится настолько, что вес этот опустит движущийся еще с очень большой скоростью самолет до контактирования колес шасси с поверхностью ВПП. Для уменьшения скорости и длины пробега после касания пилот включает реверс тяги и двигатель переводит на крейсерский режим для кратковременного создания реактивной тяги противоположного пробегу самолета направления.
Наличие разбега самолета по ВПП с работой двигателя(ей) на взлетном режиме или пробега по ней на посадке с включением реверса, кроме увеличения расхода топлива и полетного веса, стоимости ВПП, самолета из-за необходимости включения в компоновку аппарата сложного дорогостоящего в изготовлении и эксплуатации шасси, с увеличением площади аэропорта создает проблему превышения шума двигателей, нормированного международными стандартами.
В науке известны решения усовершенствования способа создания подъемной силы, как например способ изменения аэродинамических характеристик дозвукового летательного аппарата с отбором разогретого газа для обдува его поверхностей через зоны локального выдува, в том числе на нижней и верхней поверхностях несущих плоскостей крыла, описанный в патенте РФ №2282563, В64С 21/04 за 2004 год. При всей технической привлекательности данный способ требует весьма значительных затрат времени и средств для использования из-за необходимости создания почти новой инфраструктуры. Описанные недостатки аэродинамического принципа создания подъемной силы авиации наземного и палубного базирования безусловно повлияли на появление самолетов вертикального взлета-посадки. Однако все известные варианты самолетов этого типа также используют аэродинамический принцип создания тяги, а подъемную силу обеспечивают на взлете и посадке посредством изменения направления тяги с горизонтального на вертикальное. Обеспечивают это, выполняя крыло с жестко закрепленными на нем двигателями с возможностью шарнирного углового перемещения на угол 90°, снабжают самолет крылом с винтами на концах каждого полукрыла с автоматом перекоса шарнирных узлов крепления винтов для вертикальных посадки или взлета, как например в способе полета самолета вертикального взлета и посадки, описанного в заявке 2005105277/11, В64С 29/00. В патенте РФ №2276043, В64С 27/22, F02K 1/60, 3/04 за 2004 год для реализации самолетного и вертолетного режимов полета безаэродромный летательный аппарат снабжен подъемным турбовентилятором, встроенным в нижнюю подъемно-несущую плоскость, маршевым и хвостовым ТРД.
Способ изменения аэродинамических характеристик управляющих поверхностей летательного аппарата, описанный в пат. РФ №2272746, В64С 9/00, 21/04 за 2004 год, состоит из отбора части воздушного потока, например от компрессора, для локального выдува, в том числе на верхней и нижней поверхности несущих плоскостей крыла, через регулирующие органы по герметичным магистралям подвода его к плоским по конфигурации зонам локального выдува отобранной части потока, расположенным у передней кромки каждой полуплоскости крыла на режимах взлета, посадки и маневрирования самолета. Известен, по патенту РФ №2270786, В64D 5/00, В64F 1/04 за 2004 год, способ взлета и посадки летательного аппарата посредством взаимодействия его с концевым захватом троса, второй конец которого соединен с платформой перемещающейся по кольцевым направляющим воздушной гавани.
В заявке 2005105277, В64С 29/00 описан способ взлета самолета вертикального взлета-посадки с вертикальным положением осей валов воздушных винтов и с последующим переводом их в горизонтальное положение для перехода в горизонтальный полет. Усложнение конструкции самолета по заявке 2005105277, обусловленное введением в нее шарниров соединения крыла с фюзеляжем и привода для изменения положения крыла, увеличивает вес самолета.
Наличие воздушной гавани с платформой в патенте 2270786 существенно сокращают длину воздушной гавани, однако и в данном способе на взлете и посадке аппарат «привязан» и к гавани, и к платформе, а на остальной траектории полета в окрестностях гавани и на любой точке маршрута он обречен в нештатной ситуации, как и традиционные самолеты, реализующие аэродинамический принцип создания подъемной силы. По патенту РФ №2278060, B64F 1/00, 1/18 за 2005 год известен способ посадки беспилотного летательного аппарата с выведением аппарата в зону действия наземного посадочного оборудования, наведения его по заданной траектории на посадочную площадку со снижением скорости его движения до выхода в точку касания.
Недостатком этого способа посадки является также аэродинамический принцип полета, обуславливающий большую скорость касания аппарата с наземным оборудованием, требующую дополнительного гашения с помощью специальных наземных средств и установленных на аппарате.
Из авт.св. №1816708 за 1990 год известен аэростатический летательный аппарат «Вакула» с инертным подъемным газом в тороидальной емкости с силовой установкой из электрогенератора и электродвигателя с воздушным винтом, кабиной экипажа, грузовым отсеком, солнечной батареей на поверхности аппарата и водородной турбодизель-генераторной установкой, оппозитным сверхпроводящим электродвигателем и лебедкой. По патенту РФ №2268845, В64С 27/00, 29/00 за 2004 год известен летательный аппарат «ТУРБОЛЕТ» с кольцевыми крыльями, выполненными с возможностью наклона противоположно вращающейся системы крыльев для перехода на горизонтальный полет.
Улучшение технических характеристик винтового самолета, описанного в патенте РФ №2252177, В64D 27/24 за 2003 год, достигается за счет выполнения крыла с проемом для отбора воздуха из зоны торможения потока во внутреннюю полость крыла и продольными выходными щелями по контуру на всей его длине.
Параллельные друг другу каналы в каждом полукрыле вдоль его размаха, сопряженные с вертикальной частью каналов, применены для улучшения эксплуатационных свойств транспортного самолета, известного по патенту РФ №2284948, В64С 21/10 за 2005 год.
Достигаемое улучшение эксплуатационных свойств в известных решениях связано с усложнением конструкции (пат. №2268845), ослаблением несущих возможностей крыла из-за выполнения крыла с проемом для отбора воздуха из зоны торможения (пат. №2252177) или полым (патент №2284948).
В патентах РФ №2174089, В64С 1/00 за 2000 год и №2282560, В64С 1/00, 5/02 за 2004 год известны самолеты с несущим фюзеляжем для улучшения их аэродинамических свойств посредством улучшения формы фюзеляжа: уплощения нижней поверхности передней части фюзеляжа в первом решении и носовой плавно расширяющейся его части во втором. По заявке ФРГ №1481622, В64С 1/00 за 1970 год известен фюзеляж самолета с поперечным сечением из нескольких переходящих друг в друга круговых сечений с вертикальными и продольно-вертикальными силовыми элементами в местах перехода сечений.
По авт.св. СССР №467570, В64С 3/18 за 1984 год известно крыло летательного аппарата, выполненное из обшивки, укрепленной на силовом наборе из лонжеронов, нервюр и стрингеров. По авт.св. №1816714, В64С 23/02 за 1987 год крыло содержит центроплан с вращающимися валами в его передней и задней кромках с натянутой на них бесконечной лентой. Крыло по патенту РФ №2081791, В64С 21/02, 23/06 за 1997 год выполнено с верхней поверхностью в виде отдельных аэродинамических элементов с образованием каналов и щелей между ними.
По пат. РФ №2286286, В64С 3/14, 5/14, 5/16, 9/12 за 2004 год известна несущая поверхность, содержащая неподвижную поверхность и шарнирно соединенную с ней по торцу одну, по крайней мере, поверхность управления, выполненную вдоль размаха крыла с симметричными или несимметричными обводами верхнего и нижнего контуров каждого из них.
Активное крыло, описанное в патенте 2281877, В63В 1/24, В63Н 11/03, В63С 3/32 за 2004 г., выполнено с ускорителем активной среды и выходным соплом. Ускоритель крыла состоит из серии сопел, в том числе, с выходом одного в другом с образованием полостей, одна из которых, по меньшей мере, соединена с устройством подачи и отсоса текущей среды и снабжена средством регулирования потока.
По пат. США №3644611, кл. 244-12, за 1972 год известен самолет вертикального взлета и посадки, крылья которого снабжены эжектором в виде продольного по размаху крыла проема, закрытого по нижней его поверхности откидными створками. Вдоль проема, спереди и сзади него, выполнены щелевые сопла, в которые подаются выхлопные газы турбореактивных двигателей.
Аэродинамический профиль по патенту 2086458, В64С 3/14, 21/04 за 1997 г. выполнен со щелью вдоль хорды профиля с заслонками на входе и выходе со струйной механизацией, одновременно закрывающимися на крейсерском и открывающимися на режимах взлета и посадки.
Недостатком известных решений является ограничение функциональных возможностей аэродинамической функцией.
По заявке РФ №2005104454/11, В64С 9/02, 9/04, 9/12 известен способ управления летательным аппаратом, заключающийся в том, что управление положением аппарата в полете выполняют распределением давления по несущей поверхности посредством отклонения задней кромки и щитков крыла, горизонтального и вертикального оперения. Большинство известных механизмов управления аэродинамическими поверхностями самолета содержат узлы и агрегаты, связанные с этими поверхностями и органами управления посредством шарнирных соединений, тяг, в том числе тросовых, качалок и рычагов. Таковы механизмы, описанные в заявках РФ №2004138780/11, 2005110357/11, В64С 1/00 или в патенте на полезную модель РФ №50514, В64С 3/28 за 2005 год. Известно также устройство управления, описанное в заявке №2005104454/11. Данное устройство содержит отклоняемые задние кромки и выдвигаемые щитки из щели крыла и приводы для их отклонения, соединенные с элементами управления в кабине.
Описанные в них механизмы управления аэродинамическими поверхностями характеризуются зависимостью эффективности несущих поверхностей от скорости полета и неразрывно зависящей от нее величины подъемной аэродинамической силы.
Недостатком этих и других известных решений крыла и самолетов является низкая эксплуатационная функциональность.
Недостатком шасси известных крылатых летательных аппаратов является их отрицательная экономичность, связанная с большим весом шасси при крайне коротком активном использовании во время разбега самолета по ВПП на взлете и пробега на посадке.
Большой вес шасси обусловлен большой скоростью касания колес с ВПП на посадке из-за существенного усиления всех узлов и деталей шасси для обеспечения его надежности, но при этом усиливается износ протектора шин и соответственно частота смены колес шасси с увеличением трудоемкости техобслуживания. А как известно, каждому килограмму веса агрегатов самолета должно соответствовать четыре килограмма веса самолета и, следовательно, суммарный нерационально используемый вес шасси многократно увеличивается еще и весом топлива, требуемого для многочасовой перевозки ненужного в полете веса, используемого только при движении самолета по ВПП.
У самолетов вертикального взлета и посадки этот ненужный вес или закамуфлирован весом усложнения конструкции или введением не менее тяжелых агрегатов, например двигателя подъемного вентилятора (турбовентилятора). Устройства для раскрутки авиаколес (пат. РФ №2041138 или 2036119) дополнительно увеличивают вес и шасси, и самолета или усложнения технологии изготовления колес, как у колес с аэродинамическим приводом с ухудшением раскрутки этих колес (пат. РФ №2102284).
Большой вес известных шасси иллюстрируют основная опора шасси по патенту РФ 1821416, В64С 25/66 за 1993 год или главное шасси самолета по патенту РФ 2099245, В64С 25/12 за 1997 год и подтверждается простым, но длинным перечислением участвующих в выполнении этих кратчайших по времени функциональных операций: стойка с колесами или колесными тележками, с механизмом уборки-выпуска стоек, замками выпущенного и убранного положения, тормозной и рулевой системами, а также сигнализацией.
В общем-то, среди известных решений любой отрасли, в том числе и посадочных устройств, преобладают такие, в которых улучшение эксплуатационных и/или функциональных свойств достигается за счет существенного усложнения устройства, что сопровождается увеличением веса, трудоемкости изготовления и техобслуживания в эксплуатации, что делает их, по крайней мере, не популярными. Доказательством этой тенденции служит шасси транспортного самолета «Самолет В.С.Григорчука», пат. РФ №2086478, В64С 39/08, В64D 41/00 за 1995 год, п.2 формулы.
Описанная в патенте СССР №799636, В64С 29/00, 13/04 за 1981 год газоразделительная и газораспределительная система самолета вертикального взлета и посадки состоит из воздушно-газового тракта двигателя и системы подвода газа от двигателя к щелевым соплам закрылков и щитков. Воздушный тракт двигателя состоит из боковых воздухозаборников с прямоугольным поперечным сечением, задние стороны каналов которых присоединены к входному направляющему аппарату двигателя, соединенному с компрессором. В камере сгорания воздух смешивается с продуктами сгорания топлива и этот газовый поток перемещается в крейсерском полете через завершающие газовый тракт турбину и сопло. Для вертикальных взлета и посадки часть газового потока, отобранная из тракта, по соединенным с трактом магистралям подводится к щелевым соплам эжекторов крыла и стабилизаторов носового горизонтального оперения.
Отличием самолетов истребительной авиации состоит в отсутствии некоторых магистралей газоразделительной системы, например магистрали подвода газа к двигателю(ям) от ВСУ, а также магистралей и системы кондиционирования.
Наиболее близким по технической сути к заявляемому способу создания подъемной силы является способ, описанный в пат. РФ №2002671, В64С 9/00 за 1991 год. Он состоит из формирования ускоренного потока текучей среды переменной интенсивности и направления его в сторону, противоположную движению над опорной поверхностью, при этом усиленный поток формируют из двух составляющих, интенсивность которых изменяют одновременно или дифференцированно и изменяют при этом направление вектора тяги.
Наиболее близким по технической сути к заявленному способу полета является описанный в заявке РФ №2005141523/11, B64F 1/36 способ поддержки при посадке или взлете летательного аппарата. Создаваемый реактивным двигателем воздушно-газовый поток для подвода энергии к летательному аппарату регулируют в зависимости от ситуации, в том числе для торможения летательного аппарата до его зависания, затем увеличения скорости горизонтального полета в требуемом направлении или приземления аппарата из положения зависания над точкой касания опорной поверхности с формированием для этого воздушно-газового потока одним, по крайней мере, ТРДД со средством регулирования посредством переключения потока.
Наиболее близким по технической сути к заявляемому способу взлета является способ взлета летательного аппарата вертикального взлета и посадки, описанный в разделе «Работа аппарата» патента РФ №2095282, В64С 29/00 за 2005 год.
Для его взлета запускают двигатели и газовоздушные потоки из сопел общей камеры подают на противолежащие им и друг другу крылья на всей их длине. Обтекание газовоздушных потоков большой скорости перпендикулярных фюзеляжу профилей крыльев создает только вертикальную подъемную силу без горизонтального перемещения при нейтральном положении газоструйных рулей – направляющих щитков и выполняют подъем на безопасную высоту на этой аэростатической подъемной силе, на безопасной высоте переходят на увеличение горизонтальной скорости в требуемом направлении посредством отклонения направляющих щитков. Создаваемую отклонением щитков реактивную силу и скорости горизонтального и вертикального перемещения регулируют оборотами двигателей(ля), а управление направлением полета и положением самолета направляющими щитками выполняют на реакции струи газов из сопел с аэродинамическим управлением самолетом.
Наиболее близким по технической сути к заявляемому способу посадки является способ посадки летательного аппарата, описанный в патенте РФ №2278801, В64С 29/02, 25/40 за 2005 год. Посадку беспилотного летательного аппарата аэродинамического типа по этому способу выполняют с полным гашением вертикальной скорости до мягкой посадки посредством перевода силовой установки на авторотацию с прецессией и поворотом крыла на угол 90°.
Полное гашение вертикальной скорости в этом способе исключает необходимость в наземном оборудовании, однако применение его ограничивается только самолетами с шарнирным крылом на фюзеляже, что усложняет конструкцию и увеличивает вес аппарата за счет введения в конструкцию привода крыла.
Наиболее близким по технической сути к заявляемому самолету вертикального взлета-посадки является транспортный самолет, описанный в патенте РФ №2094307, В64С 1/00, В64Д 33/02 за 1994 год. Он состоит из фюзеляжа с реактивными двигателями в диффузоре, установленными в хвостовой части, выполненной со щелями отсоса, связанными с комбинированным устройством, включающим эжектирующую и напорную части воздуховодов с соплами.
В фюзеляже расположен канал воздухозаборника, расположенного на фюзеляже, а двигатели снабжены средством изменения направления вектора тяги. Щели отсоса выполнены на кромке комбинированного средства и соединены с входами двигателей, и снабжены регулировочными средствами.
Наиболее близким по технической сути к заявляемому решению – фюзеляжу является фюзеляж летательного аппарата, описанный в пат. РФ №2270135, В64С 1/00 за 2004 год. Он содержит выполненный из шпангоутов, стрингеров и соединенной с ними обшивки с поперечными элементами шпангоутов и силовыми элементами цилиндрический корпус, разделенный перегородками на герметичную часть – пилотскую кабину с пассажирским салоном или грузовым отсеком с проемами для дверей и окон, бортовыми системами и узлами крепления к нему центроплана, хвостового оперения и несущих плоскостей.
Наиболее близким по технической сути к заявляемому крылу является крыло для летального аппарата, включающее эжектор в виде двух последовательно расположенных вдоль хорды крыла, поворотных вниз закрылков с щелевым соплом для выдува воздуха на их обращенные одна к другой поверхности в отклоненном положении, соответствующем вертикальному и переходным режимам полета, при этом один из закрылков является отклоняемой вверх-вниз хвостовой частью крыла, пат. СССР №541426, В64С 21/02 за 1973 год. Известные фюзеляж и крыло не обладают достаточной эксплуатационной функциональностью и спроектированы лишь для реализации аэродинамического принципа полета.
Наиболее близким по технической сути к заявляемому реверсу тяги является реверс тяги двигателя НК-8-2У, устанавливаемый на самолет ТУ-154 и описанный в руководстве по эксплуатации «Турбовентиляторный двигатель НК-8-2У. Дополнение к техническому описанию двигателя НК-8-2 82У.000501ДД, стр.78-81, 94-102, рис.58».
Он состоит из створок, рычаги перекладки которых установлены в диаметрально расположенных на проставке сопла опорах попарно с возможностью поворота на угол 90°. Концы рычагов соединены со штоками воздушных цилиндров, каждая створка реверса в нерабочем положении располагается в соответствующем окне проставки для решеток, лопатки которых изменяют направление воздушно-газового потока после перекладки створок. Система управления снабжена замками блокировки створок в переложенных положениях и имеет кинематическую связь с системой управления работой двигателя. Недостатком известного реверса тяги является недостаточная функциональность из-за возможности использования реверса только при пробеге самолета после касания колес шасси приземлившегося самолета.
Наиболее близким по технической сути к заявляемому способу управления безаэродромным всепогодным самолетом является способ управления летательным аппаратом, описанный в заявке РФ №2005104454/11, включающий отклонение задней кромки несущей поверхности и выдвижение щитка из щели крыла для изменения положения аппарата.
Наиболее близкой по технической сути к заявляемой системе управления является система управления летательным аппаратом вертикального взлета и посадки, описанная в патенте СССР №799636. Данная система содержит средства изменения направления вектора тяги, отклоняемые задние кромки, эжектирующее щелевое устройство и приводы для их управления и регулирования, включая вертикальный и переходный режимы полета, закрепленные на элементах фюзеляжа проводку и средства регулировки. Органы управления содержат ручку управления и педали, в кабине, соединенные проводкой управления с силовыми приводами, используемыми, по крайней мере, в горизонтальном полете. Зависимость величины подъемной силы от скорости – позитивный фактор, обеспечивающий решение основной задачи транспортной техники – перемещение грузов из пункта взлета до места посадки. Однако на взлете и посадке большая скорость вертикального и горизонтального перемещения становится таким же большим негативным – опасным фактором, и все известные решения самолетов аэродинамического типа, способов и механизмов управления их не разрешают данного противоречия авиатехники.
Наиболее близкой по технической сути к заявляемой системе шасси является система шасси, описанная в патенте РФ №1816715, В64С 25/66 за 1993 год. Она состоит из двух основных стоек, шарнирно закрепленных одним концом на лонжероне крыла и одной хвостовой или носовой стойки, шарнирно соединенной с фюзеляжем одним концом. На свободном конце каждой стойки установлены неподвижные в осевом направлении колеса. Поиск аналогов шасси и самолетов с 1941 года не выявил появления новых тенденций в конструкции шасси и самолетов, кроме действующих на аэродинамическом принципе. Сохраняются незыблемо традиционные недостатки и технология техобслуживания.
Наиболее близкой по технической сути к заявляемой системе газоразделения и газораспределения является система, описанная в патенте РФ №2284283, В64D 37/22 за 2005 год. Она состоит из магистрали, соединенной с системой кондиционирования, магистрали наддува топливных баков, а также имеет одну, по крайней мере, магистраль, соединенную с трактом одного, по крайней мере, двигателя и снабженную контрольно-регулирующей аппаратурой с возможностью перепуска части потока из воздушно-газового тракта к эжектору, магистралями подвода газа от ВСУ к стартеру двигателя(ей). Традиционно данное решение малофункционально, так как система не имеет возможности обеспечивать статическую фазу полета – вертикальное перемещение в режиме зависания.
Изобретения решают задачи улучшения надежности авиаперевозок с одновременным уменьшением зависимости полетов от погодных условий с полным исключением ее от аэропортов и их светотехнического оборудования с одновременным упрощением инфраструктуры обеспечения полетов, особенно на местных авиалиниях, а также с обеспечением резервов развития с переориентацией площадей международных и межконтинентальных аэропортов, уменьшением полетного веса самолетов, улучшением экономичности их эксплуатации, объема техобслуживания со стоимостью заменяемых при этом узлов посадочного устройства.
Суть изобретения способа создания подъемной силы безаэродромного всепогодного самолета вертикального взлета и посадки, включающего формирование ускоренного потока текучей среды переменной интенсивности и направление его в сторону, противоположную направлению движения самолета, например по опорной поверхности, усиленный поток формируют из двух составляющих, с одновременным или дифференцированным изменением их интенсивности и производят отклонение вектора тяги, для чего комбинированное регулирование подъемной силы самолета осуществляют, включая соответствующий фазе полета аэростатический или аэродинамический принцип создания подъемной силы, исключая на взлете и посадке горизонтальное перемещение самолета и создавая аэростатическую подъемную силу посредством закона обращения движения, и регулируя величину ее и скорость вертикального перемещения, исключая при этом горизонтальное перемещение посредством разделения реактивной тяги на части с формированием из них равных и противоположно направленных относительно направления движения частей с одновременным разделением отобранной части воздушного потока на обдув несущих поверхностей крыла и горизонтального оперения и подачу другой его части к газоструйному рулю с последующим эжектированием обдувающей крыло и горизонтальное оперение части потока в центральную часть реактивной струи или в газовоздушный ресивер сопла.
Для создания аэростатической подъемной силы от воздухозаборника, компрессора, и/или второго контура одного, по крайней мере, двигателя, и/или бортовой воздушно-стартовой установки отбирают часть воздушного потока и выпускают его перед передней кромкой каждой полуплоскости крыла и/или горизонтального оперения на несущую поверхность, а на задней их кромке соответственно эжектируют этот поток воздухозаборниками, из которых по соответствующей эжектирующей магистрали поток перемещается в газовый поток турбины или реактивного сопла, например в центральную часть потока.
Для обтекания несущей поверхности крыла отбирают часть воздушного потока из канала воздухозаборника(ов), компрессора ТРД на режиме перепуска воздуха из него, например, или на любом режиме из второго контура ТРДД, или от бортовой ВСУ полидвигательной компоновки самолета, а перемещение воздушного потока от передних кромок до задних кромок и выхода его в центральную часть газового потока, например в сопло, осуществляют с увеличением его скорости от скорости воздушного потока в компрессоре или во втором контуре до скорости газового потока в центральной части сопла.
Способ создания подъемной силы безаэродромного всепогодного самолета вертикального взлета и посадки, включающий формирование ускоренного потока текучей среды переменной интенсивности и направление его в сторону, противоположную направлению движения по опорной поверхности, усиленный поток формируют из двух составляющих, с одновременным или дифференцированным изменением их интенсивности, и производят отклонение вектора тяги, для чего аэростатическое обтекание отобранной от двигателя частью воздушного потока несущих поверхностей крыла и горизонтального оперения обеспечивают выпуская воздух над верхней несущей поверхностью и эжектируя его закромочным воздухозаборником преимущественно с верхней поверхности.
Способ создания подъемной силы безаэродромного всепогодного самолета вертикального взлета и посадки, включающий формирование ускоренного потока текучей среды переменной интенсивности и направление его в сторону, противоположную направлению движения, например по опорной поверхности, усиленный поток формируют из двух составляющих, с одновременным или дифференцированным изменением их интенсивности, и производят отклонение вектора тяги, при этом аэростатическое обтекание атмосферным воздушным потоком несущих поверхностей крыла и горизонтального оперения обеспечивают, включив эжектирование закромочным щелевым воздухозаборником в стационарном или пульсирующем режиме эжектирования.
Способ взлета безаэродромного всепогодного самолета вертикального взлета-посадки, имеющего реактивный двигатель с реверсом тяги, включающий создание воздушного потока в компрессоре с преобразованием его в газовоздушный в камере сгорания, с возможностью регулирования вектора тяги и подачи части потока, по крайней мере, в специальную полость воздушного тракта и подвода его к несущим и управляющим плоскостям для обтекания их с возможностью создания при этом аэростатической подъемной силы, подъем самолета в режиме «зависания» с управлением в подъеме положением самолета аэростатическими рулями с переходом на аэродинамические рули в переходном и горизонтальном полете с регулированием вертикальной и горизонтальной скорости оборотами двигателя(ей), для подъема самолета на безопасную высоту в режиме зависания включают двигатели(ль) на стоянке и, включив аэростатическую подъемную силу с реверсом тяги для разделения реактивной тяги на равные противоположно направленные части и одновременно отбор части воздушного потока из воздушного тракта двигателя, и подают ее в предкромочные распределители для выпуска на обтекание несущей поверхности полуплоскостей с эжектированием ее после обтекания закромочными воздухозаборниками, а также к струйному рулю вертикального оперения, после подъема самолета на безопасную высоту в описанном режиме «зависания», обеспечивающем создание аэростатической подъемной силы по закону обращения движения, реверс тяги выключают для перевода самолета в режим увеличения его горизонтальной скорости без набора высоты или с одновременным набором высоты, по крайней мере, до скорости полета, на которой начинают действовать аэродинамические рули, после чего газоструйный руль и отбор воздуха на создание аэростатической подъемной силы отключают и в дальнейшем полете самолета используют аэродинамическое управление его полетом.
В способе взлета самолета полидвигательной компоновки с одним работающим двигателем включают подвод части воздушного потока из его ресивера и ВСУ через напорный ресивер фюзеляжа самолета на обдув крыла с оперением с эжектированием ее воздухозаборниками, соединенными с центральной зоной сопла работающего двигателя через эжектирующий ресивер фюзеляжа, сообщенный магистралью с входным каналом ВСУ, одновременно включив реверс, устанавливают створки его в положение деления реактивной тяги на две равные противоположно направленные части, например результирующая двух боковых, вытекающих из решеток реверса, равна и противоположна центральной, вытекающей из сопла, а двигатель выводят на режим, на котором обтекание отобранного воздушного потока создает на крыле аэростатическую подъемную силу, превышающую полетный вес самолета, и он в этом режиме «зависания» поднимается на безопасную высоту, где реверс выключают для разгона на режиме работы двигателя от крейсерского до взлетного в горизонтальном полете до скорости начала действия аэродинамических рулей и аэродинамическая подъемная сила превысит вес самолета, и он переходит в аэродинамический набор высоты на заданный эшелон полета на режиме не более крейсерского, после выключения газоструйного руля.
Способ полета безаэродромного всепогодного самолета с вертикальным взлетом и посадкой и реверсом тяги, включающий создание воздушно-газового потока воздуха для подвода энергии к самолету и регулирование его в соответствии с ситуацией и возможностью раздельного управления вертикальной и горизонтальной скоростями полета, в том числе в режиме зависания с последующим увеличением скорости горизонтального полета в требуемом направлении или приземлением самолета из положения зависания над точкой касания с опорной поверхностью и с переключением направления реактивной тяги, горизонтальный полет с крейсерским режимом работы двигателя на заданной высоте до пункта назначения или выполнения полетного задания, а подъем самолета на безопасную высоту выполняют с места его стоянки на аэростатической подъемной силе, обеспечивая оптимально горизонтальное его положение в пространстве струйным рулем вертикального оперения с регулировкой площади обтекания несущей поверхности крыла и горизонтального оперения и обеспечивая соотношение аэростатических подъемных сил крыла и горизонтального оперения соответственно требуемому положению самолета в пространстве с изменением режима работы двигателя на этапах подъема на безопасную высоту и с нее до опорной поверхности, для начала горизонтального перемещения на безопасной высоте и увеличения скорости горизонтального полета реверс выключают и выполняют разгон самолета до скорости полета, на которой начинают действовать аэродинамические рули, а когда аэродинамическая подъемная сила становится равной полетному весу самолета, аэростатические подъемную силу и струйный руль отключают и одновременно переводят самолет в набор высоты до заданного эшелона, на котором полет выполняют в аэродинамическом режиме до приближения к месту посадки или появления экстремальных (нештатных) ситуаций в функционировании систем и агрегатов самолета, изменения метеоусловий или по любой другой причине для создания безопасности полету в любой момент полета и независимо от наличия взлетно-посадочной полосы включают аэростатическую подъемную силу и выполняют экстренное снижение до безопасной высоты с уменьшением скорости полета, над выбранным местом касания самолета земной, водной или поверхности базирования переводят самолет в режим зависания и начинают вертикальное приближение к точке касания на опорной поверхности.
Способ посадки безаэродромного всепогодного самолета вертикального взлета и посадки, имеющего двигатель с реверсом тяги, включающий изменение направления вектора тяги и полное гашение вертикальной скорости до мягкой посадки при снижения его с заданного эшелона, для чего экстренное уменьшение высоты и скорости полета выполняют в любой момент полета при появлении опасности благополучному завершению его, включив аэростатическую составляющую подъемной силы, посадочный щиток и реверс на режиме работы двигателя от 0,5 крейсерского до малого газа, при этом створки реверса выставляют в положение, в котором результирующая реактивная сила боковых струй, выходящих из решеток, равна и противоположна силе центральной струи реверса, выходящей из сопла, при упомянутом экстренном уменьшении скорости и высоты полета выбирают удобную точку касания и переводят самолет в режим зависания над точкой касания на безопасной высоте, увеличив режим работы двигателя, после «зависания» снова уменьшают обороты до начала «проседания» самолета, уменьшая его опускание до скорости 0,3-0,15 м/с в момент касания опорной поверхности ювелирно точным по величине и времени увеличением оборотов, при этом опускании в режиме «зависания» самолет разворачивают выдувом воздуха из струйного руля вертикального оперения таким образом, чтобы струи прямой и обращенной (реверсной) тяги в месте касания не были направлены на бытовые, хозяйственные постройки или технические объекты, которым они могут нанести повреждения или сместить их с места их расположения, а после касания самолета опорной поверхности выключают отбор воздуха на обдув, а также реверс и двигатель.
Безаэродромный всепогодный самолет вертикального взлета и посадки, содержащий фюзеляж с пилотской кабиной и пассажирским салоном или грузовым отсеком, силовую установку в хвостовой его части, например один, по крайней мере, ТРД или ТРДД с реверсом тяги со створчато-решетчатым механизмом изменения направления реактивной тяги, крыло с механизацией его аэродинамических свойств, а также комбинированным средством управления самолетом в полете, включающим аэродинамические плоскости, средства отбора части воздушного потока из воздушного тракта двигателя(ей) с магистралями подвода отобранной части потока для выпуска его перед передней кромкой несущих полуплоскостей на безотрывное обтекание управляющих и несущих поверхностей, эжектирования его системой воздуховодов с щелевыми соплами, емкости для топлива, топливную систему с перекачивающими насосами, хвостовое оперение из руля направления на стабилизаторе и рулей высоты на горизонтальных полуплоскостях, средствами управления количеством и порядком обдува отобранной частью потока полуплоскостей несущих и горизонтального оперения, шасси, систему кондиционирования, выполнен со средством отбора воздушного потока, имеющем ресивер в канале воздухозаборника, на корпусе компрессора ТРД или во втором контуре ТРДД, соединенный магистралями подвода этой части воздушного потока к предкромочным распределителям, расположенным перед каждой передней кромкой полуплоскости крыла и горизонтального оперения, а также со струйным рулем вертикального оперения, имеющим ряд щелей, соответствующий рядам щелей на боковых сторонах обшивки стабилизатора, и расположенные у задней кромки полуплоскостей крыла и горизонтального оперения эжектирующие воздухозаборники с продольными щелями для всасывания обтекающего их потока воздуха от передней кромки, соединенные магистралями с ресивером сопла, при этом ресивер воздухозаборника, компрессора или второго контура снабжены заслонками отключения отбора воздушного потока.
Самолет имеет компоновки с нижнерасположенным, среднерасположенным или высокорасположенным крылом и горизонтальным оперением, соединенным с фюзеляжем в его средней диаметральной плоскости носовой или хвостовой части, в основании стабилизатора, в середине или на верхнем его конце.
Самолет выполняют с двигателями, расположенными в мотогондолах, интегрированных в лонжероны крыла, установленными на пилонах нижней или верхней его стороны, расположенных на верхней стороне фюзеляжа пилонах, на боковых сторонах хвостовой его части, в том числе в комбинации с интегрированным в хвостовую часть фюзеляжа двигателем, воздухозаборник которого расположен на верхней или нижней стороне фюзеляжа.
Самолет выполняют с магистралями, подводящими воздушный поток к упомянутым передним кромкам и эжектирующим воздухозаборникам на задних кромках крыла и горизонтального оперения, снабженными стабилизаторами воздушного потока, направляющими выходящий из щелей распределителя поток к обтекаемой поверхности полуплоскостей крыла и оперения и забор его в щели воздухозаборников эжектирующей системы.
Самолет выполняют с упомянутыми стабилизаторами потока распределителей и воздухозаборников, выполненными шарнирными с возможностью прилегания их к соответствующей обтекаемой поверхности и средствами включения в режиме полета для создания аэростатической подъемной силы и выключения при переходе на аэродинамический принцип полета, при этом системы отбора, подвода воздушного потока и/или эжектирования его выполнены с возможностью одновременного включения обтекания всех упомянутых плоскостей, одной из них или их частей.
Самолет выполняют с ресивером каналов воздухозаборников, компрессоров двигателей или вторых контуров, соединенным магистралями со струйным рулем, установленным в вертикальном оперении с возможностью поворота на 180° для совмещения продольных щелей его с рулевыми щелями на одной из сторон стабилизатора – правой или левой – для выдува воздушного потока в сторону предстоящего поворота или крена самолета, при этом в ресивере установлена заслонка включения отбора воздушного потока на выполнение управляющего поворотом воздействия на хвостовое вертикальное оперение.
Фюзеляж безаэродромного всепогодного самолета вертикального взлета-посадки содержит выполненный из шпангоутов, стрингеров и соединенной с ними обшивки с поперечными элементами цилиндрический корпус, разделенный на герметичную часть – пилотскую кабину с пассажирским салоном или грузовым отсеком, с проемами для дверей и окон, самолетными системами, узлами соединения с центропланом и несущими плоскостями, системами кондиционирования, освещения и управления аэродинамическими рулями направления, высоты и крена, на стенках фюзеляжа укреплены герметичные магистрали подвода воздушного потока к передним кромкам полуплоскостей крыла и горизонтального оперения, соединенные с ресивером воздухозаборного канала, компрессора ТРД и/или второго контура ТРДД с одной стороны и предкромочными выпускными распределителями крыла и горизонтального оперения с другой стороны, магистралью подвода воздушного потока к струйному рулю вертикального оперения, а также герметичными магистралями эжектирования, каждая из которых соединена с закромочными воздухозаборниками крыла, горизонтального оперения и соответственно – с ресивером сопла.
Фюзеляж самолета полидвигательной компоновки выполнен с напорным и эжектирующим ресиверами, при этом с напорным ресивером соединены магистрали от ресиверов воздушного тракта каждого двигателя, а от него – к предкромочным распределителям крыла, горизонтального оперения, от ВСУ и к струйному рулю стабилизатора, а с эжектирующим ресивером фюзеляжа соединены магистрали от закромочных воздухозаборников крыла и горизонтального оперения, магистраль к входному каналу ВСУ и к ресиверам сопла двигателей или в зону центральной части реактивной струи.
Крыло безаэродромного всепогодного самолета вертикального взлета и посадки, с эжектированием воздуха щелевыми соплами в вертикальных и переходных режимах полета, имеет одну, по крайней мере, шарнирно соединенную с несущей поверхностью заднюю кромку управления, по крайней мере на части размаха крыла, используемой в аэродинамических режимах полета, при этом каждая полуплоскость крыла и горизонтального оперения выполнена с предкромочным распределителем – воздуховодом, расположенным перед передней кромкой на всем ее размахе со щелями выпуска воздушного потока, отобранного от канала воздухозаборника, компрессора ТРД или второго контура ТРДД для обтекания верхней и нижней несущих поверхностей крыла соответственно и эжектирования этих потоков щелями закромочного воздухозаборника, расположенного на всей длине задней кромки и соединенного магистралью эжектирования с ресивером сопла или с центральной частью реактивной струи, с заслонками отключения воздухозаборника и распределителя соответственно, например в устройстве отбора или в ресивере сопла.
Крыло с предкромочным распределителем и закромочным воздухозаборником на каждой полуплоскости крыла и горизонтального оперения, выполненными из корпуса, один конец которого жестко закреплен на концевой шайбе соответственно крыла или оперения, а другой конец его – на фюзеляже или центроплане, в корпусе установлен на опорах с подшипниками щелевой распределитель – воздуховод с приводом его поворота, например электрическим, вал которого соединен с распределителем, а фланец его закреплен на корпусе, стенке фюзеляжа или нервюре корневого конца полуплоскости с расположением, по крайней мере, входа в распределитель в ресивере воздушного тракта или соединенным с ресивером, при этом щели распределителя крыла, по крайней мере, расположены в три ряда, щели центрального из которых выполнены на всей длине его образующей, а два других размещены на противоположных сторонах от центрального, один на концевой половине, а другой – на корневой со смещением каждого из этих рядов на угол 20-45°, и соответственно этим рядам на внутренней стороне корпус снабжен контактными уплотнениями для перекрытия неработающих рядов щелей, а корпус разделен на две половины перемычкой в середине с уплотнением, например манжетой.
Крыло имеет ряды щелей распределителей и воздухозаборников, выполненные с переменной шириной щели, например ширина щелей концевого ряда меньше ширины корневого, а ширина их центрального ряда уменьшается пропорционально приближению расположения щели к шайбе полуплоскости.
Крыло имеет корпус предкромочного распределителя с формой поперечного сечения, соответствующей конфигурации передней кромки полуплоскостей крыла и горизонтального оперения соответственно, а обшивка их на верхней и нижней стороне выполнена с гофрами, образующими с направляющими стабилизаторами каналы на обшивке для воздуха обдува, расположенные соответственно расположению щелей в рядах, их длины и ширины.
Крыло выполнено с корпусом распределителей и воздухозаборников, расположенным соответственно в концевых отверстиях нервюр крыла и горизонтального оперения у переднего и заднего их конца перед управляющим элероном или рулем высоты, а в углублениях обшивки выполнены щели с укрепленными в гофрах направляющими стабилизаторами – накладками, образующими каналы для выхода обдувающего верхнюю или нижнюю поверхность воздуха.
Крыло безаэродромного всепогодного самолета вертикального взлета и посадки, содержащее эжектор воздуха с щелевыми соплами, используемыми в вертикальных и переходных режимах полета, одну, по крайней мере, шарнирно соединенную с несущей полуплоскостью заднюю кромку управления, по крайней мере, на части размаха крыла, используемую в аэродинамическом полете, имеет предкромочные распределители и закромочные воздухозаборники, снабженные разделителем выдуваемого из каждой щели воздуха на потоки, обдувающие соответственно верхнюю или нижнюю поверхность полуплоскости посредством гофрированной накладки, закрепленной на передней стороне корпуса предкромочного распределителя или на задней стороне закромочного воздухозаборника, с образованием на поверхности лобка передней кромки и задней кромки каналов для прохода воздуха соответственно.
Крыло безаэродромного всепогодного самолета вертикального взлета и посадки, содержащее эжектор воздуха с щелевыми соплами, используемыми в вертикальных и переходных режимах полета, одну, по крайней мере, шарнирно соединенную с несущей полуплоскостью заднюю кромку управления, по крайней мере, на части размаха крыла, используемую в аэродинамическом полете, имеет корневую часть верхней несущей поверхности, по крайней мере, каждой полуплоскости, выполненную с каналами, соединяющими соответствующие щели воздухозаборника со щелями одного, по крайней мере, промежуточного ряда щелей, выполненных в срединной части верхней несущей поверхности крыла.
Крыло может иметь предкромочный распределитель, по крайней мере, выполненный с двумя центральными рядами щелей для выдува отобранного воздуха соответственно на верхнюю или нижнюю сторону полуплоскости.
Реверс тяги безаэродромного всепогодного самолета содержит систему управления реверсом с блокировками, исполнительный механизм с рычажно-цилиндровыми узлами перекладки створок, решетки, замки рабочего и нерабочего положения створок и их опоры, створки, каждая из которых установлена на отдельную пару опор, смещенную от горизонтальной плоскости, проходящей через ось двигателя, на равную величину в противоположную сторону с обеспечением возможности разделения реактивной тяги на части, суммарная величина которых, по крайней мере на части режимов работы двигателя, например аэростатических, не создает горизонтального перемещения самолета.
Реверс тяги имеет систему управления реверсом, выполненную с возможностью обеспечения регулирования угла поворота перекладки створок для обеспечения равенства прямой и обратной тяги в аэростатических режимах полета, по крайней мере.
Реверс тяги имеет систему управления реверсом тяги, выполненную с возможностью автоматического обеспечения равенства прямой и обратной тяги на аэродинамических и аэростатических режимах полета самолета.
Способ работы реверса тяги безаэродромного всепогодного самолета содержит перекладку створок в рабочее положение, взаимодействие газовоздушного потока, по крайней мере его части, с лопатками решеток для изменения направления этой части потока, разблокировку для перекладки створок и блокировку их после перемещения в переложенное положение, перекладку створок в положение, изменяющее прямую тягу на максимально возможную обратную, выполняют на любой высоте в любой момент аэродинамического режима, например, на заданном эшелоне полета в случае возникновения неисправности в работе систем самолета, изменения погодных условий или появления опасности, связанной с опасностью самолету в процессе продолжения полета, при этом одновременно с перекладкой створок для экстренного уменьшения горизонтальной скорости аэродинамического режима, переводят двигатель(и) на режим 0,3-0,4 малого газа и включают отбор воздушного потока на обдув полуплоскостей для перехода на аэростатический режим и экстренного вертикального уменьшения высоты полета до безопасной, на которой постепенным увеличением оборотов двигателей уменьшают скорость вертикального перемещения к опорной поверхности до 0,3-0,15 м/с в момент касания пневматиков системы шасси с поверхностью опоры в выбранном месте, а положение самолета при этом обеспечивают аэростатической системой управления самолета – струйным рулем направления и изменением скорости, площади и сочетания участков обтекания полуплоскостей крыла и оперения, а в штатном режиме полета при подлете к месту посадки осуществляют снижение с эшелона полета в аэродинамическом режиме по глиссаде до безопасной высоты, на которой переводят самолет в режим зависания над выбранной точкой приземления перекладкой створок в положение, обеспечивающее равенство прямой и обратной тяги, а после зависания регулируют оборотами двигателя(ей) скорость вертикального приближения к опорной поверхности места посадки.
Способ работы реверса тяги, по которому для экстренного уменьшения горизонтальной скорости аэродинамического режима полета в нештатной ситуации створки реверса перекладывают в положение, обеспечивающее превышение обратной тяги над прямой, например имеющей максимально возможную величину, в том числе с последующим постепенным уменьшением, в том числе автоматическим, до равенства прямой и обратной тяг, например, пропорционально уменьшению горизонтальной скорости полета.
Способ управления безаэродромным всепогодным самолетом с вертикальным взлетом и посадкой, имеющим реверс тяги, включает разделение и отклонение вектора тяги с изменением положения самолета посредством распределения давления по несущей поверхности и поверхности управления с применением щитков, для чего перечисленные приемы применяют на участках полета с аэродинамическим принципом создания подъемной силы – в горизонтальном полете на заданном эшелоне полета или в наборе высоты с безопасной высоты до заданного эшелона, а для взлета и посадки переключают работу самолета и систему управления на аэростатический режим, включив отбор части воздушного потока из воздушного тракта двигателя на обдув крыла с горизонтальным оперением и эжектирование его после упомянутого обдува и для подвода воздуха к струйному рулю вертикального оперения, исключают горизонтальное перемещение самолета при этом, включив реверс для разделения тяги на равные и противоположно направленные части для подъема на безопасную высоту при взлете, с посадочным щитком на посадке при необходимости для перевода самолета в режим «зависания» над точкой касания, а вертикальную скорость опускания самолета с безопасной высоты уменьшают оборотами двигателя, для чего выводят двигатель(и) на обороты, аэростатическая подъемная сила на которых меньше посадочного веса самолета, и при приближении опускающегося к точке касания в режиме «зависания» самолета вновь уменьшают скорость оборотами, увеличив их для уменьшения скорости опускания в момент касания до 0,3-0,15 м/с.
Способ управления, по которому после подъема самолета на безопасную высоту скорость его горизонтального перемещения увеличивают, выключив реверс, и одновременно набирают высоту за счет увеличивающейся аэродинамической подъемной силы и добавления к ней аэростатической силы до начала действия аэродинамических рулей, после чего отбор воздуха на обдув несущих и поверхностей управления из воздушного тракта отключают и переводят самолет в набор высоты до заданного эшелона на аэродинамическом принципе и после достижения высоты эшелона отключают эжектирование закромочными воздухозаборниками.
Способ управления, по которому угол тангажа в полете на аэродинамическом принципе регулируют отклонением аэродинамических рулей-элеронов крыла и рулей глубины горизонтального оперения в соответствующую сторону – для увеличения угла атаки рули глубины отклоняют вверх, а для уменьшения – вниз или включают отбор воздушного потока из воздушного тракта на обдув верхней несущей поверхности крыла и нижней поверхности горизонтального оперения, одной из них или совместно с соответствующим отклонением аэродинамических рулей.
Способ управления, по которому для выполнения крена дополнительно к отклонению элеронов в противоположные стороны в полете с аэродинамической подъемной силой включают обдув отобранным из воздушного тракта воздухом одной из несущих полуплоскостей крыла или разные части обеих полуплоскостей – корневую одной и концевую другой или одну, например, концевую часть левой полуплоскости для правого крена.
Способ управления, по которому для изменения курса в аэростатическом режиме полета, например, на этапе набора безопасной высоты для взлета или приземления с безопасной высоты в точку касания без крена совмещают со щелями соответствующей стороны вертикального оперения ряд щелей струйного руля: для поворота влево щели руля совмещают со щелями левой стороны его, а для поворота вправо – с щелями правой, в горизонтальном полете на заданном эшелоне к описанному изменению курса выполняют обдув плоскостей крыла для выполнения соответствующему повороту крена самолета.
Система управления безаэродромным всепогодным самолетом с вертикальным взлетом и посадкой содержит средства изменения направления вектора тяги, отклоняемую заднюю кромку несущих полуплоскостей, шарнирно соединенную с ними, эжектирующее щелевое устройство, приводы управления и регулирования, включая полет на вертикальных и переходных режимах полета, размещенные в кабине органы управления, соединенные тросовой проводкой, тягами и качалками с рулями и силовыми используемыми в горизонтальном полете, по крайней мере, приводами, при этом система выполнена комбинированной, для чего дополнительно к перечисленным аэродинамическим средствам – элеронам, щиткам и их приводам – имеет систему для управления в аэростатических режимах полета, состоящую из устройств регулируемого выпуска предкромочным распределителем отобранной части воздушного потока из воздушного тракта двигателя с возможностью регулирования обтекания верхней и нижней поверхностей крыла и оперения, выпуска из щелей вертикального оперения и эжектирования обтекающего крыло и горизонтальное оперение воздуха закромочным воздухозаборником, а каждый распределитель выпуска потока перед кромкой и эжектирования его за кромкой имеет привод его поворота вокруг своей оси для совмещения требуемого ряда щелей – центрального, концевого или корневого с выпускными щелями корпуса распределителя и воздухозаборника соответственно.
Система управления имеет электродвигатель вращения распределителя или воздуховода воздухозаборника для совмещения соответствующего ряда щелей – концевого, корневого или центрального, расположенный на шайбе соответствующей полуплоскости.
Система управления имеет ресиверы мотогондолы (двигателя), фюзеляжа и/или сопла, снабженные средством отключения отбора воздушного потока или прекращения эжектирования, например, перемещаемой заслонкой ресивера для перекрытия поступления отбираемого воздуха из ресивера или в него или краном перекрытия трубопровода соответствующей эжектирующей магистрали.
Система шасси самолета «Максинио» (условно не показана) состоит из трех стоек, один конец двух из которых шарнирно соединен с нижней стороной центроплана или лонжерона крыла, а третья – хвостовая или носовая – с соответствующей частью фюзеляжа. В фюзеляже и центроплане (крыле) выполнены полости для размещения стоек с тележками в убранном положении с механизмами уборки-выпуска стоек, управления одной, по крайней мере, стойкой, торможения и сигнализации постановки стоек на замки убранного и выпущенного положений. На осях тележек, закрепленных на свободном конце стоек, установлены пневматики низкого давления.
Система газоразделения и газораспределения безаэродромного всепогодного самолета с вертикальным взлетом и посадкой, содержащая магистрали, соединенные с системой кондиционирования, наддува топливных баков, также имеет одну, по крайней мере магистраль, соединенную с трактом одного, по крайней мере, двигателя и снабженную контрольно-регулирующей аппаратурой с возможностью перепуска части потока из воздушно-газового тракта к эжектору, магистралями подвода газа от ВСУ к стартеру двигателя(ей), дополнительно к упомянутым магистралям система заявляемого самолета выполнена с магистралями, соединенными с ресивером канала воздухозаборника, компрессора ТРД или второго контура ТРДД с возможностью включения ее для подведения на взлете или посадке отобранного из воздушного тракта воздушного потока к передней кромке каждой полуплоскости крыла, горизонтального оперения и к струйному рулю вертикального оперения и магистралями эжектирования всасываемого закромочным воздухозаборником отобранного из воздушного тракта двигателя(ей) части воздушного потока после его обтекания полуплоскостей крыла и горизонтального оперения для последующего выпуска его в ресивер сопла или в центральную часть реактивной газовой струи его двигателя(ей).
Система газораспределения, в которой напорный ресивер фюзеляжа полидвигательной компоновки соединен магистралями с предкромочным распределителем каждой полуплоскости крыла и горизонтального оперения и с ВСУ, а закромочный воздухозаборник каждой полуплоскости крыла и горизонтального оперения соединен магистралями с эжектирующим ресивером фюзеляжа, который соединен с ресиверами сопел или сообщен с входным каналом ВСУ и центральными реактивными газовыми струями двигателей полидвигательной компоновки.
Система шасси самолета (условно не показана) состоит из трех стоек, один конец двух из которых шарнирно соединен с нижней стороной центроплана или лонжерона крыла, а третья – хвостовая или носовая – с соответствующей частью фюзеляжа. В фюзеляже и центроплане (крыле) выполнены полости для размещения стоек с тележками в убранном положении с механизмами уборки-выпуска стоек, управления одной, по крайней мере, стойкой, торможения и сигнализации постановки стоек на замки убранного и выпущенного положений. На осях тележек, закрепленных на свободном конце стоек, установлены пневматики низкого давления.
Одновременно с улучшением комфортабельности авиаперевозок на самолетах с возможностью маневрирования типами подъемной силы на соответствующих этапах штатного полета обеспечивается громадная экономия средств с многократным увеличением объемов авиаперевозок, экономией средств на устранение последствий авиакатастроф с существенным уменьшением их числа, с многократным увеличением числа новых местных линий авиаперевозок из-за отсутствия необходимости строительства ВПП и капитальных сооружений в конечных пунктах местных линий. Резервом развития действующих аэропортов станут ВПП, рулежные дорожки и площади расположения их светотехнического оборудования из-за прекращения их использования.
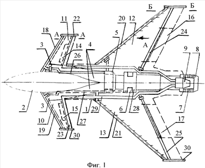
На фиг.1 чертежа изображен заявляемый безаэродромный всепогодный самолет монодвигательной компоновки в плане со схемой расположения магистралей обдува полуплоскостей и эжектирования воздушного потока после их обдува и управления в аэростатических режимах полета. Условно на нижней половине изображения показана штриховыми линиями магистраль подвода воздуха на обдув крыла и горизонтального оперения от ресивера 6 совмещенного с компрессором ТРД, а предкромочные распределители с закромочными воздухозаборниками расположены перед и за соответствующей полуплоскостью горизонтального оперения, у крыла они показаны интегрированными в соответствующую его полуплоскость. На фиг.2 – вид на корпус распределителя по стрелке А, на фиг.3 – развертка распределителя и на фиг.4 – развертка внутренней поверхности корпуса распределителя. На фиг.5 – сечение полуплоскости крыла (горизонтального оперения) параллельной оси самолета плоскостью (схематично изображено расположение вынесенных из полуплоскости распределителя и воздухозаборника), на фиг.6 – поперечное сечение вынесенного воздухозаборника, на фиг.7, 8 – схематичное изображение поперечного сечения полуплоскости с интегрированными в нее распределителем и воздухозаборником с сечением ее воздухозаборника и на фиг.9 – сечение полуплоскости с дополнительным рядом щелей на корневой части. На фиг.10, 11, 12 – вид по стрелкам В на фиг.9 на эту полуплоскость, С и Б на щели выпуска воздушного потока из распределителя и воздухозаборника соответственно. На фиг.13 – вид в плане на полидвигательную компоновку с магистралями обдува и эжектирования ее полуплоскостей, на фиг.14 – вид сбоку на нее, на фиг.15 – сечение стабилизатора горизонтальной плоскостью. На фиг.16 – схема разделения газовоздушного потока в реверсе в аэростатическом режиме полета, на фиг.17, 18, 19 и 20 – схемы обтекания полуплоскости в аэростатических режимах – вариантах создания подъемной силы в аэростатических режимах полета, на фиг.21 – схема аэростатического обдува из предкромочного распределителя по всей длине его и эжектирования на корневой части полуплоскости. На фиг.22 – траектория полета самолета с чередованием аэростатических и аэродинамических режимов. Схемы управления изображены на фиг.23 – по курсу, на фиг.24 – вариант управления по крену, на фиг.25 и 26 – по тангажу и на фиг.27 – вариант управления креном в комбинированном режиме полета.
Безаэродромный всепогодный самолет вертикального взлета и посадки для осуществления заявляемых способов может выполняться в монодвигательной или полидвигательной компоновке. Монодвигательная компоновка его на фиг.1 содержит фюзеляж 1 с пилотской кабиной 2 в носовой его части и боковыми входами 3 в каналы 4 воздухозаборника, выход которого соединен с входным направляющим аппаратом турбореактивного двигателя (ТРД), установленного в хвостовой части фюзеляжа. ТРД может быть выполнен с ресивером 5 в канале воздухозаборника или ВНА или ресивером 6, совмещенным с механизмом перепуска воздуха из компрессора. Если компоновка спроектирована для установки ТРДД, ресивер может быть установлен во втором его контуре (не показан), за турбиной расположен створчато-решетчатый реверс 7 и сопло 8 с ресивером 9. Самолет выполнен по схеме «утка» с рулем направления на стабилизаторе хвостовой части (не показан). Стабилизаторы 10, 11 носового горизонтального оперения и полуплоскости 12, 13 хвостового крыла имеют элероны 14, 15 и 16, 17 соответственно. Перед передней кромкой каждой их полуплоскости установлены предкромочные щелевые распределители 18, 19 и 20, 21. За каждой задней их кромкой установлены закромочные щелевые воздухозаборники 22, 23 и 24, 25 соответственно.
Каждый предкромочный распределитель 18, 19 горизонтального оперения и 20, 21 крыла соединены магистралью 26 с ресивером 5 воздухозаборного канала 4 или магистралью 27 с ресивером 6 компрессора 28, например, совмещенным с механизмом перепуска воздуха из компрессора (условно не показан).
Каждый закромочный воздухозаборник 22, 23 горизонтального оперения и 24, 25 крыла соединены соответствующей магистралью 29 с ресивером 9 сопла 8. Один конец каждого предкромочного распределителя и закромочного воздухозаборника жестко укреплен на фюзеляже или центроплане, а второй конец их укреплен на концевой шайбе 30, установленной на соответствующей полуплоскости.
Каждый корпус 31 (фиг.2) распределителей 18, 19 и 20, 21 имеет ряд щелей 32 выпуска воздушного потока перед передней кромкой каждой полуплоскости, а воздухозаборники 22, 23 и 24, 25 – на стороне корпуса, обращенной к задней кромке полуплоскости крыла или горизонтального оперения (стабилизатора) для всасывания потока после обдува полуплоскости.
Корпус разделен, по меньшей мере, на две равные части, корневую и концевую, разделенные перегородкой с отверстием для предкромочного распределителя или закромочного воздухозаборника с манжетой уплотнения (не показано).
В опорах с подшипниками на концах корпуса установлен распределитель с рядами щелей – центральным 33, концевым 34 и корневым 35 (фиг.3) с приводом вращения на одном из концов (не показан). Ряды щелей воздуховода закромочного воздухозаборника расположены аналогично рядам распределителей.
На внутренней поверхности корпуса распределителей и воздухозаборников установлена система контактных уплотнений из трех центральных 36, концевого 37 и корневого 38 (фиг.4).
Несущая полуплоскость авиации наземного и палубного базирования, преимущественно крыло самолетов местных авиалиний и полуплоскости горизонтальных оперений с вынесенными из их полуплоскости предкромочными распределителями 39 и закромочными воздухозаборниками 40, предназначена для применения в компоновках СЛА (сверхлегких летательных аппаратов), спортивных, учебных самолетов и истребителей (фиг.5, 6). Ряды щелей 41 и 42 их корпусов обращены к соответствующей кромке, контактные уплотнения 43, 44 перекрывают щели рядов воздуховодов 45 в момент их размещения в смещенном от ряда щелей 46 корпуса положении. Ряды контактных уплотнений на фиг.5-9 условно изображены не все (2 из 5, фактическое их расположение и количество показаны на фиг.4 – набор рядов 36, 37, 38 условно обозначен позициями 43 и 44 на фиг.7,8).
Крыло среднемагистральных и межконтинентальных лайнеров, в том числе широкофюзеляжных, предпочтительнее выполнять с интегрированными в полуплоскость распределителями и воздухозаборниками соответственно фиг.7, 8. Труба их корпуса 39, 40 установлена в полуплоскость с расположением щелей 41, 42 от соответствующей кромки полуплоскости, а гофры накладок 47, 48 образуют каналы 49 для направления выдуваемого воздуха вдоль несущих верхней и нижней поверхностей соответственно и всасывания его после обтекания.
Привод трубы 45 распределителя и воздухозаборника вращения ее для совмещения с рядом щелей 41, 42 корпуса ряда щелей 33, 34, 35 условно не показан. Полуплоскость грузовых и пассажирских самолетов большой вместимости, например широкофюзеляжных, может выполняться с дополнительным рядом щелей 50, 51, одним, по крайней мере, на средней части верхней и нижней поверхности корневой части полуплоскости, соединенных каналами 52, 53 в обшивке с отверстиями корпуса 54, 55 соответственно (фиг.9, 10, 11 и 12).
Полидвигательная компоновка самолета, с двумя, по крайней мере, двигателями на боковых пилонах хвостовой части фюзеляжа, на фиг.13, имеет предкромочные распределители 56 крыла, соединенные магистралями 57 через напорный ресивер 58 фюзеляжа, магистралями 59 с ресиверами 60 двигателей, а магистралями 61 с предкромочными распределителями 62 хвостового горизонтального оперения. Закромочные воздухозаборники 63 крыла магистралями 64 соединены через эжектирующий ресивер 65 фюзеляжа и магистралями 66 с ресиверами 67 сопла двигателей, а магистралями 68 с закромочными воздухозаборниками 69 хвостового оперения (фиг.14).
Напорный ресивер 65 соединен магистралью 70 со струйным рулем 71 (фиг.14, 15), привод поворота которого для совмещения его щелей 72 со щелями 73 обшивки стабилизатора условно не показан. Контактные уплотнения 74 предназначены для перекрытия щелей 72 руля в промежуточном нерабочем положении.
Способ создания аэростатической подъемной силы осуществляют следующим образом.
Пример 1
Полуплоскости с вынесенными из них предкромочными распределителями целесообразнее применять для компоновок самолетов «Максинио» местных авиалиний, СЛА (сверхлегких летательных аппаратов) и полуплоскостей других самолетов с малой хордой профиля, например горизонтальных оперений носовых или хвостовых. Аэростатическую подъемную силу создают, разделив газовоздушный поток после турбины на части и изменив направление отделенной части в реверсе для исключения горизонтального перемещения самолета на опасных этапах полета, по крайней мере, и одновременно разделяют воздушный поток перед камерой сгорания и перемещают отделенную часть на создание подъемной силы.
Для этого включают реверс тяги и перекладывают створки 75 в положение, обеспечивающее разделение реактивной тяги двигателя(ей) Fp на две половинки, из которых одна аэростатическая прямая – Fап, а вторая – суммарная аэростатическая обратная Fcao=0,25Fp+0,25Fp создается струями, вытекающими из решеток 7 реверса (фиг.16 и 1). Одновременно включают подачу воздуха из ресивера 5 канала 4 воздухозаборника или 6 компрессора ТРД (или не показанного ресивера второго контура ТРДД) к предкромочным распределителям 20, 21 полуплоскостей 12, 13 крыла и 18, 19 полуплоскостей 11, 10 горизонтального оперения. Подведенный к ним воздух по щелям ряда 32 корпуса и щелям одного из рядов 33, 34, 35 распределителя выпускается над верхней и под нижней поверхностями (фиг.17) каждой полуплоскости в порядке их совмещения. Одновременное с подачей воздуха в распределители по магистралям 29 с открытым краном разряжение ресивера 9 передается в воздухозаборники 25, 24 крыла и 22, 23 горизонтального оперения и через щели ряда воздухозаборника, совмещенного с рядом щелей корпуса, создается разряжение у задней кромки полуплоскостей крыла и оперения, притягивая и ускоряя засасывание выпущенного перед их передними кромками воздуха после перемещения его над и под несущими поверхностями. Обтекание, таким образом, воздушного потока в соответствии с законом обращения движения создает аэростатическую подъемную силу. Это засасывание и ускорение обтекания обеспечивается подводом и сгоранием топлива в камере сгорания и многократным увеличением скорости газовоздушного потока после камеры сгорания. Как и в аэродинамическом принципе создания подъемной силы за счет разности обтекания верхней и нижней плоскостей, разность обтекания в аэротстатическом принципе существенно больше и соответственно больше подъемная сила.
Пример 2
Аэродинамический принцип создания подъемной силы летательных аппаратов тяжелее воздуха основан на взаимодействии движущегося объекта – самолета – в неподвижной воздушной среде. Технический результат этого взаимодействия – аэродинамическая подъемная сила несущих плоскостей формируется разницей взаимодействия с неподвижным воздухом верхней – выпуклой поверхности и практически плоской нижней поверхности. Длина нижней поверхности практически равна хорде профиля полуплоскости, а верхняя имеет заметно увеличенную длину и разное положение ее участков: передний участок расположен под большим углом к направлению движения и взаимодействия со средой – давлением этого участка поверхности и пограничного слоя на воздух, средний – очень короткий участок параллелен направлению движения и задний участок, расположенный под небольшим отрицательным углом к направлению движения, однако длина его практически равна хорде профиля. В результате движения профиля в неподвижной среде передний участок создает разрежение над задним участком пограничного слоя, отсутствующее на нижней поверхности, в результате чего и появляется подъемная сила, направленная вверх. Величина этой аэродинамической силы определяется скоростью перемещения профиля относительно неподвижной воздушной среды перемещения и в соответствии с этой закономерностью она мала на малых скоростях полета, необходимых на таких ответственных и опасных этапах полета, как взлет и посадка. А при увеличении скорости перемещения профиля увеличиваются неизбежно одинаково скорости верхней и нижней несущих поверхностей, и эффективность увеличения подъемной силы в аэродинамическом принципе остается низкой на всех скоростях и этапах полета, определяемой разностью скоростей пограничных слоев: нижнего и верхнего, Vв-Vн.
Аэростатический принцип полета обеспечивает расширение упомянутых эксплуатационных возможностей, так как для этого достаточно выставить корпуса предкромочных распределителей 20, 21 и 18, 19 таким образом, чтобы воздух из их щелей 72 выдувался преимущественно над верхней несущей поверхностью и всасывался закромочными воздухозаборниками 24, 25 и 22, 23, как это показано на фиг.18. Разность скоростей пограничных слоев воздуха у несущих этих плоскостей в данном варианте уже будет определяться по формуле – Vв-0, так как скорость обтекания нижней несущей поверхности равна нулю.
Пример 3
Для СЛА с малой длиной хорды профиля их крыльев и малым взлетным весом можно предположить, что для обеспечения надежно устойчивого обтекания их полуплоскостей достаточно эжектирования пограничного слоя воздушной среды закромочными воздухозаборниками. Для создания подъемной силы после разделения реверсом реактивной тяги двигателя(ей) на равные, противоположно направленные части, обтекание полуплоскостей отобранным от двигателя воздухом обеспечивают одним из двух вариантов: включением эжектирования с обеих несущих поверхностей полуплоскостей или только с верхней поверхности (фиг.17, 18).
Кроме того, определенно целесообразно улучшение создания подъемной силы в комбинировании аэростатической и аэродинамической ее составляющих посредством использования эжектирования закромочными воздухозаборниками и особенно – в аэродинамическом режиме полета (фиг.19).
Пример 4
Большая длина хорды профиля несущих плоскостей среднемагистральных, межконтинентальных и широкофюзеляжных лайнеров обуславливает целесообразность выполнения этих плоскостей с рядом дополнительных щелей 77, сообщенных каналами 78 с щелями закромочных воздухозаборников (фиг.20). Выпускаемый из каналов 80 между накладкой 79 и обшивкой профиля воздух предкромочного распределителя разряжением ряда щелей 77 прижимается к соответствующим несущим поверхностям, часть его всасывается в каналы 78, а часть подсасывается разрежением каналов 81 между накладкой 82 и обшивкой (воздухозаборником) в магистраль 29 и по ней в ресивер 9 сопла, а из него в центральную часть реактивной струи двигателя. Корпус воздухозаборника может быть снабжен дополнительными рядами щелей 83.
Пример 5
Преимущество создания аэростатической подъемной силы обтеканием одной верхней несущей поверхности, фиг.19, не исчерпывает возможностей улучшения эксплуатационных свойств заявленного самолета. Расширение эксплуатационных свойств достигается и в комбинированных режимах создания аэростатической подъемной силы, один из которых изображен на фиг.21. Величиной аэростатической подъемной силы можно управлять, регулируя площадь обдува плоскости одного или сочетанием обдува одинаковых участков двух полуплоскостей, например крыла, или сочетанием двух разных его участков. На фиг.21 показан вариант с выпуском воздушного потока из всех щелей предкромочного распределителя 20, 21 и отсосом выпущенного воздуха корневой половиной ряда щелей закромочного воздухозаборника 84. Вследствие малой длины хорды концевой половины полуплоскости обтекание этой половины можно обеспечить в аэростатическом режиме только выдувом воздуха из концевой половины предкромочного распределителя.
Полет на внеаэродромном всепогодном самолете “Максинио” выполняют следующим образом.
Пример 6
Запуск для полета и прогрев двигателя(ей) на малом газе выполняют на месте стоянки для техобслуживания, разгрузки (погрузки) или посадки пассажиров. Для взлета включают одновременно реверс, переложив створки в положение разделения реактивной тяги на равные и противоположно направленные части: Fап и Fсао (фиг.16) и подачу воздуха в предкромочные распределители 21, 20 и 19, 18, а также открывают магистрали 29, соединяющие закромочные воздухозаборники 25, 24 и 23, 22 с эжекторами 9 сопла двигателя. Увеличив обороты двигателя(ей) до величины, на которой подъемная сила крыла и горизонтального оперения становится больше взлетного веса Р самолета, он, оторвавшись от опорной поверхности, начинает подъем на безопасную высоту 50-100 м в зависимости от класса самолета и конкретных условий стоянки, пространства подъема на безопасную высоту и погодных условий (этап I на фиг.22). Устойчивое положение самолета в аэростатических режимах полета обеспечивают аэростатическим способом управления. На безопасной высоте реверс тяги выключают, что увеличивает тягу до Fп и самолет начинает ускорение в горизонтальном перемещении на переходном этапе II, наоборот, с высоты, например, до заданного эшелона полета. На этом этапе или в горизонтальном полете на этапе III после достижения горизонтальной скорости, достаточной для действия аэродинамических рулей, отбор воздуха на обдув полуплоскостей отключают и полет продолжают в аэродинамическом режиме при отсутствии нештатных ситуаций в работе систем самолета, ухудшения метеусловий или возникновения других опасностей для продолжения полета к месту назначения или выполнения полетного задания. При завершении полета снижение с заданного эшелона до безопасной высоты выполняют по глиссаде снижения в штатном режиме с переходом в режим зависания над известной или выбранной при снижении точкой приземления (конец этапа IV).
Для перехода в режим зависания одновременно включают реверс с перекладкой его створок в положение разделения реактивной тяги Fп на Fпа=Fcao и подачу воздуха из ресивера на обдув крыла и горизонтального оперения. В режиме зависания или в процессе перехода в него разворачивают самолет в положение, в котором последующему взлету и реактивным струям из сопла и решеток реверса не будут препятствовать хозяйственные постройки, животные и растения. После зависания, уменьшив обороты двигателя до уменьшения подъемной силы самолета до величины, меньшей посадочного веса Рпос, и “проседания” самолета к точке приземления с любой скоростью, регулируют ее плавным и “ювелирно точным” увеличением оборотов, обеспечивающим ее величину от высоты 1-1,5 м и до момента касания пневматиков шасси с опорной поверхностью в интервале 0,03-15 м/с (этап V). После установки пневматиков шасси на опорную поверхность выключают реверс, обдув несущих плоскостей, двигатель и устанавливают стояночные колодки с обеих сторон пневматиков. Разгрузив или высадив пассажиров из самолета, осуществляют этапы следующего планового полета в описанном порядке.
Пример 7
Подъем самолета на безопасную высоту в аэростатическом режиме, ускорение с набором высоты в переходном режиме выполняют в описанном в примере 6 порядке. При возникновении опасности продолжения полета в любой момент и точке траектории его после безопасной высоты включают одновременно реверс для изменения направления реактивной тяги на обратную (Fо) для экстренного уменьшения горизонтальной скорости до посадочной и переводят самолет на планирование до безопасной высоты, одновременно выбирая место приземления. На безопасной высоте, переведя самолет в режим зависания, снижают самолет на точку касания пневматиков с опорной поверхностью (условные этапы VI) и выключают реверс, обдув и двигатель. Затем, проведя мероприятия для устранения неисправности, например, заменой вышедшего из строя агрегата, самолет совершает полет к пункту назначения в описанном штатном режиме. При отказе, требующем длительного устранения, вызывают самолет к месту вынужденной посадки для эвакуации пассажиров, а после устранения неисправности самолет выполняет штатный полет и вносится в расписание полетов.
Управление самолетом в аэростатических режимах полета выполняют следующим образом.
Пример 8
Для изменения направления продольной оси самолета в режиме зависания или курса полета в аэродинамическом режиме включают подачу воздуха в магистраль 70 (фиг.13, 14) и совмещают ряд щелей 72 с рядом щелей 73 или 75 обшивки стабилизатора (фиг.15, 23). При совмещении щелей 72-73 струя воздуха из магистрали 70 и этих щелей, направленных в левую сторону, создает реактивный момент, перемещающий стабилизатор в правую сторону (против часовой стрелки, на фиг.23 – направления струи и перемещения хвостовой части самолета показаны сплошными стрелками), а совмещение щелей 72 с рядом щелей 75 перемещает стабилизатор в противоположную сторону – левую (по часовой стрелке, штриховыми линиями показаны струи и направление перемещения хвостовой части самолета). Таким образом, устанавливают продольную ось самолета (его курс) в режиме зависания и может корректироваться курс в аэродинамическом режиме полета, особенно на малых посадочных скоростях.
Пример 9
В аэростатических режимах полета на этапах I, V и на малых скоростях переходных режимов II, IV возможны случайные отклонения от оптимально горизонтального положения самолета от порывов ветра, сноса самолета вследствие бокового или переменного ветра, приводящего к крену. Для восстановления оптимального пространственного положения можно использовать только разбалансирование аэростатических подъемных сил, создавая такое их сочетание, которое образует восстанавливающий момент, устраняющий крен. А после устранения крена восстанавливают оптимально-симметричное обтекание полуплоскостей и равные подъемные силы на них при этом.
На фиг.24 показан один вариант рассогласования подъемной аэростатической силы на крыле. Если одна из полуплоскостей будет обдуваться воздухом из ресивера двигателя(ей) из щелей центрального ряда 33 предкромочного распределителя (фиг.3), то аэростатическая подъемная сила на ней будет максимально возможной на каждом режиме работы двигателя. Если же обдуваться будет часть полуплоскости или рассогласование будет между выдувом воздуха из распределителя и эжектированием его в воздухозаборник, то соответственно будет изменяться и подъемная сила на ней. Так, аэростатическая подъемная сила полуплоскостей, фиг.24, с обдувом концевой половины 85 одной и корневой половины 86 другой полуплоскости и их эжектированием определяется площадями этих частей, а момент ими создаваемый еще и расстоянием центра их приложнения на левой и правой полуплоскости соответственно от продольной оси самолета Sл SпL. При этом для восстановления горизонтального положения самолета на полуплоскости, поднятой над горизонтальной плоскостью, следует создавать меньшую подъемную силу, а на опущенной или увеличить, или оставить прежней, действующей до появления крена. А после восстановления горизонтального положения самолета (крыла) обдув поднятой полуплоскости меняют на симметрично-согласованный с другой полуплоскостью. Темп восстановления накренившегося самолета выбирают, включая обдув одной половинки или всей полуплоскости, в следующем порядке: при большом угле крена обдув включают одновременно с эжектированием, при среднем – только эжектирование, а при малом – можно восстановление обеспечить только включением обдува. Менее эффективно использование полуплоскостей горизонтального оперения для устранения крена, но в сочетании с использованием регулирования подъемной силы крыла вполне возможно.
Пример 10
Управление самолетом “Максинио” в аэростатических режимах полета (этапы I и V) состоит в обеспечении устойчивого горизонтального положения в режиме зависания и вертикального перемещения его. В отличие от режимов аэростатического полета в переходных этапах II и IV одновременно с сохранением аэростатической подъемной силы от обдува несущих полуплоскостей самолета отобранной от воздушного потока двигателя частью его на переходных режимах с ростом горизонтальной скорости растет аэродинамическая подъемная сила, однако до достижения скоростью величины, на которой начинают действовать аэродинамические рули, устойчивость полета и управление самолетом осуществляется аэродинамическими рулями и системой управления. Управление по курсу, описанное в примере 8, посредством струйного руля 71 (фиг.15) на малых скоростях полета может использоваться одновременно с аэродинамическим рулем направления известной конструкции (показан условно, не обозначен).
Управление по тангажу может потребоваться как для восстановления случайных отклонений от оптимального положения самолета в пространстве, так и для оперативных воздействий в процессе выполнения полетного задания, в результате которых самолет может оказаться в положении кабрирования или планирования, изображенном соответственно на фиг.25 и 26 (штриховыми линиями показано оптимальное горизонтальное положение самолета в полете).
Для восстановления устойчивого оптимального положения опустить целесообразнее носовую часть самолета в положении кабрирования, чем поднять хвостовую, а в положении планирования опустить хвостовую или поднять носовую. Большая надежность восстановления опусканием следует из того, что в данном варианте выполняет требуемое воздействие на самолет постоянно действующая сила его веса. Для этого достаточно кратковременно воздействовать на подъемную силу соответствующей несущей поверхности приемом, применяемым для обработки ювелирных изделий или управления тельфером для точной установки на требуемое место перемещаемого груза: импульсный прием – кратковременное включение и выключение подъемного механизма, а именно легкие удары пальцем по кнопке включения тельфера. Для восстановления оптимального положения из положения кабрирования требуется использовать импульсный прием управления подъемной аэростатической силой крыла, длительность которого контролируется по реакции самолета на импульсное изменение подъемной силы и характеру перемещения носовой части по стрелке к горизонтальному положению (фиг.25), определяемому пилотом органолептически или по соответствующему прибору на приборной доске кабины. Аналогично можно восстанавливать оптимальное положение самолета из положения планирования, для чего импульсно меняют аэростатическую подъемную силу горизонтального оперения, уменьшение которой опускает хвостовую часть по стрелке на фигуре 26 с органолептическим или приборным конторолем. Описанные варианты восстановления положения преимущественны в штатных полетах на пятом этапе его завершения с учетом того, что при этом может увеличиться скорость снижения к точке касания. На первом этапе полета его применение может несколько замедлить достижение безопасной высоты из-за замедления на опускание поднятой части и последующее перемещение всего объекта на эту высоту. На первом этапе целесообразнее увеличивать подъемную силу опущенной части для выравнивания положения самолета. Для этого, увеличив обороты двигателя для увеличения подъемной силы опущенной части, сохраняют неизменной подъемную силу поднятой части посредством импульсного управления ее величины до выравнивания положения самолета с ускорением выхода на безопасную высоту при этом.
Промежуточными по замедлению подъема на безопасную высоту являются варианты выравнивания с использованием для регулирования подъемной силы площади обдува несущих плоскостей (только корневых или только концевых), вида обтекания (с выдувом воздуха из распределителя, только с эжектированием атмосферного воздуха) или их комбинирования.
Пример 11
Переходные режимы полета (этапы II и IV) характеризуются наличием взаимодействия аэростатической с постоянно увеличивающейся аэродинамической на этапе II и постоянной, соответствующей посадочной скорости на этапе IV. К переходным относятся и этапы VI экстренного приземления.
Момент равенства составляющих подъемной силы в переходных режимах – аэростатической и аэродинамической – является гарантом безопасности переключения систем управления и полета в целом. На этапе IV при отсутствии отклонений от штатных условий полета аэростатическая подъемная сила должна быть включена в любой момент полета одновременно или до включения реверса и экстренного уменьшения скорости горизонтального перемещения. Управление самолетом на этом этапе в снижении скорости планирования до нулевой в режиме зависания на безопасной высоте с включением реверса или включением его на скорости полета на эшелоне (крейсерской) с включением отбора воздуха на создание аэростатической подъемной силы в случае необходимости экстренного уменьшения высоты и скорости полета.
Изображенные на фиг.27 сплошными линиями на обеих полуплоскостях стрелки обозначают обтекающий их воздушный поток, создаваемый в результате взаимодействия движущегося со скоростью Vп самолета с воздушной средой. Создаваемая этим взаимодействием аэродинамическая подъемная сила одинакова на каждой полуплоскости (не показана). На левой (нижней) полуплоскости к ней органично добавляется аэростатическая подъемная сила от обтекания верхней несущей поверхности этой полуплоскости воздухом, выдуваемым из предкромочного распределителя 21 и всасываемого закромочным воздухозаборником 25 в соответствии с законом обращения движения, а результирующая подъемная сила на этой полуплоскости складывается из этих составляющих. В итоге левая полуплоскость в полете поднимается без отклонения элеронов, т.е. без применения традиционной аэродинамической системы управления, накреняя самолет вправо. Таким образом, описанные в примерах 1-10 варианты управления курса, тангажа и крена хорошо сочетаются с воздействием аэродинамических рулей, что дополнительно усиливает влияние управляющих воздействий. Например, в описанном примере достаточно включить подачу воздуха из магистрали 70 (фиг.13, 14) в струйный руль 71 (фиг.15) и совместить ряд его щелей 72 со щелями 75 в обшивке правой стороны стабилизатора, то самолет после этого начнет перемещаться по траектории виража вправо (по часовой стрелке). При этом сочетании радиус виража может быть существенно уменьшен без риска сваливания самолета в гибельно грозный для аэродинамического режима полета штопор. Вместо использования струйного руля для выполнения виража можно воспользоваться рулем направления с такой же эффективностью.
Левый вираж в комбинированном режиме полета выполняется описанным для правого виража образом.
Способность маневрирования режимами и зависания на любой высоте исключает зависимость полетов от погодных условий, в частности от низкой облачности и сильного тумана с нулевой видимостью. Полеты только в аэродинамическом режиме при малой видимости на предгорных аэродромах часто заканчиваются катастрофами с большим количеством жертв из-за большой посадочной скорости и отсутствием видимости. Переход на аэростатический режим в таких случаях обеспечивает успешное приземление в любой точке земли, кроме вершины горы, с последующим ориентированием на местности и подлету к плановой точке посадки в сложных метеоусловиях или после выжидания более безопасных условий.
Пример 12
Особенностью работы самолетов «Максинио» полидвигательной компоновки является улучшение безопасности полета вследствие сохранения возможности продолжения полета в аэростатическом режиме при сохранении работы хотя бы одного двигателя. Отбираемый от работающего двигателя воздух подается в напорный ресивер 58 фюзеляжа по магистралям 59, а из него по магистралям 57 и 61 к предкромочным распределителям 56 и 62 (фиг.13, 14). Аналогично разряжение ресивера 67 (фиг.13, 14) сопла работающего двигателя по магистралям 66 передается в эжектирующий ресивер 65 фюзеляжа, от которого по магистралям 64 и 68 к закромочным воздухозаборникам 69. Для создания необходимой аэростатической подъемной силы возможно потребуется увеличить обороты работающего двигателя для компенсации увеличенного расхода воздуха, вызванного отказом других двигателей компоновки.
Пример 13
Переключение управления самолетом «Максинио» с аэродинамического режима на аэростатический выполняют описанным образом с определением момента появления влияющих на безопасность полета в аэродинамическом режиме неисправностей специальной системой слежения, осуществляющей включение реверса одновременно с аэростатическим обдувом и последующим автоматическим уменьшением угла перекладки створок из полного перекрытия газовоздушного тракта, например с угла 90 в положение, в котором створки разделяют реактивную тягу на равные противоположно направленные части с постепенным переводом угла створок с максимальной тяги на равные ее части и с переходом на последующее отслеживание изменения вертикального перемещения – скорости, высоты или скорости и высоты.
Приведенные выше описания конструкции и способы использования безаэродромного всепогодного самолета «Максинио» достаточно убедительно подтверждают соответствие заявленных изобретений критерию «промышленная применимость». Тем более, это соответствие подтвердится после включения в описание и формулу отсутствующих в данной редакции описания вариантов выполнения распределителей 20, 21 с 18, 19 (фиг.1) или 56, 62 (фиг.13, 14) и воздухозаборников 24, 25 с 22, 23 и 63, 69 соответственно в компоновке несущих и управляющих плоскостей, оставленных автором в категории ноу-хау, а также для обеспечения лаконичности заявки.
Отсутствуют в заявке компоновки самолета «летающее крыло» и самолеты с поплавками на стойках для приземления на водную поверхность. И посадочное оснащение самолета описано условно-схематично, в виде тележки с пневматиками низкого давления, фиг.22. Стойки заявленного самолета выполнены без средств амортизации вследствие отсутствия в процессе эксплуатации его ударных нагрузок пробегов по ВПП с огромной скоростью вращения и связанным с этим большим износом шин и их частой заменой. Также условно не показаны на эскизах и не включены в описание баки для топлива в полуплоскостях крыла.
В равной степени убеждают в соответствии промышленной применимостью и перечисленные ниже преимущества от использования заявленных решений, обеспечивающие эволюционное развитие авиации, не уступающее по значению созданию первых летательных аппаратов тяжелее воздуха.
Сочетание аэродинамических и аэростатических режимов полета и маневрирование ими на различных этапах полета в зависимости от функционирования систем самолета, метеорологической обстановки и угрозы внешнего воздействия на безопасность полета многократно увеличивает эффективность авиаперевозок с улучшением технико-экономических результатов:
– обеспечение безопасности полетов в экстремальных ситуациях с заменой катастроф и летных происшествий вынужденными посадками в любой момент полета;
– расширение сектора рынка услуг авиаперевозок за счет многократного увеличения местных авиаперевозок с одновременным улучшением комфортности полетов, снижением стоимости услуг и исключением строительства аэродромов, ВПП и светотехнического оборудования для обеспечения полетов;
– исключение попадания посторонних предметов с ВПП в двигатель;
– обеспечение полетов самолетов в любую точку территории земли, водной поверхности и горных областей;
– уменьшение веса и себестоимости посадочных устройств с одновременным уменьшением техобслуживания самолетов с заменой узлов, имеющих малый ресурс, уменьшение расхода топлива на их перевозку;
– исключение проблемы «шумности» вследствие исключения взлетных режимов работы двигателей самолетов в начале и конце полета с уменьшением расхода топлива;
– уменьшение расхода топлива вследствие исключения заходов на посадку и хождения по кругу для ожидания освобождения ВПП;
– уменьшение зависимости полетов от погодных условий на трассе полета;
– упрощение системы обеспечения безопасности полетов за счет упрощения и диспетчирования их;
– уменьшение влияния человеческого фактора на обеспечение безопасности полетов;
– улучшение мобильности и маневренности самолетов, суммирующее преимущества самолетов и вертолетов.
Формула изобретения
1. Способ создания подъемной силы безаэродромного всепогодного самолета вертикального взлета и посадки, включающий формирование ускоренного потока текучей среды переменной интенсивности и направление его в сторону, противоположную направлению движения самолета, например – по опорной поверхности, усиленный поток формируют из двух составляющих с одновременным или дифференцированным изменением интенсивности их и производят отклонение вектора тяги, отличающийся тем, что комбинированное регулирование подъемной силы самолета осуществляют, включая соответствующий фазе полета аэростатический или аэродинамический принцип создания подъемной силы, исключая на взлете и посадке горизонтальное перемещения самолета и создавая аэростатическую подъемную силу посредством закона обращения движения и регулируя величину ее и скорость вертикального перемещения, исключая при этом горизонтальное перемещение посредством разделения реактивной тяги на части с формированием из них равных и противоположно направленных относительно направления движения частей с одновременным разделением отобранной части воздушного потока на обдув несущих поверхностей крыла и горизонтального оперения и подачу другой его части к газоструйному рулю с последующим эжектированием обдувающей крыло и горизонтальное оперение части потока ее в центральную часть реактивной струи или в газовоздушный ресивер сопла.
2. Способ по п.1, отличающийся тем, что для создания аэростатической подъемной силы от воздухозаборника, компрессора и/или второго контура одного, по крайней мере, двигателя и/или бортовой воздушно-стартовой установки полидвигательной компоновки отбирают часть воздушного потока и выпускают его перед передней кромкой каждой полуплоскости крыла и горизонтального оперения на несущую поверхность, а на задней их кромке соответственно эжектируют этот поток воздухозаборниками, из которых по соответствующей эжектирующей магистрали поток перемещается в газовый поток турбины или реактивного сопла, например – в центральную часть потока.
3. Способ по п.1, отличающийся тем, что для обтекания несущей поверхности крыла отбирают часть воздушного потока из канала воздухозаборника(ов) двигателя, компрессора ТРД на режиме перепуска воздуха из него, например на любом режиме из второго контура ТРДД и/или от бортовой ВСУ полидвигательной компоновки самолета, а перемещение воздушного потока от передних кромок до задних кромок и выхода его в центральную часть газового потока, например – в сопло, осуществляют с увеличением скорости его от скорости воздушного потока в компрессоре или во втором контуре до скорости газового потока в центральной части сопла.
4. Способ создания подъемной силы безаэродромного всепогодного самолета вертикального взлета и посадки, включающий формирование ускоренного потока текучей среды переменной интенсивности и направление его в сторону, противоположную направлению движения, например – по опорной поверхности, усиленный поток формируют из двух составляющих с одновременным или дифференцированным изменением интенсивности их и производят отклонение вектора тяги, отличающийся тем, что аэростатическое обтекание отобранной от двигателя частью потока несущих поверхностей крыла и оперения обеспечивают, выпуская воздух над верхней несущей поверхностью их и эжектируя его закромочным воздухозаборником преимущественно с верхней поверхности.
5. Способ создания подъемной силы безаэродромного всепогодного самолета вертикального взлета и посадки, включающий формирование ускоренного потока текучей среды переменной интенсивности и направление его в сторону, противоположную направлению движения по опорной поверхности, усиленный поток формируют из двух составляющих, с одновременным или дифференцированным изменением интенсивности их и производят отклонение вектора тяги, отличающийся тем, что аэростатическое обтекание атмосферным воздушным потоком несущих поверхностей крыла и горизонтального оперения обеспечивают, включив эжектирование закромочными воздухозаборниками в стационарном или пульсирующем режиме эжектирования.
6. Способ взлета безаэродромного всепогодного самолета вертикального взлета-посадки, имеющего реактивный двигатель с реверсом тяги, включающий создание воздушного потока в компрессоре с преобразованием его в газовоздушный в камере сгорания, с возможностью регулирования вектора тяги и подачи части потока, по крайней мере, в полость воздушного тракта и подвода его к несущим и управляющим плоскостям для обтекания их с возможностью создания при этом аэростатической подъемной силы, подъем самолета в режиме «зависания» с управлением в подъеме положением самолета аэростатическими рулями с переходом на аэродинамические рули в переходном и горизонтальном полете с регулированием вертикальной и горизонтальной скорости оборотами двигателя(ей), отличающийся тем, что для подъема самолета на безопасную высоту в режиме зависания включают двигатели(ль) на стоянке и включив аэростатическую подъемную силу с реверсом тяги для разделения реактивной тяги на равные противоположно направленные части и одновременно отобранную часть воздушного потока из воздушного тракта двигателя подают в предкромочные распределители для выпуска на обтекание несущей поверхности полуплоскостей с эжектированием после обтекания закромочными воздухозаборниками, а также к струйному рулю вертикального оперения, после подъема самолета на безопасную высоту в описанном режиме «зависания», обеспечивающем создание аэростатической подъемной силы по закону обращения движения, реверс тяги выключают для перевода самолета в режим увеличения горизонтальной скорости его без набора высоты или с одновременным набором высоты, по крайней мере, до скорости полета, на которой начинают действовать аэродинамические рули, после чего газоструйный руль и отбор воздуха на создание аэростатической подъемной силы отключают и в дальнейшем полете самолета используют аэродинамическое управление полетом его.
7. Способ по п.6, отличающийся тем, что для взлета самолета полидвигательной компоновки с одним работающим двигателем включают отбор части воздушного потока из его ресивера и ВСУ через напорный ресивер фюзеляжа самолета на обдув крыла с оперением и с эжектированием ее воздухозаборниками, соединенными с центральной зоной сопла работающего двигателя через эжектирующий ресивер фюзеляжа, сообщенный магистралью с входным каналом ВСУ, одновременно включив реверс, устанавливают створки его в положение деления реактивной тяги на две равные противоположно направленные части, например – результирующая двух боковых, вытекающих из решеток реверса, равна и противоположна центральной, выходящей из сопла, а двигатель выводят на режим, на котором обтекание отобранного воздушного потока создает на крыле аэростатическую подъемную силу, превышающую полетный вес самолета, и самолет в этом режиме «зависания» поднимается на безопасную высоту, где реверс выключают для разгона на режиме работы двигателя от крейсерского до взлетного в горизонтальном полете до скорости начала действия аэродинамических рулей и аэродинамическая подъемная сила превысит вес самолета и он переходит в аэродинамический набор высоты на заданный эшелон полета на режиме не более крейсерского, после выключения газоструйного руля.
8. Способ полета безаэродромного всепогодного самолета с вертикальным взлетом и посадкой и реверсом тяги, включающий создание воздушно-газового потока воздуха для подвода энергии к самолету и регулирование его в соответствии с ситуацией и возможностью раздельного управления вертикальной и горизонтальной скоростями полета, в том числе – в режиме зависания с последующим увеличением скорости горизонтального полета в требуемом направлении или приземлением самолета из положения зависания над точкой касания с опорной поверхностью и с переключением направления реактивной тяги, горизонтальный полет с крейсерским режимом работы двигателя на заданной высоте до пункта назначения или выполнения полетного задания, отличающийся тем, что подъем самолета на безопасную высоту выполняют с места стоянки его на аэростатической подъемной силе, обеспечивая оптимально горизонтальное положение его в пространстве струйным рулем вертикального оперения с регулировкой площади обтекания несущей поверхности крыла и горизонтального оперения и обеспечивая соотношение аэростатических подъемных сил крыла и горизонтального оперения соответственно требуемому положению самолета в пространстве с изменением режима работы двигателя на этапах подъема на безопасную высоту и с безопасной высоты до опорной поверхности, для начала горизонтального перемещения на безопасной высоте и увеличения скорости горизонтального полета реверс выключают и выполняют разгон самолета до скорости полета, на которой начинают действовать аэродинамические рули, а когда аэродинамическая подъемная сила становится равной взлетному весу самолета, аэростатические подъемную силу и руль отключают и одновременно переводят самолет в набор высоты до заданного эшелона, на котором полет выполняют в аэродинамическом режиме до приближения к месту посадки или появления экстремальных (нештатных) ситуаций в функционировании систем и агрегатов самолета, изменения метеоусловий или по любой другой причине создания опасности полету в любой момент полета и независимо от наличия взлетно-посадочной полосы включают аэростатическую подъемную силу и выполняют экстренное снижение до безопасной высоты с уменьшением скорости полета, над выбранным местом касания самолета земной, водной или поверхности базирования переводят самолет в режим зависания и начинают вертикальное приближение к точке касания на опорной поверхности.
9. Способ посадки безаэродромного всепогодного самолета вертикального взлета и посадки, имеющего двигатель с реверсом тяги, включающий изменение направления вектора тяги и полное гашение вертикальной скорости при снижения его с заданного эшелона до мягкой посадки, отличающийся тем, что экстренное уменьшение высоты и скорости полета выполняют в любой момент полета при появлении опасности благополучному завершению его, включив аэростатическую составляющую подъемной силы, посадочный щиток и реверс на режиме работы двигателя от 0,5 крейсерского до малого газа, при этом створки реверса выставляют в положение, в котором результирующая реактивная сила боковых струй, выходящих из решеток, равна и противоположна силе центральной струи реверса, выходящей из сопла, при упомянутом экстренном уменьшении скорости и высоты полета выбирают удобную точку касания и над точкой касания на безопасной высоте переводят самолет в режим зависания, увеличив режим работы двигателя, после «зависания» снова уменьшают обороты до начала «проседания» самолета, уменьшая его опускание до скорости 0,15-0,30 м/с в момент касания опорной поверхности ювелирно точным по величине и времени увеличением оборотов, при этом опускании в режиме «висения» самолет разворачивают выдувом воздуха из струйного руля вертикального оперения таким образом, чтобы струи прямой и обращенной (реверсной) тяги в месте касания не были направлены на бытовые, хозяйственные постройки или технические объекты, которым они могут нанести повреждения или сместить их с места их расположения, а после касания самолета опорной поверхности выключают отбор воздуха на обдув, реверс и двигатель.
10. Безаэродромный всепогодный самолет вертикального взлета и посадки, содержащий фюзеляж с пилотской кабиной и пассажирским салоном или грузовым отсеком, силовую установку, например – в хвостовой его части, один, по крайней мере, ТРД или ТРДД с реверсом тяги, имеющим створчато-решетчатый механизм изменения направления реактивной тяги, крылом с механизацией его аэродинамических свойств, а также комбинированным средством управления самолетом в полете, включающим аэродинамические плоскости, средства отбора части воздушного потока из воздушного тракта двигателя(ей) с магистралями подвода отобранной части потока для выпуска его перед передней кромкой несущих полуплоскостей на безотрывное обтекание управляющих и несущих поверхностей, эжектирования его закромочными воздухозаборниками с щелевыми соплами, емкости для топлива, топливную систему с перекачивающими насосами, хвостовое оперение из руля направления на стабилизаторе и рулей высоты на горизонтальных полуплоскостях, средствами управления количеством и порядком обдува отобранной частью потока полуплоскостей несущей плоскости и горизонтального оперения, шасси, систему кондиционирования, отличающийся тем, что средство отбора воздушного потока имеет ресивер в канале воздухозаборника, на корпусе компрессора ТРД или во втором контуре ТРДД, соединенный магистралями подвода и выдува отобранной части воздушного потока предкромочным распределителем, расположенным перед каждой передней кромкой полуплоскости крыла и горизонтального оперения, а также со струйным рулем стабилизатора, имеющим по ряду продольных щелей на каждой боковой стороне обшивки для выдува воздушного потока и соответствующий им ряд щелей на трубе струйного руля и расположенные у задней кромки крыла и горизонтального оперения эжектирующие воздухозаборники с продольными щелями для всасывания обтекающего полуплоскости потока воздуха от передней кромки, для чего воздухозаборники соединены магистралями с ресивером сопла, при этом ресивер воздухозаборника, компрессора или второго контура снабжены заслонками отключения отбора воздушного потока.
11. Самолет по п.10, отличающийся тем, что он выполнен с нижнерасположенным, среднерасположенным или высокорасположенным крылом и горизонтальным оперением, соединенным с фюзеляжем в его средней диаметральной плоскости, носовой или хвостовой части, в основании стабилизатора, в середине или на верхнем конце его.
12. Самолет по п.10, отличающийся тем, что он выполнен с двигателями, расположенными в мотогондолах, интегрированых в лонжероны крыла, установленными на пилонах нижней или верхней стороны его, расположенных на верхней стороне фюзеляжа пилонах, на боковых сторонах хвостовой части его, в том числе в комбинации с интегрированным в хвостовую часть фюзеляжа двигателем, воздухозаборник которого расположен на верхней или нижней стороне фюзеляжа.
13. Самолет по п.10, отличающийся тем, что корпуса предкромочных распределителей и закромочных воздухозаборников крыла и горизонтального оперения снабжены стабилизаторами воздушного потока, направляющими выходящий из их щелей поток к обтекаемой поверхности полуплоскостей крыла и оперения и забор его в щели воздухозаборников эжектирующей системы.
14. Самолет по п.10, отличающийся тем, что упомянутые стабилизаторы корпусов выполнены шарнирными с возможностью прилегания их к соответствующей обтекаемой поверхности и средствами включения в режиме полета для создания аэростатической подъемной силы и выключения их при переходе на аэродинамический принцип полета, при этом система отбора, подвода воздушного потока и/или эжектирования его выполнены с возможностью одновременного включения обтекания всех упомянутых плоскостей, одной из них или их частей.
15. Самолет по п.10, отличающийся тем, что воздухозаборники обтекаемого воздуха расположены перед элевонами крыла и перед рулями высоты соответственно.
16. Самолет по п.10, отличающийся тем, что система отбора воздушного потока и подвода его к передней кромке крыла и горизонтальных рулей выполнена с возможностью синхронно-парного включения в режиме создания аэростатической подъемной силы посредством обтекания потока через корневые участки воздуховодов и воздухозаборников или только через концевые их участки, или в сочетании корневой и концевой части горизонтальных разных полуплоскостей.
17. Самолет по п.10, отличающийся тем, что ресивер воздухозаборника, компрессора или второго контура соединен герметичной системой трубопроводов (магистралью) со струйным рулем, установленным в стабилизаторе с возможностью поворота на 180° и совмещения продольных щелей его с рулевыми щелями на одной из сторон стабилизатора – правой или левой для выдува воздушного потока в сторону предстоящего поворота или крена самолета, при этом в ресивере установлена заслонка включения отбора или подачи воздушного потока на выполнение управляющего поворотом воздействия на хвостовое вертикальное оперение.
18. Фюзеляж самолета вертикального взлета-посадки, содержащий выполненный из шпангоутов, стрингеров и соединенной с ними обшивки с поперечными элементами цилиндрический корпус, разделенный на герметичную часть – пилотскую кабину с пассажирским салоном или грузовым отсеком с проемами для дверей и окон, самолетными системами, узлами соединения с центропланом, несущими плоскостями, с пассажирскими креслами и хвостовым оперением, отличающийся тем, что дополнительно к системам кондиционирования, освещения и управления аэродинамическими рулями направления, высоты и крена на стенках фюзеляжа укреплены магистрали (герметичная система воздуховодов) подвода воздушного потока, отбираемого для обдува несущих плоскостей крыла и горизонтального оперения с передней кромки, соединенными с ресивером воздухозаборного канала, компрессора ТРД и/или второго контура ТРДД с одной стороны, и предкромочными выпускными устройствами крыла и горизонтального оперения, а также эжектирующими магистралями (герметичной системой эжектирующих воздуховодов) соединения закромочных воздухозаборников крыла и горизонтального оперения соответственно с ресивером сопла с другой стороны.
19. Фюзеляж самолета по п.18, отличающийся тем, что он выполнен с напорным и эжетирующими ресиверами, при этом с напорным ресивером соединены магистрали от ресиверов воздушного тракта каждого двигателя полидвигательных компоновок, от ВСУ и подвода отобранного от двигателей воздуха к предкромочным распределителям крыла, горизонтального оперения и к струйному рулю стабилизатора, а с эжектирующим ресивером фюзеляжа соединены магистрали от закромочных воздухозаборников крыла и горизонтального оперения, к ресиверам сопла каждого двигателя и к входному каналу ВСУ.
20. Крыло безаэродромного всепогодного самолета вертикального взлета и посадки, содержащее эжектор воздуха с щелевыми соплами, используемыми в вертикальных и переходных режимах полета, одну, по крайней мере, шарнирно соединенную с несущей полуплоскостью заднюю кромку управления, по крайней мере, на части размаха крыла, используемую в аэродинамическом полете, отличающееся тем, что каждая полуплоскость крыла и горизонтального оперения выполнена с предкромочным распределителем, расположенным перед передней кромкой на всем ее размахе со щелями выпуска воздушного потока, отобранного от канала воздухозаборника, компрессора ТРД или второго контура ТРДД для обтекания верхней и нижней несущих поверхностей крыла соответственно и эжектирования этих потоков щелями закромочного воздухозаборника, расположенного на всей длине задней кромки и соединенного системой эжектирования с ресивером сопла или с центральной частью реактивной струи, с заслонками отключения воздухозаборника и распределителя, например – в устройстве отбора или в ресивере сопла.
21. Крыло по п.20, отличающееся тем, что каждый предкромочный распределитель и закромочный воздухозаборник каждой полуплоскости крыла и горизонтального оперения выполнен из трубного корпуса, один конец которого жестко закреплен на концевой шайбе соответственно крыла и оперения, а другой конец его – на фюзеляже или центроплане, в корпусе установлен на опорах с подшипниками, щелевой распределитель – воздуховод с приводом его поворота, например – электрическим, вал которого соединен с распределителем, а фланец корпуса закреплен на корпусе, стенке фюзеляжа или нервюре корневого конца полуплоскости с расположением, по крайней мере, входа в щелевой распределитель в ресивере воздушного тракта или соединенным с ресивером, при этом щели распределителя крыла, по крайней мере, расположены в три ряда, щели центрального из которых выполнены на всей длине образующей, а два других размещены на противоположных сторонах от центрального – один на концевой половине, а другой на корневой со смещением каждого из этих рядов на угол 20°-45° и соответственно этим рядам на внутренней стороне корпус снабжен контактными уплотнениями для перекрытия неработающих рядов щелей, а корпус разделен на две половины перемычкой в середине с уплотнением, например, манжетой.
22. Крыло по п.20, отличающееся тем, что щели распределителей и воздухозаборников выполнены с переменной шириной щели, например – ширина щелей концевого ряда меньше ширины корневого, а ширина сопел центрального ряда уменьшается пропорционально приближению расположения сопла к шайбе полуплоскости.
23. Крыло по п.20, отличающееся тем, что корпус предкромочного распределителя имеет форму поперечного сечения соответствующую конфигурации передней кромки полуплоскостей крыла и горизонтального оперения соответственно, а обшивка их на верхней и нижней стороне выполнена с гофрами, образующими с стабилизаторами каналы на обшивке для воздуха обдува, расположенные соответственно расположению щелей в рядах и их длины и ширины.
24. Крыло по п.20, отличающееся тем, что корпус распределителей и воздухозаборников расположен соответственно в концевых отвертиях нервюр переднего и заднего их конца у крыла и горизонтального оперения, перед управляющим элероном или рулем высоты, а в углублениях обшивки выполнены щели с укрепленными в гофрах направляющими, образующими каналы для выхода обдувающего верхнюю или нижнюю поверхности воздуха.
25. Крыло безаэродромного всепогодного самолета вертикального взлета и посадки, содержащее эжектор воздуха с щелевыми соплами, используемыми в вертикальных и переходных режимах полета, одну, по крайней мере, шарнирно соединенную с несущей полуплоскостью заднюю кромку управления, по крайней мере, на части размаха крыла, используемую в аэродинамическом полете, отличающееся тем, что каждый воздуховод предкромочного распределителя и закромочного воздухозаборника снабжен разделителем выдуваемого из каждой щели воздуха на потоки, обдувающие соответственно верхнюю или нижнюю поверхность полуплоскости посредством гофрированной накладки, закрепленной на передней стороне корпуса предкромочного распределителя или на задней стороне закромочного воздухозаборника, с образованием с поверхностью лобка передней кромки и задней кромки каналов для прохода воздуха соответственно.
26. Крыло безаэродромного всепогодного самолета вертикального взлета и посадки, содержащее эжектор воздуха с щелевыми соплами, используемыми в вертикальных и переходных режимах полета, одну, по крайней мере, шарнирно соединенную с несущей полуплоскостью заднюю кромку управления, по крайней мере, на части размаха крыла, используемую в аэродинамическом полете, отличающееся тем, что корневая часть верхней несущей поверхности, по крайней мере, каждой полуплоскости выполнена с каналами, соединяющими соответствующие щели воздухозаборника со щелями одного, по крайней мере, промежуточного ряда щелей, выполненных в срединной части верхней несущей поверхности крыла.
27. Крыло по п.26, отличающееся тем, что каждый корпус предкромочного распределителя и воздухозаборника выполнен с двумя центральными рядами щелей для выдува отобранного воздуха соответственно на верхнюю или нижнюю сторону полуплоскости.
28. Способ управления безаэродромным всепогодным самолетом с вертикальным взлетом и посадкой, имеющим реверс тяги, включающий разделение и отклонение вектора тяги с изменением положения самолета посредством распределения давления по несущей поверхности и поверхности управления с применением щитков, отличающийся тем, что перечисленные приемы применяют на участках полета с аэродинамическим принципом создания подъемной силы – в горизонтальном полете на заданном эшелоне полета или в наборе высоты с безопасной высоты до заданного эшелона, а для взлета и посадки переключают систему управления на создание аэростатической подъемной силы, включив отбор части воздушного потока из воздушного тракта двигателя на обдув и эжектирование его после упомянутого обдува и для подвода воздуха к струйному рулю стабилизатора, исключают горизонтальное перемещение самолета при этом, включив реверс для разделения тяги на равные и противоположно направленные части для подъема на безопасную высоту при взлете, с посадочным щитком на посадке при необходимости для перевода самолета в режим «зависания» над точкой касания, а вертикальную скорость опускания самолета с безопасной высоты уменьшают оборотами двигателя, для чего вертикальную скорость опускания самолета обеспечивают, выведя обороты двигателя на обороты, аэростатическая подъемная сила на которых меньше посадочного веса самолета, и при приближении его к точке касания в режиме «зависания» самолета вновь уменьшают скорость оборотами, увеличив их для уменьшения скорости опускания в момент касания до 0,3-0,15 м/с.
29. Способ по п.28, отличающийся тем, что после подъема самолета на безопасную высоту скорость горизонтального перемещения его увеличивают, выключив реверс и одновременно набирают высоту за счет увеличивающейся аэродинамической подъемной силы и присоединения к ней аэростатической силы до начала действия аэродинамических рулей, после чего отбор воздуха на обдув несущих и поверхностей управления из воздушного тракта отключают и переводят самолет в набор высоты до заданного эшелона на аэродинамическом принципе и после достижения высоты эшелона отключают эжектирование закромочными воздухозаборниками.
30. Способ по п.28, отличающийся тем, что угол тангажа в полете на аэродинамическом принципе регулируют отклонением аэродинамических рулей-элеронов крыла и рулей глубины горизонтального оперения в соответствующую сторону – для увеличения угла атаки рули глубины отклоняют вверх, а для уменьшения – вниз или включают отбор воздушного потока из воздушного тракта на обдув верхней несущей поверхности крыла и нижней поверхности горизонтального оперения, одной из них или совместно с соответствующим отклонением аэродинамических рулей.
31. Способ по п.28, отличающийся тем, что для выполнения крена дополнительно к отклонению элеронов в противоположные стороны в полете с аэродинамической подъемной силой включают обдув отобранным из воздушного тракта воздухом одной из несущих полуплоскостей крыла или разные части обеих полуплоскостей – корневую одной и концевую другой или одну, например – концевую часть левой полуплоскости для правого крена.
32. Способ по п.28, отличающийся тем, что для изменения курса в аэростатическом режиме полета, например – на этапе набора безопасной высоты для взлета или приземления с нее в точку касания без крена совмещают с щелями соответствующей стороны стабилизатора ряд щелей струйного руля: для поворота влево щели руля совмещают с щелями левой стороны его, а для поворота вправо – с щелями правой, в горизонтальном полете на заданном эшелоне к описанному изменению курса выполняют обдув плоскостей крыла для выполнения соответствующему повороту крена самолета.
33. Система управления безаэродромным всепогодным самолетом с вертикальным взлетом и посадкой, содержащая средства изменения направления вектора тяги, отклоняемую заднюю кромку несущих полуплоскостей, шарнирно соединенную с соответствующей полуплоскостью, эжектирующее щелевое устройство, приводы управления и регулирования, включая режимы вертикальных и переходных режимов полета, размещенные в кабине органы управления, соединенные тросовой проводкой, тягами и качалками с рулями и силовыми, используемыми в горизонтальном полете, по крайней мере, приводами, отличающаяся тем, что система выполнена комбинированной, для чего дополнительно к перечисленным аэродинамическим средствам – элеронам, щиткам и их приводам имеет систему для управления в аэростатических режимах полета, состоящую из устройств регулируемого выпуска предкромочным устройством отобранной части воздушного потока из воздушного тракта двигателя с возможностью регулирования обтекания верхней и нижней поверхностей крыла и оперения, выпуска из щелей стабилизатора и эжектирования обтекающего крыло и оперение воздуха закромочным щелевым воздухозаборником, соединенным магистралью с ресивером сопла, сообщенным с центральной частью реактивной струи двигателя, при этом каждый распределитель выпуска потока перед кромкой и эжектирования его за кромкой имеют привод его поворота вокруг своей оси для совмещения требуемого ряда щелей – центрального, концевого или корневого с выпускными щелями корпуса распределителя.
34. Система управления по п.33, отличающаяся тем, что электродвигатель вращения распределителя или воздухозаборника для совмещения соответствующего ряда щелей сопел – концевого, корневого или центрального – расположен на шайбе соответствующей полуплоскости.
35. Система управления по п.33, отличающаяся тем, что ресиверы мотогондолы, двигателя, фюзеляжа и/или сопла снабжены средством отключения отбора воздушного потока или прекращения эжектирования, например – перемещаемой заслонкой ресивера для перекрытия поступления отбираемого воздуха из ресивера или в него или краном перекрытия эжектирующего трубопровода.
36. Реверс тяги безаэродромного всепогодного самолета, содержащий систему управления реверсом с блокировками, исполнительный механизм с рычажно-цилиндровыми узлами перекладки створок, решетки, замки рабочего и нерабочего положения створок и их опоры, отличающийся тем, что каждая створка имеет отдельную пару опор, смещенных от горизонтальной плоскости, проходящей через ось двигателя, на равную величину в противоположную сторону с обеспечением возможности разделения реактивной тяги на прямую и обратную части, суммарная величина которых, по крайней мере – на части режимов работы двигателя, например-аэростатических, не создает горизонтального перемещения самолета.
37. Реверс тяги по п.36, отличающийся тем, что система управления реверсом выполнена с возможностью обеспечения регулирования угла поворота перекладки створок для обеспечения равенства прямой и обратной тяги в аэростатических режимах полета.
38. Реверс тяги по п.36 или 37, отличающийся тем, что система управления реверсом тяги выполнена с возможностью автоматического обеспечения равенства прямой и обратной тяги на аэродинамических и аэростатических режимах полета самолета.
39. Способ работы реверса тяги безаэродромного всепогодного самолета, содержащий перекладку створок в рабочее положение, взаимодействие газовоздушного потока, по крайней мере – его части, с лопатками решеток для изменения направления этой части потока, разблокировку для перекладки створок и блокировку их после перемещения в переложенное положение, отличающийся тем, что перекладку створок в положение, изменяющее прямую тягу на максимально возможную, обратную, выполняют на любой высоте в любой момент аэродинамического полета, например – на заданном эшелоне полета в случае возникновения неисправности в работе систем самолета, изменения погодных условий или появления опасности, связанной с опасностью самолету в процессе продолжения полета, при этом одновременно с перекладкой створок для экстренного уменьшения горизонтальной скорости аэродинамического полета, переводят двигатель(и) на режим 0,3-0,4 малого газа и включают отбор воздушного потока на обдув полуплоскостей для перехода на аэростатический режим и экстренного вертикального уменьшения высоты полета до безопасной, на которой постепенным увеличением оборотов двигателей постепенно уменьшают скорость вертикального перемещения к опорной поверхности до 0,3-0,15 м/с в момент касания пневматиков системы шасси с поверхностью опоры в выбранном месте, а положение самолета при этом обеспечивают аэростатической системой управления самолета – струйным рулем направления и изменением скорости, площади и сочетания участков обтекания полуплоскостей крыла и оперения, а в штатном режиме полета при подлете к месту посадки осуществляют снижение с эшелона полета в аэродинамическом режиме по глиссаде до безопасной высоты, на которой переводят самолет в режим зависания над выбранной точкой приземления перекладкой створок в положение, обеспечивающее равенство прямой и обратной тяги, а после зависания регулируют оборотами двигателя(ей) скорость вертикального приближения к опорной поверхности места посадки.
40. Способ по п.39, отличающийся тем, что для экстренного уменьшения горизонтальной скорости аэродинамического режима полета в нештатной ситуации створки реверса перекладывают в положение, обеспечивающее превышение обратной тяги над прямой, например – максимально возможной, в том числе, с последующим постепенным уменьшением, в том числе – автоматическим до равенства прямой и обратной тяг, например – пропорционально уменьшению горизонтальной скорости полета.
41. Система шасси, содержащая трехстоечное шасси, стойки двух основных из которых одним концом соединены шарнирно с лонжероном крыла, а третья – хвостовая или носовая – с соответствующей частью фюзеляжа, с механизмом уборки-выпуска стоек, управления и торможения с сигнализацией постановки стоек на замок убранного и выпущенного положения, отличающаяся тем, что на свободном конце каждой из упомянутых стоек установлены пневматики низкого давления.
42. Система газоразделения и газораспределения безаэродромного всепогодного самолета с вертикальным взлетом и посадкой, содержащая магистрали, соединенные с системой кондиционирования, наддува топливных баков, а также имеет одну, по крайней мере, магистраль, соединенную с трактом одного, по крайней мере, двигателя и снабженную контрольно-регулирующей аппаратурой с возможностью перепуска части потока из воздушно-газового тракта к эжектору, магистралями подвода газа от ВСУ к стартеру двигателей(я), отличающаяся тем, что дополнительно к упомянутым магистралям система заявляемого самолета выполнена с магистралями, соединенными с ресивером канала воздухозаборника, компрессора ТРД или второго контура ТРДД с возможностью включения ее для подведения на взлете или посадке отобранного из воздушного тракта воздушного потока к передней кромке каждой полуплоскости крыла, горизонтального оперения и к струйному рулю стабилизатора, с магистралями эжектирования всасываемого закромочным воздухозаборником отобранного из воздушного тракта двигателя(ей) воздушного потока после его обтекания полуплоскостей крыла и горизонтального оперения для последующего выпуска его в ресивер сопла или в центральную часть реактивной газовой струи его двигателя(ей).
43. Система по п.42, отличающаяся тем, что ресивер воздушного тракта двигателей полидвигательной компоновки через ресивер фюзеляжа соединен магистралями с предкромочным распределителем каждой полуплоскости крыла, струйным рулем и ВСУ, а закромочный воздухозаборник каждой упомянутой полуплоскости соединен эжектирующей магистралью с ресивером сопла и входным каналом ВСУ через эжектирующий ресивер фюзеляжа или сообщен с центром реактивной газовой струи двигателя.
РИСУНКИ
|
|