|
|
(21), (22) Заявка: 2007113797/11, 20.06.2006
(24) Дата начала отсчета срока действия патента:
20.06.2006
(46) Опубликовано: 20.03.2009
(56) Список документов, цитированных в отчете о поиске:
RU 2166065 С2, 27.04.2001. RU 2261818 С2, 10.10.2005. RU 2108264 C1, 10.04.1998. JP 2001260982 A, 26.09.2001. JP 2004204562 A, 22.07.2004.
(85) Дата перевода заявки PCT на национальную фазу:
21.05.2007
(86) Заявка PCT:
RU 2006/000320 (20.06.2006)
(87) Публикация PCT:
WO 2008/002172 (03.01.2008)
Адрес для переписки:
410086, г.Саратов, ул. Пионерская, 1, оф.1, Г.П. Кузнецову
|
(72) Автор(ы):
Кузнецов Геннадий Петрович (RU)
(73) Патентообладатель(и):
Кузнецов Геннадий Петрович (RU)
|
(54) КОМПЛЕКС ДЛЯ РАЗРАБОТКИ ПОДВОДНЫХ МЕСТОРОЖДЕНИЙ ПОЛЕЗНЫХ ИСКОПАЕМЫХ
(57) Реферат:
Изобретение относится к области конструирования оборудования для освоения таких природных ресурсов мирового океана, как нефть и газ из скважин и других полезных ископаемых из россыпных подводных месторождений. Комплекс для разработки подводных месторождений полезных ископаемых содержит монтажный корпус на плавбазе в открытом море, на острове или на побережье, предназначенный для изготовления, испытания и спуска на воду герметичных камер с размещенным внутри оборудованием. С камерами соединены герметичные кожухи с трубопроводами и кожухи с силовыми и управляющими кабелями. При этом головную часть комплекса перемещают в подводном положении от места нахождения монтажного корпуса до заданных координат морского дна путем периодического включения в работу подруливающих аппаратов понтонных блоков при постепенном наращивании длины транспортной системы комплекса за счет добавления к ней очередных секций внутри монтажного корпуса. Для выдержки курса перемещения комплекса используют не менее двух подводных лодок, постоянно состыкованных с головной частью комплекса. Повышается надежность работы комплекса. 1 ил.
Область техники, к которой относится изобретение
Изобретение относится к области конструирования оборудования для освоения таких природных ресурсов Мирового океана, как нефть и газ из скважин, а также олова, золота, платины, циркония, рутила, ильменита, никеля, кобальта, меди, марганца, железистых песков и многих других полезных ископаемых из россыпных подводных месторождений.
Уровень техники
Известно, что к концу семидесятых годов двадцатого века из морей извлекалось более 20 процентов всей добываемой на Земле нефти и около 10 процентов природного газа. Пионерами добычи нефти из-под дна моря считаются специалисты Соединенных Штатов Америки, которые после нефтяного кризиса семидесятых годов двадцатого века начали осваивать морские месторождения у мексиканского побережья. В офшорном бурении (это разведка и добыча нефти и газа на нефтяных «полях», так называемых офшорных зонах) используют в основном морские буровые установки, которые условно разделяют на два класса – плавучие и стационарные (фиксированные). Одна морская платформа строится два-три года и стоимость ее в зависимости от класса доходит до 500 миллионов долларов США. Сооружение платформы, предназначенной для разведки и добычи углеводородов из-под дна морей, на поверхности которых образуются ледовые поля, обойдется заказчику уже в 700 миллионов долларов США. Для добычи и транспортирования нефти и газа из подводных месторождений требуется создание сложного многоотраслевого хозяйства. Кроме бурового оборудования оно включает нефтегазозаборные, транспортные и складские устройства. Нефть и газ из подводных месторождений добывают с использованием серийного нефтегазозаборного оборудования. Однако по мере увеличения глубины разработки, а также в акваториях морей с движущимися ледовыми полями более предпочтительным оказывается метод расположения устьевого оборудования на дне. Такой метод впервые был применен в 1943 году при бурении нефтяной скважины на озере Эри. В настоящее время метод подводного устьевого оборудования используют до глубин в 150 метров, но обнаружены месторождения нефти и газа на глубинах 1000 метров, разработка которых целесообразна только подводным способом. Метод освоения нефтегазовых месторождений при расположении устьевого оборудования на дне позволяет снизить затраты, а это означает, что можно разрабатывать месторождения с небольшими запасами. Подводное оборудование, размещаемое на дне, защищено от неблагоприятных метеорологических явлений на поверхности воды, а также оно не может быть повреждено движущимися айсбергами. Уменьшается возможность утечек нефти и газа, а следовательно, улучшается решение проблемы предотвращения загрязнения воды. Метод устьевого оборудования на дне позволяет определить эксплуатационные параметры и характеристики месторождения на ранних стадиях разработки, что создает условия для принятия решения о вводе месторождения в эксплуатацию очередями. Для транспортирования нефти и газа, извлеченных из подводного месторождения, на небольшие расстояния, особенно в ледовых условиях арктических морей, предпочтительно использование трубопроводных систем. Одним из главных преимуществ трубопроводных систем является непрерывность процесса транспортирования и независимость от погодных условий. Широкое распространение трубопроводный транспорт получил при разработке подводных месторождений Северного моря. Во второй половине семидесятых годов 20 века трубопроводный транспорт был применен на крупнейшем месторождении Северного моря – «Экофикс», связанном с шестью другими месторождениями этого района. Здесь действует трубопровод длиной 440 километров с толщиной стенок в морской части 22,2 миллиметра, а в прибрежной части – 25 миллиметров. По трубопроводу ежесуточно пропускают 40 миллионов кубометров газа. От коррозии трубопровод предохраняют антикоррозионная изоляция и катодная защита. Необходимую отрицательную плавучесть трубопровода обеспечивает бетонное покрытие, которое также предназначено для дополнительной изоляции трубопровода от механических повреждений. Горизонтальный участок трубопровода, расположенный на дне моря, соединен с вертикальным стояком на платформе с использованием камер, погружаемых с платформы. Вертикальные участки трубопровода, расположенные на платформе, защищены от коррозии и механических повреждений стальными кожухами, заполненными цементным раствором. В шестидесятые годы 20 века внимание человечества привлекли руды Мирового океана и особенно два типа их месторождений, имеющих многометальный состав – залежи конкреций в центральных районах океанов и металлоносные илы в некоторых разломах коры морского дна. Удивительные минеральные образования были обнаружены в пробах грунта, поднятых со дна океана в последней четверти 20 века. Честь этого открытия принадлежит сотрудникам английской океанографической экспедиции на корвете «Челленджер». По форме эти образования были похожи на картофелины, имели темную окраску, слоистое строение, малую прочность. Химическими анализами конкреций установлено повышенное содержание железа, марганца, меди, никеля и многих других редких и рассеянных элементов. Глубины, на которых были обнаружены конкреции, равны нескольким тысячам метров. Наиболее богатые участки найдены на глубинах от 4000 до 6000 метров в Атлантическом, Тихом и Индийском океанах. Американские исследователи выявили залежи конкреций вблизи берегов США на глубинах всего в 500-1000 метров, но эти конкреции бедны по составу ценными элементами. На основании геологических и океанологических данных о плотностях залегания конкреций в различных районах океанов были установлены общие площади их распространения и подсчитаны ориентировочные запасы. На одном квадратном метре дна может находиться от нескольких граммов до нескольких десятков килограммов конкреций. Содержание в залежах, перспективных для разработки, составляет в среднем 10 килограммов конкреций на одном квадратном метре дна. Первая в международной практике заявка на разработку полезных ископаемых в открытом океане за пределами юрисдикции государства была подана в 1974 году фирмой «Дипси венчурс». Были представлены документы об открытии в Тихом океане на глубине от 3500 до 5500 метров месторождения площадью 60 тысяч квадратных километров с координатами: 15 градусов северной широты и 127 градусов западной долготы. Исследования показали, что перспективными для разработки могут считаться залежи конкреций и металлоносных илов в глубоководных впадинах. Для разработки выбирают месторождение конкреций, залегающих на поверхности дна в виде монослоя, и металлоносные илы, заполнившие донные трещины и впадины слоем в несколько десятков метров. Эти отличия в характере залегания месторождений двух типов влияют на выбор конструкции добычных установок. Одновременно также учитывают, что конкреции и металлоносные илы залегают в грунтах, которые сравнительно легко подвергаются рыхлению и черпанию. Принципиальные технические решения по созданию установок для добычи конкреций начали предлагать с шестидесятых годов 20 века. Механическая система предусматривала опускание на тросе драги – волокуши, черпание со дна океана конкреций и подъем заполненного ковша на поверхность. Гидравлическая система требовала наличия придонного устройства, предназначенного для сбора конкреций с прилегающей площади дна и перекачивания вместе с водой по трубопроводам на добычное судно. Добычу конкреций по замыслу конструкторов можно было также вести из автономных аппаратов (типа подводных лодок). Металлосодержащие илы предполагалось добывать установками эрлифтного и насосного типов.
По ориентировочным подсчетам рентабельная добыча может быть обеспечена предприятием, ежегодно добывающим 3 миллиона тонн сухих конкреций. Российским акционерным обществом «Лазурит» разработан способ промысловой комплексной подводной разработки морских месторождений, на который был выдан патент RU 2014243, опубликованный 15 июня 1994 года в Бюллетене Комитета Российской Федерации по патентам и товарным знакам №11 [1]. Это изобретение относится к разработке месторождений на морских глубинах в условиях сложной метеорологической обстановки, включая ледовые районы Арктики, например морского Штокмановского газоконденсатного месторождения при глубине моря в этом районе 300-350 метров. В районе предполагаемой добычи на морском дне должна быть установлена донная плита, в которой с помощью морской буровой платформы или бурового судна производят разработку скважин. На донной плите устанавливают устьевое оборудование, фонтанную арматуру, трубопроводы. На минимально допустимом расстоянии от донной плиты на якорных связях устанавливают блоки промысловой обработки, которые в зависимости от состояния моря и ледовых условий поддерживают на необходимой глубине. Блоки промысла обработки соединяют с донной плитой эксплуатационной магистралью для подачи в них продукта добычи и с транспортной магистралью для подачи продукта промысла потребителю. Постоянное комплексное обеспечение подводного промысла осуществляют с помощью обеспечивающего судна и подводных аппаратов. Водоизмещение подводного судна обеспечения около 5000 тонн, длина 119 метров, ширина 11 метров, автономность его работы 40 суток, глубина погружения 500 метров. На судне имеется колокол для доставки под водой обслуживающего персонала, а также предусмотрены средства жизнеобеспечения, автономные аппараты для инспекции подводных сооружений и коммуникаций, для транспортировки водолазов, эвакуации персонала. Кроме этого судно оснащено обитаемым рабочим подводным аппаратом для монтажных и ремонтных работ, грузозахватным устройством для подъема и транспортировки грузов, а также водолазным комплексом для работ на глубинах до 500 метров. Однако, как отмечают авторы способа подводной добычи полезных ископаемых, на который выдан в 2001 году патент RU 2166065 [2], к числу недостатков технического решения по патенту RU 2014243 относится то, что надводные плавучие составляющие технологического комплекса обладают недостаточной надежностью при взаимодействии с мощным ледовым покровом вследствие необходимой их якорной привязки ко дну водоема, а также низкой функциональной возможностью вследствие отсутствия средств непосредственного технологического взаимодействия с береговыми техническими службами. Для устранения отмеченных недостатков авторы изобретения по патенту RU 2166065 разработали технологический комплекс подводной добычи полезных ископаемых, который содержит донную опорную плиту, на которой имеются посадочные места для установки подводного технологического модуля, выполненного в виде подводного судна, снабженного буровым и/или эксплуатационным (фонтанным) оборудованием. Подводный буровой технологический модуль может быть несамоходным, но для этого варианта должны предусматриваться транспортные средства для доставки модуля и установки его на донную опорную плиту. Доставку расходных материалов, элементов оборудования и экипажа на подводные технологические модули осуществляют с помощью подводного судна обеспечения. Транспортировку полезных ископаемых с подводных технологических модулей на берег водоема и далее к потребителю осуществляют по магистральным трубопроводам с помощью насосных станций, располагаемых на подводном буровом модуле, и/или на базовой стационарной технологической платформе, и/или на береговой технологической станции. Базовая стационарная технологическая платформа может быть установлена на дне водоема в непосредственной близости от берега. В предпочтительном варианте базовую стационарную технологическую платформу устанавливают на дне водоема между местом расположения донных опорных плит подводных технологических модулей и местом расположения береговой технологической станции, выбираемым из условия минимизации волновой и ледовой нагрузки на ее корпус и кратчайшего суммарного расстояния до донных опорных плит. При этом базовую стационарную технологическую платформу выполняют с подводной и надводной частями, причем их параметры выбирают из условия обеспечения возможности маневрирования и обработки подводных буровых технологических модулей, подводных судов обеспечения, а также надводных кораблей. Первоначальную доставку расходных материалов, элементов оборудования и экипажа на базовую стационарную технологическую платформу и/или береговую технологическую станцию, а также транспортировку между ними осуществляют подводными и/или надводными кораблями, воздушными и/или наземными, а также и подземными транспортными средствами. Первичная промышленная обработка и хранение полезных ископаемых, а также переработка или уничтожение сопутствующих газов с учетом экологических требований может осуществляться как на базовой стационарной технологической платформе, так и на береговой технологической станции. При всей привлекательности технических решений, осуществленных в изобретении по патенту RU 2166065, приходится констатировать, что авторам не удалось решить проблему изоляции всего оборудования промысла от воздействия неблагоприятных метеорологических процессов над поверхностью моря из-за наличия базовой стационарной технологической платформы, конструкции которой должны выдерживать воздействие на них обширных ледовых полей, а также и айсбергов. Кроме этого ни в изобретении по патенту RU 2014243, ни в изобретении по патенту RU 2166065 не решена проблема доставки и установки на морское дно опорных донных плит. С целью устранения отмеченных недостатков предложен комплекс для разработки подводных месторождений полезных ископаемых, на конструкции которого не могут воздействовать движущиеся ледовые поля, айсберги, а также тайфуны, ураганы, смерчи, волны цунами, «волны-убийцы» над поверхностью воды.
Раскрытие изобретения
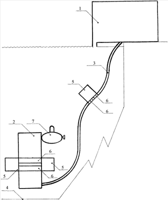
Комплекс для разработки подводных месторождений полезных ископаемых включает монтажный корпус, предназначенный для постепенного наращивания защищенных от коррозии трубопроводов, внутри которых будут перемещать герметичные капсулы с материалами, требующимися для функционирования оборудования в головной части комплекса, а в процессе эксплуатации месторождения также возможно использовать их для транспортирования добытых полезных ископаемых на побережье. Одновременно с наращиванием технологических трубопроводов производят наращивание кожухов для силовых кабелей, предназначенных для подачи электроэнергии к оборудованию в головной части комплекса, ко всем системам жизнеобеспечения людей, которые будут работать в головной части комплекса, и к каждому понтонному блоку, а также и кожухов для кабелей дистанционного управления работой всего оборудования. Перемещение в подводном положении головной части комплекса вместе с понтонными блоками и кожухами для трубопроводов и кабелей от места нахождения монтажного корпуса на суше или на плавбазе до запланированного места посадки головной части комплекса на дно осуществляют за счет управления работой подруливающих устройств, имеющихся на каждом понтонном блоке, либо подводными лодками, состыкованными с головной частью комплекса через стыковочные узлы. На чертеже изображена блок-схема размещения модулей комплекса для разработки подводных месторождений полезных ископаемых. Монтажный корпус 1 показан в варианте размещения его на суше. Головная часть 2 комплекса с оборудованием для бурения и обустройства скважин, а также запасом труб, соединительных муфт, бурильных коронок и других расходуемых изделий и материалов в случае добычи нефти, газа, либо с оборудованием для засасывания воды вместе с конкрециями или илом в случае добычи твердых полезных ископаемых имеет герметичные соединения со всеми трубопроводами транспортной системы 3. На всем протяжении транспортной системы 3 от ее выхода из монтажного корпуса до места посадки головной части 2 на дно 4 размещены понтонные блоки 5, имеющие стяжки 6, предназначенные для надежного соединения понтонных блоков 5 с кожухами трубопроводов транспортной системы 3. С головной частью 2 комплекса постоянно состыкованы не менее двух подводных лодок 7, предназначенных для размещения людей, свободных от вахты, а также для обеспечения всего оборудования подводной части комплекса электроэнергией в периоды прекращения энергоснабжения оборудования из монтажного комплекса. Головная часть 2 имеет не менее четырех шлюзовых устройств для состыковки с ней подводных лодок.
Лучший вариант осуществления изобретения
Размещение монтажного корпуса 1 на суше позволяет создать условия для разведки подводных месторождений полезных ископаемых, а также для последующего освоения их при любых метеорологических процессах над водой круглогодично, так как продвижение головной части комплекса и соединенной с ней транспортной системы 3 вместе с управляющими и силовыми кабелями осуществляют в придонных слоях воды. Головную часть 2 комплекса для разработки подводных месторождений полезных ископаемых строят, испытывают и спускают под воду в специальном бассейне, размещенном внутри монтажного корпуса 1. Там же к головной части 2 присоединяют конструкции транспортной системы 3, а также кожухи с силовыми и управляющими кабелями. Для обеспечения плавучести головной части 2 комплекса к ней присоединяют расчетное количество понтонных блоков 5. По мере наращивания длины транспортной системы 3 в бассейн спускают очередные понтонные блоки и надежно соединяют их с кожухами трубопроводов с использованием стяжек 6. Управление плавучестью головной части комплекса 2 и соединенных с ней конструкций транспортной системы 3, а также кожухов с силовыми и управляющими кабелями обеспечивают путем применения метода дозированной перекачки жидкости из безкингстонных цистерн понтонных блоков 5 в кингстонные цистерны этих блоков и обратно. Этот метод раскрыт в описании изобретения к патенту RU №2246421, которое опубликовано 20 февраля 2005 года в Бюллетене Федеральной службы по интеллектуальной собственности, патентам и товарным знакам Российской Федерации №5 [3]. Конструкция понтонных блоков 5, показанная в описании изобретения к патенту RU №2246421, обеспечивает размещение в батискафах акванавтов либо дистанционное управление оборудованием каждого понтонного блока. При применении указанных понтонных блоков для управления плавучестью головной части 2 комплекса для разработки подводных месторождений полезных ископаемых, а также всей транспортной системы 3 дистанционное управление оборудованием каждого понтонного блока из монтажного корпуса 1 и из состыкованных с головной частью комплекса подводных лодок 7 позволяет в любой момент времени работы комплекса послать в каждый понтонный блок 5 команду в виде электрических импульсов на перекачку жидкости из одних цистерн в другие с целью изменения плавучести этого понтонного блока, что приведет к изменению его отметки относительно поверхности воды. Многократным дозированием количества перекачиваемой жидкости внутри понтонных блоков достигают поддержания экономически выгодного профиля всей транспортной системы 3, что позволит избежать резких прогибов кожухов и трубопроводов при пересечении ими понижений и возвышений дна. Применение дистанционной системы управления плавучестью каждого понтонного блока 5 обеспечивает возможность подъема головной части 2 и всей транспортной системы 3 комплекса для разработки подводного месторождения полезных ископаемых с последующим перемещением его к новому месту посадки головной части 2 на дно. Доставку труб и других изделий и материалов, необходимых для бурения и обустройства очередных скважин осуществляют в капсулах, которые перемещают внутри труб транспортной системы 3 за счет создания разности давлений воздуха с разных сторон уплотняющих манжет на поверхности капсул. Подачу воздуха в трубы осуществляют всегда со стороны монтажного корпуса 1, причем для перемещения капсулы от монтажного корпуса 1 к головной части 2 комплекса воздух под давлением вводят в ту трубу, в которой находится капсула, а для перемещения капсулы от головной части 2 комплекса к монтажному корпусу 1 сжатый воздух вводят в свободную от капсул трубу для того, чтобы после попадания воздушного потока в головную часть комплекса его можно было бы направить в трубу с капсулой со стороны головной части 2 комплекса. Для уменьшения сопротивления движению капсулы на ее внешней поверхности размещают опоры, контактирующие с направляющими рельсами внутри трубы. После завершения разработки подводного месторождения полезных ископаемых все оборудование комплекса можно возвратить в монтажный корпус 1 за счет постепенного втягивания в монтажный корпус 1 очередных секций транспортной системы 3 вместе с понтонными блоками 5. Для того чтобы втягиваемые в монтажный корпус 1 очередные секции транспортной системы 3 и понтонные блоки 5 не были повреждены ограждающими конструкциями подводных ворот монтажного корпуса 1, дистанционно управляют работой подруливающих систем на понтонных блоках.
Промышленная применимость изобретения
Комплекс для разработки подводных месторождений полезных ископаемых будет широко применяться во многих странах мира по следующим причинам: 1) процесс перемещения всего оборудования комплекса к месту посадки его головной части на дно не зависит от ураганов, волн «цунами», «волн-убийц», а также от ледовой обстановки на поверхности воды, что позволит осуществлять эти работы круглогодично, то есть без простоев оборудования и людей; 2) устройство транспортной системы одновременно с перемещением головной части в нужный район моря создает условия для круглогодичной доставки любых добытых полезных ископаемых потребителям на побережье немедленно после начала работы головной части комплекса; 3) использование специализированных подводных лодок с ядерными реакторами на борту, предназначенных на этапе перемещения всего оборудования комплекса для сохранения направления этого перемещения за счет состыковки с головной частью комплекса не менее двух подводных лодок, позволяет осуществить доставку головной части комплекса в нужный район моря, а в процессе разработки месторождения свободные от работы вахтовики смогут отдыхать в благоустроенных специализированных отсеках лодок, после завершения вахты их доставят на берег в одной из лодок, оставляя состыкованными с головной частью комплекса не менее двух лодок; 4) возможность перемещения головной части комплекса вместе со всем оборудованием транспортной системы за счет регулирования плавучести понтонных блоков с дистанционным управлением их работой позволяет осуществить добычу всего намеченного объема полезных ископаемых в заданном районе моря одним комплексом, после чего возвратить все подводное оборудование комплекса в монтажный корпус и хранить его до использования в новых районах моря или перевезти в другое место; 5) отсутствие необходимости иметь корабли или платформы над точками размещения подводного оборудования позволит добывать полезные ископаемые с таких глубин, на которых работа известной техники невозможна.
Источники информации
1. Патент RU 2014243 C1, 5 В63В 35/44, В63G 8/00 опубликован 15.06.1994 года в Бюллетене Комитета Российской Федерации по патентам и товарным знакам №11.
2. Патент RU 2166065 С2, Е21В 43/01 опубликован 27.04.2001 года Российским агентством по патентам и товарным знакам.
3. Патент RU 2246421 С2, В63С 7/08 опубликован 20.02.2005 года в Бюллетене Федеральной службы по интеллектуальной собственности, патентам и товарным знакам №5.
Формула изобретения
Комплекс для разработки подводных месторождений полезных ископаемых, включающий монтажный корпус на плавбазе в открытом море, на острове или на побережье, предназначенный для изготовления, испытания и спуска на воду герметичных камер с размещенным внутри оборудованием, а также соединенных с этими камерами герметичных кожухов с трубопроводами и кожухов с силовыми и управляющими кабелями, отличающийся тем, что головную часть комплекса перемещают в подводном положении от места нахождения монтажного корпуса до заданных координат морского дна путем периодического включения в работу подруливающих аппаратов понтонных блоков, предназначенных для поддержки всех подводных конструкций комплекса на расчетных отметках относительно уровня моря, при постепенном наращивании длины транспортной системы комплекса за счет добавления к ней очередных секций внутри монтажного корпуса, а для выдержки курса перемещения комплекса используют не менее двух подводных лодок, постоянно состыкованных с его головной частью и обеспечивающих электроснабжение оборудования внутри герметичных камер и в каждом понтонном блоке при перерывах в подаче электроэнергии из монтажного корпуса, с обеспечением возможности управления работой всего подводного оборудования комплекса не только из монтажного корпуса, но также и с подводных лодок, состыкованных через шлюзовые устройства с головной частью комплекса, в результате чего доставку оборудования и материалов для разведки месторождений и добычи полезных ископаемых и последующую транспортировку добытых полезных ископаемых осуществляют при любых неблагоприятных метеорологических процессах над поверхностью воды, при наличии айсбергов и непроходимых ледовых полей.
РИСУНКИ
|
|