|
|
(21), (22) Заявка: 2007142554/02, 20.11.2007
(24) Дата начала отсчета срока действия патента:
20.11.2007
(46) Опубликовано: 20.03.2009
(56) Список документов, цитированных в отчете о поиске:
US 2475668 А, 12.07.1949. SU 10650 А, 12.08.1924. SU 398354 А, 12.02.1974. SU 462668 А, 05.06.1975. SU 1775310 A1, 15.11.1992.
Адрес для переписки:
123182, Москва, ул. Акад. Бочвара, 2, кв.43, Д.А.Иосселиани
|
(72) Автор(ы):
Иосселиани Дмитрий Александрович (RU)
(73) Патентообладатель(и):
Иосселиани Дмитрий Александрович (RU)
|
(54) ИНСТРУМЕНТ ДЛЯ ПРОРЕЗАНИЯ КОНЦЕНТРИЧЕСКИХ КАНАВОК
(57) Реферат:
Инструмент состоит из хвостовика, предназначенного для закрепления в патроне, корпуса с направляющей, в котором закреплена поперечина с осью, перпендикулярной оси хвостовика, и с установленными на ней двумя, как минимум, блоками крепления регулируемых по высоте и фиксируемых резцов с осями, параллельными оси хвостовика. Для исключения образования задиров и заусенцев хвостовик шарнирно установлен в корпусе, один из резцов выполнен с V-образной заточкой для надрезки наружного и внутреннего диаметров образуемой канавки, а второй, противоположный, предназначен для выборки материала между надрезами. 2 ил.
Создание надежного, удобного инструмента с регулируемым радиусом установки резцов для прорезания канавок и вырезания дисков.
Изобретение предназначено для использования во многих отраслях техники и личном хозяйстве при обработке волокнистых материалов.
Широко известны в производстве аналоги инструмента типа коронок, зенкеров (“Политехнический словарь” под ред. А.Ю.Ишлинского, изд. “Советская энциклопедия”, М., 1980 г., стр.178) для перфорирования материалов, однако большинство из них создает задиры и заусенцы на поверхностных слоях материала изделий. Более близкий прототип данного изобретения патент US 2475668.
Сущность изобретения заключается в том, что инструмент, выполненный по предлагаемой схеме, обеспечивает, за счет шарнирного соединения хвостовика с корпусом, одновременное касание к поверхности материала режущих кромок разной заточки, по крайней мере, двух резцов без образования задиров или заусенцев при входе их и выходе из материала,
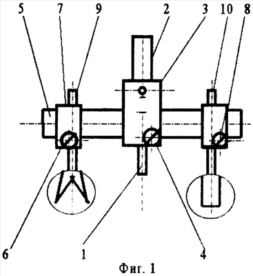
Фиг.1 – конструктивная схема инструмента, фиг.2 – вид сбоку.
Инструмент для прорезания концентрических канавок, а так же перфорирования материала и вырезания дисков, фиг.1 и 2, состоит из цилиндрической направляющей 1, хвостовика 2, шарнирно установленного в корпусе 3 и закрепленного в нем винтом 4, ось которого перпендикулярна оси хвостовика, содержащей перемещаемые и закрепляемые на ней винтами 6 два, как минимум, блока крепления 7, регулируемых по высоте и фиксируемых винтами 8, резцов 9 и 10 с осями, параллельными оси, при этом один из них (например 9) имеет V-образную заточку для надрезки наружного и внутреннего диаметров образуемой канавки, а второй (10), противоположный, – для выборки материала между ними, как указано в кружках фиг.1 и 2.
Устанавливают относительно корпуса 3 равные вылеты поперечины 5 и закрепляют винтом 4. Устанавливают равные вылеты резцов 9 и 10 и закрепляют винтами 8. Вылет направляющей 1 устанавливается больше вылета резцов и закрепляется вторым винтом 4. Устанавливают удаление от центра (оси направляющей) резцов 9 и 10. Зажимают хвостовик 2 в патроне и приступают к работе по прорезанию канавки, перфорированию или вырезанию дисков с подкладкой из однородного материала.
Формула изобретения
Инструмент для прорезания концентрических канавок и вырезания дисков, состоящий из хвостовика, предназначенного для закрепления в патроне, корпуса с направляющей, в котором закреплена поперечина с осью, перпендикулярной оси хвостовика, и с установленными на ней двумя, как минимум, блоками крепления регулируемых по высоте и фиксируемых резцов с осями, параллельными оси хвостовика, отличающийся тем, что хвостовик шарнирно установлен в корпусе, один из резцов выполнен с V-образной заточкой для надрезки наружного и внутреннего диаметров образуемой канавки, а второй, противоположный, предназначен для выборки материала между надрезами.
РИСУНКИ
|
|