|
| На основании пункта 1 статьи 1366 части четвертой Гражданского кодекса Российской Федерации патентообладатель обязуется заключить договор об отчуждении патента на условиях, соответствующих установившейся практике, с любым гражданином Российской Федерации или российским юридическим лицом, кто первым изъявил такое желание и уведомил об этом патентообладателя и федеральный орган исполнительной власти по интеллектуальной собственности. |
|
(21), (22) Заявка: 2007144126/02, 27.11.2007
(24) Дата начала отсчета срока действия патента:
27.11.2007
(46) Опубликовано: 20.03.2009
(56) Список документов, цитированных в отчете о поиске:
SU 755443 А, 25.08.1980. SU 1634374 A1, 15.03.1981. SU 1648642 A1, 15.05.1981. RU 2164842 C2, 24.09.1999. WO 02/058873 A1, 01.08.2002.
Адрес для переписки:
129366, Москва, до востребования, Н.А.Корюкиной
|
(72) Автор(ы):
Корюкина Нина Алексеевна (RU)
(73) Патентообладатель(и):
Корюкина Нина Алексеевна (RU)
|
(54) РЕЖУЩАЯ ПЛАСТИНА И СБОРНЫЙ РЕЖУЩИЙ ИНСТРУМЕНТ (ВАРИАНТЫ)
(57) Реферат:
Изобретение относится к области обработки материалов резанием, режущему инструменту с механическим креплением режущих пластин, например резцам или фрезам. Режущая пластина имеет ось симметрии, нижнюю и боковые опорные поверхности и ограничена симметричной формы верхней и нижней поверхностями, через которые проходит упомянутая ось симметрии, и боковой поверхностью, расположенной между верхней и нижней поверхностями. При этом на нижней поверхности расположены выступы, равномерно размещенные вокруг оси симметрии. Передняя поверхность расположена на верхней поверхности, а боковые опорные поверхности – на боковой поверхности выступов. Нижняя опорная поверхность выполнена состоящей из участков, расположенных на упомянутых выступах параллельно верхней поверхности, а боковые опорные поверхности выполнены в виде наружных усеченных конических поверхностей с большими основаниями со стороны нижней поверхности. Сборный режущий инструмент содержит корпус с по меньшей мере одним гнездом, в котором установлена и закреплена режущая пластина. При этом боковая опорная поверхность выступа под рабочей вершиной режущей кромки или рабочим участком ее режущей кромки режущей пластины взаимодействует с боковой опорной стенкой гнезда или боковой опорной поверхностью опорной пластины. Технический результат: повышение прочности режущей пластины и сборного режущего инструмента за счет приближения опорных поверхностей к рабочей вершине режущей пластины или рабочему участку ее режущей кромки. 4 н. и 2 з.п. ф-лы, 13 ил.
Изобретение относится к области обработки материалов резанием, режущему инструменту с механическим креплением режущих пластин, например резцам или фрезам.
Известна режущая пластина, имеющая ось симметрии, переднюю поверхность, на которой расположена режущая кромка, нижнюю и боковые опорные поверхности и ограниченная симметричной формы верхней и нижней поверхностями, через которые проходит упомянутая ось симметрии, и боковой поверхностью, расположенной между верхней и нижней поверхностями, при этом на нижней поверхности расположены выступы, равномерно размещенные вокруг оси симметрии, передняя поверхность расположена на верхней поверхности, а боковые опорные поверхности – на боковой поверхности выступов (см. а.с. СССР 755443, В23В 27/16, 1980) /1/.
Известен сборный режущий инструмент, содержащий корпус с по меньшей мере одним гнездом, в котором установлена и закреплена режущая пластина, имеющая ось симметрии, переднюю поверхность, на которой расположена режущая кромка, и рабочую вершину или рабочий участок режущей кромки, нижнюю и боковые опорные поверхности и ограниченная симметричной формы верхней и нижней поверхностями, через которые проходит упомянутая ось симметрии, и боковой поверхностью, расположенной между верхней и нижней поверхностями, при этом на нижней поверхности расположены выступы, равномерно размещенные вокруг оси симметрии, передняя поверхность расположена на верхней поверхности, а боковые опорные поверхности – на боковой поверхности выступов, при этом гнездо ограничено нижней опорной стенкой и боковыми опорными стенками (см. /1/).
Известен сборный режущий инструмент, содержащий корпус с по меньшей мере одним гнездом, в котором на опорной пластине установлена и закреплена режущая пластина, имеющая ось симметрии, переднюю поверхность, на которой расположена режущая кромка, и рабочую вершину или рабочий участок режущей кромки, нижнюю и боковые опорные поверхности и ограниченная симметричной формы верхней и нижней поверхностями, через которые проходит упомянутая ось симметрии, и боковой поверхностью, расположенной между верхней и нижней поверхностями, при этом на нижней поверхности расположены выступы, равномерно размещенные вокруг оси симметрии, передняя поверхность расположена на верхней поверхности, а боковые опорные поверхности – на боковой поверхности выступов, при этом гнездо ограничено нижней опорной стенкой и боковыми опорными стенками, опорная пластина имеет верхнюю и нижнюю опорные поверхности, взаимодействующие соответственно с нижней опорной поверхностью режущей пластины и с нижней опорной стенкой гнезда, боковые опорные поверхности, взаимодействующие с боковыми опорными стенками гнезда, и боковые опорные поверхности, взаимодействующие с боковыми опорными поверхностями на выступах режущей пластины (см. /1/).
Известен сборный режущий инструмент, содержащий корпус с по меньшей мере одним гнездом, в котором установлена и закреплена режущая пластина, взаимодействующая с опорной пластиной и имеющая переднюю поверхность, на которой расположена режущая кромка, и рабочую вершину или рабочий участок режущей кромки, нижнюю и боковые опорные поверхности и ограниченная симметричной формы верхней и нижней поверхностями, через которые проходит упомянутая ось симметрии, и боковой поверхностью, расположенной между верхней и нижней поверхностями, при этом на нижней поверхности расположены выступы, равномерно размещенные вокруг оси симметрии, передняя поверхность расположена на верхней поверхности, а боковые опорные поверхности – на боковой поверхности выступов, при этом гнездо выходит на главную заднюю поверхность корпуса и ограничено нижней опорной стенкой и боковыми опорными стенками (см. /1/).
Известная режущая пластина /1/, так же, как предложенная, предназначена для установки в гнезде сборного режущего инструмента по передней поверхности, при этом боковые опорные поверхности пластины, расположенные на ее выступах, удалены от рабочей вершины режущей кромки, что снижает прочность режущей пластины и оснащенного ею сборного режущего инструмента.
Задачей изобретения является повышение прочности режущей пластины и сборного режущего инструмента за счет приближения опорных поверхностей к рабочей вершине режущей пластины или ее рабочему участку.
Поставленная задача решается тем, что в режущей пластине, имеющей ось симметрии, переднюю поверхность, на которой расположена режущая кромка, нижнюю и боковые опорные поверхности и ограниченная симметричной формы верхней и нижней поверхностями, через которые проходит упомянутая ось симметрии, и боковой поверхностью, расположенной между верхней и нижней поверхностями, при этом на нижней поверхности расположены выступы, равномерно размещенные вокруг оси симметрии, передняя поверхность расположена на верхней поверхности, а боковые опорные поверхности – на боковой поверхности выступов, согласно изобретению нижняя опорная поверхность выполнена состоящей из участков, расположенных на упомянутых выступах параллельно верхней поверхности, а боковые опорные поверхности выполнены в виде наружных усеченных конических поверхностей с большими основаниями со стороны нижней поверхности.
Поставленная задача решается также тем, что верхняя и нижняя поверхности режущей пластины выполнены в виде многоугольников, боковая поверхность выполнена в виде боковой поверхности прямой призмы или усеченной пирамиды, а режущая кромка включает кромки, образованные пересечением задних поверхностей, расположенных на боковой поверхности, с передней поверхностью. К таким режущим пластинам относятся пластины треугольной, квадратной, пятиугольной и шестиугольной формы и пластины в форме ромба.
Поставленная задача решается также тем, что верхняя и нижняя поверхности выполнены в виде круга, боковая поверхность выполнена в виде боковой поверхности цилиндра или усеченного конуса, а режущая кромка образована пересечением задней поверхности, расположенной на боковой поверхности, с передней поверхностью.
В отношении сборного режущего инструмента поставленная задача решается тем, что в сборном режущем инструменте, содержащем корпус с по меньшей мере одним гнездом, в котором установлена и закреплена режущая пластина, имеющая ось симметрии, переднюю поверхность, на которой расположена режущая кромка, и рабочую вершину или рабочий участок режущей кромки, нижнюю и боковые опорные поверхности и ограниченная симметричной формы верхней и нижней поверхностями, через которые проходит упомянутая ось симметрии, и боковой поверхностью, расположенной между верхней и нижней поверхностями, при этом на нижней поверхности расположены выступы, равномерно размещенные вокруг оси симметрии, передняя поверхность расположена на верхней поверхности, а боковые опорные поверхности – на боковой поверхности выступов, при этом гнездо ограничено нижней опорной стенкой и боковыми опорными стенками, согласно изобретению нижняя опорная поверхность режущей пластины выполнена состоящей из участков, расположенных на упомянутых выступах параллельно ее верхней поверхности, а боковые опорные поверхности выполнены в виде наружных усеченных конических поверхностей с большими основаниями со стороны нижней поверхности, при этом нижняя опорная стенка выполнена в виде участков, соответствующих участкам нижней опорной поверхности на выступах режущей пластины, к которым примыкают боковые опорные стенки, причем по меньшей мере одна боковая опорная стенка, расположенная под рабочей вершиной режущей пластины или рабочим участком ее режущей кромки, выполнена в виде внутренней усеченной конической поверхности с меньшим основанием со стороны соответствующего ей участка нижней опорной стенки.
В отношении сборного режущего инструмента поставленная задача решается также тем, что в сборном режущем инструменте, содержащем корпус с по меньшей мере одним гнездом, в котором на опорной пластине установлена и закреплена режущая пластина, имеющая ось симметрии, переднюю поверхность, на которой расположена режущая кромка, и рабочую вершину или рабочий участок режущей кромки, нижнюю и боковые опорные поверхности и ограниченная симметричной формы верхней и нижней поверхностями, через которые проходит упомянутая ось симметрии, и боковой поверхностью, расположенной между верхней и нижней поверхностями, при этом на нижней поверхности расположены выступы, равномерно размещенные вокруг оси симметрии, передняя поверхность расположена на верхней поверхности, а боковые опорные поверхности – на боковой поверхности выступов, при этом гнездо ограничено нижней опорной стенкой и боковыми опорными стенками, опорная пластина имеет верхнюю и нижнюю опорные поверхности, взаимодействующие соответственно с нижней опорной поверхностью режущей пластины и с нижней опорной стенкой гнезда, боковые опорные поверхности, взаимодействующие с боковыми опорными стенками гнезда, и боковые опорные поверхности, взаимодействующие с боковыми опорными поверхностями на выступах режущей пластины, согласно изобретению нижняя опорная поверхность режущей пластины выполнена состоящей из участков, расположенных на упомянутых выступах параллельно ее верхней поверхности, а боковые опорные поверхности выполнены в виде наружных усеченных конических поверхностей с большими основаниями со стороны нижней поверхности, верхняя опорная поверхность опорной пластины выполнена в виде участков, соответствующих участкам нижней опорной поверхности на выступах режущей пластины, к которым примыкают боковые опорные поверхности опорной пластины, выполненные в виде внутренней усеченной конической поверхности с меньшим основанием со стороны соответствующего участка верхней опорной поверхности опорной пластины.
В отношении сборного режущего инструмента поставленная задача решается также тем, что в сборном режущем инструменте, содержащем корпус с по меньшей мере одним гнездом, в котором установлена и закреплена режущая пластина, взаимодействующая с опорной пластиной и имеющая переднюю поверхность, на которой расположена режущая кромка, рабочую вершину или рабочий участок режущей кромки, нижнюю и боковые опорные поверхности и ограниченная симметричной формы верхней и нижней поверхностями, через которые проходит упомянутая ось симметрии, и боковой поверхностью, расположенной между верхней и нижней поверхностями, при этом на нижней поверхности расположены выступы, равномерно размещенные вокруг оси симметрии, передняя поверхность расположена на верхней поверхности, а боковые опорные поверхности – на боковой поверхности выступов, при этом гнездо выходит на главную заднюю поверхность корпуса и ограничено нижней опорной стенкой и боковыми опорными стенками, согласно изобретению нижняя опорная поверхность режущей пластины выполнена состоящей из участков, расположенных на упомянутых выступах параллельно верхней поверхности, а боковые опорные поверхности выполнены в виде наружных усеченных конических поверхностей с большими основаниями со стороны нижней поверхности, при этом опорная пластина расположена вдоль главной задней поверхности корпуса и имеет верхнюю опорную поверхность в виде участка, предназначенного для взаимодействия с участками нижней опорной поверхности режущей пластины, расположенными на ее выступах под рабочей вершиной и смежной с ней вершиной или рабочим участком режущей кромки режущей пластины, при этом нижняя опорная стенка гнезда выполнена в виде участков, соответствующих участкам нижней опорной поверхности на остальных выступах режущей пластины, при этом по меньшей мере одна боковая опорная стенка гнезда, взаимодействующая с боковой опорной поверхностью выступа режущей пластины, расположенного под ее рабочей вершиной или рабочим участком режущей кромки, выполнена в виде внутренней усеченной конической поверхности с меньшим основанием со стороны опорной пластины.
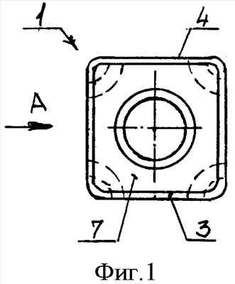
Предложенное изобретение представлено на фиг.1-13, на которых:
на фиг.1 показан вид сверху на режущую пластину;
на фиг.2 показан вид А на фиг.1 с частичным вырывом;
на фиг.3 показан вид Б на фиг.2;
на фиг.4 показан вид сверху на гнездо сборного режущего инструмента (режущая пластина удалена);
на фиг.5 показано сечение В-В на фиг.4;
на фиг.6 показан вид сверху на гнездо сборного режущего инструмента (режущая пластина удалена);
на фиг.7 показано сечение Г-Г на фиг.6;
на фиг.8 показан вид спереди на режущую пластину, закрепленную в гнезде сборного режущего инструмента;
на фиг.9 показано сечение Д-Д на фиг.8;
на фиг.10 показан вид Е на фиг.9 (режущая пластина удалена);
на фиг.11 показан вид сверху на режущую пластину круглой формы;
на фиг.12 показан вид Ж на фиг.11;
на фиг.13 показан вид З на фиг.12.
Режущая пластина 1 имеет ось симметрии 2, переднюю поверхность 3, на которой расположена режущая кромка 4, нижнюю 5 и боковые 6 опорные поверхности и ограничена симметричной формы верхней 7 и нижней 8 поверхностями, через которые проходит упомянутая ось симметрии 2, и боковой поверхностью 9, расположенной между верхней и нижней поверхностями.
На нижней поверхности 8 расположены выступы 10, равномерно размещенные вокруг оси симметрии 2, передняя поверхность 3 расположена на верхней поверхности 7, а боковые опорные поверхности 6 – на боковой поверхности выступов 10. Опорная поверхность 5 выполнена состоящей из участков, расположенных на упомянутых выступах 10 параллельно верхней поверхности 7, а боковые опорные поверхности 6 выполнены в виде наружных усеченных конических поверхностей с большими основаниями со стороны нижней поверхности 8.
Верхняя 7 и нижняя 8 поверхности могут быть выполнены в виде многоугольников (на фиг.1-3 режущая пластина выполнена квадратной формы). Боковая поверхность в этом случае может быть выполнена в виде боковой поверхности прямой призмы (для режущих пластин без задних углов) или усеченной пирамиды (для режущих пластин с задними углами), а режущая кромка 4 включает кромки, образованные пересечением задних поверхностей, расположенных на боковой поверхности 9, с передней поверхностью 3 (в том числе прямолинейные кромки на сторонах многоугольника и радиусные кромки при его вершинах).
Верхняя 7 и нижняя 8 поверхности могут быть выполнены в виде круга (см. фиг.11-13). Боковая поверхность в этом случае может быть выполнена в виде боковой поверхности цилиндра (для режущих пластин без задних углов) или усеченного конуса (для режущих пластин с задними углами), а режущая громка 4 образована пересечением задней поверхности, расположенной на боковой поверхности 9, с передней поверхностью 3.
Режущая пластина может быть выполнена с отверстием 11 (см. фиг.1-3) для закрепления ее в гнезде сборного режущего инструмента, например, с помощью винта 12, или без отверстия (см. фиг.11-13), в этом случае она может быть закреплена в гнезде с помощью, например, клина или прихвата.
На фиг.4 и 5 представлен вариант сборного режущего инструмента, содержащего корпус 13 с по меньшей мере одним гнездом, в котором установлена и закреплена описанная выше режущая пластина 1. При этом гнездо ограничено нижней опорной стенкой 14 и боковыми опорными стенками 15. Нижняя опорная стенка 14 выполнена в виде участков, соответствующих участкам нижней опорной поверхности 5 на выступах режущей пластины 1, к которым примыкают боковые опорные стенки 15, причем по меньшей мере одна боковая опорная стенка 16, расположенная под рабочей вершиной режущей пластины или рабочим участком ее режущей кромки, выполнена в виде внутренней усеченной конической Поверхности с меньшим основанием со стороны соответствующего ей участка нижней опорной стенки 14.
Режущая пластина 1 устанавливается своими выступами 10 на участки нижней опорной стенки 14 и закрепляется винтом 12, проходящим через ее отверстие 11. Коническая головка винта 12 взаимодействует с коническим участком отверстия 11. При этом центр резьбового отверстия корпуса 13 под винт 12 смещен по отношению к геометрическому центру гнезда под углом (см. фиг.4) для поджима режущей пластины к боковой опорной стенке 16 гнезда под рабочей вершиной режущей пластины. В случае выполнения режущей пластины круглой формы она поджимается к боковой опорной стенке 16 гнезда под рабочим участком режущей кромки 4 (см. фиг.11) режущей пластины 1.
На фиг.6-10 представлены варианты сборного режущего инструмента с опорной пластиной. На этих чертежах элементы, сходные с фиг.1-5 и 11-13, обозначены теми же позициями.
На фиг.6 и 7 представлен вариант сборного режущего инструмента, содержащего корпус 13 с по меньшей мере одним гнездом, в котором на опорной пластине 17 установлена и закреплена описанная выше режущая пластина 1. При этом гнездо ограничено нижней опорной стенкой 14 и боковыми опорными стенками 15. Опорная пластина 17 имеет верхнюю 18 и нижнюю 19 опорные поверхности, взаимодействующие соответственно с нижней опорной поверхностью 5 режущей пластины 1 и с нижней опорной стенкой 14 гнезда, боковые опорные поверхности 20, взаимодействующие с боковыми опорными стенками 15 гнезда, и боковые опорные поверхности 21, взаимодействующие с боковыми опорными поверхностями 6 на выступах 10 режущей пластины 1.
Верхняя опорная поверхность 18 опорной пластины 17 выполнена в виде участков, соответствующих участкам нижней опорной поверхности 5 на выступах 10 режущей пластины 1, к которым примыкают боковые опорные поверхности 21 опорной пластины 17, выполненные в виде внутренней усеченной конической поверхности с меньшим основанием со стороны соответствующего участка верхней опорной поверхности 18 опорной пластины.
Режущая пластина 1 устанавливается своими выступами 10 на участки верхней опорной поверхности 18 опорной пластины и закрепляется винтом 12, проходящим через ее отверстие 11 и отверстие опорной пластины. Коническая головка винта 12 взаимодействует с коническим участком отверстия 11. При этом центр резьбового отверстия корпуса 13 под винт 12 смещен по отношению к геометрическому центру гнезда под углом (см. фиг.6) для поджима режущей пластины к боковой опорной поверхности 22 гнезда под рабочей вершиной режущей пластины 1. В случае выполнения режущей пластины круглой формы она поджимается к боковой опорной поверхности 22 опорной пластины под рабочим участком режущей кромки 4 (см. фиг.11) режущей пластины 1.
На фиг.8-10 представлен вариант сборного режущего инструмента, содержащего корпус 13 с по меньшей мере одним гнездом, в котором установлена и закреплена описанная выше режущая пластина 1, взаимодействующая с опорной пластиной 17. При этом гнездо выходит на главную заднюю поверхность 23 корпуса 13 и ограничено нижней опорной стенкой 14 и боковыми опорными стенками 15. Опорная пластина 17 расположена вдоль главной задней поверхности 23 корпуса 13 и имеет верхнюю опорную поверхность 24 в виде участков, предназначенных для взаимодействия с участками нижней опорной поверхности режущей пластины 1, расположенными на ее выступах 10 под рабочей вершиной и смежной с ней вершиной или рабочим участком режущей кромки режущей пластины. Нижняя опорная стенка 14 гнезда выполнена в виде участков, соответствующих участкам нижней опорной поверхности на остальных выступах режущей пластины. При этом по меньшей мере одна боковая опорная стенка 25 гнезда, взаимодействующая с боковой опорной поверхностью выступа режущей пластины, расположенного под ее рабочей вершиной или рабочим участком режущей кромки, выполнена в виде внутренней усеченной конической поверхности с меньшим основанием со стороны опорной пластины 17.
Опорная пластина 17 закрепляется на корпусе 13 винтом 26. Режущая пластина 1 устанавливается своими выступами 10 на участки верхней опорной поверхности 24 опорной пластины и участки нижней опорной стенки 14 и закрепляется винтом 12, проходящим через ее отверстие 11. Коническая головка винта 12 взаимодействует с коническим участком отверстия 11. При этом центр резьбового отверстия корпуса 13 под винт 12 смещен по отношению к геометрическому центру гнезда под углом (см. фиг.10) для поджима режущей пластины к боковой опорной поверхности 25 гнезда под рабочей вершиной режущей пластины 1. В случае выполнения режущей пластины круглой формы она поджимается к боковой опорной поверхности 25 гнезда под рабочим участком режущей кромки 4 (см. фиг.11) режущей пластины 1.
Формула изобретения
1. Режущая пластина, имеющая ось симметрии, переднюю поверхность, на которой расположена режущая кромка, нижнюю и боковые опорные поверхности и ограниченная симметричной формы верхней и нижней поверхностями, через которые проходит упомянутая ось симметрии, и боковой поверхностью, расположенной между верхней и нижней поверхностями, при этом на нижней поверхности расположены выступы, равномерно размещенные вокруг оси симметрии, передняя поверхность расположена на верхней поверхности, а боковые опорные поверхности – на боковой поверхности выступов, отличающаяся тем, что нижняя опорная поверхность выполнена состоящей из участков, расположенных на упомянутых выступах параллельно верхней поверхности, а боковые опорные поверхности выполнены в виде наружных усеченных конических поверхностей с большими основаниями со стороны нижней поверхности.
2. Режущая пластина по п.1, отличающаяся тем, что верхняя и нижняя поверхности выполнены в виде многоугольников, боковая поверхность выполнена в виде боковой поверхности прямой призмы или усеченной пирамиды, а режущая кромка включает кромки, образованные пересечением задних поверхностей, расположенных на боковой поверхности, с передней поверхностью.
3. Режущая пластина по п.1, отличающаяся тем, что верхняя и нижняя поверхности выполнены в виде круга, боковая поверхность выполнена в виде боковой поверхности цилиндра или усеченного конуса, а режущая кромка образована пересечением задней поверхности, расположенной на боковой поверхности, с передней поверхностью.
4. Сборный режущий инструмент, содержащий корпус с по меньшей мере одним гнездом, в котором установлена и закреплена режущая пластина, имеющая ось симметрии, переднюю поверхность, на которой расположена режущая кромка, и рабочую вершину или рабочий участок режущей кромки, нижнюю и боковые опорные поверхности и ограниченная симметричной формы верхней и нижней поверхностями, через которые проходит упомянутая ось симметрии, и боковой поверхностью, расположенной между верхней и нижней поверхностями, при этом на нижней поверхности расположены выступы, равномерно размещенные вокруг оси симметрии, передняя поверхность расположена на верхней поверхности, а боковые опорные поверхности – на боковой поверхности выступов, при этом гнездо ограничено нижней опорной стенкой и боковыми опорными стенками, отличающийся тем, что нижняя опорная поверхность режущей пластины выполнена состоящей из участков, расположенных на упомянутых выступах параллельно ее верхней поверхности, а боковые опорные поверхности выполнены в виде наружных усеченных конических поверхностей с большими основаниями со стороны нижней поверхности, при этом нижняя опорная стенка выполнена в виде участков, соответствующих участкам нижней опорной поверхности на выступах режущей пластины, к которым примыкают боковые опорные стенки, причем по меньшей мере одна боковая опорная стенка, расположенная под рабочей вершиной режущей пластины или рабочим участком ее режущей кромки, выполнена в виде внутренней усеченной конической поверхности с меньшим основанием со стороны соответствующего ей участка нижней опорной стенки.
5. Сборный режущий инструмент, содержащий корпус с по меньшей мере одним гнездом, в котором на опорной пластине установлена и закреплена режущая пластина, имеющая ось симметрии, переднюю поверхность, на которой расположена режущая кромка, и рабочую вершину или рабочий участок режущей кромки, нижнюю и боковые опорные поверхности и ограниченная симметричной формы верхней и нижней поверхностями, через которые проходит упомянутая ось симметрии, и боковой поверхностью, расположенной между верхней и нижней поверхностями, при этом на нижней поверхности расположены выступы, равномерно размещенные вокруг оси симметрии, передняя поверхность расположена на верхней поверхности, а боковые опорные поверхности – на боковой поверхности выступов, при этом гнездо ограничено нижней опорной стенкой и боковыми опорными стенками, опорная пластина имеет верхнюю и нижнюю опорные поверхности, взаимодействующие соответственно с нижней опорной поверхностью режущей пластины и с нижней опорной стенкой гнезда, боковые опорные поверхности, взаимодействующие с боковыми опорными стенками гнезда, и боковые опорные поверхности, взаимодействующие с боковыми опорными поверхностями на выступах режущей пластины, отличающийся тем, что нижняя опорная поверхность режущей пластины выполнена состоящей из участков, расположенных на упомянутых выступах параллельно ее верхней поверхности, а боковые опорные поверхности выполнены в виде наружных усеченных конических поверхностей с большими основаниями со стороны нижней поверхности, верхняя опорная поверхность опорной пластины выполнена в виде участков, соответствующих участкам нижней опорной поверхности на выступах режущей пластины, к которым примыкают боковые опорные поверхности опорной пластины, выполненные в виде внутренней усеченной конической поверхности с меньшим основанием со стороны соответствующего участка верхней опорной поверхности опорной пластины.
6. Сборный режущий инструмент, содержащий корпус с по меньшей мере одним гнездом, в котором установлена и закреплена режущая пластина, взаимодействующая с опорной пластиной и имеющая переднюю поверхность, на которой расположена режущая кромка, и рабочую вершину или рабочий участок режущей кромки, нижнюю и боковые опорные поверхности и ограниченная симметричной формы верхней и нижней поверхностями, через которые проходит упомянутая ось симметрии, и боковой поверхностью, расположенной между верхней и нижней поверхностями, при этом на нижней поверхности расположены выступы, равномерно размещенные вокруг оси симметрии, передняя поверхность расположена на верхней поверхности, а боковые опорные поверхности – на боковой поверхности выступов, при этом гнездо выходит на главную заднюю поверхность корпуса и ограничено нижней опорной стенкой и боковыми опорными стенками, отличающийся тем, что нижняя опорная поверхность режущей пластины выполнена состоящей из участков, расположенных на упомянутых выступах параллельно верхней поверхности, а боковые опорные поверхности выполнены в виде наружных усеченных конических поверхностей с большими основаниями со стороны нижней поверхности, при этом опорная пластина расположена вдоль главной задней поверхности корпуса и имеет верхнюю опорную поверхность в виде участков, предназначенных для взаимодействия с участками нижней опорной поверхности режущей пластины, расположенными на ее выступах под рабочей вершиной и смежной с ней вершиной или рабочим участком режущей кромки режущей пластины, при этом нижняя опорная стенка гнезда выполнена в виде участков, соответствующих участкам нижней опорной поверхности на остальных выступах режущей пластины, при этом по меньшей мере одна боковая опорная стенка гнезда, взаимодействующая с боковой опорной поверхностью выступа режущей пластины, расположенного под ее рабочей вершиной или рабочим участком режущей кромки, выполнена в виде внутренней усеченной конической поверхности с меньшим основанием со стороны опорной пластины.
РИСУНКИ
|
|