|
|
(21), (22) Заявка: 2007115030/12, 20.04.2007
(24) Дата начала отсчета срока действия патента:
20.04.2007
(43) Дата публикации заявки: 27.10.2008
(46) Опубликовано: 20.03.2009
(56) Список документов, цитированных в отчете о поиске:
RU 1051755 С1, 10.01.1996. US 5604522 А, 18.02.1997. US 2004/0045547 A1, 11.03.2004. US 5435282 А, 25.07.1995.
Адрес для переписки:
344015, г.Ростов-на-Дону, ул. Еременко, 60/6, кв.18, В.К. Яценко
|
(72) Автор(ы):
Яценко Владимир Константинович (RU), Яценко Виктория Владимировна (RU)
(73) Патентообладатель(и):
Общество с ограниченной ответственностью “Производственно-техническое и технологическое предприятие “Титан-А” (ООО “ПТ и ТП “Титан-А”) (RU), Яценко Виктория Владимировна (RU)
|
(54) УЛЬТРАЗВУКОВОЙ РАСПЫЛИТЕЛЬ ЖИДКИХ ПРЕПАРАТОВ РАЗЛИЧНОЙ ВЯЗКОСТИ
(57) Реферат:
Ультразвуковой распылитель предназначен для распыления вязких препаратов, например, на основе водных, водно-спиртовых, водно-глицериновых и масляных растворов, создания эмульсий перечисленных не смешиваемых жидкостей в устройстве, стойком к обработке стерилизующими растворами. В распылителе вибратор выполнен в форме диска из многослойного металл-пьезокерамика-полимер композиционного материала. Пластина имеет форму плоского кольца, охватывающего стержень (1) и контактирующего своей плоскостью с вибратором через регулируемый зазор. По внутреннему контуру пластина сопряжена с одним торцом втулки, также охватывающей стержень. Между втулкой, внутренним контуром пластины и стержнем выполнен гарантированный кольцевой зазор (5). Он выполняет функцию канала для подачи препаратов в зазор между вибратором и пластиной. Второй торец втулки соединен с узлом подачи одного или нескольких препаратов. Техническим результатом изобретения является повышение экономичности процесса распыления препаратов по потребляемой энергии и массогабаритным характеристикам, а также удобство применения распылителя и стойкость его деталей к обработке стерилизующими растворами. 6 ил.
Изобретение относится к технике распыления жидкостей, создания эмульсий препаратов, включая лекарственные и косметические. Изобретение может использоваться при создании аэрозолей лекарственных препаратов, эмульсий различного назначения в областях медицины, косметологии, лакокрасочной техники, где используются вещества, обладающие более высокой вязкостью, чем вода и водно-спиртовые растворы.
Известно устройство для распыления жидкостей фирмы Vibra Cell (USA), содержащее ультразвуковой вибратор, концентратор и диск, с поверхности которого производится распыление жидкости (Ultrasonic atomization: Effect of liquid phase properties, B. Avvaru and etc., Ultrasonic, 44 (2006), 146-158). Оно обеспечивает распыление воды, водно-глицериновых растворов различной взаимной концентрации и вязкости. Распылитель потребляет мощность от 50 до 130 Вт, эта энергия уходит, в том числе и на нагревание препарата, что не всегда допускается в медицине. Устройство имеет большие габариты, его эксплуатация ведет к неоправданным энергозатратам и экономически не выгодна.
Известно устройство для создания потока капель в печатающей головке струйного принтера (Патент US №5604522, МПК B41J 2/45, 347/70,29/890.1, опубл. 18.02.1997), содержащее вибратор в виде пьезокерамического стержня, к торцу которого присоединена многослойная полимерная пластина. Ее слои имеют различную жесткость. Один из слоев является стенкой тонкого резервуара с распыляемой жидкостью. Противоположная стенка резервуара выполнена из полимерного материала и имеет одно отверстие, через которое поток капель выбрасывается при работе устройства. Это устройство обеспечивает распыление жидкости (чернил), обладающей(их) вязкостью мало отличающей(их)ся от воды и водно-спиртовых растворов. Оно обладает малой производительностью из-за наличия только одного отверстия. Распыляемая смесь (чернила) изготавливают заранее и представляют собой однородный, устойчивый к расслоению раствор.
Известно устройство для распыления жидкостей, преимущественно лекарственных препаратов (Патент US №5435282, МПК В05В 17/06, 128/200, 128/203, 239/338 опубл. 25.07.1995), в котором вибратор в форме металлического диска имеет центральное круглое отверстие, закрытое плоской металлической сеткой, поверхность которой имеет зазор относительно криволинейной поверхности узла подачи жидкого препарата. Распыляемый препарат удерживается в зазоре и на поверхности сетки капиллярными силами. К поверхности вибратора присоединен плоский пьезокерамический элемент, электрически управляемый генератором, создающий ультразвуковые колебания вибратора, сетчатой пластины и жидкости в зазоре и на поверхности пластины. Описанная конструкция не обеспечивает необходимой концентрации ультразвуковой энергии для распыления вязких препаратов. Это связано с тем, что детали узла подачи жидкости не участвуют в процессе колебаний, вошедшая в них энергия ультразвуковых колебаний затухает. Зона распыления препарата на поверхности сетчатой пластины ограничивается областью минимального зазора между сетчатой пластиной и криволинейной поверхностью узла подачи препарата.
Наиболее близким к заявляемому техническому решению (прототипом) является ультразвуковой распылитель и ультразвуковой ингалятор (Патент US №6901926, МПК А61М 11/00, 128/200.14, 128/200.16, опубл. 07.06.2005). Он содержит стержень, канал для подачи препарата, ультразвуковой вибратор и плоскую пластину с отверстиями – сетку. Канал выполнен в виде сквозного осевого сверления, выходящего на верхний и нижний торцы стержня. Вибратор расположен в средней части стержня, выполнен из двух пьезокерамических колец, соединенных со стержнем через две металлические цилиндрические насадки на стержень. Сетка сопряжена своей плоскостью с верхним торцом стержня. Концентрация ультразвуковой энергии у торцов стержня достигается путем создания оптимального отношения площадей поперечного сечения стержня и вибратора.
Пластина с отверстиями выполняется достаточно тонкой, при колебаниях стержня следует за торцом, чему способствует упругий элемент, введенный в конструкцию распылителя. Из-за этого движение жидкости на торце определяется его амплитудой колебаний. Пластина создает капиллярные силы достаточной величины, обеспечивающие устойчивость процесса распыления жидкости. Пластина не вызывает дополнительной концентрации ультразвуковой энергии в объеме препарата – жидкости (покрывает слоем пластину), достаточной для распыления вязких препаратов, отличных по вязкости от воды и водно-спиртовых растворов. Одновременная подача двух разных, не растворимых друг в друге препаратов, приведет к тому, что каждый препарат займет свои ячейки в сетке, и смешивание частиц компонент и создание эмульсии не произойдет.
Технический результат изобретения состоит в решении задачи распыления препаратов на основе водных, водно-спиртовых, водно-глицериновых, масляных растворов с физико-химическими характеристиками, близкими к терпентинному, облепиховому, оливковому маслам, создания эмульсий перечисленных не смешиваемых жидкостей в устройстве, более экономичном, чем известные, по показателям потребляемой энергии и массогабаритным характеристикам. Дополнительным техническим результатом является удобство применения распылителя и стойкость его деталей к обработке стерилизующими растворами, например, 5% раствором перекиси водорода или 4° раствора нейтрального аналита.
Технический результат достигается тем, что в ультразвуковом распылителе, содержащем стержень, канал для подачи препарата, ультразвуковой вибратор и пластину, вибратор выполнен в форме диска из многослойного металл-пьезокерамика-полимер композиционного материала, пластина имеет форму плоского кольца, охватывающего стержень и контактирующего своей плоскостью с вибратором через зазор, по внутреннему контуру пластина сопряжена с одним торцом втулки, также охватывающей стержень, между втулкой, внутренним контуром пластины и стержнем выполнен гарантированный кольцевой зазор, который выполняет функцию канала для подачи препаратов в зазор между вибратором и пластиной, второй торец втулки соединен с узлом подачи одного или нескольких препаратов.
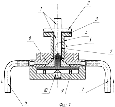
Сущность изобретения поясняется чертежами. На фиг.1 приводится чертеж устройства, на фиг.2 изображен вид I, фиг.1, в большем масштабе. На фиг.3 показана структура многослойного композиционного материала, составляющего вибратор. Фиг.4 и 5 поясняют работу устройства, реализацию назначения и достижение технического результата. На фиг.4 приведены эпюры осевой (в вертикальном направлении) деформации рабочих, вибрирующих элементов конструкции – вибратора 2 и кольца 3 в момент времени, когда противофазная деформация достигает максимума. На фиг.5 приведены линии равных скоростей частиц жидкости в зазоре между вибратором и пластиной в момент, соответствующий фазе колебаний, приведенной на фиг.4. На фиг.6 в виде графика приводятся экспериментальные данные по распылению препаратов при 20°С, минимальной вязкости соответствует вязкость воды (10-3 Па·с), максимальной вязкости (1,45 Па·с) соответствует вязкость чистого глицерина при 20°С.
Ультразвуковой распылитель состоит из составного стержня 1, фиг.1, с которым соединен дисковый вибратор 2. Пластина 3 и втулка 4 охватывают стержень 1 с гарантированным зазором 5. Пластина 3 и втулка 4 выполнены в виде одной монолитной детали. Внутренний диаметр втулки 4 и пластины 3 выполнен большим, чем диаметр стержня 1, фиг.2. Второй (нижний по чертежу) торец втулки соединен с узлом подачи жидкостей 6, в который по трубкам 7, 8 подаются жидкие препараты. Детали 1-4 могут изготавливаться из материала, стойкого к стерилизующим растворам, например из полиамида (полиамид – ПА6, Ertalon 6PLA) Зазор между вибратором 2 и пластиной 3 регулируется путем перемещения упругой пластины 9 винтом 10. Вибратор 2 изготавливается из многослойного металл-пьезокерамика-полимер композиционного материала, структура которого показана на фиг.3. Он состоит из четырех слоев. Два слоя 11 выполнены из полимерного материала, стойкого к стерилизующим растворам, например полиамида (полиамид – ПА6, Ertalon 6PLA), слой 12 выполнен из металла, слой 13 выполнен из пьезокерамики. Такое исполнение слоистого композита не является единственным. Так, пьезоактивных слоев 13 может быть больше одного. Также слоев металл-полимер может быть несколько. Важным обстоятельством является наличие хотя бы одного керамического, металлического и полимерного слоев.
Переменный электрический ток рабочей частоты поступает к электродированной поверхности пьезокерамического слоя по электрическим проводникам 14 и 15. В вариантах конструкции распылителя электрические проводники могут быть проложены в стержне 1 не с двух сторон, как показано на фиг.3, а с одной стороны, для чего в керамическом слое 13 может быть выполнено отверстие. Проводники могут быть проложены и иным известным технологическим приемом.
Работа устройства осуществляется следующим образом. По трубкам 7 и 8 через узел подачи препаратов 6 жидкости поступают в кольцевой зазор 5 и зазор между вибратором 2 и пластиной 3. Переменный электрический ток рабочей частоты от источника (на чертеже не показан) поступает через электрические проводники 14 и 15 к пьезокерамическим слоям вибратора. Упругое взаимодействие пьезокерамического и металлического слоев вызывает изгиб вибратора, а полимерные слои приводят к трансформации деформации слоев и усилению вибрационного изгиба. Колебания вибратора взаимодействуют через слой жидкости с пластиной и заставляют ее колебаться в противофазе с вибратором, как показано на фиг.4. Такая форма колебаний реализуется, по крайней мере, на двух частотах, в том случае, когда в зазорах между вибратором 2, пластиной 3, втулкой 4 и стержнем 1 присутствует жидкость.
Противофазные колебания вибратора 2 и пластины 3 (подобно колебаниям ножек камертона) приводят к тому, что их прилегающие через зазор поверхности сближаются, за счет чего осевая деформация слоя жидкости удваивается. В жидкости возникают радиальные потоки, скорости которых направлены, как показано стрелками 16 и 17 с точками максимума радиальной скорости 18 и 19, фиг.5.
На кольцевой, в плане, поверхности жидкости, прилегающей к точке 18, расположенной между вибратором 2 и кольцом 3, возникают капиллярные волны, с гребней которых происходит отрыв капель жидкости и ее распыление. В области точки 19 происходит усиленный процесс межфазного взаимодействия двух (и более) несмешивающихся жидкостей, что приводит к образованию эмульсии, устойчивой к расслоению. Поскольку амплитуда ультразвуковых колебаний жидкости почти удваивается и концентрируется в достаточно малом объеме жидкости в слое между вибратором и пластиной эффективность процесса эмульгации и распыления усиливается, чем и объясняется достижение технического результата. Путем регулирования зазора между вибратором 2 и пластиной 3 происходит настройка оптимальной его величины для распыления препаратов различной вязкости.
Распыление воды, водно-глицериновых растворов, вязких препаратов, таких, как терпентинное, оливковое масла, проводились в устройстве, выполненном по чертежу, фиг.1. Диаметр вибратора и пластины – 20 мм, толщина вибратора 1,25 мм, толщина пластины 2,5 мм, диаметр стержня 7,5 мм, зазор между втулкой и стержнем 0,2 мм. Рабочая частота менялась при изменении зазора между диском и вибратором в диапазоне от 26 до 35 кГц. Оптимальная производительность распыления воды достигалась при зазоре величиной 150 – 200 мкм. Экспериментально полученные данные по связи производительности распыления однофазной жидкости от ее вязкости приведены на фиг.6 в виде графика. Распыление жидкой эмульсии вода – терпентинное масло проводилось с производительностью, близкой к распылению воды. Проверка устойчивости эмульсии показала, что расслоение не наблюдалось, по крайней мере, в течение трех суток.
Формула изобретения
Ультразвуковой распылитель препаратов различной вязкости, содержащий стержень, канал для подачи препарата, ультразвуковой вибратор и пластину, отличающийся тем, что вибратор выполнен в форме диска из многослойного металл-пьезокерамика-полимер композиционного материала, пластина имеет форму плоского кольца, охватывающего стержень и контактирующего своей плоскостью с вибратором через регулируемый зазор, по внутреннему контуру пластина сопряжена с одним торцом втулки, также охватывающей стержень, между втулкой, внутренним контуром пластины и стержнем выполнен гарантированный кольцевой зазор, выполняющий функцию канала для подачи препаратов в зазор между вибратором и пластиной, второй торец втулки соединен с узлом подачи одного или нескольких препаратов.
РИСУНКИ
|
|