|
|
(21), (22) Заявка: 2006107858/15, 13.03.2006
(24) Дата начала отсчета срока действия патента:
13.03.2006
(43) Дата публикации заявки: 20.09.2007
(46) Опубликовано: 20.03.2009
(56) Список документов, цитированных в отчете о поиске:
RU 2244584 C1, 20.01.2005. RU 2056136 C1, 20.03.1996. GB 1048873 A, 23.11.1966. JP 8290028 A, 05.11.1996. JP 2002143617 A, 21.05.2002.
Адрес для переписки:
350051, г.Краснодар, ул.Гаражная, 156, ОАО “НПО “Промавтоматика”, зам.нач.технического отдела А.Ф.Поезжаеву
|
(72) Автор(ы):
Лихачев Алексей Васильевич (RU), Гулев Валерий Леонидович (RU), Липко Александр Николаевич (RU), Коновалов Илья Леонидович (RU), Ушенин Алексей Валентинович (RU), Дылюк Александр Георгиевич (RU), Лихачева Татьяна Алексеевна (RU)
(73) Патентообладатель(и):
ОАО “НПО “Промавтоматика” (RU)
|
(54) СЕПАРАТОР
(57) Реферат:
Изобретение предназначено для очистки газов. Сепаратор содержит вертикальный корпус, горизонтальную перегородку, входной, выходной, сливной патрубки, сепарационный пакет, состоящий из вертикальных пластин, дефлектор, имеющий входной патрубок, коаксиально размещенный во входном патрубке сепаратора с радиальным зазором 2-5 мм и проходящий через хордовую пластину, закрепленную на внутренней поверхности сепаратора под нижней поверхностью перегородки, образуя с внутренней поверхностью корпуса проходной сегментный канал в нижнюю часть сепаратора. Технический результат: повышение эффективности сепарации. 4 з.п. ф-лы, 3 ил.
Изобретение относится к устройствам очистки газа от жидкостей и твердых частиц с использованием центробежных сил, возникающих при раскручивании газового потока, и может быть использовано в газодобывающей, нефтехимической и других отраслях промышленности.
Из общетехнической литературы известны центробежные сепараторы [1], см. рис.61, стр.146.
Сепаратор содержит вертикальный цилиндрический корпус с входным, расположенным в нижней его части, патрубком, выходным и сливным, расположенными соответственно в верхнем и нижнем днищах корпуса. Корпус разделен перегородкой, в которой расположены прямоточные центробежные сепарационные элементы. Поток в сепараторе подается снизу вверх.
Недостатком таких сепараторов является то, что сепараторы имеют большие размеры и массу.
Нижнее размещение входного патрубка исключает его работу в «пробковом» режиме.
Известен сепаратор (авт.св. 1066629, В01D 45/12, 1984), содержащий вертикальный цилиндрический корпус, разделенный на камеры горизонтальными перегородками с осевыми отверстиями, внутри которых установлены сепарационные элементы, выполненные в виде криволинейных лопаток, установленных по многозаходной спирали Архимеда, работающих на скручивание и раскручивание потока, при этом выходные концы лопаток расположены наклонно к образующей поверхности усеченного конуса под острым углом к направлению вращения потока, а основания элементов, работающих на скручивание потока, снабжены сборными конусами и гидрозатворными трубками. На нижней перегородке смонтирован диффузор, на верхней – конфузор с кольцевым каплеотбойником, имеющие наклонные перфорации. Тангенциальный вводной патрубок снабжен направляющим дефлектором. В нижней части корпуса установлен патрубок для вывода отсепарированной жидкости, в верхней части – выходной (для удаления очищенного газового потока).
Недостатком известного устройства является сложность конструкции, большие габариты, применение диффузора и конфузора с кольцевым каплеотбойником ограничивает диапазон нагрузок по газовой и жидкой фазам, т.к. их увеличение приводит к частичному уносу жидкостной пленки между наклонной просечкой при транспортировке ее в выходное отверстие. Работа аппарата в «пробковом» режиме исключена, т.к. входной патрубок расположен в нижней части корпуса, газожидкостная смесь направляется снизу вверх, что в конечном счете приведет к перегрузке сливных устройств и, как следствие, захлебыванию сепаратора.
Более близким техническим решением к предлагаемому (прототип) является сепаратор (патент RU 2244584), содержащий вертикальный цилиндрический корпус, горизонтальную перегородку, входной, выходной, сливной патрубки, дефлектор, вертикальный сепарационный пакет, состоящий из вертикальных плоских изогнутых сепарационных пластин, при этом изогнутые концы пластин направлены в разные стороны касательно к наружному и внутреннему диаметрам сепарационного пакета. Осевая линия входного патрубка по горизонтали смещена относительно осевой линии корпуса аппарата на 1/2 диаметра корпуса. Дефлектор, установленный по ходу вращения газожидкостного потока, имеет максимально допустимое сечение, причем по ходу потока он сужается по горизонтали и возрастает по высоте, сохраняя при этом площадь поперечного сечения, в конце верхней суженной части дефлектора установлена дугообразная пластина, нисходящая по ходу газожидкостного потока и направленная по отношению к горизонтали под углом 15-30°. По ходу вращения газожидкостного потока с зазором к внутренней стороне корпуса установлена изогнутая пластина, которая своим нижним концом заходит под нижнюю крышку дефлектора.
Недостатки известного устройства следующие.
Сложность конструкции дефлектора.
Большая длина дефлектора почти 180° по дуге создает большие потери на трение потока и снижает тангенциальную скорость потока V , которая создает поле центробежных ускорений во вращающемся потоке и определяет эффективность разделения потока с частицами различной плотности.
Большая длина дефлектора постоянного сечения ограничивает производительность аппарата и диапазон работы. При малых расходах эффективность будет низкой.
Техническим результатом предлагаемого изобретения является повышение эффективности сепарации, увеличение производительности, расширение диапазона работы, снижение потерь давления.
Для достижения названного технического результата сепаратор содержит вертикальный цилиндрический корпус, горизонтальную перегородку, входной, выходной, сливной патрубки, дефлектор, вертикальный сепарационный пакет, состоящий из вертикальных пластин.
Заявляемый сепаратор отличается от прототипа тем, что дефлектор имеет патрубок, коаксиально входящий во входной патрубок сепаратора с радиальным зазором 2-5 мм, прикрепленный по периметру к хордовой пластине, закрепленной на внутренней поверхности корпуса сепаратора под нижней поверхностью перегородки, образуя с поверхностью корпуса проходной сегментный канал. Дефлектор выполнен в форме конфузора и имеет переменную площадь сечения по ходу движения потока и минимальную величину на выходе, причем площадь выходного сечения дефлектора по крайней мере равна 1/2 площади сечения входного патрубка. Дефлектор имеет регулируемую величину выходного сечения, для чего вертикальная пластина дефлектора выполнена поворотной относительно вертикальной оси в месте соединения с хордовой пластиной. Вертикальная поворотная пластина дефлектора подпружинена в сторону уменьшения сечения дефлектора. Хордовая пластина опущена вниз до нижнего уровня пластин сепарационного пакета.
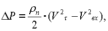
Повышение эффективности сепарации достигается тем, что дефлектор имеет патрубок, коаксиально размещенный во входном патрубке сепаратора с радиальным зазором 2-5 мм, и проходит через хордовую пластину, закрепленную на внутренней поверхности сепаратора под нижней поверхностью перегородки, образуя с внутренней поверхностью корпуса проходной сегментный канал в нижнюю часть сепаратора. Поток сепарируемой среды «несет» жидкую фазу в горизонтальном трубопроводе по внутренней поверхности трубы и соответственно входного патрубка в дисперсно-кольцевом режиме, наиболее характерном режиме для трубопроводов нефтегазопереработки. При входе в сепаратор дисперсно-пленочная, дисперсно-капельная жидкостная фаза потока попадает в зазор между патрубком дефлектора и внутренней поверхностью входного патрубка. На хордовой пластине дисперсно-пленочная, дисперсно-капельная жидкостная фаза потока тормозится и уходит вниз по хордовому каналу, т.е. обеспечивается «отсос» пограничного слоя потока, несущего основную часть жидкой фазы, внутрь сепаратора. Т.к. давление внутри сепаратора меньше давления на входе, по крайней мере, без учета потерь на трение, на величину

где n – плотность потока на входе; V – скорость потока, скорость на выходе из дефлектора; Vвх – скорость потока во входном патрубке сепаратора. Повышение эффективности сепарации и снижение потерь напора достигается тем, что дефлектор имеет минимальную длину дуги, охватываемую углом меньше 90°, и имеет переменное поперечное сечение, обеспечивая получение заданной тангенциальной составляющей скорости потока V при минимальных потерях напора на трение. Изменением выходного сечения дефлектора достигается необходимая скорость потока, обеспечивающая эффективное поле центробежных сил, величина которых пропорциональна V 2, при изменяющемся расходе потока через сепаратор. Этим достигается эффективная сепарация при различных расходах сепарируемого потока, расширяется диапазон работы. Для ситуаций «пробкового» режима движения потока, когда все сечение трубопровода заполнено жидкостью, короткий, с изменяющимся сечением дефлектор также обеспечивает минимальные потери давления на сепараторе.
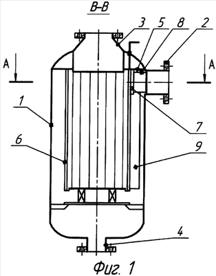
Предлагаемое изобретение изображено на чертежах, где на фиг.1 изображен сепаратор в поперечном сечении, на фиг.2 – разрез А-А на фиг.1.
Сепаратор состоит из вертикального цилиндрического корпуса 1 с входным патрубком 2, выходным патрубком 3, сливным патрубком 4, горизонтальной перегородки 5, сепарационного пакета 6, дефлектора 7 с патрубком 8, хордовой пластины 9, вертикальной пластины дефлектора 10 с механизмом привода 11 оси поворота пластины 12. Хордовая пластина 9 соединена с горизонтальной перегородкой 5 и внутренней поверхностью корпуса 1, образуя сегментный канал. На хордовой пластине 9 по периметру проходного отверстия в пластине закреплен патрубок 8 коаксиально входному патрубку 2 корпуса сепаратора с кольцевым зазором, образующим с сегментным каналом единый проходной канал. Дефлектор 7 образован горизонтальной перегородкой 5 и вертикальной пластиной 10. Вертикальная пластина 10 выполнена поворотной относительно вертикальной оси в месте соединения с хордовой пластиной. Поворот вертикальной пластины осуществляется, например, кулачковым валом 11, проходящим через верхнюю крышку (днище) корпуса сепаратора и горизонтальную перегородку (в соответствии с пунктом 3 формулы). Вертикальная пластина подпружинена в сторону уменьшения сечения дефлектора, например, торсионным валом, являющимся одновременно вертикальной осью пластины (в соответствии с пунктом 4 формулы).
Сепаратор работает следующим образом.
Газожидкостный поток подводится в сепаратор через входной патрубок 2, расположенный в верхней части корпуса 1. Газожидкостный поток в горизонтальном входном патрубке 2 при относительном объемном содержании жидкой фазы до 5% движется в дисперсно-кольцевом режиме, когда жидкая фаза распределена по всей внутренней поверхности трубы. При меньшем содержании жидкой фазы, что соответствует реальным процессам газодобычи (0,25% и меньше), жидкая фаза движется в дисперсно-пленочном или дисперсно-капельном режиме по поверхности трубы в пограничном слое. На входе в сепаратор пограничный слой с жидкой фазой попадает в зазор между патрубком 8 и внутренней поверхностью входного патрубка 2, тормозится поверхностью хордовой пластины 9 и стекает по сегментному каналу вниз сепаратора. А т.к. давление в сепараторе меньше давления в потоке на входе, по крайней мере, на величину Р, то создаются условия для отсоса пограничного слоя потока с поверхности входного патрубка 2. Таким образом, большая часть жидкой фазы отбивается на входе. Мелкодисперсная фаза жидкости, находящаяся в центральных слоях потока, разгоняется в дефлекторе 7 до V , двигаясь по внутренней поверхности корпуса сепаратора 1, где реализуется центробежное поле потока. На частицы жидкие или твердые действуют центробежные силы, равные , и отбрасывают их к внутренней поверхности сепаратора, по которой они скатываются вниз сепаратора и далее в выходной патрубок 3. По мере понижения V потока поток приобретает радиальную составляющую к центру, проходя через сепарационный пакет 6. На поверхности пластин сепарационного пакета 6 мелкодисперсная влага коалесцирует и под действием гравитационных сил стекает вниз сепаратора.
Входной патрубок 8 с хордовой пластиной и дефлектором для опытного образца сепаратора с диаметром входного патрубка сепаратора dy=100 мм представлен на фотографии (фиг.3).
На фотографии изображен патрубок 8 с дефлектором 7 и хордовой пластиной 9, который вставляется в корпус сепаратора в его входной патрубок 2 (фиг.1) и центрируется накладками под горизонтальную перегородку 5 (фиг.1).
Источники информации
1. Л.M.Мильштейн и др. Нефтегазопромысловая сепарационная техника: Справочное пособие. Москва, Недра, 1991.
Формула изобретения
1. Сепаратор, содержащий вертикальный цилиндрический корпус, горизонтальную перегородку, входной, выходной, сливной патрубки, дефлектор, вертикальный сепарационный пакет, состоящий из вертикальных пластин, отличающийся тем, что дефлектор имеет патрубок, коаксиально входящий во входной патрубок сепаратора с радиальным зазором 2-5 мм, прикрепленный по периметру к хордовой пластине, закрепленной на внутренней поверхности корпуса сепаратора под нижней поверхностью перегородки, образуя с поверхностью корпуса проходной сегментный канал.
2. Сепаратор по п.1, отличающийся тем, что дефлектор выполнен в форме конфузора и имеет переменную площадь сечения по ходу движения потока и минимальную величину на выходе, причем площадь выходного сечения дефлектора, по крайней мере, равна 1/2 площади сечения входного патрубка.
3. Сепаратор по пп.1 и 2, отличающийся тем, что дефлектор имеет регулируемую величину выходного сечения, для чего вертикальная пластина дефлектора выполнена поворотной относительно вертикальной оси в месте соединения с хордовой пластиной.
4. Сепаратор по п.3, отличающийся тем, что вертикальная поворотная пластина дефлектора подпружинена в сторону уменьшения сечения дефлектора.
5. Сепаратор по пп.1, 2, 4, отличающийся тем, что хордовая пластина опущена вниз до нижнего уровня пластин сепарационного пакета.
РИСУНКИ
|
|