|
|
(21), (22) Заявка: 2007146503/04, 18.12.2007
(24) Дата начала отсчета срока действия патента:
18.12.2007
(46) Опубликовано: 10.03.2009
(56) Список документов, цитированных в отчете о поиске:
SU 880995 А1, 15.11.1981. SU 845094 А1, 17.07.1981. SU 445879 А1, 15.11.1974. SU 91858 А1, 20.05.1950. SU 1288530 А1, 07.02.1987. JP 10232191 А, 02.09.1998. DE 3841851 А1, 24.05.1989. US 5343771 А, 06.09.1994.
Адрес для переписки:
105318, Москва, ул. Вельяминовская, 6, корп.1, кв.273, А.В. Коссу
|
(72) Автор(ы):
Ванштейн Борис Георгиевич (RU), Косс Александр Владимирович (RU), Пензин Роман Андреевич (RU), Серебрянный Владимир Александрович (RU), Черкашев Георгий Александрович (RU)
(73) Патентообладатель(и):
Косс Александр Владимирович (RU), Пензин Роман Андреевич (RU)
|
(54) СПОСОБ ОБРАБОТКИ ПРОБ ГРУНТА ДЛЯ ПОСЛЕДУЮЩЕГО ОПРЕДЕЛЕНИЯ ГАЗОНАСЫЩЕННОСТИ И УСТАНОВКА ДЛЯ ЕГО ОСУЩЕСТВЛЕНИЯ
(57) Реферат:
Группа изобретений относится к проведению геохимической разведки месторождений нефтегазового сырья применительно к определению газонасыщенности грунта и донных осадков. Способ включает подготовку пробы, ее дегазацию путем вакуумирования и сбор выделившихся газов и паров, причем подготовку пробы грунта осуществляют путем ее размыва предварительно дегазированной водой с получением водной суспензии грунта, а саму подготовку пробы и дегазацию осуществляют путем последовательного многоцикличного пропускания сначала водной суспензии грунта, а затем отфильтрованного потока раствора снизу вверх через вертикально установленный газожидкостный сверхзвуковой эжектор в режиме, обеспечивающем образование в камере смешения эжектора сверхзвукового потока газопарожидкостной смеси. Представлена также установка для реализации указанного способа. Достигается повышение эффективности подготовки проб грунта за счет равномерной и полной дегазации всех газообразных компонентов. 2 н. и 9 з.п. ф-лы, 1 табл., 1 ил.
Изобретение относится к проведению геохимической разведки перспективных месторождений, например, нефтегазового сырья и может быть использовано для определения газонасыщенности грунта и донных осадков.
При наличии в водных (морских, речных или озерных) акваториях залежей нефти и газа в придонных отложениях скапливаются углеводородные газы. Основным методом предварительной разведки залежей ископаемого углеводородного сырья является метод, основанный на сборе с морского дна проб грунта, последующем выделении из отобранных проб газовой фазы и проведением анализа, по результатам которого можно сделать заключение о практической значимости месторождений.
Точность анализа и представительность полученных результатов во многом определяется полнотой выделения из пробы содержащихся в ней углеводородных газов. Придонные осадки имеют различную структуру и пористость. По размеру частиц они разделяются на пилиты (размер частиц <0,01 мм), алевролиты (от 0,01 до 0,1 мм), пески (0,1 до 1,0 мм), гравий (до 3 см) и гальку (до 10 см). Наибольший интерес для анализа представляют собой самые мелкие фракции – пилиты и алевролиты, или их смеси – алевропилиты – из-за их высоких адсорбционных свойств по отношению к газам. Однако пилитовая (глинистая) фракция придает осадку вязкость и пластичность, препятствуя его дегазации. Поэтому перед проведением дегазации осадки приходится многократно размывать водой или специально приготовленным водным раствором. Для интенсификации данного процесса часто используют дополнительную УЗ-обработку. Для получения представительных результатов саму дегазацию, как правило, проводят многократно. Для выделения газовой фазы из пробы грунта, как правило, используют различные методы глубокого вакуумирования.
Наиболее близким к предложенному техническому решению является способ обработки пробы грунта для последующего определения параметра газонасыщенности, включающий подготовку пробы, ее дегазацию путем вакуумирования и сбор выделившихся газов и паров.
По данному способу подготовку пробы ведут путем ее подогрева, а саму дегазацию с помощью вакуумного насоса, после чего осуществляют перекачивание выделившегося газа с помощью диафрагменного насоса в газосборник. Для повышения представительности такую операцию повторяют многократно.
Установка для осуществления известного способа содержит приемную емкость, устройство для создания вакуума, распылитель, перекачивающий насос, вакуумную магистраль, напорный трубопровод, газосборник, соединенный с магистралью отвода газов к замерной емкости, сливную магистраль, запорные и измерительные устройства, соединительные трубопроводы (SU 880995, 15.11.1981).
В качестве устройства для создания вакуума в данном способе используют стандартный форвакуумный насос, а распылитель представляет собой разбрызгиватель, который устанавливают перед приемной емкостью. Для перекачивания выделившегося в процессе дегазации в приемной емкости газа в газосборник используют двухкамерный диафрагменный насос, который работает в двух режимах. Сначала в его нижней камере создают вакуум, благодаря чему выделившийся из пробы воды и находящийся в приемной камере газ поступает в верхнюю камеру насоса. Затем с помощью компрессора, для подсоединения которого в установке предусмотрена специальная магистраль, в нижней камере перекачивающего насоса создают избыточное давление, под действием которого газ из верхней камеры выдавливается перемещением эластичной диафрагмы в газосборник.
Основным недостатком известного решения является невысокая достоверность получаемых результатов. Это является следствием того, что в известном техническом решении извлечение газов из грунта, имеющего различную пористость, происходит только за счет диффузии. Из-за различных коэффициентов диффузии легких и тяжелых газов последние не успевают полностью диффундировать.
Вследствие указанных причин среднее количество извлеченных газов из стандартной 500 мл пробы осадков не превышает 12-15 мл, а общее время подготовки и дегазации пробы занимает около 1 часа.
Кроме того, известная установка состоит из многочисленных узлов и нуждается в квалифицированном обслуживании. Все это приводит к очень длительным процедурам измерения (общее время дегазации одной пробы занимает не менее 1 часа) и ограничивает возможности использовании такой установки в полевых условиях.
Задачей настоящего изобретения является повышение эффективности подготовки проб грунта за счет равномерной и полной дегазации всех газообразных компонентов, независимо от их коэффициентов диффузии.
Поставленная задача решается описываемым способом обработки пробы грунта для последующего определения параметра газонасыщенности, который включает подготовку пробы, ее дегазацию и сбор выделившихся газов и паров, при этом подготовку пробы грунта осуществляют путем размыва грунта предварительно дегазированной водой с получением водной суспензии грунта, а саму подготовку пробы и дегазацию осуществляют путем последовательного многоцикличного пропускания сначала водной суспензии грунта, а затем отфильтрованного потока раствора снизу вверх через вертикально установленный газожидкостный сверхзвуковой эжектор в режиме, обеспечивающем образование в камере смешения эжектора сверхзвукового потока газопарожидкостной смеси.
В оптимальном варианте пропускание суспензии грунта или потока раствора, а также воды для ее предварительной дегазации через эжектор ведут при давлении на входе в эжектор не менее 0,25 МПа, в цилиндрическом канале эжектора обеспечивают давление не менее чем в 10 раз ниже, чем на входе, а в диффузоре эжектора доводят давление в потоке до величины не более 0,1 МПа, осуществляя данную процедуру от 4 до 12 раз.
Кроме того, размыв грунта предварительно дегазированной водой проводят при соотношении твердой и жидкой фазы, равном 1:(10-20) с последующей фильтрацией.
Поставленная задача решается также описываемой установкой для обработки пробы грунта для последующего определения параметра газонасыщенности, содержащей приемную емкость, устройство для создания вакуума и распылитель, которыми являются соединенные между собой вертикально установленный газожидкостный сверхзвуковой эжектор, выполненный в виде герметически соединенных многосоплового блока-конфузора, цилиндрического канала и диффузора с углом полураскрытия не более 4 градусов, вместе с перекачивающим напорным насосом, вакуумную магистраль, напорный трубопровод, газосборник, соединенный с магистралью отвода газов к замерной емкости и выполненный в виде купола, размещенного над приемной емкостью, сливную магистраль, запорную арматуру, измерительные приборы и соединительные трубопроводы, а также дополнительно включающей в себя узел подготовки пробы грунта, выполненный в виде колбы, снабженной герметично установленной распределительной головкой, при этом последовательно установленные приемная емкость, насос, эжектор и газосборник образуют основной контур дегазации воды и полученного после подготовки грунта раствора, а связывающие распределительную головку узла подготовки пробы грунта с приемной емкостью, напорным трубопроводом и вакуумной магистралью трубопроводы образуют вспомогательный контур дегазации грунта.
Предпочтительно узел подготовки пробы грунта оборудован форсункой для подачи дегазированной воды и фильтровальной сеткой, его соединительные трубопроводы имеют запорную арматуру, а в напорном трубопроводе перед эжектором установлен механический фильтр грубой очистки.
Преимущественно приемная емкость и газосборник выполнены в виде одной вертикально установленной цилиндрической емкости со сферическим куполом.
В оптимальном варианте приемная емкость установки расположена так, что патрубок ввода в нее газопарожидкостной смеси расположен выше уровня диффузора эжектора, но ниже уровня основания сферического купола газосборника, при этом емкость дополнительно имеет патрубок и воронку для ввода пробы воды, находящуюся выше уровня основания сферического купола газосборника, и патрубок для ввода раствора из узла подготовки пробы грунта, находящийся в средней части емкости.
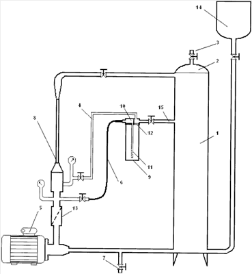
Схема установки для дегазации грунта приведена на чертеже, а ниже приведены примеры осуществления заявленного способа.
Установка содержит следующие элементы: приемная емкость 1; газосборник 2; магистраль отвода газов к замерной емкости 3; вакуумная магистраль 4; насос 5; напорный трубопровод 6; сливная магистраль 7; газожидкостный сверхзвуковой эжектор 8, выполненный в виде герметически соединенных многосоплового блока-конфузора, цилиндрического канала и диффузора с углом полураскрытия не более 4 градусов; колба 9; распределительная головка 10; форсунка 11; сетка узла подготовки пробы грунта 12; механический фильтр грубой очистки 13; трубопровод с воронкой для воды 14; патрубок ввода раствора из узла подготовки пробы грунта 15.
Кроме того, установка содержит запорную арматуру (краны) и измерительные приборы: вакуумметр и манометр.
В предлагаемом способе и устройстве реализуют эффект многократного увеличения поверхности воды в камере смешения эжектора при резком снижении давления, что приводит к эффективному выделению растворенных в воде газов. Используемый в предложенном решении эжектор реализует течение смеси воды и выделившихся из нее газов со сверхзвуковой скоростью и последующее торможение этой смеси в скачках уплотнений. С уменьшением размера капель растут силы поверхностного натяжения и условия для “выхода” растворенных в воде газов ухудшаются, несмотря на увеличение суммарной поверхности всех капель, но образующиеся при торможении сверхзвукового потока скачки уплотнений (ударные волны) обеспечивают дополнительное разрушение капель на более мелкие, имеющие субмикронные размеры. Именно в момент разрыва капель на более мелкие и осуществляется дополнительный “выход” растворенных в воде газов независимо от их коэффициентов диффузии. Одновременно в зоне скачков уплотнений происходит резкое уменьшение поверхности дегазируемой воды, что препятствует растворению выделившихся из нее газов (эффект “запаздывания растворения”). Предлагаемое устройство обеспечивает оптимальные конструктивные решения для реализации данного эффекта.
Для дегазации грунта используют эффект выравнивания концентраций газов между предварительно дегазированной водой и анализируемым грунтом. Для этого достаточно размыть образец грунта предварительно дегазированной водой и произвести качественную гомогенизацию полученного раствора. Это обеспечивает газожидкостный сверхзвуковой эжектор, включенный в установку. Из использованной для размыва грунта воды извлекают растворившиеся в ней газы, которые ранее содержались в исследуемом грунте. За счет использования этого принципиально нового подхода к дегазации грунта удается получить качественно новый результат, увеличение на один-два порядка степени дегазации грунта.
Величина минимального давления на входе в эжектор, равная 0,25 МПа, обусловлена тем, что необходимо обеспечить давление подачи воды, позволяющее получить скорость потока, на 25% превосходящую местную скорость звука в полученной смеси. В таких условиях при дегазации воды эжектор работает без натекания пассивного газа в камеру смешения. При этом отношение секундного расхода выделившихся из воды газов к секундному расходу воды практически равно 0 и при давлении смеси на уровне 0,01 МПа скорость звука равна 18 м/с.Следовательно, для обеспечения работоспособности эжектора необходимо обеспечить скорость воды в эжекторе не менее 22,4 м/с, а для получения такой скорости по уравнению Бернулли необходимо обеспечить перепад не менее 0,25 МПа ( p= w2/2).
Заявленное 10-кратное снижение давления в цилиндрическом канале эжектора обусловлено тем, что с уменьшением этого параметра резко возрастает величина местной скорости звука, а значит и необходимого давления на входе в эжектор, что ведет к неоправданным энергетическим затратам и росту массы установки из-за необходимости использования более мощного электронасоса.
Ограничение по давлению в диффузоре, равное не более 0,1 МПа, обусловлено следующим. Увеличение давления нецелесообразно из-за уменьшения при этом объема микропузырьков газов, и как следствие снижения количества собранных под куполом газосборника газов.
Эффективность описываемого способа и устройства иллюстрируется нижеследующими примерами.
Примеры 1-6. В следующих примерах иллюстрируется подготовка пробы при определении газонасыщенности грунтов, предварительно отобранных с глубины 190-210 м, полученных при проведении экспедиции в августе 2007 г.на Баренцевом море.
Проведение дегазации грунта на установке включает в себя следующие основные стадии:
– помещение пробы грунта в колбу узла размыва;
– заполнение приемной емкости установки исходной водой;
– дегазация воды в установке;
– заполнение колбы с пробой грунта дегазированной водой;
– размыв и дегазация пробы грунта;
– разгрузка установки;
– промывка установки.
Последовательность операций
В колбу 9 загружают пробу грунта, а установку заполняют водой через трубопровод с воронкой 14. При этом колбу 9 оставляют изолированной от приемной емкости 1, вакуумной магистрали 4 и напорного трубопровода 6. Затем осуществляют дегазацию воды путем ее прокачивания насосом 5 по направлению снизу вверх через вертикально установленный газожидкостный сверхзвуковой эжектор. При этом на входе в эжектор поддерживают давление 0,25 МПа, а в цилиндрическом канале эжектора обеспечивают давление не более 0,025 МПа, с получением газопарожидкостной смеси, а в диффузоре эжектора доводят давление в потоке до величины не более 0,1 МПа (атмосферное давление на выходе из установки). Такое воздействие на пробу воды осуществляют в режиме рециркуляции (4-12 раз) для того, чтобы обеспечить максимально полное выделение всех растворенных в воде газов. Выделившиеся из воды газы собираются под куполом газосборника 2, расположенного на разделительной емкости 1. После окончания обработки пробы воды (отключения насоса 5) полученные газы через кран, установленный на магистрали отвода газов к замерной емкости 3, выпускают в атмосферу. Процесс обработки пробы воды происходит очень быстро. При объеме приемной емкости установки 8 л однократная циркуляция через нее воды происходит за 20 с. Таким образом, 12-кратное пропускание воды через установку занимает всего 4 минуты. Дегазированной водой вытесняют воздух, находившийся в колбе 9, вакуумной магистрали 4, напорном трубопроводе 6 и распределительной головке 10. Для этого при открытом кране напорной магистрали 6 кратковременно (на 2-3 с) включают насос 5.
После получения дегазированной воды проводят размыв грунта. Для этого при открытом кране патрубка ввода раствора из узла подготовки пробы грунта 15 открывают кран напорного трубопровода 6, из которого вода под давлением поступает к форсунке 11 и размывает грунт, находящийся в колбе 9. Размытый грунт вместе с водой поступает в патрубок ввода раствора из узла подготовки пробы грунта 15 и от него в разделительную емкость 1. Из этой емкости смесь воды и грунта поступает в насос 5, после которого часть потока попадает в напорный трубопровод 6 и опять в колбу 9 через форсунку 11, а вторая часть потока поступает в эжектор.
Раствор, получаемый в результате размыва пробы грунта, поступает в основной контур, после чего по аналогии с дегазацией исходной воды проводят его дегазацию. Выделившиеся из раствора газы собираются под куполом газосборника 2, расположенного на приемной емкости 1. После окончания обработки пробы (отключения насоса 5) полученные газы через кран, установленный на магистрали отвода газов к замерной емкости 3, отбирают, измеряют объем и направляют на анализ. Процесс обработки водного раствора происходит также быстро, как и дегазация воды.
Результаты определения газонасыщенности грунтов известным и предлагаемым способом приведено в таблице. В таблице использованы следующие обозначения:
– номер пробы без индекса – обработка грунта по предлагаемому способу;
– номер пробы с индексом v – обработка грунта известным методом;
– номер пробы с индексом ve – обработка грунта известным методом, а потом по предлагаемому способу.
Время обработки проб для анализа по предлагаемому способу составляло в среднем до 10 минут, а по известному не менее часа.
| №по примеру |
Вес пробы, г |
Объем газа, мл |
метан СН4 |
этилен С2Н4 |
этан С2Н6 |
пропан C3H8 |
i-бутан С4Н10 |
i-бутилен С4Н8 |
n-бутан С4Н10 |
| Газонасыщенность nL/kg |
| 03 |
580 |
15 |
36055 |
4 |
29 |
23 |
1 |
4 |
10 |
| 03v |
750 |
27 |
330 |
1 |
1 |
1 |
0 |
1 |
0 |
| 05 |
510 |
14 |
46998 |
14 |
41 |
36 |
2 |
4 |
10 |
| 05v |
832 |
41 |
3222 |
6 |
3 |
4 |
2 |
3 |
5 |
| 07 |
530 |
9 |
22350 |
3 |
6 |
9 |
0 |
1 |
2 |
| 07v |
750 |
18 |
367 |
2 |
1 |
0 |
0 |
2 |
2 |
| 08 |
618 |
16 |
127890 |
10 |
42 |
42 |
5 |
11 |
17 |
| 08v |
600 |
14 |
168 |
1 |
1 |
0 |
0 |
0 |
0 |
| 08ve |
730 |
20 |
37683 |
4 |
15 |
18 |
1 |
3 |
5 |
| 16 |
480 |
10 |
13064 |
3 |
2 |
4 |
0 |
1 |
1 |
| 16v |
990 |
16 |
2227 |
1 |
0 |
0 |
0 |
1 |
0 |
| 16ve |
600 |
11 |
8726 |
4 |
2 |
4 |
0 |
1 |
1 |
| 19 |
800 |
34 |
22235 |
7 |
22 |
25 |
2 |
12 |
4 |
| 19v |
800 |
24 |
886 |
1 |
1 |
0 |
0 |
0 |
0 |
| 19ve |
500 |
80 |
8581 |
9 |
12 |
17 |
4 |
8 |
2 |
Как видно из данных таблицы, в пробах, которые обрабатывались по предлагаемому способу, показатель газонасыщенности на 1-2 порядка выше, чем по известному методу, а в пробе 08 даже на 3 порядка, что свидетельствует не только о высокой эффективности предлагаемого изобретения, но и о получении качественно нового результата.
Таким образом, использование предложенного способа и устройства обеспечивает равномерную дегазацию всех компонентов природных газов из донных осадков, что дает возможность избежать преимущественного извлечения легких газов с высокими коэффициентами диффузии по отношению к тяжелым газам с низкими коэффициентами диффузии.
Дегазация морских придонных осадков с применением заявленной установки позволяет вплотную приблизиться к измерению истинной газонасыщенности образцов и ликвидировать зависимость степени извлечения углеводородов и других газов от таких параметров, как температура, различия в коэффициентах диффузии газов в донных осадках, соленость, время хранения проб до дегазации.
Формула изобретения
1. Способ обработки пробы грунта для последующего определения параметра газонасыщенности, включающий подготовку пробы, ее дегазацию путем вакуумирования и сбор выделившихся газов и паров, отличающийся тем, что подготовку пробы грунта осуществляют путем ее размыва предварительно дегазированной водой с получением водной суспензии грунта, а саму подготовку пробы и дегазацию осуществляют путем последовательного многоцикличного пропускания сначала водной суспензии грунта, а затем отфильтрованного потока раствора снизу вверх через вертикально установленный газожидкостный сверхзвуковой эжектор, в режиме, обеспечивающем, образование в камере смешения эжектора сверхзвукового потока газопарожидкостной смеси.
2. Способ по п.1, отличающийся тем, что пропускание суспензии грунта или потока раствора через эжектор ведут при давлении на входе в эжектор не менее 0,25 МПа, в цилиндрическом канале эжектора обеспечивают давление не менее чем в 10 раз ниже, чем на входе, а в диффузоре эжектора доводят давление в потоке до величины не более 0,1 МПа.
3. Способ по пп.1 и 2, отличающийся тем, что предварительную дегазацию воды проводят при тех же режимах работы эжектора.
4. Способ по п.1, отличающийся тем, что размыв грунта предварительно дегазированной водой проводят при соотношении твердой и жидкой фазы, равном 1:(10-20) с последующей фильтрацией.
5. Способ по пп.1, 3 и 4, отличающийся тем, что воду на стадии предварительной дегазации, пробу грунта на стадии ее подготовки, а также полученный после подготовки раствор пропускают через эжектор от 4 до 12 раз.
6. Установка для обработки пробы грунта для последующего определения параметра газонасыщенности, содержащая приемную емкость, устройство для создания вакуума, распылитель, перекачивающий насос, вакуумную магистраль, напорный трубопровод, газосборник, соединенный с магистралью отвода газов к замерной емкости, сливную магистраль, запорные и измерительные устройства, соединительные трубопроводы, отличающаяся тем, что в качестве устройства для создания вакуума и распылителя используют соединенные между собой вертикально установленный газожидкостный сверхзвуковой эжектор, выполненный в виде герметически соединенных многосоплового блокаконфузора, цилиндрического канала и диффузора с углом полураскрытия не более 4 градусов и перекачивающий напорный насос, газосборник выполнен в виде купола, размещенного над приемной емкостью, сама установка дополнительно содержит узел подготовки пробы грунта, выполненный в виде колбы, снабженной герметично установленной распределительной головкой, при этом последовательно установленные приемная емкость, насос, эжектор и газосборник образуют основной контур дегазации воды и полученного после подготовки грунта раствора, а связывающие распределительную головку узла подготовки пробы грунта с приемной емкостью, напорным трубопроводом и вакуумной магистралью трубопроводы образуют вспомогательный контур дегазации грунта.
7. Установка по п.6, отличающаяся тем, что узел подготовки пробы грунта оборудован форсункой для подачи дегазированной воды и фильтровальной сеткой.
8. Установка по п.6, отличающаяся тем, что соединительные трубопроводы узла подготовки пробы грунта имеют запорную арматуру.
9. Установка по п.6, отличающаяся тем, что приемная емкость и газосборник выполнены в виде одной вертикально установленной цилиндрической емкости со сферическим куполом.
10. Установка по п.6, отличающаяся тем, что приемная емкость и газосборник представляют собой батометр с разъемами.
11. Установка по п.6, отличающаяся тем, что приемная емкость установлена так, что патрубок ввода в емкость газопарожидкостной смеси расположен выше уровня диффузора эжектора, но ниже уровня основания сферического купола газосборника, при этом упомянутая приемная емкость в нижней части оборудована патрубком и воронкой для ввода пробы воды, находящейся выше уровня основания сферического купола газосборника, а в средней части она имеет патрубок для ввода раствора из узла подготовки пробы грунта.
РИСУНКИ
|
|