|
|
(21), (22) Заявка: 2007146504/04, 18.12.2007
(24) Дата начала отсчета срока действия патента:
18.12.2007
(46) Опубликовано: 10.03.2009
(56) Список документов, цитированных в отчете о поиске:
SU 880995 А1, 15.11.1981. RU 2271999 С1, 20.03.2006. RU 2124551 С1, 10.01.1999. RU 2272067 С1, 20.03.2006. RU 2263076 С1, 27.10.2005. RU 2263075 С1, 27.10.2005.
Адрес для переписки:
105318, Москва, ул. Вельяминовская, 6, корп.1, кв.273, А.В. Коссу
|
(72) Автор(ы):
Ванштейн Борис Георгиевич (RU), Косс Александр Владимирович (RU), Пензин Роман Андреевич (RU), Серебрянный Владимир Александрович (RU), Черкашев Георгий Александрович (RU)
(73) Патентообладатель(и):
Косс Александр Владимирович (RU), Пензин Роман Андреевич (RU)
|
(54) СПОСОБ ОБРАБОТКИ ПРОБ ВОДЫ ДЛЯ ПОСЛЕДУЮЩЕГО ОПРЕДЕЛЕНИЯ ГАЗОНАСЫЩЕННОСТИ И УСТАНОВКА ДЛЯ ЕГО ОСУЩЕСТВЛЕНИЯ
(57) Реферат:
Группа изобретений относится к области проведения геохимической разведки перспективных месторождений и может быть использована для определения газонасыщенности придонной воды. Способ обработки воды для последующего определения параметра газонасыщенности включает подготовку пробы, ее дегазацию путем вакуумирования и сбор выделившихся газов и паров, причем подготовку пробы и ее вакуумирование осуществляют одновременно путем пропускания пробы снизу вверх через вертикально установленный газожидкостный сверхзвуковой эжектор в режиме, обеспечивающем образование в камере смешения эжектора сверхзвукового потока газопарожидкостной смеси. Представлена также установка для осуществления указанного способа. Достигается повышение эффективности подготовки проб воды за счет равномерной и полной дегазации. 1 табл., 1 ил.
Изобретение относится к проведению геохимической разведки перспективных месторождений, например, нефтегазового сырья и может быть использовано для определения газонасыщенности придонной воды.
При наличии в водных (морских, речных или озерных) акваториях залежей нефти и газа в придонных слоях воды скапливаются углеводородные газы. Основным методом предварительной разведки залежей ископаемого углеводородного сырья является метод, основанный на сборе с морского дна проб придонной воды, последующем выделении из отобранных проб газовой фазы и проведении анализа, по результатам которого можно сделать заключение о практической значимости месторождений.
Точность анализа и представительность полученных результатов во многом определяются полнотой выделения из пробы содержащихся в ней углеводородных газов. Для получения представительных результатов дегазацию, как правило, проводят многократно. В основном для выделения газовой фазы из пробы воды используют различные методы глубокого вакуумирования.
Например, известно устройство для измерения концентрации растворенного газа в воде, содержащее сосуд для дегазации, снабженный нагревателем, систему для создания вакуума, канал для отвода парогазовой смеси, конденсатор пара, прибор для измерения количества выделившейся газовой фазы, дроссельные устройства (RU 20680 U1, 20.11.2001).
Наиболее близким к предложенному техническому решению является способ обработки пробы воды для последующего определения параметра газонасыщенности, включающий подготовку пробы, ее дегазацию путем вакуумирования и сбор выделившихся газов и паров.
По данному способу перед дегазацией проводят подготовку пробы воды путем ее нагревания и последующего разбрызгивания раствора, а после дегазации осуществляют перекачивание с помощью диафрагменного насоса выделившегося газа и его сбор в газосборнике. Подготовка пробы проводится для того, чтобы облегчить последующую дегазацию ее газовой фазы с помощью вакуумирования. Установка для осуществления известного способа содержит приемную емкость, устройство для создания вакуума, распылитель, перекачивающий насос, газосборник, соединенный с магистралью отвода газов к замерной емкости, сливную магистраль, запорные и измерительные устройства, соединительные трубопроводы (SU 880995, 15.11.1981).
В качестве устройства для создания вакуума в данном способе используют стандартный форвакуумный насос, а распылитель представляет собой разбрызгиватель, который устанавливают перед приемной емкостью. Для улучшения диспергирования пробы ее перед подачей на распылитель подогревают с помощью специального нагревателя. Для перекачивания выделившегося в процессе дегазации в приемной емкости газа в газосборник используют двухкамерный диафрагменный насос, который работает в двух режимах. Сначала в его нижней камере создают вакуум, благодаря чему выделившийся из пробы воды и находящийся в приемной камере газ поступает в верхнюю камеру насоса. Затем с помощью компрессора, для подсоединения которого в установке предусмотрена специальная магистраль, в нижней камере перекачивающего насоса создают избыточное давление, под действием которого газ из верхней камеры выдавливается перемещением эластичной диафрагмы в газосборник. В качестве прибора для измерения объема газа в установке используют ртутный манометр, который подсоединен непосредственно к газосборнику.
Основным недостатком известного решения является невысокая достоверность получаемых результатов. Это является следствием того, что в известном техническом решении извлечение газов из воды происходит только за счет диффузии. А из-за различных коэффициентов диффузии «легких» и «тяжелых» газов и различной кинетики данного процесса «тяжелые» газы не успевают полностью диффундировать. Поэтому в пробах, после их хроматографического анализа, как правило, обнаруживаются только легкие газы: метан, этан, этилен.
Среднее количество извлеченных газов из стандартной 500 мл пробы придонной воды, полученной по известному способу, не превышает 15-30 мл. Поэтому по известному способу невозможно реально получить представительные данные по газонасыщенности, так как для этого требуется наиболее полно выделить из пробы не только легкие, но и тяжелые фракции углеводородных газов.
Кроме того, сама эта установка состоит из многочисленных узлов и нуждается в квалифицированном обслуживании. Перед каждым ее использованием все системы установки необходимо тщательно вакуумировать. Все это приводит к очень длительным процедурам измерения (общее время дегазации одной пробы занимает не менее 1 часа) и ограничивает возможности использовании такой установки в полевых условиях.
Задачей настоящего изобретения является повышение эффективности подготовки проб воды за счет равномерной и полной дегазации всех газообразных компонентов, независимо от их коэффициентов диффузии.
Поставленная задача решается описываемым способом обработки пробы воды для последующего определения параметра газонасыщенности, включающим подготовку пробы и ее дегазацию путем вакуумирования, которые ведут одновременно путем пропускания пробы снизу вверх через вертикально установленный газожидкостной сверхзвуковой эжектор в режиме, обеспечивающем образование в камере смешения эжектора сверхзвукового потока газопарожидкостной смеси, с последующим сбором выделившихся газов и паров.
При этом предпочтительно на входе в эжектор поддерживают давление не менее 0,25 МПа, в цилиндрическом канале эжектора обеспечивают давление не менее чем в 10 раз ниже, чем на входе, а в диффузоре эжектора давление в потоке доводят до величины не более 0,1 МПа.
Кроме того, в оптимальном варианте пробу воды пропускают через эжектор от 4 до 12 раз.
Поставленная задача решается также описываемой установкой для обработки пробы воды для последующего определения параметра газонасыщенности, содержащей приемную емкость, устройство для создания вакуума и распылитель, в качестве которых используют соединенные между собой вертикально установленный газожидкостный сверхзвуковой эжектор, выполненный в виде герметически соединенных многосоплового блока-конфузора, цилиндрического канала и диффузора с углом полураскрытия не более 4 градусов, и перекачивающий напорный насос, газосборник, соединенный с магистралью отвода газов к замерной емкости и выполненный в виде купола, размещенного над приемной емкостью, сливную магистраль, запорную арматуру, измерительные приборы и соединительные трубопроводы, при этом последовательно установленные приемная емкость, насос, эжектор и газосборник образуют контур дегазации.
Преимущественно приемная емкость и газосборник выполнены в виде одной вертикально установленной цилиндрической емкости со сферическим куполом.
Преимущественно приемная емкость и газосборник представляют собой батометр с разъемами.
При лучшем выполнении установки приемная емкость установлена так, что патрубок ввода в емкость газопарожидкостной смеси расположен выше уровня диффузора эжектора, но ниже уровня основания сферического купола газосборника, а сама приемная емкость в ее нижней части оборудована патрубком и воронкой для ввода пробы воды, находящейся выше уровня основания сферического купола газосборника.
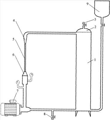
Схема установки для дегазации воды приведена на чертеже, и ниже приведены примеры осуществления заявленного способа.
Установка содержит следующие элементы: приемная емкость 1; газосборник 2; магистраль отвода газов к замерной емкости 3; газожидкостный сверхзвуковой эжектор, выполненный в виде герметически соединенных многосоплового блока-конфузора 6, цилиндрического канала 5 и диффузора 4 с углом полураскрытия не более 4 градусов; насос 7; сливную магистраль 8; трубопровод с воронкой для исходной воды 9.
Кроме того, установка содержит запорную арматуру (краны) и измерительные приборы: вакуумметр и манометр.
В предлагаемом способе и устройстве одновременно реализуется эффект многократного увеличения поверхности воды в камере смешения эжектора (обеспечивающего подготовку пробы воды перед дегазацией) и происходит резкое снижение давления (эффект вакуумирования). Именно совокупность этих двух одновременно происходящих эффектов приводит к достижению положительного и принципиально нового результата: максимально полному выделению всего спектра растворенных в воде газов. Это происходит за счет используемого в предложенном решении эжектора, который реализует течение смеси воды и выделившихся из нее газов со сверхзвуковой скоростью и последующее торможение этой смеси в скачках уплотнений. Образующиеся при торможении сверхзвукового потока скачки уплотнений (ударные волны) обеспечивают дополнительное разрушение капель воды на более мелкие, имеющие субмикронные размеры. Именно в момент разрыва капель на более мелкие и осуществляется дополнительный “выход” растворенных в воде газов независимо от их молекулярного веса и коэффициентов диффузии. Так как в зоне скачков уплотнений происходит резкое уменьшение поверхности дегазируемой воды, то выделившиеся из нее газы не успевают вновь в ней раствориться (происходит эффект “запаздывания растворения”). Предлагаемое устройство в заданных параметрах обеспечивает оптимальные конструктивные решения для реализации данного эффекта.
Оптимальная величина минимального давления на входе в эжектор, равная 0,25 МПа, обусловлена тем, что необходимо обеспечить давление подачи воды, позволяющее получить скорость потока, примерно на 25% превосходящую местную скорость звука в полученной смеси. В таких условиях при дегазации воды эжектор работает без натекания пассивного газа в камеру смешения. При этом отношение секундного расхода выделившихся из воды газов к секундному расходу воды практически равно 0 и при давлении смеси на уровне 0,01 МПа скорость звука для воды равна 18 м/с. Следовательно, для обеспечения работоспособности эжектора необходимо обеспечить скорость воды в эжекторе не менее 22,4 м/с, а для получения такой скорости по уравнению Бернулли необходимо обеспечить перепад не менее 0,25 МПа ( р= w2/2). Таким образом, давление на входе в эжектор на уровне 0,25-0,26 МПа является достаточным для обеспечения заданной цели. Увеличение этого параметра приведет только к неоправданному перерасходу энергии.
Указанное 10-кратное снижение давления в цилиндрическом канале эжектора обусловлено тем, что с уменьшением этого параметра резко возрастает величина местной скорости звука, а значит, и необходимого давления на входе в эжектор, что ведет к неоправданным энергетическим затратам и росту массы установки из-за необходимости использования более мощного электронасоса.
Ограничение по давлению в диффузоре, равное не более 0,1 МПа, обусловлено следующим. Увеличение давления нецелесообразно из-за уменьшения при этом объема микропузырьков газов, и как следствие снижения количества собранных под куполом газосборника газов. Таким образом, все вышеприведенные параметры работы эжектора, определенные экспериментальным путем, являются наиболее оптимальными.
Эффективность описываемого способа и устройства иллюстрируется нижеследующими примерами.
Примеры 1-5. В полевых условиях проводят исследования газонасыщенности придонной воды Баренцева моря. Для этого с помощью батометра отбирают с глубины порядка 190 м ряд проб с акватории и подвергают их обработке для последующего определения коэффициентов газонасыщенности. Обработку ведут параллельно предлагаемым и известным способами. Обработку воды по предлагаемому способу осуществляют следующим образом.
В установку через трубопровод с воронкой для исходной воды 9 заливают пробу воды. Затем проводят обработку пробы воды путем ее прокачивания насосом 7 по направлению снизу вверх через вертикально установленный газожидкостный сверхзвуковой эжектор. При этом на входе в эжектор поддерживают давление 0,25 МПа, а в цилиндрическом канале эжектора обеспечивают давление не более 0,025 МПа с получением газопарожидкостной смеси, а в диффузоре эжектора доводят давление в потоке до величины не более 0,1 МПа (атмосферное давление на выходе из установки). Такое воздействие на пробу воды осуществляют в режиме рециркуляции (4-12 раз) для того, чтобы обеспечить максимально полное выделение всех растворенных в воде газов. Выделившиеся из пробы воды газы собираются под куполом газосборника 2, расположенного на разделительной емкости 1. После окончания обработки пробы воды (отключения насоса 7) полученные газы через кран, установленный на магистрали отвода газов к замерной емкости 3, отбирают, измеряют объем и направляют на анализ. Процесс обработки пробы воды происходит очень быстро. При объеме приемной емкости установки 8 л однократная циркуляция через нее воды происходит за 20 с. Таким образом, 12-кратное пропускание одной пробы воды через установку занимает всего 4 минуты.
Результаты определения газонасыщенности придонной воды на участке №2 в Баренцевом море по известному и предлагаемому способом приведены в таблице.
| |
| Пробы были отобраны с помощью батометра с глубин порядка 190 м. Анализ проб в обоих случаях проводился на хроматографе Цвет-100 |
| № по примеру |
Способ |
Gi=Viг/Qпр, нл/л |
| метан |
этилен |
этан |
пропан |
i-бутан |
i-бутилен |
n-бутан |
| СН4 |
С2Н4 |
C2H6 |
С3Н8 |
С4Н10 |
С4Н8 |
С4Н10 |
| 1 |
Предлагаемый |
26.4 |
8.9 |
4.5 |
7.7 |
0.3 |
2.1 |
3.0 |
| |
Известный |
19.7 |
7.4 |
0.5 |
0.0 |
0.0 |
0.0 |
0.0 |
| 2 |
Предлагаемый |
31.9 |
4.2 |
2.7 |
2.8 |
0.5 |
3.3 |
0.2 |
| |
Известный |
16.6 |
5.4 |
1.6 |
0 |
0 |
0 |
0 |
| 3 |
Предлагаемый |
10.6 |
5.3 |
3.7 |
5.5 |
0.2 |
1.8 |
0.1 |
| |
Известный |
19.9 |
2.7 |
0.3 |
0.0 |
0.0 |
0.0 |
0.0 |
| 4 |
Предлагаемый |
25.1 |
12.7 |
8.9 |
14.4 |
0.2 |
4.4 |
0.3 |
| |
Известный |
22.4 |
5.9 |
0 |
0 |
0 |
0 |
0 |
| 5 |
Предлагаемый |
13.5 |
2.5 |
2.0 |
2.0 |
0.5 |
1.0 |
0.2 |
| |
Известный |
5.4 |
4.0 |
0 |
0 |
0 |
0 |
0 |
Время подготовки проб воды для анализа по предлагаемому способу составляло в среднем 3-5 минут, а по известному около часа.
Газонасыщенность Gi=Viг/Qпр дана в нл/л – нанолитры на литр воды (т.е. количество данного вида газа, например метана в куб. нанолитрах на 1 литр воды) где
Viг – объем i – газа,
Qпр – объем пробы придонной воды, из которой извлекался газ при дегазации.
Как видно из данных таблицы, в пробах, полученных предлагаемым способом, получен весь спектр газов от метана до n-бутана, в то время как в пробах, которые дегазировались известным способом, выделены только 3 газа: метан, этилен и этан. Таким образом, предложенное изобретение обеспечивает более достоверные результаты, касающиеся определения газонасыщенности придонных слоев воды.
Таким образом, использование предложенного способа и устройства обеспечивает равномерную дегазацию всех компонентов природных газов из придонной воды, что дает возможность избежать преимущественного извлечения легких газов с высокими коэффициентами диффузии по отношению к тяжелым газам с низкими коэффициентами диффузии.
Дегазация морских вод с применением сверхзвукового эжектора позволяет вплотную приблизиться к измерению истинной газонасыщенности образцов и ликвидировать зависимость степени извлечения углеводородов и других газов от таких параметров, как температура, различия в коэффициентах диффузии газов в воде, солености, времени хранения проб воды до дегазации.
Формула изобретения
1. Способ обработки воды для последующего определения параметра газонасыщенности, включающий подготовку пробы, ее дегазацию путем вакуумирования и сбор выделившихся газов и паров, отличающийся тем, что подготовку пробы и ее вакуумирование осуществляют одновременно путем пропускания пробы снизу вверх через вертикально установленный газожидкостный сверхзвуковой эжектор в режиме, обеспечивающем образование в камере смешения эжектора сверхзвукового потока газопарожидкостной смеси.
2. Способ по п.1, отличающийся тем, что при пропускании пробы воды на входе в эжектор поддерживают давление не менее 0,25 МПа, в цилиндрическом канале эжектора обеспечивают давление не менее чем в 10 раз ниже, чем на входе, а в диффузоре эжектора давление в потоке доводят до величины не более 0,1 МПа.
3. Способ по пп.1, 2, отличающийся тем, что пробу воды пропускают через эжектор от 4 до 12 раз.
4. Установка для обработки пробы воды для последующего определения параметра газонасыщенности, содержащая приемную емкость, устройство для создания вакуума, распылитель, перекачивающий насос, газосборник, соединенный с магистралью отвода газов к замерной емкости, сливную магистраль, запорные и измерительные устройства, соединительные трубопроводы, отличающаяся тем, что в качестве устройства для создания вакуума и распылителя используют вертикально установленный газожидкостный сверхзвуковой эжектор, выполненный в виде герметически соединенных многосоплового блока-конфузора, цилиндрического канала и диффузора с углом полураскрытия не более 4 градусов, вместе с соединенным с ним перекачивающим напорным насосом, газосборник выполнен в виде купола, размещенного над приемной емкостью, при этом последовательно установленные приемная емкость, насос, эжектор и газосборник образуют контур дегазации.
5. Установка по п.4, отличающаяся тем, что приемная емкость и газосборник выполнены в виде одной вертикально установленной цилиндрической емкости со сферическим куполом.
6. Установка по п.5, отличающаяся тем, что приемная емкость и газосборник представляют собой батометр с разъемами.
7. Установка по п.5, отличающаяся тем, что приемная емкость установлена так, что патрубок ввода в емкость газопарожидкостной смеси расположен выше уровня диффузора эжектора, но ниже уровня основания сферического купола газосборника, при этом упомянутая приемная емкость в нижней части оборудована патрубком и воронкой для ввода пробы воды, находящейся выше уровня основания сферического купола газосборника.
РИСУНКИ
|
|