|
|
(21), (22) Заявка: 2007119186/28, 24.05.2007
(24) Дата начала отсчета срока действия патента:
24.05.2007
(46) Опубликовано: 10.03.2009
(56) Список документов, цитированных в отчете о поиске:
RU 2247979 C1, 10.03.2005. RU 2219539 C1, 20.12.2003. RU 2219540 C1, 20.12.2003. US 5689070 A, 18.11.1997. US 6125706 A, 03.10.2000. JP 55104199 A 09.08.1980.
Адрес для переписки:
162611, Вологодская обл., г. Череповец, ул.Бардина, 15, ОАО “Нординкрафт”, Делюсто Лев Георгиевич
|
(72) Автор(ы):
Кириков Андрей Васильевич (DE), Дан Вальдемар (DE), Бритвин Владимир Александрович (RU), Кашин Алексей Михайлович (RU)
(73) Патентообладатель(и):
Кириков Андрей Васильевич (DE), Дан Вальдемар (DE), Бритвин Владимир Александрович (RU), Кашин Алексей Михайлович (RU)
|
(54) ЭЛЕКТРОМАГНИТНО-АКУСТИЧЕСКИЙ ПРЕОБРАЗОВАТЕЛЬ
(57) Реферат:
Использование: для неразрушающего ультразвукового контроля материалов и изделий. Сущность заключается в том, что электромагнитно-акустический преобразователь на «воздушной подушке» включает корпус-подложку с отверстиями для выхода воздуха, питающего воздушную подушку, один или более индуктор и протектор, выполненный в виде керамической пластины, при этом протектор, размещенный между подложкой и объектом ультразвукового контроля, содержит отверстия для выхода сжатого воздуха, питающего «воздушную подушку», а размеры протектора существенно превышают размеры индуктора или группы индукторов, входящих в состав электромагнитно-акустического преобразователя, причем площадь протектора соизмерима с площадью рабочей поверхности подложки и согласована с нею и объектом контроля по форме. Технический результат: повышение чувствительности, помехозащищенности и достоверности ультразвукового контроля. 3 з.п. ф-лы, 8 ил.
Изобретение относится к области неразрушающего (ультразвукового) контроля материалов и изделий и может быть использовано для контроля листового и сортового проката, а так же труб.
Известен электромагнитно-акустический преобразователь (ЭМАП), включающий, в частности, индуктор или группу индукторов, подложку-корпус, выполненную из неферромагнитного металла, а так же диэлектрический, чаще керамический, протектор, вклеенный в подложку в районе индукторов.
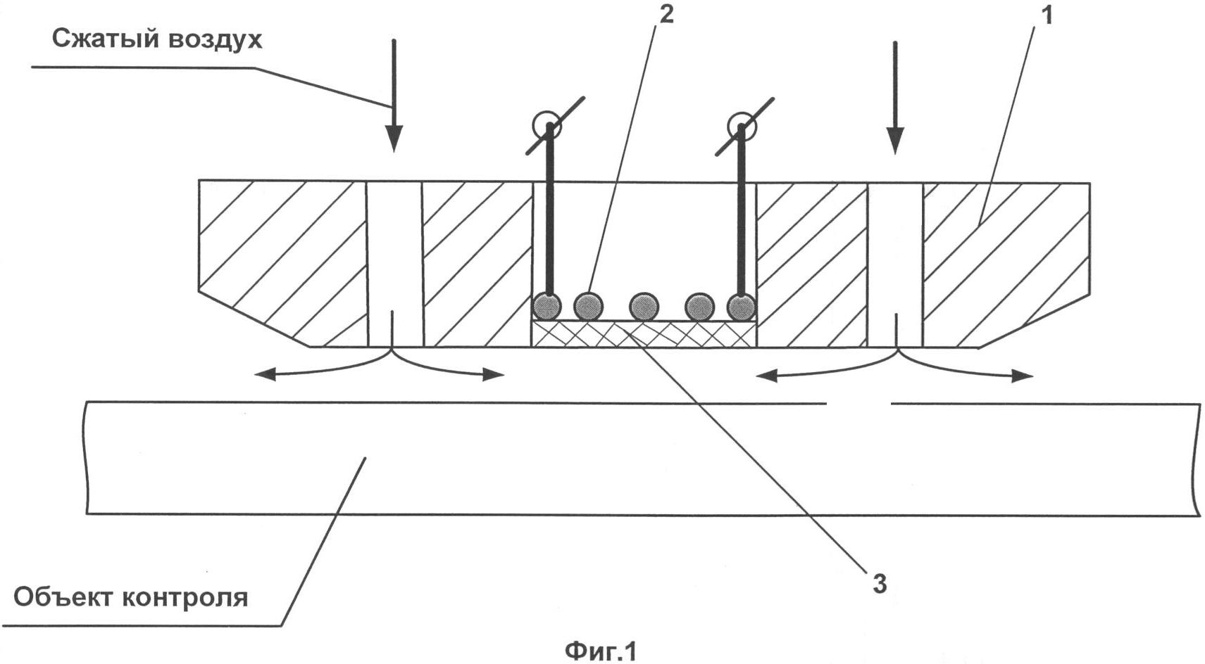
Конструкция типового ЭМАП приведена на фиг.1. Он содержит корпус (подложку) 1, индуктор 2 и керамическую пластину (протектор) 3, предназначенную для защиты от повреждений индуктора 2. Другие элементы ЭМАП, как то: концентратор, магнитопровод, соединительный кабель и пр., здесь не показаны. Протектор 3 защищает от механических повреждений только индуктор 2 и имеет, как правило, сравнительно небольшие размеры, сопоставимые с размером индуктора 2 или группы индукторов 2, и простую, согласованную с индукторами 2, форму.
На фиг.2. изображены типовые пары «индуктор-керамический протектор»: а) – пара «индуктор-протектор» для универсального ЭМАП, применяющихся при ультразвуковом контроле листового, сортового проката и труб; б) – пара «группа индукторов-протектор» так же универсального назначения. Рабочая плоскость протектора, как правило, находится на одном уровне с рабочей поверхностью подложки или несколько «утоплена». Можно сказать, что протектор находится внутри подложки, «вклеен» в нее. Его рабочую поверхность, как правило, не требуется согласовывать с формой поверхности объекта контроля ввиду малости размеров протектора. При таком подходе минимизация размеров протектора снижает протяженность его контура, контактирующего и взаимодействующего с подложкой, и в целом благоприятно сказывается на продолжительности работы ЭМАП. Уменьшение размеров подложки, однако, ограничено размерами индуктора или группы индукторов.
На фиг.3. в качестве примера приведены фотографии ЭМАП для контроля листового проката, использующего пары «индуктор-протектор» и «группа индукторов-протектор», изображенные на фиг.2. Согласованная по форме с объектом контроля подложка содержит отверстия для выхода сжатого воздуха и ответственна за формирование «воздушной подушки».
В известном преобразователе основным элементом, формирующим «воздушную подушку» и определяющим эффективность ее работы, является подложка. Форма рабочей поверхности подложки всегда согласована с объектом контроля. Ведь именно подложка является элементом ЭМАП, с геометрической точки зрения наиболее приближенным к объекту контроля в ходе проведения ультразвукового контроля.
Недостатком таких ЭМАП является сравнительно высокий уровень акустических помех, обусловленный проявлениями паразитной акустической связи между индукторами и протектором и малыми размерами протектора. При пропускании импульса тока через индуктор, находящийся, как правило, в зоне действия сильного магнитного поля, на индуктор действует сила Лоренца, которая пропорциональна произведению значения тока через индуктор, числа витков индуктора и значения индукции магнитного поля в рабочей зоне.
Из-за проявлений неизбежной на практике акустической связи между индуктором и протектором, в последнем возникают упругие колебания, распространяющиеся к близко расположенным границам протектора, отражающиеся затем от этих границ и возвращающиеся в зону индуктора, генерируя в нем электрические импульсы, которые могут явиться помехой приему полезных сигналов из объекта контроля.
Пример А-развертки, на которой видны импульсы, обусловленные проявлением акустической помехи, приведен на фиг.4. Помеха проявляется в районе зоны, обозначенной красным стробом
Недостатком таких ЭМАП является также их сравнительно низкая помехозащищенность, обусловленная проявлениями паразитной электромагнитной связи между металлическими деталями преобразователя (подложкой) и объектом контроля.
Причины возможного негативного влияния электромагнитной связи между ЭМАП и контролируемым изделием на достоверность ультразвукового контроля заключаются в следующем.
При ультразвуковом контроле движущихся по транспортным линиям металлических изделий, по поверхности последних протекают токи, обусловленные неоднородностью потенциалов элементов транспортной системы и высокой напряженностью электромагнитного поля, характерных для современного производства проката и труб. Потенциал каждого конкретного участка листа может принимать значения, существенно, с точки зрения применения ЭМАП, отличающиеся от потенциала «нулевой точки». Поэтому при контакте металлической подложки с объектом контроля появляются условия для протекания выравнивающих токов через металлические элементы преобразователя и экраны кабеля, соединяющего ЭМАП с приемным устройством (предварительным усилителем). Значительная амплитуда и широкий частотный спектр обусловленной этими явлениями помехи могут привести к существенному снижению чувствительности и достоверности ультразвукового контроля.
Высокая вероятность появления помехи возникает не только при непосредственном контакте металлической подложки и контролируемого изделия, но и при небольших зазорах между ними, что обусловлено емкостной связью «подложка-контролируемый металл».
Источником помехи могут так же служить токи, наведенные зондирующим импульсом в экране кабеля, соединяющего преобразователь с электронными устройствами, а также индуктором – на поверхности контролируемого изделия.
При малом зазоре, характерном для «воздушной подушки», возникает сильная емкостная связь между поверхностью объекта контроля и металлической подложкой. Эта связь может привести к резонансному возбуждению тока в цепях экранирования и заземления, в частности в экране кабеля, соединяющего предварительный усилитель с ЭМАП. Этот специфический тип помехи проявляется в существенном «затягивании» зондирующего импульса на А-развертке принимаемого сигнала.
Пример А-развертки, полученной при зазоре между металлической подложкой и плоским объектом контроля 0,08 миллиметра, приведен на фиг.5. При небольшом увеличении зазора его электрическая емкость изменяется, и резонансное явление перестает проявляться. В большинстве практических случаев электрическая (электромагнитная) связь между металлической подложкой ЭМАП и изделием весьма нестабильна и может спонтанно изменяться в широких пределах. Поэтому проявления обусловленной этой связью помехи носят непредсказуемый характер.
Другим недостатком ЭМАП, протектор которых по размерам и форме согласован с индуктором или группой индукторов, является низкая механическая, температурная и эрозионная стойкость такой конструкции.
«Воздушная подушка» призвана эффективно защищать преобразователь от температуры и истирания. В то же время контролируемый металл может иметь неровности, выступающие дефекты поверхности и отклонения формы от номинала. Это обусловливает вероятность прямого механического контакта ЭМАП с изделием и, как следствие, его повреждение. Кроме того, срываемые потоком сжатого воздуха, формирующего «воздушную подушку», твердые частицы окалины, разгоняясь до высоких скоростей, оказывают эрозионное, разрушающее воздействие на рабочую поверхность преобразователя.
Металл подложки является во всех практически значимых случаях материалом более мягким по сравнению с керамикой, из которой изготовлен протектор. Царапины, ссадины локальные истирания резко снижают эффективность «воздушной подушки». Различие физических свойств материалов, находящихся в зоне «воздушной подушки», определяет неравномерный механический и эрозионный износ преобразователя. Особенно интенсивной эрозии подвержено клеевое соединение между контуром керамики и подложкой. При осуществлении высокотемпературного ультразвукового контроля циклы «нагрев-охлаждение» также отрицательно влияют на срок службы ЭМАП из-за различия в коэффициентах расширения применяемых материалов.
С целью:
– повышения чувствительности, помехозащищенности и достоверности ультразвукового контроля, достигаемой путем снижения отрицательного влияния акустической связи между индуктором и протектором,
– повышения помехозащищенности, достигаемой за счет уменьшения электрической и электромагнитной связи между преобразователем и объектом контроля и снижением уровня электрических и электромагнитных помех, обусловленных этой связью,
– повышения технологичности при изготовлении преобразователей и улучшения их эксплуатационных свойств, за счет улучшения эффективности «воздушной подушки», повышения механической прочности и эрозионной стойкости преобразователя, в предлагаемом электромагнитно-акустическом преобразователе протектор размещен между подложкой и объектом ультразвукового контроля, содержит отверстия для выхода сжатого воздуха, питающего «воздушную подушку», а размеры протектора существенно превышают размеры индуктора или группы индукторов, входящих в состав ЭМАП, причем площадь протектора соизмерима с площадью рабочей поверхности подложки и согласована с нею и объектом контроля по форме.
Керамический протектор заявляемого электромагнитно-акустического преобразователя является одновременно формирователем «воздушной подушки», примерно совпадает по размерам с поверхностью подложки, механически с ней соединен и содержит, как минимум, два отверстия для выхода воздуха, питающего воздушную подушку, причем контурное соединение между протектором и формирователем «воздушной подушки» отсутствует. Протектор, таким образом, становится элементом, формирующим «воздушную подушку», и определяющим эксплуатационную стойкость ЭМАП. Однородность материала, находящегося в зоне агрессивного воздействия объекта контроля, высокие резистивные свойства керамики по отношению к трению, износу, механическим повреждениям, эрозии, воздействию температуры оказывают ярко выраженную положительную роль в повышении эксплуатационной стойкости ЭМАП.
Протектор заявляемого электромагнитно-акустического преобразователя может представлять собой равнотолщинную керамическую пластину, занимающую большую или даже всю площадь ЭМАП со стороны объекта контроля. Эта пластина механически соединена с подложкой с помощью клеевого соединения (наклеена на подложку). Толщина пластины, являющаяся параметром, определяющим компромисс между чувствительностью и долговечностью ЭМАП, выбирается из диапазона 0,1-5 мм в зависимости от типа и размеров индуктора, типа и свойств возбуждаемых и (или) принимаемых упругих колебаний, внешних условий и требуемой чувствительности ультразвукового контроля. Равнотолщинная пластина технологична, имеет относительно невысокую стоимость, определяет простоту и технологичность конструкции подложки.
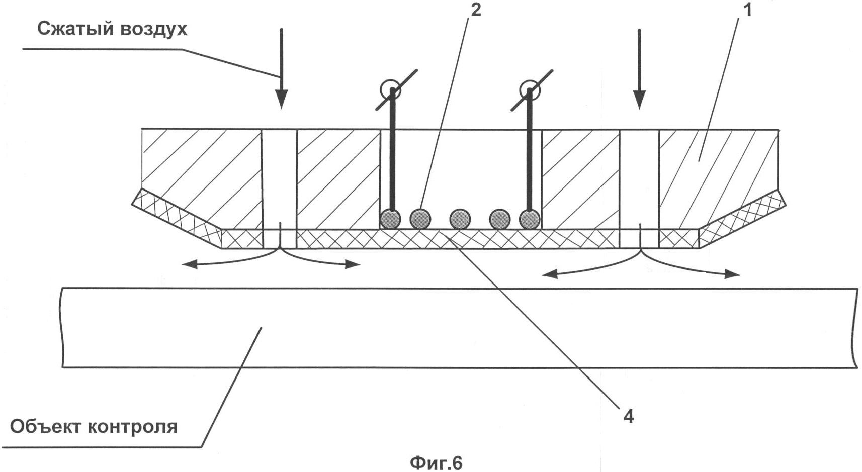
На фиг.6 приведен пример предлагаемой конструкции ЭМАП, предназначенного для контроля листового проката, содержащего подложку из металла, например алюминия, и соединяемый с ней протектор.
ЭМАП содержит подложку 1, индуктор 2 и керамический протектор 4, выполненный в виде равнотолщинной керамической пластины, занимающей большую или даже всю площадь ЭМАП со стороны объекта контроля. Остальные элементы ЭМАП, как-то: концентратор, магнитопровод, соединительный кабель, условно не показаны.
Сравнительно большие размеры протектора 4 определяют снижение собственных акустических шумов преобразователя. На большом пути обеспечивается существенное ослабление энергии паразитных сигналов, возбужденных в протекторе. В ряде случаев, например, при контроле листового проката, анализ полезных сигналов завершается задолго до появления паразитных импульсов, отраженных от краев керамической пластины-протектора.
Стабилизация и снижение влияния электромагнитной связи между преобразователем и контролируемым изделием обусловлены наличием между ними диэлектрического протектора, обеспечивающего отсутствие гальванической связи и существенное уменьшение емкостной связи между ЭМАП и объектом контроля,
Таким образом, функции протектора в заявляемом ЭМАП совмещены и расширены. Кроме обычной защиты индукторов на протектор возлагаются функции формирования «воздушной подушки» и защиты всей рабочей поверхности преобразователя от агрессивного воздействия объекта контроля: эрозионного, механического, температурного.
Кроме того, функциями протектора являются теперь подавление паразитных акустических сигналов, осуществление гальванической изоляции ЭМАП от объекта контроля, а так же стабилизация и снижение емкостной связи между ЭМАП и контролируемым изделием.
Пример А-развертки, полученной с помощью заявляемого ЭМАП, керамический протектор которой представляет собой равнотолщинную пластину толщиной 0,5 мм и согласован по размерам и форме с подложкой, приведен на фиг.7.
Полученный результат объясняется существенным снижением электромагнитной (в данном случае емкостной) связи между корпусом ЭМАП и объектом контроля. Изменения рабочего зазора между диэлектрической подложкой и объектом контроля, разумеется, уже не приводят к появлению помехи и не оказывают заметного влияния на длительность зондирующего импульса на А-развертке. Толщина, конструкция и материал керамической пластины-протектора должна обеспечить условие:
С0<<1/(2 f0)2LЭКВ,
где С0 – электрическая емкость между ЭМАП и объектом контроля в рабочем положении, f0 – центральная частота в спектре зондирующего импульса, Lэкв – эквивалентная индуктивность контура: объект контроля – предварительный усилитель – экран кабеля – корпус ЭМАП. Для плоских протекторов ЭМАП, предназначенных для контроля листового проката, Со рассчитывается по формуле плоского конденсатора:
С0= 0S/d,
где е – диэлектрическая проницаемость материала подложки, 0 – диэлектрическая константа, 0 8,85 ч 10” Ф/м, S – площадь диэлектрической пластины (подложки), d – толщина диэлектрической пластины.
Еще более действенным способом снижения емкостной связи между ЭМАП и объектом контроля является изготовление подложки, совмещенной с протектором, из диэлектрического материала. В этом случае удается практически гарантированно избежать резонансных явлений в экранирующих цепях и в еще большей степени подавить акустическую помеху.
На фиг.8. изображена А-развертка сигнала, полученного с помощью ЭМАП, подложка которого совмещена с протектором и целиком выполнена из керамики. Длительность зондирующего импульса на А-развертке практически не отличается от случая, приведенного на фиг.7.
Испытание преобразователя в условиях ЛПЦ-3 ОАО «Северсталь» показали его высокую эффективность. В частности, срок службы преобразователя увеличился приблизительно на 25%. На 6-8 дБ снизился уровень собственных акустических шумов.
ЧЕРТЕЖИ
Фиг.1. Конструкция типового ЭМАП.
Фиг.2. Типовые пары «индуктор-керамический протектор»: а) – пара «индуктор-протектор» для универсального ЭМАП, применяющихся при ультразвуковом контроле листового, сортового проката и труб; б) – пара «группа индукторов-протектор» так же универсального назначения.
Фиг.3. Фотографии ЭМАП для контроля листового проката, использующего пары «индуктор-протектор» (а) и «группа индукторов-протектор» (б).
Фиг.4. Пример А-развертки, на которой видны импульсы помехи, обусловленные акустическими явлениями в ограниченном по размерам протекторе.
Фиг.5. Пример А-развертки, полученной при зазоре между металлической подложкой и плоским объектом контроля 0, 08 миллиметра.
Фиг.6. Пример конструкции ЭМАП, предназначенного для контроля листового проката, содержащего подложку из алюминия и соединяемый с ней протектор.
Фиг. 7. Пример А-развертки, полученной с помощью заявляемого ЭМАП, керамический протектор которой представляет собой равнотолщинную пластину толщиной 0,5 мм и согласован по размерам и форме с подложкой.
Фиг.8. А-развертка сигнала, полученного с помощью ЭМАП, подложка которого совмещена с протектором и целиком выполнена из керамики.
Источники информации
1. Патент РФ №2247979.
2. Заявка РФ №2005123824 от 04.09.2006 г.
3. Заявка РФ №2006101385 от 18.12.2006 г.
Формула изобретения
1. Электромагнитно-акустический преобразователь на «воздушной подушке», включающий, в частности, корпус-подложку с отверстиями для выхода воздуха, питающего воздушную подушку, один или более индуктор и протектор, выполненный в виде керамической пластины, отличающийся тем, что протектор, размещенный между подложкой и объектом ультразвукового контроля, содержит отверстия для выхода сжатого воздуха, питающего «воздушную подушку», а размеры протектора существенно превышают размеры индуктора, или группы индукторов, входящих в состав электромагнитно-акустического преобразователя, причем площадь протектора соизмерима с площадью рабочей поверхности подложки и согласована с нею и объектом контроля по форме.
2. Электромагнитно-акустический преобразователь по п.1, отличающийся тем, что керамический протектор является одновременно формирователем «воздушной подушки», примерно совпадает по размерам с поверхностью подложки, механически с ней соединен и содержит, как минимум, два отверстия для выхода воздуха, питающего воздушную подушку, причем контурное соединение между протектором и формирователем «воздушной подушки» отсутствует.
3. Электромагнитно-акустический преобразователь по п.1, отличающийся тем, что протектор представляет собой равнотолщинную керамическую пластину, форма которой согласована с формой объекта контроля, наклеенную на подложку, причем толщина пластины выбирается из диапазона 0,1-5 мм в зависимости от типа и размеров индуктора, типа и свойств возбуждаемых и/или принимаемых упругих колебаний, внешних условий и требуемой чувствительности ультразвукового контроля.
4. Электромагнитно-акустический преобразователь по п.1, отличающийся тем, что подложка совмещена с протектором и выполнена из диэлектрического материала, например керамики.
РИСУНКИ
|
|