|
|
(21), (22) Заявка: 2007123520/06, 22.06.2007
(24) Дата начала отсчета срока действия патента:
22.06.2007
(46) Опубликовано: 10.03.2009
(56) Список документов, цитированных в отчете о поиске:
RU 2030726 C1, 10.03.1995. RU 2243530 C1, 27.12.2004. SU 1534361 A1, 07.01.1990. EP 0491275 A1, 24.06.1992. EP 0464822 A1, 08.01.1992.
Адрес для переписки:
443066, г.Самара, 1-й Безымянный пер., 18, СамГУПС, патентный отдел
|
(72) Автор(ы):
Носырев Дмитрий Яковлевич (RU), Свечников Андрей Александрович (RU)
(73) Патентообладатель(и):
Государственное образовательное учреждение высшего профессионального образования “Самарский государственный университет путей сообщения” (СамГУПС) (RU)
|
(54) СПОСОБ ИСПЫТАНИЯ ТУРБОКОМПРЕССОРА
(57) Реферат:
Изобретение относится к испытаниям лопаточных машин, в частности турбокомпрессоров для наддува двигателей внутреннего сгорания, и может найти широкое применение при испытаниях. Способ испытания турбокомпрессора заключается в том, что на вход в турбину подают газ, на вход в компрессор, приводимый во вращение турбиной, – окружающий или сжатый воздух, определяют их расход и давление. Дополнительно измеряют частоту вращения ротора турбокомпрессора, расход газа на входе в турбину или расход сжатого воздуха на входе в компрессор изменяют по синусоидальному закону, затем определяют время запаздывания максимального давления на выходе из компрессора и частоты вращения турбокомпрессора относительно максимального давления на входе в турбину, или определяют время запаздывания максимального давления на выходе из турбины и частоты вращения турбокомпрессора относительно максимального давления сжатого воздуха на входе в турбину, или определяют время запаздывания максимального расхода сжатого воздуха на входе в компрессор и частоты вращения турбокомпрессора относительно максимального давления на входе в турбину, или определяют время запаздывания максимального расхода газа на входе в турбину и частоты вращения ротора турбокомпрессора относительно максимального давления сжатого воздуха на входе в компрессор и по их времени запаздывания судят о состоянии турбокомпрессора. Применение данного способа испытания турбокомпрессоров позволяет повысить достоверность диагностики их технического состояния и снизить число неплановых ремонтов на 20-30%, а также повысить эффективность работы турбокомпрессора на 5-10%, расширив запас устойчивости работы по помпажу. 1 ил.
Изобретение относится к испытаниям лопаточных машин, в частности турбокомпрессоров для наддува двигателей внутреннего сгорания, и может найти широкое применение при испытаниях.
Известен способ испытания турбокомпрессора, реализованный в стенде, заключающийся в том, что на вход в турбину подают газ, на вход в компрессор, приводимый во вращение турбиной, подают окружающий воздух, который сжимают в компрессоре, пульсация газового потока осуществляется вращающейся заслонкой. При этом условия испытания приближают к натурным с помощью применения дополнительной линии подачи воды с регулятором и форсункой, присоединенной к выходной магистрали, а систему подачи топлива снабжают дополнительной линией подачи с вращающейся заслонкой (авторское свидетельство СССР № 1032342 МПК: G01M 15/00 «Стенд для испытания турбокомпрессора»).
Недостатком данного стенда является низкая достоверность диагностики турбокомпрессоров. Это объясняется невозможностью реализации широкого диапазона нагрузок.
Известен способ испытания турбокомпрессора, который заключается в том, что на вход в турбину подают газ, на вход в компрессор, приводимый во вращение турбиной, – окружающий воздух, измеряют параметры газа и воздуха и определяют показатели работы турбокомпрессора, причем по меньшей мере на части режимов прекращают подачу на вход в компрессор окружающего воздуха и вместо него подают сжатый воздух (патент РФ № 2030726 МПК: G01M 15/00 «Способ испытания турбокомпрессора», опуб. 10.03.2003 г.).
Недостатком данного изобретения является низкая достоверность диагностики состояния турбокомпрессора из-за отсутствия критериев оценки его состояния.
Данное техническое решение выбрано в качестве прототипа.
Техническим результатом является повышение достоверности диагностики состояния турбокомпрессоров.
Технический результат достигается тем, что в способ испытания турбокомпрессора, заключающийся в том, что на вход в турбину подают газ, на вход в компрессор, приводимый во вращение турбиной, – окружающий или сжатый воздух, определяют их расход и давление, дополнительно измеряют частоту вращения ротора турбокомпрессора, расход газа на входе в турбину или расход сжатого воздуха на входе в компрессор, изменяют по синусоидальному закону, затем определяют время запаздывания максимального давления на выходе из компрессора и частоты вращения турбокомпрессора относительно максимального давления на входе в турбину, или определяют время запаздывания максимального давления на выходе из турбины и частоты вращения турбокомпрессора относительно максимального давления сжатого воздуха на входе в турбину, или определяют время запаздывания максимального расхода сжатого воздуха на входе в компрессор и частоты вращения турбокомпрессора относительно максимального давления на входе в турбину, или определяют время запаздывания максимального расхода газа на входе в турбину и частоты вращения ротора турбокомпрессора относительно максимального давления сжатого воздуха на входе в компрессор и по их времени запаздывания судят о состоянии турбокомпрессора.
Способ определения состояния турбокомпрессора по времени запаздывания максимального давления компрессора и частоты вращения турбокомпрессора относительно максимального давления на входе в турбину либо по времени запаздывания максимального давления на выходе из турбины и частоты вращения турбокомпрессора относительно максимального давления сжатого воздуха или по времени запаздывания максимального расхода сжатого воздуха на входе в компрессор и частоты вращения турбокомпрессора относительно максимального давления на входе в турбину либо по времени запаздывания максимального расхода газа на входе в турбину и частоты вращения ротора турбокомпрессора относительно максимального давления сжатого воздуха на входе в компрессор позволяет повысить достоверность диагностики турбокомпрессора.
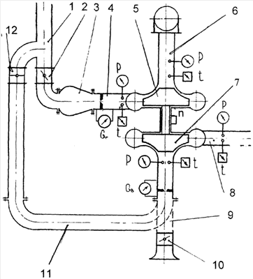
На чертеже изображена схема реализации предложенного способа.
Схема реализации данного способа содержит входной трубопровод 1 с заслонкой 2, камеру сгорания 3 с посторонним источником воздуха (на схеме не показан). Камера сгорания 3 соединена посредством трубопровода 4 с турбиной 5 испытуемого турбокомпрессора. Турбина 5 турбокомпрессора сообщена с атмосферой через выходной трубопровод 6. Трубопроводы 4 и 6 снабжены устройствами для замера давления, температуры, расхода газа. Компрессор 7 турбокомпрессора, его выходной трубопровод 8, соединяющий с атмосферой, также сообщен с атмосферой через входной трубопровод 9 компрессора 7 с регулируемой заслонкой 10, трубопровод 11 для подачи сжатого воздуха к компрессору, регулируемая задвижка 12 на трубопроводе подачи сжатого воздуха. Трубопроводы 9 и 11 снабжены устройствами для замера давление, температуры, расхода воздуха. Ротор турбокомпрессора оснащен датчиком частоты вращения.
Способ реализуется следующим образом.
От постороннего источника сжатого воздуха (не показан) по трубопроводу 1 сжатый воздух подают в камеру сгорания 3. В камере сгорания 3 сжигают топливо и образовавшиеся газы по трубопроводу 4 подают на вход в турбину 5 турбокомпрессора. Отработавшие газы отводят от турбины 5 по трубопроводу 6. Контроль и регистрация параметров газа с помощью специальных устройств (давления Р, температуры t, расхода Gг), расположенных на трубопроводах 4 и 6. Расход газа регулируют заслонкой 2. Газ раскручивает турбину 5 и закрепленное на одном валу с ней колесо компрессора 7. Окружающий воздух по трубопроводу 9 поступает в компрессор 7, сжимается в нем и отводится по трубопроводу 8, подача окружающего воздуха регулируется заслонкой 10. Контроль параметров воздуха осуществляется специальными устройствами (давления Р, температуры t, расхода Gв), расположенными на трубопроводах 8 и 9. Задается периодический закон изменения подачи газа на вход в турбину с помощью заслонки 2, подачи окружающего воздуха – заслонка 10 или сжатого воздуха – заслонка 12. Измеряют расход газа и воздуха, давления на входе и выходе турбины и входе и выходе компрессора, а также частоту вращения ротора турбокомпрессора, расход газа на входе в турбину или расход сжатого воздуха на входе в компрессор изменяют по синусоидальному закону. Затем определяют время запаздывания максимального давления компрессора и частоты вращения турбокомпрессора относительно максимального давления на входе в турбину, или определяют время запаздывания максимального давления на выходе из турбины и частоты вращения турбокомпрессора относительно максимального давления сжатого воздуха на входе в компрессор, или определяют время запаздывания максимального расхода сжатого воздуха на входе в компрессор и частоты вращения турбокомпрессора относительно максимального давления на входе в турбину, или определяют время запаздывания максимального расхода газа на входе в турбину, и частоты вращения ротора турбокомпрессора относительно максимального давления сжатого воздуха на входе в компрессор. И по их времени запаздывания судят о состоянии турбокомпрессора.
Предлагаемый способ реализуется на испытательных стендах с применением аппаратно-программных средств и персонального компьютера.
Применение данного способа испытания турбокомпрессоров позволяет повысить достоверность диагностики их технического состояния и снизить число неплановых ремонтов на 20-30%, а также повысить эффективность работы турбокомпрессора на 5-10%, расширив запас устойчивости работы по помпажу.
Формула изобретения
Способ испытания турбокомпрессора, заключающийся в том, что на вход в турбину подают газ, на вход в компрессор, приводимый во вращение турбиной, – окружающий или сжатый воздух, определяют их расход и давление, отличающийся тем, что дополнительно измеряют частоту вращения ротора турбокомпрессора, расход газа на входе в турбину или расход сжатого воздуха на входе в компрессор изменяют по синусоидальному закону, затем определяют время запаздывания максимального давления на выходе из компрессора и частоты вращения турбокомпрессора относительно максимального давления на входе в турбину, или определяют время запаздывания максимального давления на выходе из турбины и частоты вращения турбокомпрессора относительно максимального давления сжатого воздуха на входе в турбину, или определяют время запаздывания максимального расхода сжатого воздуха на входе в компрессор и частоты вращения турбокомпрессора относительно максимального давления на входе в турбину, или определяют время запаздывания максимального расхода газа на входе в турбину и частоты вращения ротора турбокомпрессора относительно максимального давления сжатого воздуха на входе в компрессор и по их времени запаздывания судят о состоянии турбокомпрессора.
РИСУНКИ
|
|