|
| На основании пункта 1 статьи 1366 части четвертой Гражданского кодекса Российской Федерации патентообладатель обязуется заключить договор об отчуждении патента на условиях, соответствующих установившейся практике, с любым гражданином Российской Федерации или российским юридическим лицом, кто первым изъявил такое желание и уведомил об этом патентообладателя и федеральный орган исполнительной власти по интеллектуальной собственности. |
|
(21), (22) Заявка: 2007124749/06, 03.07.2007
(24) Дата начала отсчета срока действия патента:
03.07.2007
(46) Опубликовано: 10.03.2009
(56) Список документов, цитированных в отчете о поиске:
SU 237700 А, 01.01.1969. SU 840629 А, 23.06.1981. SU 609036 А, 10.05.1978. SU 370423 А, 25.04.1973. SU 1262229 А1, 07.10.1986.
Адрес для переписки:
123458, Москва, ул. Твардовского, 11, кв.92, О.С. Кочетову
|
(72) Автор(ы):
Кочетов Олег Савельевич (RU), Голубева Мария Владимировна (RU), Колаева Лидия Владимировна (RU), Боброва Екатерина Олеговна (RU), Духанина Елена Владимировна (RU), Горнушкина Надежда Игоревна (RU), Павлова Дарья Олеговна (RU)
(73) Патентообладатель(и):
Кочетов Олег Савельевич (RU), Голубева Мария Владимировна (RU)
|
(54) РАСПЫЛИТЕЛЬНАЯ СУШИЛКА ТИПА ВЗП С ИНЕРТНЫМ НОСИТЕЛЕМ
(57) Реферат:
Изобретение относится к технике сушки дисперсных материалов и может быть использовано в микробиологической, пищевой, химической и других отраслях промышленности. В распылительной сушилке со встречными закрученными потоками типа ВЗП с инертным носителем, содержащей цилиндрический корпус с, по крайней мере двумя, тангенциальными соплами для подачи теплоносителя, в которых размещены пневматические форсунки для подачи раствора в слой инертного носителя. Центральный газоход предназначен для отвода отработанного теплоносителя, между поверхностями корпуса и перфорированной решеткой, расположенной перпендикулярно оси корпуса над срезом газохода, высушиваемый раствор напыляется форсунками на частицы инертного носителя, высушивается на них, отделяется от их поверхности и выносится потоком отработанного теплоносителя через газоход, при этом часть частиц высушиваемого раствора поступает в бункер, а другая часть частиц высушиваемого раствора из газохода по трубопроводу поступает в акустическую установку, оптимальными параметрами которой для звуковой обработки среднедисперсной пыли являются: уровень звукового давления 140 дБ и более, частота колебательного движения 900 Гц, концентрация пыли в потоке не менее 2 г/м3, время озвучивания 1,5…2 с, после чего поток направляется в циклон, рукавный фильтр с бункером, из которого готовый продукт поступает на транспортер, а система подачи влажного исходного раствора выполнена в виде акустических форсунок, содержащих корпус с размещенным внутри генератором ультразвуковых колебаний в виде сопла и кольцевого объемного резонатора, причем корпус выполнен в виде вертикально расположенной цилиндрической втулки, в верхней части которой расположена трубка для подвода воздуха, перпендикулярно ее оси расположена трубка для подвода раствора, при этом внутри корпуса, соосно ему, жестко закреплена втулка с верхним и нижним фланцами, причем нижний фланец жестко зафиксирован в проточке, выполненной в корпусе, а внутри втулки, соосно ей, расположен кольцевой объемный резонатор, выполненный в виде чашки с конической поверхностью, при этом чашка запрессована на стержне диаметром d резонатора, а в его хвостовой части расположены фиксирующие диски, выполненные в виде упругих лепестков, взаимодействующих с внутренней поверхностью втулки, причем в нижнем фланце расположено, по крайней мере, одно сопло под углом 20°÷40° к оси резонатора, при этом продолжение оси сопла лежит на окружности, находящейся в средней части конической поверхности, а на внутренней поверхности втулки выполнены соосные коническое и цилиндрическое отверстия. Технический результат – повышение производительности сушки. 1 з.п. ф-лы, 3 ил.
Изобретение относится к технике сушки дисперсных материалов и может быть использовано в микробиологической, пищевой, химической и других отраслях промышленности.
Наиболее близким техническим решением к заявляемому объекту является сушилка по а.с. СССР №237700, F26B 17/10, 1975 г., содержащая загрузочный бункер влажного материала со шнековым питателем, сушильную камеру с опорной решеткой, топку со смесительной камерой, турбогазодувку и систему очистки отработанного воздуха (прототип).
Недостаток прототипа – сравнительно невысокая производительность сушки конечного продукта.
Технический результат – повышение производительности сушки.
Это достигается тем, что в распылительной сушилке со встречными закрученными потоками с инертным носителем, содержащей цилиндрический корпус с, по крайней мере двумя, тангенциальными соплами для подачи теплоносителя, в которых размещены пневматические форсунки для подачи раствора в слой инертного носителя, согласно изобретению центральный газоход предназначен для отвода отработанного теплоносителя, между поверхностями корпуса и перфорированной решеткой, расположенной перпендикулярно оси корпуса над срезом газохода, высушиваемый раствор напыляется форсунками на частицы инертного носителя, высушивается на них, отделяется от их поверхности и выносится потоком отработанного теплоносителя через газоход, при этом часть частиц высушиваемого раствора поступает в бункер, а другая часть частиц высушиваемого раствора из газохода по трубопроводу поступает в акустическую установку, оптимальными параметрами которой для звуковой обработки среднедисперсной пыли являются: уровень звукового давления 140 дБ и более, частота колебательного движения 900 Гц, концентрация пыли в потоке не менее 2 г/м3, время озвучивания 1,5…2 с, после чего поток направляется в циклон, рукавный фильтр с бункером, из которого готовый продукт поступает на транспортер, а система подачи влажного исходного раствора выполнена в виде акустических форсунок, содержащих корпус с размещенным внутри генератором ультразвуковых колебаний в виде сопла и кольцевого объемного резонатора, причем корпус выполнен в виде вертикально расположенной цилиндрической втулки, в верхней части которой расположена трубка для подвода воздуха, перпендикулярно ее оси расположена трубка для подвода раствора, при этом внутри корпуса, соосно ему, жестко закреплена втулка с верхним и нижним фланцами, причем нижний фланец жестко зафиксирован в проточке, выполненной в корпусе, а внутри втулки, соосно ей, расположен кольцевой объемный резонатор, выполненный в виде чашки с конической поверхностью, при этом чашка запрессована на стержне диаметром d резонатора, а в его хвостовой части расположены фиксирующие диски, выполненные в виде упругих лепестков, взаимодействующих с внутренней поверхностью втулки, причем в нижнем фланце расположено, по крайней мере, одно сопло под углом 20°÷40° к оси резонатора, при этом продолжение оси сопла лежит на окружности, находящейся в средней части конической поверхности, а на внутренней поверхности втулки выполнены соосные коническое и цилиндрическое отверстия.
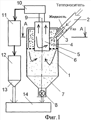
На фиг.1 представлена распылительная сушилка со встречными закрученными потоками (ВЗП) и инертным носителем, на фиг.2 – сечение А-А фиг.1, на фиг.3 – акустическая форсунка.
Распылительная сушилка содержит цилиндрический корпус 1 (фиг.1) с, по крайней мере двумя, тангенциальными соплами 2 для подачи теплоносителя, в которых размещены пневматические форсунки 3 для подачи исходного раствора в слой инертного носителя 4. Центральный газоход 5 предназначен для отвода отработанного теплоносителя. Между поверхностями корпуса 1 и перфорированной решеткой 6, расположенной перпендикулярно оси корпуса над срезом газохода 5, высушиваемый раствор напыливается форсунками 3 на частицы инертного носителя 4 (фиг.2), высушивается на них, отделяется от их поверхности и выносится потоком отработанного теплоносителя через газоход 5, при этом часть частиц высушиваемого раствора поступает в бункер 7 и через затвор 8 – на транспортер 14 (например, в виде пневмотранспорта).
Другая часть частиц высушиваемого раствора из газохода 5 по трубопроводу 9 поступает в акустическую установку 10, оптимальными параметрами которой для звуковой обработки среднедисперсной пыли являются: уровень звукового давления 140 дБ и более, частота колебательного движения 900 Гц, концентрация пыли в потоке не менее 2 г/м3, время озвучивания 1,5…2 с, после чего теплоноситель направляется в циклон 11 с бункером, где выделяется основная часть унесенного теплоносителем сухого материала, а окончательная очистка теплоносителя происходит в рукавном фильтре 12 с бункером 13, из которого готовый продукт поступает на транспортер 14.
Акустическая пневматическая форсунка 3 (фиг.3) содержит полый корпус 15 с размещенным внутри генератором ультразвуковых колебаний в виде сопла 17 и кольцевого объемного резонатора 19. Корпус 15 выполнен в виде вертикально расположенной цилиндрической втулки, в верхней части которой расположена трубка 21 для подвода воздуха, перпендикулярно ее оси расположена трубка 22 для подвода раствора. Внутри корпуса 15, соосно ему, жестко закреплена втулка 28 с фланцами 16 и 20 верхним и нижним, причем нижний фланец 20 жестко зафиксирован в проточке, выполненной в корпусе 15. Внутри втулки, соосно ей, расположен кольцевой объемный резонатор 19, выполненный в виде чашки 23 с конической поверхностью 25.
Чашка 23 запрессована на стержне диаметром d резонатора 19, а в его хвостовой части 18 расположены фиксирующие диски 26 и 27, выполненные в виде упругих лепестков, взаимодействующих с внутренней поверхностью втулки 28. В нижнем фланце 20 расположено, по крайней мере, одно сопло 24 под углом к оси резонатора 19, величина которого лежит в следующем интервале величин: 20°-40°, причем продолжение оси сопла 17 лежит на окружности, находящейся в средней части конической поверхности 25. На внутренней поверхности втулки 28 выполнены соосные коническое и цилиндрическое отверстия 29 и 30.
Для оптимальной работы форсунки должны соблюдаться следующие соотношения ее параметров:
– отношение высоты h1 кольцевого объемного резонатора 19 к расстоянию h между верхним основанием конической поверхности 25 и нижней торцевой поверхностью корпуса 15 лежит в оптимальном интервале величин h1/h=1÷3;
– отношение внутреннего диаметра d1 чашки 23 резонатора 19 к его диаметру d2 его внешней цилиндрической поверхности лежит в оптимальном интервале величин: d1/d2=0,7÷0,9;
– отношение внутреннего диаметра d1 чашки 23 резонатора 19 к диаметру d его стержня лежит в оптимальном интервале величин: d1/d=1÷3.
Распылительная сушилка со встречными закрученными потоками (ВЗП) работает следующим образом.
В процессе сушки инертному носителю сообщают вращательное движение направленными потоками газообразного теплоносителя, поступающего из сопел 2. Под действием центробежной силы инертные частицы носителя прижимаются к стенке корпуса 1 и образуют в нем равномерное вращающееся кольцо (фиг.2) между поверхностями корпуса 1 и перфорированной решеткой 6. Высушиваемый раствор напыливается форсунками 3 на частицы инертного носителя 4 высушивается на них, отделяется от их поверхности и выносится потоком отработанного теплоносителя через газоход 5, при этом часть частиц высушиваемого раствора поступает в бункер 7 и через затвор 8 на транспортер 14 (например, в виде пневмотранспорта).
При этом силы трения и ударного воздействия частиц друг с другом и со стенками корпуса 1 сушилки могут достигать больших величин в зависимости от скорости истечения теплоносителя. Это способствует эффективному удалению высушенного раствора с поверхности частиц инертного носителя.
Акустическая форсунка для распыливания жидкостей работает следующим образом.
Распыливающий агент, например воздух, подается по трубке 21, где встречает на своем пути кольцевой объемный резонатор 19. В результате прохождения резонатора 19 распыливающим агентом (например, воздухом) в последнем возникают пульсации давления, создающие акустические колебания, частота которых зависит от параметров резонатора. Акустические колебания распыливающего агента способствуют более тонкому распыливанию раствора, подаваемого через трубку 22 в сопло 24, откуда он попадает на окружность, находящуюся в средней части конической поверхности резонатора 19, затем дробится под воздействием акустических колебаний воздуха на мелкие капли, в результате чего образуется факел распыленного раствора с воздухом, корневой угол которого определяется величиной угла наклона конической поверхности 25 резонатора 19. В результате сушки получают тонкие порошки продуктов с влажностью до 0,8%. Высокие относительные скорости фаз в зоне выхода теплоносителя из тангенциальных сопел способствуют проведению процесса сушки с максимальной интенсивностью.
Формула изобретения
1. Распылительная сушилка со встречными закрученными потоками с инертным носителем, содержащая цилиндрический корпус с, по крайней мере, двумя тангенциальными соплами для подачи теплоносителя, в которых размещены пневматические форсунки для подачи раствора в слой инертного носителя, отличающаяся тем, что центральный газоход предназначен для отвода отработанного теплоносителя, между поверхностями корпуса и перфорированной решеткой, расположенной перпендикулярно оси корпуса над срезом газохода, высушиваемый раствор напыляется форсунками на частицы инертного носителя, высушивается на них, отделяется от их поверхности и выносится потоком отработанного теплоносителя через газоход, при этом часть частиц высушиваемого раствора поступает в бункер, а другая часть частиц высушиваемого раствора из газохода по трубопроводу поступает в акустическую установку, оптимальными параметрами которой для звуковой обработки среднедисперсной пыли являются: уровень звукового давления 140 дБ и более, частота колебательного движения 900 Гц, концентрация пыли в потоке не менее 2 г/м3, время озвучивания 1,5…2 с, после чего поток направляется в циклон, рукавный фильтр с бункером, из которого готовый продукт поступает на транспортер, а система подачи влажного исходного раствора выполнена в виде акустических форсунок, содержащих корпус с размещенным внутри генератором ультразвуковых колебаний в виде сопла и кольцевого объемного резонатора, причем корпус выполнен в виде вертикально расположенной цилиндрической втулки, в верхней части которой расположена трубка для подвода воздуха, перпендикулярно ее оси расположена трубка для подвода раствора, при этом внутри корпуса, соосно ему, жестко закреплена втулка с верхним и нижним фланцами, причем нижний фланец жестко зафиксирован в проточке, выполненной в корпусе, а внутри втулки, соосно ей, расположен кольцевой объемный резонатор, выполненный в виде чашки с конической поверхностью, при этом чашка запрессована на стержне диаметром d резонатора, а в его хвостовой части расположены фиксирующие диски, выполненные в виде упругих лепестков, взаимодействующих с внутренней поверхностью втулки, причем в нижнем фланце расположено, по крайней мере, одно сопло под углом 20÷40° к оси резонатора, при этом продолжение оси сопла лежит на окружности, находящейся в средней части конической поверхности, а на внутренней поверхности втулки выполнены соосные коническое и цилиндрическое отверстия.
2. Сушилка по п.1, отличающаяся тем, что отношение высоты h1 кольцевого объемного резонатора к расстоянию h между верхним основанием конической поверхности и нижней торцевой поверхностью корпуса лежит в оптимальном интервале величин: h1/h=1÷3; отношение внутреннего диаметра d1 чашки резонатора к диаметру d2 его внешней цилиндрической поверхности лежит в оптимальном интервале величин: d1/d2=0,7÷0,9; отношение внутреннего диаметра d1 чашки резонатора к диаметру d его стержня лежит в оптимальном интервале величин: d1/d=1÷3.
РИСУНКИ
|
|