|
(21), (22) Заявка: 2007123810/06, 25.06.2007
(24) Дата начала отсчета срока действия патента:
25.06.2007
(30) Конвенционный приоритет:
20.06.2006 UA a200606905
(46) Опубликовано: 10.03.2009
(56) Список документов, цитированных в отчете о поиске:
US 5207409 А, 04.05.1993. RU 2056561 C1, 20.03.1996. SU 1268856 A1, 07.11.1986. GB 1242222 A, 11.08.1971. US 3436054 A, 01.04.1969. US 3204919 А, 07.09.1965. DE 2307035 A1, 23.08.1973.
Адрес для переписки:
49010, Украина, г. Днепропетровск, ул. Акад. Лазаряна, 4, кв.26, С.Н. Кущенко
|
(72) Автор(ы):
Кущенко Сергей Николаевич (UA), Липицкий Станислав Григорьевич (UA)
(73) Патентообладатель(и):
Кущенко Сергей Николаевич (UA), Липицкий Станислав Григорьевич (UA)
|
(54) ПЕРЕЖИМНОЙ КЛАПАН
(57) Реферат:
Изобретение относится к трубопроводной арматуре и предназначено для использования в качестве диафрагменного запорного или регулирующего устройства в трубопроводных системах. Пережимной клапан содержит трубчатую диафрагму в виде эластичного цилиндрического патрубка. Этот патрубок имеет фланцы, сочлененные с фланцами клапана, и два поперечных гофра. Гофры расположены симметрично относительно средней пережимной части патрубка. Упомянутая средняя часть патрубка взаимодействует с механизмом пережима. Гофры в поперечном сечении имеют форму овала или эллипса. У овала или эллипса меньшая ось расположена в плоскости пережима. Длина меньшей оси составляет 1,1-1,2 от диаметра патрубка. Длина большей оси составляет 1,3-1,5 от диаметра патрубка. Гофры выполнены радиусом, равным 0,1-0,2 от диаметра патрубка, и сопряжены со стенкой патрубка плавными переходными участками. Радиус переходных участков равен 0,05-0,10 от диаметра патрубка. Изобретение направлено на повышение надежности работы пережимного клапана. 6 ил.
Изобретение относится к диафрагменным запорным устройствам, содержащим трубчатую диафрагму с гофрированной стенкой, сжимаемую внешними радиальными силами, и может быть использовано в пережимных клапанах, роторных машинах и насосах с упругодеформируемыми стенками рабочих камер, насосах с трубчатыми эластичными органами, а также в шланговых затворах и задвижках, работающих с нейтральными и агрессивными средами.
Из уровня техники широко известны пережимные клапаны, содержащие трубчатую диафрагму с гладкой стенкой, выполненную в виде эластичного цилиндрического патрубка, имеющего фланцы, сочлененные с фланцами клапана, и среднюю пережимную часть, взаимодействующую с механизмом пережима /SU 498439 (Столбов Б.П. и др.) (SU) 05.01.1976; RU 2011088 С1 (Научно-производственное объединение «Нефтехимавтоматика») (RU) 15.04.1994; RU 2059908 С1 (Научно-производственное объединение арматуростроения «Знамя труда» им. И.И.Лепсе) (RU) 10.05.1992; US 6095492 (Rubitec AG) (CH) 01.08.2000; US 6394411 (Acorn Vac. Inc.) (US) 28.05.2002; US 6505810 B2 (Andre T. Abromaitis) (US) 14.01.2003; US 6736163 (Larox Flowsys Oy) (FI) 18.05.2004; EP 1564456 A1 (Red Valve Company Inc.) (US) 12.02.2004; CN 2641403 Y (Shuangyu Anti Corrosion Equipm) (CN) 15.09.2004/.
Недостатком пережимных клапанов, содержащих трубчатую диафрагму с гладкой стенкой, выполненную в виде эластичного цилиндрического патрубка, является низкий срок службы трубчатой диафрагмы клапанов, особенно клапанов, работающих с агрессивными и/или абразивными средами.
Вызвано это тем, что при переводе клапана из положения «открыто» в положение «закрыто», под действием механизма пережима верхние и нижние части стенки средней пережимной части при сближении нажимных элементов пережимных траверс смыкаются.
Это вызывает значительное и неравномерное растяжение резиновой стенки по периметру цилиндрического патрубка в осевом направлении.
При многократном переводе клапана из одного положения в другое постепенно появляются трещины, которые сопровождаются разрывом резиновой стенки эластичного цилиндрического патрубка, потере работоспособности и снижению надежности пережимного клапана.
Для уменьшения хода нажимных элементов пережимных траверс механизма пережима и уменьшения степени растяжения контактирующих частей резиновой стенки трубчатой диафрагмы в осевом направлении нашли применение пережимные клапаны, содержащие трубчатую диафрагму с гладкой стенкой, выполненную в виде эластичного патрубка, имеющего фланцы, сочлененные с фланцами клапана, и среднюю пережимную часть, взаимодействующую с механизмом пережима, в которых патрубки выполнены некруглой формы, например, в виде овала или ромба, большая ось которого находится в плоскости пережима (смыкания) /US 3733046 (Resistoflex Corporation) (US) 15.05.1973; US 3770023 (Resistoflex Corporation)(US) 06.11.1973; WO 9514171 (Material Transportation Tehnologies PTY, Ltd) (AU) 26.05.1995; WO 9617173 (Material Transportation Tehnologies PTY, Ltd) (AU) 06.07.1996; WO 9634203 (Material Transportation Tehnologies PTY, Ltd) (AU) 31.10.1996; WO 2005052419 A1 (Crane Process Flow Technologies Limited) (GB) 09.06.2005; JP 2004293782 A (Mitshuboshi Co Ltd) (JP) 21.10.2004/.
Благодаря такой конструкции трубчатой диафрагмы несколько улучшаются условия ее работы, что повышает надежность клапана.
Однако при этом уменьшается площадь проходного сечения и снижается количество транспортируемой среды.
Это приводит к существенному уменьшению пропускной способности пережимного клапана, что ограничивает применение данной конструкции.
Для повышения пропускной способности нашли применение пережимные клапаны, содержащие трубчатую диафрагму с гладкой стенкой, выполненную в виде эластичного тонкостенного цилиндрического патрубка, имеющего фланцы, сочлененные с фланцами клапана, и складки в средней пережимной части патрубка /US 6948696 B1 (General Rubber Corporation) (US) 27.09.2005/.
Однако пережимные клапаны с такой конструкцией трубчатой диафрагмы, во-первых, могут использоваться только с тонкой стенкой для возможности формирования складок, что ограничивает их применение только при небольших перепадах давления, а во-вторых, не гарантируют образование предусмотренных складок при переводе клапана из положения «закрыто» в положение «открыто».
По этой причине такие пережимные клапаны имеют низкую эксплуатационную надежность и не нашли широкого применения в технике.
Из уровня техники известен пережимной клапан, содержащий трубчатую диафрагму, выполненную в виде эластичного цилиндрического патрубка, имеющего фланцы, сочлененные с фланцами клапана, и два поперечных гофра, расположенных симметрично относительно средней пережимной части патрубка /US 6102361 A (Esko A. Riikonen)(US) 15.08.2000/.
В связи с тем, что в этом клапане трубчатая диафрагма сжимается внешними радиальными силами посредством давления воздуха и требует наличия компрессорной установки и дополнительного пневматического оборудования, что снижает эксплуатационную надежность его конструкции, то из-за этого такая кострукция пережимного клапана не нашла широкого применения в технике.
Из уровня техники известен наиболее близкий по количеству общих признаков и достигаемому техническому результату пережимной клапан, содержащий трубчатую диафрагму, выполненную в виде эластичного цилиндрического патрубка, имеющего фланцы, сочлененные с фланцами клапана, и два поперечных гофра, расположенных симметрично относительно средней пережимной части патрубка, взаимодействующей с механизмом пережима /US 5207409 A (Riikonen Esko A.) (US) 04.05.1993, наиболее близкий аналог – прототип).
Этот клапан снабжен механизмом пережима, имеющим пережимные траверсы с нажимными элементами, взаимодействующими со средней пережимной частью патрубка.
Поперечные гофры выполнены в виде полуторов и в поперечном сечении имеют форму кольца, концентрично описанного вокруг цилиндрического патрубка.
При переводе клапана из положения «открыто» в положение «закрыто», под действием механизма пережима средняя пережимная часть при сближении нажимных элементов пережимных траверс смыкается.
Такая конструкция трубчатой диафрагмы пережимного клапана обеспечивает ему высокую пропускную способность и более продолжительный срок службы.
Это достигается за счет наличия поперечных гофров, которые распрямляются при переводе клапана из положения «открыто» в положения «регулирование» или «закрыто», при которых происходит частичный или полный пережим трубчатой диафрагмы в упомянутых положениях.
Однако и эта конструкция пережимного клапана не лишена недостатков.
Существенным недостатком прототипа является недостаточная надежность трубчатой диафрагмы пережимного клапана.
Объяснятся это следующими причинами.
Из гидродинамики известно, что резкое изменение проходного сечения канала трубопровода создает повышенное гидравлическое сопротивление в этом месте.
Например, при резком расширении в зоне кольцевых гофров трубчатой диафрагмы образуются завихрения потока и снижение давления транспортируемой жидкости в положениях «открыто» и «регулирование», что нарушает ламинарный режим ее течения.
За счет этого снижается пропускная способность и надежность трубчатой диафрагмы и пережимного клапана.
Кроме того, в процессе пережима кольцевые гофры не учитывают неравномерность растяжения стенки эластичного цилиндрического патрубка в его верхней и нижней, а также в средней частях в осевом направлении.
В результате кольцевые гофры трубчатой диафрагмы при переводе пережимного клапана из положения «открыто» в положение «закрыто» в осевом направлении распрямляются неравномерно.
Например, в положении «закрыто» максимальное изменение ширины патрубка в плоскости пережима (продольной горизонтальной плоскости) составляет 1=( d/2-d)=0,5d, а максимальное изменение высоты патрубка в плоскости действия нажимных элементов пережимных траверс механизма пережима (продольной вертикальной плоскости) составляет 2=d.
Поэтому удлинение стенки патрубка между его фланцами происходит в осевом направлении также неодинаково.
Например, в плоскости пережима (продольной горизонтальной плоскости) удлинение стенки патрубка происходит в меньшей степени, чем в плоскости действия нажимных элементов пережимных траверс механизма пережима (продольной вертикальной плоскости).
При многократном переводе пережимного клапана из положения «открыто» в положение «закрыто» неравномерная деформация стенки и гофров трубчатой диафрагмы вызывает образование трещин и разрывов на участках, подверженных наибольшим растяжениям или перегибам, что сокращает срок службы, а также снижает надежность трубчатой диафрагмы и пережимного клапана.
В связи с тем, что при переводе пережимного клапана из положения «открыто» в положение «закрыто» трубчатая диафрагма и ее гофры в осевом направлении деформируются неравномерно, то в промежуточном положении – положении «регулирование» – образуются «излишки» стенки гофров в плоскости пережима.
По этой причине в этих местах формируются так называемые пазухи, которые создают завихрение и нарушение сплошности потока транспортируемой среды.
Это нарушает режим ее ламинарного течения и снижает надежность трубчатой диафрагмы и пережимного клапана.
А наличие в трубчатой диафрагме острых переходных участков в местах сопряжения гофров с цилиндрической стенкой помимо создания гидравлического сопротивления способствует образованию в этих местах дополнительно концентраторов механических напряжений.
Поэтому при эксплуатации пережимного клапана упомянутые концентраторы напряжений трубчатой диафрагмы приводят к образованию в ней трещин и разрыву стенки, что сокращает срок службы, а также снижает надежность трубчатой диафрагмы пережимного клапана.
Технической задачей, на решение которой направлено изобретение, является усовершенствование конструкции пережимного клапана путем выполнения гофров трубчатой диафрагмы такой формы и с такими геометрическими параметрами, при которых в положениях клапана «регулирование» и «закрыто» они распрямляются равномерно, а участки сопряжения гофров со стенкой трубчатой диафрагмы не имели концентраторов напряжений.
Технический результат, который достигается при решении технической задачи, заключается в повышении надежности трубчатой диафрагмы и пережимного клапана.
Поставленная техническая задача решается, а технический результат достигается тем, что в пережимном клапане, содержащем трубчатую диафрагму, выполненную в виде эластичного цилиндрического патрубка, имеющего фланцы, сочлененные с фланцами клапана, и два поперечных гофра, расположенных симметрично относительно средней пережимной части патрубка, взаимодействующей с механизмом пережима, согласно изобретению гофры в поперечном сечении имеют форму овала или эллипса, у которого меньшая ось расположена в плоскости пережима, длина меньшей оси составляет А=1,1-1,2 диаметра D патрубка, а длина большей оси составляет В=1,3-1,5 диаметра D патрубка, при этом гофры выполнены радиусом, равным R1=0,1-0,2 диаметра D патрубка, и сопряжены со стенкой патрубка плавными переходными участками, радиус которых равен R2=0,05-0,10 диаметра D патрубка.
Приведенные признаки, характеризующие изобретение, являются существенными, так как в совокупности достаточны для обеспечения работоспособности и решения поставленной технической задачи, а каждый в отдельности необходим для идентификации и отличия заявленного пережимного клапана от известных в технике аналогичных технических решений.
Эта совокупность общих и отличных от прототипа существенных признаков, которыми характеризуется усовершенствованный пережимной клапан, является новой и достаточной во всех случаях, на которые распространяется объем правовой защиты, так как решает поставленную техническую задачу.
Причинно-следственная связь между новой совокупностью существенных признаков и достигаемым результатом заключается в следующем.
В связи с тем, что гофры в поперечном сечении имеют форму овала или эллипса, у которого меньшая ось расположена в плоскости пережима, длина меньшей оси составляет А=1,1-1,2 диаметра D патрубка, а длина большей оси составляет В=1,3-1,5 диаметра D патрубка, достигается образование гофров различной ширины по периметру патрубка.
При этом длина дуги гофров патрубка в поперечном сечении плавно уменьшается от максимального значения в вертикальной плоскости до минимального значения в горизонтальной плоскости (плоскости пережима).
Необходимость такого выполнения обусловлена тем, что при переводе пережимного клапана из положения «открыто» в положения «регулирование» и «закрыто» наибольшее удлинение стенки патрубка в осевом направлении происходит в вертикальной плоскости, а наименьшее удлинение стенки патрубка происходит в горизонтальной плоскости (плоскости пережима).
Это позволяет избежать образования «излишков» стенки гофров в плоскости пережима и исключить возможность формирования так называемых пазух, которые создают завихрения и нарушение сплошности потока транспортируемой среды, что нарушает режим ее ламинарного течения.
За счет этого достигается повышение надежности трубчатой диафрагмы пережимного клапана.
Опытным путем установлено, что выбор длины меньшей и большей осей меньше нижнего предела /A=1,1D/ /B=1,3D/ не целесообразен.
Объясняется это тем, что в этом случае чрезмерно уменьшается длина дуги стенки гофров в осевом направлении, и при переводе пережимного клапана из положения «открыто» или «регулирование» в положение «закрыто» стенка трубчатой диафрагмы будет подвергаться растяжению в осевом направлении.
Это приводит к образованию трещин, разрыву стенки и потере работоспособности трубчатой диафрагмы, что снижает срок ее службы и надежность эксплуатации.
Опытным путем установлено, что выбор длины меньшей и большей осей больше верхнего предела /A=1,2D/ /B=1,5D/ также не целесообразен.
Вызвано это тем, что в этом случае чрезмерно увеличивается длина дуги стенки гофров в осевом направлении и при переводе пережимного клапана из положения «открыто» в положение «регулирование» образуются «излишки» стенки гофров в плоскости пережима.
При этом в этих местах формируются так называемые пазухи, которые создают завихрение и нарушение сплошности потока транспортируемой среды, что нарушает режим ее ламинарного течения и снижает надежность трубчатой диафрагмы пережимного клапана.
Выполнение гофров радиусом, равным R1=0,1-0,2 диаметра D патрубка, обеспечивает формирование стенки гофров такой оптимальной формы, которой было бы достаточно для того, чтобы стенка трубчатой диафрагмы только распрямлялась, но не растягивалась в осевом направлении при переводе пережимного клапана из положения «открыто» в положение «закрыто».
Выбранный радиус гофров /R1=(0,1-0,2)D/ определен опытным путем и является оптимальным для формирования стенки гофров такой ширины, при которой происходит ее равномерное полное распрямление при переводе пережимного клапана из положения «открыто» в положение «закрыто», что повышает его надежность.
Опытным путем установлено, что выбор радиуса гофров меньше нижнего предела /R1=0,1D/ не целесообразен, так как в этом случае запаса стенки гофров становится недостаточно и трубчатая диафрагма подвергается растяжению в осевом направлении при переводе пережимного клапана из положения «открыто» в положение «закрыто», что снижает его надежность.
Опытным путем установлено, что выбор радиуса гофров больше верхнего предела /R1=0,2D/ также не целесообразен, так как в этом случае при переводе пережимного клапана из положения «открыто» в положение «регулирование» образуются «излишки» стенки гофров в плоскости пережима.
В результате в этих местах формируются так называемые пазухи, которые создают завихрения и нарушение сплошности потока транспортируемой среды, что нарушает режим ее ламинарного течения и снижает надежность трубчатой диафрагмы и пережимного клапана.
В связи с тем, что гофры сопряжены со стенкой патрубка плавными переходными участками, радиус которых равен R2=0,05-0,10 диаметра D патрубка, достигается снижение гидравлического сопротивления и концентраторов механических напряжений, что значительно повышает пропускную способность, срок службы, а также надежность трубчатой диафрагмы и пережимного клапана.
Выбранный радиус сопряжения гофров со стенкой патрубка /R2=(0,05-0,10)D/ определен опытным путем и является оптимальным для существенного снижения гидравлического сопротивления и концентраторов механических напряжений и повышения надежности трубчатой диафрагмы и пережимного клапана.
Опытным путем установлено, что выбор радиуса сопряжения гофров со стенкой патрубка меньше нижнего предела /R2=0,05D/ не целесообразен, так как в этом случае не достигается существенное снижение гидравлического сопротивления и снижение влияния концентраторов механических напряжений и заметное повышение надежности трубчатой диафрагмы и пережимного клапана.
Опытным путем установлено, что выбор радиуса сопряжения гофров со стенкой патрубка больше верхнего предела /R2=-0,10D/ также не целесообразен, так как в этом случае дальнейшее снижение гидравлического сопротивления снижение влияния концентраторов механических напряжений практически не происходит, в результате чего заметное повышение надежности трубчатой диафрагмы и пережимного клапана не достигается.
Из уровня техники заявители не выявили технические решения, совпадающие с общими и отличительными признаками заявляемого пережимного клапана, что свидетельствует о том, что предлагаемое техническое решение не является частью уровня техники и соответствует критерию изобретения «новизна».
Из уровня техники заявители не выявили технические решения, совпадающие с отличительными признаками заявляемого пережимного клапана, что свидетельствует о том, что предлагаемое техническое решение для специалиста не является очевидным, не выплывает явно из уровня техники и соответствует критерию изобретения «изобретательский уровень».
В дальнейшем изобретение поясняется подробным описанием его конструкции и работы со ссылками на прилагаемые чертежи.
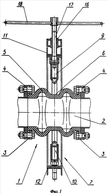
На фиг.1 изображен пережимной клапан, вид сбоку, положение «открыто».
На фиг.2 изображен пережимной клапан, вид сбоку, положение «регулирование».
На фиг.3 изображен пережимной клапан, вид сбоку, положение «закрыто».
На фиг.4 изображен пережимной клапан, вид спереди, положение «открыто».
На фиг.5 изображена трубчатая диафрагма пережимного клапана, вид сбоку.
На фиг.6 изображен разрез А-А на фиг.5.
Пережимной клапан (фиг.1-6) содержит трубчатую диафрагму 1, выполненную в виде эластичного цилиндрического патрубка 2, имеющего фланцы 3, сочлененные с фланцами 4 клапана, и два поперечных гофра 5, расположенных симметрично относительно средней пережимной части 6 патрубка 2, взаимодействующей с механизмом 7 пережима.
Особенностью конструкции пережимного клапана является то, что гофры 5 в поперечном сечении имеют форму овала или эллипса (фиг.5, 6), у которого меньшая ось расположена в плоскости пережима.
Длина меньшей оси составляет А=1,1-1,2 диаметра D патрубка 2.
Длина большей оси составляет В=1,3-1,5 диаметра D патрубка 2.
Гофры 5 выполнены радиусом, равным R1=0,1-0,2 диаметра D патрубка 2, и сопряжены со стенкой патрубка 2 плавными переходными участками 8, радиус которых равен R2=0,05-0,10 диаметра D патрубка 2.
Механизм 7 пережима содержит взаимодействующие с пережимной частью 6 патрубка 2 нажимные элементы 9, 10, закрепленные на пережимных траверсах 11, 12.
Пережимные траверсы 11, 12 (фиг.4) посажены с возможностью возвратно-поступательного перемещения на направляющие 13, скрепленные между собой балками 14, 15.
Пережимная траверса 11 посредством гайки 16 связана с ходовым винтом 17, который приводится во вращение рычагом 18.
Пережимной клапан работает следующим образом.
В исходном положении, например в положении «открыто» (фиг.1), нажимные элементы 9, 10 и пережимные траверсы 11, 12 с помощью рычага 18, ходового винта 17 и гайки 16 разведены так, что трубчатая диафрагма 1, выполненная в виде эластичного цилиндрического патрубка 2, находится в свободном состоянии.
При этом проходное сечение трубчатой диафрагмы 1 в области средней пережимной части 6 в поперечном сечении имеет форму круга.
Транспортируемая среда под действием рабочего давления беспрепятственно прокачивается через трубчатую диафрагму 1.
В связи с тем, что гофры 6 сопряжены со стенкой патрубка 2 плавными переходными участками 8, радиус которых равен R2=0,05-0,10 диаметра D патрубка 2, достигается снижение гидравлического сопротивления и существенное уменьшение концентраторов механических напряжений.
Это обеспечивает высокую пропускную способность и значительно повышает срок службы и надежность трубчатой диафрагмы 1 и пережимного клапана.
Для изменения проходного сечения и тем самым снижения расхода транспортируемой среды через пережимной клапан последний из положения «открыто» (фиг.1) переводится в положение «регулирование» (фиг.2).
Для этого среднюю пережимную часть 6 патрубка 2, взаимодействующую с механизмом 7 пережима, частично сжимают.
Осуществляется это путем вращения рычага 18 в направлении, при котором ходовой винт 17 ввинчивается в гайку 16 и пережимные траверсы 12, 13 сближаются.
При сближении нажимные элементы 9, 10 сжимают сверху и снизу среднюю пережимную часть 6 патрубка 2 трубчатой диафрагмы 1, ее проходное сечение уменьшается, принимает форму овала, большая ось которого расположена в плоскости пережима.
Сопровождается это неравномерным изменением геометрических параметров патрубка 2.
Так, изменение ширины патрубка 2 в плоскости пережима (продольной горизонтальной плоскости) по сравнению с изменением высоты патрубка 2 в плоскости действия нажимных элементов 9, 10 пережимных траверс 11, 12 механизма 7 пережима происходит в меньшей степени примерно в два раза.
Поэтому удлинение стенки патрубка 2 между его фланцами 3 происходит в осевом направлении также неодинаково.
Например, в плоскости пережима (продольной горизонтальной плоскости) удлинение стенки патрубка 2 между его фланцами 3 в осевом направлении происходит интенсивней, чем в плоскости действия нажимных элементов 9, 10 пережимных траверс 11, 12 механизма 7 пережима (продольной вертикальной плоскости).
Такое неравномерное удлинение стенки патрубка 2 в осевом направлении компенсируется частичным распрямлением гофров 5.
В связи с тем, что длина дуги гофров 6 патрубка 2 в поперечном сечении плавно уменьшается от максимального значения в вертикальной плоскости, где при переводе пережимного клапана из положения «открыто» (фиг.1) в положения «регулирование» (фиг.2) происходит большее удлинение стенки патрубка 2 в осевом направлении, до минимального значения в горизонтальной плоскости (плоскости пережима), где в этом случае происходит меньшее удлинение стенки патрубка 2, то это позволяет избежать образования «излишков» стенки гофров 5 в плоскости пережима.
При этом исключается возможность формирования так называемых пазух, которые создают завихрения и нарушение сплошности потока транспортируемой среды, что нарушает режим ее ламинарного течения через пережимной клапан.
За счет этого достигается повышение надежности трубчатой диафрагмы 1 и пережимного клапана.
Для перекрытия проходного сечения и тем самым прекращения расхода транспортируемой среды через пережимной клапан последний из положения «регулирование» (фиг.2) переводится в положение «закрыто» (фиг.3).
Для этого среднюю пережимную часть 6 патрубка 2, взаимодействующую с механизмом 7 пережима, полностью сжимают.
Это осуществляется путем дальнейшего вращения рычага 18 в направлении, при котором ходовой винт 17 ввинчивается в гайку 16 и пережимные траверсы 11, 12 полностью сжимают среднюю пережимную часть 6 патрубка 2.
При этом нажимные элементы 9, 10 сжимают сверху и снизу среднюю пережимную часть 6 патрубка 2 трубчатой диафрагмы 1, и ее проходное сечение полностью перекрывается стенками патрубка 2, сомкнутыми в плоскости пережима.
В связи с тем, что гофры 5 в поперечном сечении выполнены в виде овала или эллипса (фиг.5, 6), у которого меньшая ось расположена в плоскости пережима, длина меньшей оси составляет А=1,1-1,2 диаметра D патрубка, а длина большей оси составляет В=1,3-1,5 диаметра D патрубка, а также радиусом, равным R1=0,1-0,2 диаметра D патрубка, обеспечивается формирование гофров 5 оптимальной формы.
Такая форма гофров 5 при переводе пережимного клапана из положения «регулирование» (фиг.2) в положение «закрыто» (фиг.3) обеспечивает полную компенсацию неравномерного удлинения стенки трубчатой диафрагмы 1 в осевом направлении в вертикальной и горизонтальной плоскостях за счет полного распрямления стенок ее гофров 5.
Поэтому при переводе пережимного клапана из положения «регулирование» в положение «закрыто» (фиг.3) стенки гофров 5 и стенка трубчатой диафрагмы 1 только распрямляются, но не растягиваются в осевом направлении.
При таких геометрических параметрах гофров 5 происходит их равномерное и полное распрямление в осевом направлении в положении «закрыто», что повышает надежность трубчатой диафрагмы 1 и пережимного клапана.
Перевод пережимного клапана из положения «закрыто» (фиг.3) в положение «регулирование» (фиг.2) или положение «открыто» (фиг.1, 4) производится в обратной последовательности.
Изобретение может быть многократно воспроизведено промышленным способом на любом машиностроительном предприятии с применением обычных материалов и универсального оборудования, что свидетельствует о том, что заявляемый пережимной клапан соответствует критерию изобретения «промышленная применимость».
Перечень обозначений:
1. Трубчатая диафрагма
2. Эластичный цилиндрический патрубок
3. Фланец трубчатой диафрагмы
4. Фланец пережимного клапана
5. Поперечный гофр
6. Пережимная часть патрубка
7. Механизм пережима
8. Плавный переходной участок
9. Нажимной элемент
10. Нажимной элемент
11. Пережимная траверса
12. Пережимная траверса
13. Направляющая
14. Балка
15. Балка
16. Гайка
17. Ходовой винт
18. Рычаг
Формула изобретения
Пережимной клапан, содержащий трубчатую диафрагму, выполненную в виде эластичного цилиндрического патрубка, имеющего фланцы, сочлененные с фланцами клапана, и два поперечных гофра, расположенных симметрично относительно средней пережимной части патрубка, взаимодействующей с механизмом пережима, отличающийся тем, что гофры в поперечном сечении имеют форму овала или эллипса, у которого меньшая ось расположена в плоскости пережима, длина меньшей оси составляет А=1,1-1,2 диаметра D патрубка, а длина большей оси составляет В=1,3-1,5 диаметра D патрубка, при этом гофры выполнены радиусом, равным R1=0,1-0,2 диаметра D патрубка, и сопряжены со стенкой патрубка плавными переходными участками, радиус которых равен R2=0,05-0,10 диаметра D патрубка.
РИСУНКИ
|