|
|
(21), (22) Заявка: 2007121386/11, 08.06.2007
(24) Дата начала отсчета срока действия патента:
08.06.2007
(46) Опубликовано: 10.03.2009
(56) Список документов, цитированных в отчете о поиске:
RU 2295664 C1, 20.03.2007. RU 2270389 C2, 20.02.2006. EP 0357584 A1, 07.03.1990. GB 495857 A, 21.11.1938. SU 769153 A1, 07.10.1980.
Адрес для переписки:
144552, Московская обл., Солнечногорский р-н, п. Ржавки, ГУ ВНИИПП, отд.6, Н.В. Колокольниковой
|
(72) Автор(ы):
ПЫШНЕНКО Геннадий Иванович (RU)
(73) Патентообладатель(и):
Государственное учреждение Всероссийский научно-исследовательский институт птицеперерабатывающей промышленности (ГУ ВНИИПП) (RU)
|
(54) КУЛАЧКОВЫЙ ПРОСТРАНСТВЕННЫЙ МЕХАНИЗМ
(57) Реферат:
Изобретение относится к области общего машиностроения и может быть использовано в передаточных механизмах для преобразования вращательного движения в возвратно-поступательное и вращательное с заданными законами движения. Кулачковый пространственный механизм включает в себя неподвижный цилиндрический (гиперболоидный, конический) кулачок, зубчатое колесо, вращающееся звено с неподвижной штангой и шестерней и толкатель с роликом. Толкатель соединен с шестерней с помощью подвижного соединения, а с роликом – с помощью установленного на штанге ползуна. Зубчатое колесо установлено с возможностью вращения относительно оси кулачка и выполнено двухвенцовым с большим «в» и малым «d» венцами. На вращающемся звене дополнительно закреплено зубчатое колесо с внутренним зацеплением, а на оси кулачка дополнительно жестко установлен диск с одной или более паразитными шестернями. Причем паразитная шестерня одновременно входит в зацепление с зубчатым колесом с внутренним зацеплением и с малым венцом «d» двухвенцового зубчатого колеса. Изобретение направлено на увеличение количества оборотов толкателя вокруг своей продольной оси в заданных габаритах механизма. 1 ил.
Изобретение относится к области общего машиностроения и может быть использовано в передаточных механизмах для преобразования вращательного движения в возвратно-поступательное и вращательное с заданными законами движения.
Известен кулачковый пространственный механизм, превращающий вращательное движение в возвратно-поступательное с заданным законом движения (см. механизм №№2878, И.И.Артоболевский «Механизмы в современной технике», том 5, стр.54, Москва, «Наука», 1981 г.).
В этом механизме вращательное движение звена превращается в возвратно-поступательное движение толкателя в неподвижных направляющих, при этом толкатель совершает также вращательное движение вокруг неподвижной оси кулачка. Организовать вращение толкателя вокруг своей продольной оси в таком механизме невозможно.
Наиболее близким по технической сущности к изобретению является кулачковый пространственный механизм с неподвижным кулачком (см. механизм по заявке №2005122213/11 от 14.07.05 г.). Механизм состоит из цилиндрического гиперболоидного конического кулачка, толкателя с роликом и вращающегося звена. На кулачке установлено зубчатое колесо, а на вращающемся звене – неподвижная штанга и шестерня, входящая в зацепление с зубчатым колесом. Толкатель соединен с шестерней с помощью подвижного соединения, а с роликом – через установленный на штанге (штангах) ползун. Цилиндрический кулачок, имеющий паз, – неподвижен. При вращении вращающегося звена толкатель совершает сложное движение, состоящее из вращательного движения вокруг неподвижной оси цилиндрического кулачка, возвратно-поступательного движения вдоль направляющей вращающегося звена параллельно образующей цилиндрического кулачка, и вращательное движение вокруг своей продольной оси.
Недостатком этого механизма является то, что количество оборотов толкателя (nТ) вокруг своей продольной оси ограничено и составляет в заданных габаритах за один оборот вращающегося звена величину, равную отношению количества зубьев (Z1) зубчатого колеса, установленного на кулачке, к количеству зубьев шестерни (Z2):

Задачей настоящего изобретения является увеличение количества оборотов толкателя (nТ) вокруг своей продольной оси в заданных габаритах механизма.
Решение технической задачи достигается тем, что в кулачковом пространственном механизме, содержащем неподвижный цилиндрический гиперболоидный, конический кулачок, зубчатое колесо, вращающееся звено с неподвижной штангой и шестерней и толкатель с роликом, соединенный с шестерней с помощью подвижного соединения, а с роликом с помощью установленного на штанге ползуна, зубчатое колесо установлено с возможностью вращения относительно неподвижной оси кулачка и выполнено двухвенцовым с большим и малым венцами, на вращающемся звене закреплено зубчатое колесо с внутренним зацеплением, а на оси кулачка дополнительно жестко установлен диск с одной или более паразитной шестерней, одновременно входящей в зацепление с зубчатым колесом с внутренним зацеплением и с малым венцом двухвенцового зубчатого колеса.
Технический результат достигается тем, что в предлагаемом механизме шестерня, установленная во вращающемся звене, обкатывается по большому венцу двухвенцового зубчатого колеса, которое получает дополнительное вращение, противоположенное вращению вращающегося звена, за счет передачи вращения от зубчатого колеса с внутренним зацеплением через паразитную шестерню малому венцу двухвенцового колеса, что увеличивает количество оборотов толкателя вокруг своей оси за один оборот вращающегося звена.
Сопоставительный анализ с прототипом показывает, что заявляемый механизм отличается конструктивным выполнением зубчатого колеса и способом его установки и дополнительно оснащен зубчатым колесом с внутренним зацеплением и неподвижным диском с одной или несколькими паразитными шестернями, что позволяет придать толкателю дополнительное количество оборотов вокруг его продольной оси за один оборот вращающегося звена. Таким образом, заявляемый механизм соответствует критерию «новизна».
Сравнение заявляемого решения не только с прототипом, но и с другими техническими решениями не выявило в них признаки, отличающие заявляемое решение от прототипа, что позволяет сделать вывод о соответствии критерию «существенные отличия».
Техническое решение поясняется чертежом.
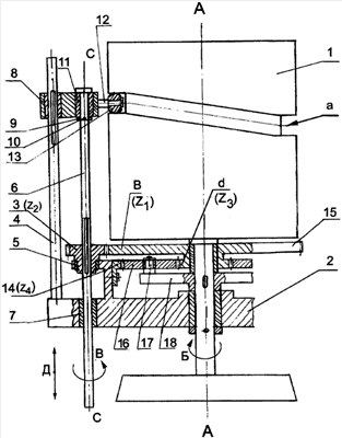
На чертеже изображен общий вид механизма.
На оси А-А кулачка 1 установлено вращающееся звено 2, на котором смонтированы шестерня 3 и штанга 4. Штанга 4 установлена на звене 2 неподвижно, а шестерня 3 с возможностью вращения во втулке 5 звена 2. Толкатель 6 проходит через втулку 7 звена 2, шестерню 3 и закреплен в ползуне 8 с помощью кольца 9 и штифта 10. Соединение толкателя 6 с шестерней 3 подвижное шпоночное (шлицевое или профильное), а с ползуном 8 – с возможностью вращения вокруг оси С-С во втулках 11 и 7. С ползуном 8 жестко соединена ось 12 ролика 13. Сам ползун 8 с помощью шпоночного (шлицевого, профильного) соединения смонтирован на штанге 4.
На вращающемся звене 2 закреплено зубчатое колесо с внутренним зацеплением 14.
На оси А-А кулачка 1 установлено вращающееся двухвенцовое зубчатое колесо 15, большой венец которого «в» находится в зацеплении с шестерней 3, а малый венец «d» – в зацеплении с паразитной шестерней 16, установленной на оси 17 диска 18, закрепленного на оси А-А кулачка 1. В зависимости от нагрузок, передаваемых механизмом, количество паразитных шестерен 16 может быть равным 2, 3 или 4.
Для цилиндрического и гиперболоидного кулачков все зубчатые передачи выполняются цилиндрическими, а для конического кулачка шестерня 3 и большой венец «в» выполняются коническими. Большой венец «в» имеет Z1 зубьев, малый венец «d» – Z3 зубьев, шестерня 4 – Z2 зубьев, колесо 14 – Z4 зубьев.
При вращении звена 2 по направлению Б вокруг оси А-А кулачка 1 толкатель 6 вращается вместе с ним, при этом ролик 13, взаимодействуя с пазом «а» кулачка 1, придает ползуну 8, а следовательно, и соединенному с ним толкателю 6 возвратно-поступательное движение по направлению «Д», параллельному образующей цилиндрического (конического, гиперболоидного) кулачка 1.
При этом толкатель 6 перемещается во втулке 7 и шестерне 3 звена 2, а ползун 8 по штанге 4. Т.к. шестерня 3 находится в зацеплении с большим венцом «в» зубчатого колеса 15, то она, обкатываясь вокруг колеса 15, начинает вращаться вокруг оси С-С толкателя 6 по направлению В во втулке 7 звена 2. Поскольку толкатель 6 соединен с шестерней 3 с помощью подвижного шпоночного (шлицевого, профильного) соединения, то толкатель 6 не только перемещается по направлению Д, но также и вращается по направлению В, во втулке 7 звена 2 и втулке 11 ползуна 8.
Так как вместе с вращением звена 2 вращается колесо с внутренним зацеплением 14, то оно через паразитную шестерню 16 передает вращение малому венцу « » колеса 15, т.е. колесо 15 начинает вращаться в направлении, противоположенном направлению вращения звена 2. Таким образом, находящаяся в зацеплении с венцом «в» колеса 15 шестерня 3 увеличивает свое количество оборотов nТ за один оборот звена 2 по сравнению с механизмом, имеющим неподвижное зубчатое колесо 15.
Если в прототипе, как указывалось выше, количество оборотов шестерни 3 за один оборот звена 2 равно
, то в предлагаемом механизме
так как то 
Таким образом, в заданных габаритных размерах предлагаемый механизм обеспечивает большее количество оборотов толкателя 6 за один оборот вращающегося звена 2.
Формула изобретения
Кулачковый пространственный механизм, включающий неподвижный цилиндрический, или гиперболоидный, или конический кулачок, зубчатое колесо, вращающееся звено с неподвижной штангой и шестерней и толкатель с роликом, соединенный с шестерней с помощью подвижного соединения, а с роликом – с помощью установленного на штанге ползуна, отличающийся тем, что зубчатое колесо установлено с возможностью вращения относительно оси кулачка и выполнено двухвенцовым с большим и малым венцами, на вращающемся звене закреплено зубчатое колесо с внутренним зацеплением, а на оси кулачка дополнительно жестко установлен диск с одной или более паразитной шестерней, одновременно входящей в зацепление с зубчатым колесом с внутренним зацеплением и с малым венцом двухвенцового зубчатого колеса.
РИСУНКИ
|
|