|
|
(21), (22) Заявка: 2007119090/03, 23.05.2007
(24) Дата начала отсчета срока действия патента:
23.05.2007
(46) Опубликовано: 10.03.2009
(56) Список документов, цитированных в отчете о поиске:
RU 2211300 C1, 27.12.2001. SU 977707 A, 30.11.1982. SU 1444505 A1, 15.12.1988. SU 221609 A, 10.10.1968. US 4438976 A, 27.03.1984.
Адрес для переписки:
123182, Москва, пл. Курчатова, 1, здание 333, ООО “Подземгазпром”
|
(72) Автор(ы):
Лапицкий Алексей Анатольевич (RU), Шустров Владимир Павлович (RU)
(73) Патентообладатель(и):
Общество с ограниченной ответственностью (ООО) “Подземгазпром” (RU)
|
(54) СПОСОБ ГЕРМЕТИЗАЦИИ СКВАЖИНЫ ПОДЗЕМНОГО РЕЗЕРВУАРА, ЗАПОЛНЕННОГО РАССОЛОМ
(57) Реферат:
Изобретение относится к области эксплуатации подземных резервуаров в каменной соли и может быть использовано в газовой, нефтяной и других отраслях промышленности. Технический результат – повышение эффективности герметизации скважин, снижение трудоемкости и затрат на восстановительные работы. По способу герметизации скважины подземного резервуара, заполненного рассолом, в его горловине под башмаком обсадной колонны труб создают свободное пространство, извлекая часть рассола, вводят в скважину смесь дизельного топлива, глины и карбоксиметилцеллюлозы в соотношении, мас.%: 58:38:4, создающую на поверхности рассола плавающий изолирующий слой, закрывают подвесную колонну труб у башмака, перфорируют ее стенки. На указанный слой после образования пластичной глинистой пробки подают раствор портландцемента. Извлекают подвесную колонну труб на поверхность, подают герметизирующий состав – шлам магниевого производства или нефелиновый концентрат, обработанный серной кислотой – с помощью продавочной жидкости – извлеченного рассола, и выдерживают под давлением до отверждения. По достижении герметичности затрубного пространства отвержденные материалы разбуривают вдоль вертикальной оси скважины и спускают подвесную колонну труб в резервуар. Изобретение развито в зависимых пунктах. 2 з.п. ф-лы, 2 ил.
Предлагаемое техническое решение относится к области эксплуатации подземных резервуаров, созданных в каменной соли, и может быть использовано в газовой, нефтяной и других отраслях промышленности.
Известен способ ремонта нефтяных и газовых скважин посредством цементирования под давлением, предусматривающий обнаружение дефектного участка цементного кольца обсаженной скважины, установку цементного моста или пакера, очистку образовавшихся каналов в цементном камне от грязи, заполнение их тампонажным раствором из-под башмака обсадной колонны труб, выдержку тампонажного раствора под давлением до момента его отверждения (А.И.Серенко, Н.А.Сидоров, А.Г.Кошелев и др. Вторичное цементирование нефтяных и газовых скважин. «Нефтяная промышленность». Обзорная информация, серия «Бурение», вып.4 (22), М., 1982).
Наиболее близким к предлагаемому является способ ремонта скважин подземных резервуаров, включающий определение интервала расположения вязкопластичных горных пород в заколонном пространстве скважины, негерметичности цементного кольца в заколонном межтрубном пространстве скважины, установку пакера, очистку образовавшихся каналов в цементном кольце, заполнение их тампонажным раствором и выдержку его под давлением до затвердевания с использованием в качестве рабочего раствора для тампонирования заколонного пространства нагретого, предпочтительно до 60-90°С, концентрированного рассола, который прокачивают в заколонном пространстве до уровня расположения вязкопластичных пород. При этом выдержку тампонажного раствора под давлением осуществляют до кристаллизации соли из рассола и, таким образом, проникновения вязкопластичных пород в зону трещинообразований в заколонном цементном кольце (Патент РФ №2211300, МПК Е21В 29/00, опублик. 27.08.2003).
Недостатком указанных способов является трудность их осуществления, высокая стоимость и недостаточная герметичность затрубного пространства скважины.
Решаемая задача заключается в повышении эффективности герметизации скважин подземных резервуаров, заполненных рассолом.
При этом снижаются трудоемкость и затраты на проведение восстановительных работ.
Указанная задача решается при использовании известного способа ремонта скважин подземного резервуара, предусматривающего подачу в затрубное пространство скважины, оборудованной обсадной и подвесной колоннами труб, герметизирующего состава с выдержкой его под давлением до отверждения. В соответствии с предлагаемым способом в качестве герметизирующего состава используют шлам магниевого производства или нефелиновый концентрат, обработанный серной кислотой. Предварительно под башмаком обсадной колонны труб в горловине подземного резервуара создают свободное пространство путем извлечения части рассола из подземного резервуара, вводят в скважину пластичный, нерастворимый в рассоле состав – смесь дизельного топлива, глины и карбоксиметилцеллюлозы, взятых в соотношении, соответственно, мас.%: 58:38:4, создающий на поверхности рассола плавающий изолирующий слой, закрывают подвесную колонну труб у башмака, перфорируют ее стенки, на указанный слой после образования в горловине подземного резервуара пластичной глинистой пробки подают тампонирующий материал – раствор портландцемента, затем извлекают подвесную колонну труб на дневную поверхность, подачу упомянутого герметизирующего состава в затрубное пространство скважины ведут с помощью продавочной жидкости – извлеченного рассола, по достижении герметичности затрубного пространства отвержденные материалы разбуривают вдоль вертикальной оси скважины и осуществляют спуск подвесной колонны труб в подземный резервуар.
Отличие способа заключается также в том, что перфорирование подвесной колонны труб и закрытие ее у башмака производят с предварительным подъемом этой колонны на дневную поверхность.
Другое отличие способа состоит в том, что перед подачей в скважину тампонирующего материала башмак перфорированной подвесной колонны труб устанавливают над пластичной глинистой пробкой.
Создание свободного пространства в заполненном рассолом подземном резервуаре необходимо для образования на поверхности рассола плавающего изолирующего слоя в виде пластичной глинистой пробки, покрываемой в последующем тампонирующим материалом – раствором портландцемента. Образующийся за счет этого непроницаемый плавающий на поверхности рассола слой материалов используют для подачи в подземный резервуар и выдержки под давлением герметизирующего состава.
Использование в качестве герметизирующего состава шлама магниевого производства или нефелинового концентрата, обработанного серной кислотой, позволяет, по сравнению с традиционными тампонажными цементами, существенно повысить герметичность затрубного пространства скважины и одновременно снизить затраты на применяемые материалы. Кроме того, при использовании шлама магниевого производства создается шламовый камень, обладающий хорошей адгезией к металлу обсадной колонны труб, а также к разрушенному цементному камню и вмещающим подземный резервуар породам. Нефелиновый концентрат, обработанный серной кислотой, является гелеобразующим составом, обладающим хорошей проникающей способностью в трещины и поры с образованием прочного геля, который за счет своей вязкости закупоривает возможные пути фильтрации.
Перфорирование и закрытие подвесной колонны труб у башмака перед подачей тампонирующего материала предотвращают гидравлический удар по поверхности плавающей пластичной глинистой пробки, на которую наносимый впоследствии тампонирующий материал подается в виде «струй дождя» из отверстий установленной над плавающим изолирующим слоем перфорированной подвесной колонны труб.
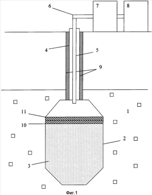
Предлагаемый способ герметизации скважины подземного резервуара, заполненного рассолом, поясняется схемами, представленными на фиг.1, 2.
На фиг.1 показано создание плавающего изолирующего слоя в подземном резервуаре, заполненном рассолом.
На фиг.2 изображена подача герметизирующего состава в затрубное пространство скважины подземного резервуара, заполненного рассолом.
В соответствии с изображением фиг.1 созданный через скважину в каменной соли 1 подземный резервуар 2 заполнен рассолом 3. Скважина оборудована обсадной 4 и подвесной 5 колоннами труб. Подвесная колонна труб 5 посредством наземного трубопровода 6 соединена с блоками подачи 7 и подготовки 8 материалов, используемых в процессе герметизации затрубного пространства 9 скважины подземного резервуара 2. При подаче по подвесной колонне труб 5 пластичного, нерастворимого в рассоле 3 состава на поверхности рассола 3 создается плавающий изолирующий слой 10 из смеси дизельного топлива, глины и карбоксиметилцеллюлозы, взятых в соотношении, соответственно, мас.%: 58:38:4. После образования за счет этого в горловине подземного резервуара 2 пластичной глинистой пробки в виде изолирующего слоя 10, на который затем наносят тампонирующий материал – раствор портландцемента, создающий плотный покрывающий цементный слой 11.
Введение массы герметизирующего состава 12 в скважину подземного резервуара 2 (фиг.2) производят под давлением с подачей ее на цементный слой 11 и последующим продавливанием в затрубное пространство 9 скважины.
Способ реализуется в следующей последовательности технологических операций.
В соответствии с изображением фиг.1 в подземном резервуаре 2, созданном в каменной соли 1 через скважину, оборудованную обсадной 4 и подвесной 5 колоннами труб, проводят вначале геофизические исследования, в частности диагностику цементного камня в затрубном пространстве 9. Поскольку исследуемый подземный резервуар 2 длительное время эксплуатировался по рассольной схеме, после извлечения из него хранимого продукта его заполняют рассолом 3. Перед проведением геофизических исследований извлекают на поверхность подвесную колонну труб 5 и выявляют участки разрушения цементного камня в затрубном пространстве 9 скважины, определяя при этом степень ее негерметичности. Затем в подземный резервуар 2 через скважину спускают подвесную колонну труб 5 и создают свободное пространство под башмаком обсадной колонны труб 4 в горловине подземного резервуара 2 путем извлечения части рассола 3. После этого по подвесной колонне труб 5 и наземному трубопроводу 6 из блока подачи материалов 7 вводят смешанный в блоке подготовки материалов 8 пластичный нерастворимый в рассоле состав, создающий на поверхности рассола 3 плавающий изолирующий слой 10, который выдерживают до образования на поверхности рассола 3 в горловине подземного резервуара 2 пластичной глинистой пробки. В качестве такого состава используют смесь дизельного топлива, глины и карбоксиметилцеллюлозы, взятых в соотношении, соответственно, мас.%: 58:38:4. Для последующего введения тампонирующего материала – раствора портландцемента – низ подвесной колонны труб 5 перфорируют. С этой целью подвесную колонну труб 5 поднимают на дневную поверхность, закрывают колонну 5 у башмака, перфорируют нижние стенки колонны труб 5 примерно на 2 м от башмака, после чего закрытый башмак колонны устанавливают над плавающим изолирующим слоем 10. За счет уплотнения слоя 10 в горловине подземного резервуара 2 создается пластичная глинистая пробка. На ее поверхность через перфорированную подвесную колонну труб 5 из наземного трубопровода 6 и блока подачи материалов 7 наносят смешанный в блоке подготовки материалов 8 тампонирующий материал – раствор портландцемента (ГОСТ 26798.0-85), создающий на поверхности глинистой пробки непроницаемый цементный слой 11. Подачу раствора портландцемента производят порционно или сразу в полном объеме, необходимом для покрытия слоя 10, в зависимости от объема используемого цементировочного агрегата. По окончании подачи раствора портландцемента перфорированную подвесную колонну труб 5 извлекают на дневную поверхность. После отверждения цементного слоя 11 в затрубное пространство 9 скважины подземного резервуара 2, как показано на фиг.2, подают герметизирующий состав 12. Для этого вначале наземный трубопровод 6 соединяют с обсадной колонной труб 4 и вводят под давлением из блока подачи материалов 7 смешанный в блоке подготовки материалов 8 необходимый объем герметизирующего состава 12: шлам магниевого производства (ТУ 0798-005-00545484-99) или нефелиновый концентрат (ТУ 2111-28-002.0039-38-93), обработанный серной кислотой.
Герметизирующий состав с помощью продавочной пробки и продавочной жидкости – извлеченного рассола 3 подают в нарушенное затрубное пространство 9 скважины, выдерживают указанный состав под давлением до его полного отверждения. По достижении герметичности затрубного пространства 9 скважины отвержденные материалы разбуривают вдоль ее вертикальной оси и осуществляют спуск подвесной колонны труб 5 в подземный резервуар 2, который в последующем вводят в дальнейшую эксплуатацию по рассольной схеме как подземное хранилище газообразных продуктов.
Пример 1 осуществления способа.
Данный пример иллюстрирует предлагаемый способ герметизации скважины подземного резервуара 2 объемом 10 тыс. м3, расположенного в интервале залегания каменной соли 930-1000 м и сообщающегося с дневной поверхностью скважиной, снабженной обсадной 4 и подвесной 5 колоннами труб. Указанный подземный резервуар 2 после его эксплуатации заполнен рассолом 3. Проведя предварительные геофизические исследования, герметизацию скважины осуществляют путем создания свободного от рассола пространства под башмаком обсадной колонны труб 4 в горловине подземного резервуара 2. В образуемое свободное пространство вводят смесь дизельного топлива, палыгорскитовой глины и карбоксиметилцеллюлозы, взятых в соотношении, соответственно, мас.%: 58:38:4. При этом на поверхности рассола 3 создается плавающий изолирующий слой 10 толщиной не менее 3-4 м. На указанный слой после образования в горловине подземного резервуара пластичной глинистой пробки подают тампонирующий материал – раствор портландцемента. С этой целью вначале переоборудуют подвесную колонну труб 5 путем подъема ее на дневную поверхность, закрытия ее у башмака и перфорирования нижней части стенок этой колонны высотой 2 м от башмака. Затем устанавливают башмак перфорированной подвесной колонны труб 5 над слоем 10 в горловине подземного резервуара 2. Подачу тампонирующего материала в скважину ведут по наземному трубопроводу 6 из блока подачи материалов 7 и блока подготовки материалов 8 через перфорированную подвесную колонну труб 5. По окончании подачи тампонирующего материала подвесную колонну труб 5 извлекают из скважины, после чего на поверхности пластичной глинистой пробки создается непроницаемый цементный слой 11 толщиной не менее 1,5 м. Затем наземный трубопровод 6 подсоединяют к обсадной колонне труб 4. По отверждении тампонирующего материала – портландцемента из блока подготовки материалов 8 через блок подачи материалов 7 по наземному трубопроводу 6 в межтрубное пространство 9 скважины подземного резервуара 2 вводят под давлением 4 МПа с использованием продавочной пробки и продавочной жидкости – извлеченного рассола – герметизирующий состав 12, состоящий из измельченного до размера частиц менее 200 меш шлама магниевого производства (ТУ 0798-005-00545484-99), затворенного на рассоле 3 в соотношении, равном: рассол и шлам магниевого производства – 2:1 соответственно. Таким образом, поверх непроницаемого цементного слоя 11 и в нарушенное затрубное пространство скважины вводят упомянутый герметизирующий состав 12. Приложенное давление выдерживают в течение 3-х суток, после чего отвержденные материалы разбуривают вдоль вертикальной оси скважины и осуществляют спуск подвесной колонны труб 5 в подземный резервуар 2 для последующего ввода его в эксплуатацию по рассольной схеме как подземное хранилище газообразных продуктов.
Пример 2 осуществления способа.
Пример 2 иллюстрирует предлагаемый способ герметизации скважины подземного резервуара 2 объемом 10 тыс. м3, расположенного в интервале залегания каменной соли 930-1000 м. Способ осуществляется в той же последовательности, что и в примере 1. В качестве герметизирующего состава 12 используют нефелиновый концентрат (ТУ 2111-28-002.0039-38-93), обработанный 15%-ной серной кислотой, разбавленной рассолом 3. Указанную смесь перед подачей в затрубное пространство 9 скважины и выдержкой под давлением 4 МПа перемешивают в блоке подготовки материалов 8 в течение 1 часа.
Формула изобретения
1. Способ герметизации скважины подземного резервуара, заполненного рассолом, предусматривающий подачу в затрубное пространство скважины, оборудованной обсадной и подвесной колоннами труб, герметизирующего состава с выдержкой его под давлением до отверждения, отличающийся тем, что в качестве герметизирующего состава используют шлам магниевого производства или нефелиновый концентрат, обработанный серной кислотой, предварительно под башмаком обсадной колонны труб в горловине подземного резервуара создают свободное пространство путем извлечения части рассола из подземного резервуара, вводят в скважину пластичный, нерастворимый в рассоле состав – смесь дизельного топлива, глины и карбоксиметилцеллюлозы, взятых в соотношении соответственно, мас.%: 58:38:4, создающий на поверхности рассола плавающий изолирующий слой, закрывают подвесную колонну труб у башмака, перфорируют ее стенки, на указанный слой после образования в горловине подземного резервуара пластичной глинистой пробки подают тампонирующий материал – раствор портландцемента, затем извлекают подвесную колонну труб на дневную поверхность, подачу упомянутого герметизирующего состава в затрубное пространство скважины ведут с помощью продавочной жидкости – извлеченного рассола, по достижении герметичности затрубного пространства скважины отвержденные материалы разбуривают вдоль вертикальной оси скважины и осуществляют спуск подвесной колонны труб в подземный резервуар.
2. Способ по п.1, отличающийся тем, что перфорирование подвесной колонны труб и закрытие ее у башмака производят с предварительным подъемом этой колонны на дневную поверхность.
3. Способ по п.1 или 2, отличающийся тем, что перед подачей в скважину тампонирующего материала башмак перфорированной подвесной колонны труб устанавливают над указанным слоем.
РИСУНКИ
|
|