|
|
(21), (22) Заявка: 2007116249/03, 28.04.2007
(24) Дата начала отсчета срока действия патента:
28.04.2007
(46) Опубликовано: 10.03.2009
(56) Список документов, цитированных в отчете о поиске:
SU 1677255 A1, 15.09.1991. SU 1693229 A1, 23.11.1991. RU 2168604 C2, 20.01.1999. RU 2182218 C1, 10.05.2002. RU 2230177 C1, 10.06.2004. US 1598017 A, 31.08.1926.
Адрес для переписки:
629807, Ямало-Ненецкий АО, г. Ноябрьск, пр. Мира, 30, кв.77, В.А. Чёлбину
|
(72) Автор(ы):
Чёлбин Владимир Александрович (RU)
(73) Патентообладатель(и):
Закрытое акционерное общество “Нефтемашвнедрение” (RU)
|
(54) КОЛОННАЯ ГОЛОВКА
(57) Реферат:
Изобретение относится к горной промышленности, а именно к устьевому оборудованию нефтяных и газовых скважин. Колонная головка содержит цилиндрический фланцевый корпус с внутренней конусной поверхностью и боковыми отверстиями с установленными в них патрубками, крышку с центральным осевым каналом, шпильки с гайками, вставленные в равномерно расположенные по окружности отверстия фланца корпуса и крышки, уплотнительные элементы. Внутри корпуса установлен переводник, имеющий в средней части наружный кольцевой выступ и ступень, в верхней части резьбу для установки колонного фланца и в нижней части резьбу для установки эксплуатационной колонны, подвижный центратор, часть наружной поверхности которого выполнена конусной для сопряжения с внутренней конусной поверхностью корпуса, а в качестве уплотнительных элементов использованы эластичные верхняя и нижняя манжеты, опорное и нажимное кольца, кольцевое металлическое уплотнение. Крышка имеет в центральном осевом канале кольцевой выступ в верхней части и конусную поверхность. Нижняя эластичная манжета размещена в полости между корпусом и переводником. Над наружным кольцевым выступом переводника в полости между крышкой и переводником последовательно размещены опорное кольцо, верхняя эластичная манжета, сопряженная наружной конусной поверхностью с конусной поверхностью крышки, и нажимное кольцо, при этом кольцевое металлическое уплотнение установлено в кольцевых канавках, выполненных в сопрягаемых поверхностях фланца корпуса и крышки. Обеспечивает повышение надежности герметизации межтрубного пространства при бурении, повышение безопасности эксплуатации и ремонтопригодности. 1 ил.
Изобретение относится к горной промышленности и может быть применено для обвязки верхних концов двух обсадных колонн, выступающих над устьем скважины, с целью подвески одной из них, герметизации межтрубного пространства между обсадными колоннами и контроля давления в этом пространстве.
Известна колонная головка типа ОКО (а.с. SU №1693229, дата публ. 23.11.91, бюл. №43), имеющая корпуса с наружными и внутренними посадочными конусами и резьбами в верхней части для подвески обсадных колонн, муфту с уплотнительными элементами на наружной поверхности и наружным посадочным конусом со сквозными продольными каналами, крышку в виде накидной гайки с внутренней резьбой и центральным осевым каналом в зоне уплотнительных элементов.
Колонная головка имеет несложную конструкцию и малую металлоемкость.
Однако расположение уплотнений на цилиндрической поверхности муфты требует ее точной центровки относительно корпусов, что при небольшой поверхности посадочных конусов трудно выполнить. Поэтому после монтажа нет достаточной герметизации межтрубного пространства. Конструкцией колонной головки не предусмотрена герметизация пространства между кондуктором и эксплуатационной колонной в процессе бурения.
Известна также колонная головка (а.с. SU №1677255, опубл. 15.09.91, бюл. №34). Эта головка содержит цилиндрический корпус с внутренним кольцевым выступом и боковыми патрубками, размещенный в корпусе уплотнительный узел, втулку, установленную между уплотнительным узлом и центратором с осевыми каналами, и упорное кольцо.
Эта известная конструкция колонной головки обеспечивает обвязку двух колонн труб, имеет простую конструкцию и малую металлоемкость.
Однако высота упорного кольца незначительна, и в процессе бурения долотом и муфтами бурильных труб его разбивают. Также в процессе бурения не предусмотрена герметизация пространства между кондуктором и эксплуатационной колонной.
Известна выбранная в качестве ближайшего аналога колонная головка (Щуров В.И. Технология и техника добычи нефти. Учебник для вузов. М.: Недра, 1983, с.280). Эта колонная головка содержит фланцевый цилиндрический корпус с внутренней конусной поверхностью и боковыми отверстиями с установленными в них патрубками, крышку с центральным осевым каналом, шпильки с гайками, вставленные в равномерно расположенные по окружности отверстия фланца корпуса и крышки, уплотнительные элементы.
Недостатком ближайшего аналога является нарушение герметичности межтрубного пространства вследствие повреждения внутренней конусной поверхности корпуса в процессе бурения при спуско-подъемных операциях бурильной колонны. Глубокие забоины уплотнительными элементами не герметизируются. Для устранения повреждений необходим демонтаж фонтанной арматуры, что снижает ремонтопригодность конструкции.
Задачей изобретения является создание колонной головки, лишенной указанных недостатков.
Техническим результатом изобретения является повышение надежности герметизации межтрубного пространства при бурении, вторичная герметизация при окончательной сборке изделия, повышение ремонтопригодности и безопасности эксплуатации при действии различных нагрузок.
Указанный технический результат достигается тем, что колонная головка, содержащая цилиндрический фланцевый корпус с внутренней конусной поверхностью и боковыми отверстиями с установленными в них патрубками, крышку с центральным осевым каналом, шпильки с гайками, вставленные в равномерно расположенные по окружности отверстия фланца корпуса и крышки, уплотнительные элементы, согласно предложенному, снабжена установленным внутри корпуса переводником, имеющим в средней части наружный кольцевой выступ и ступень, в верхней части резьбу для установки колонного фланца и в нижней части резьбу для установки эксплуатационной колонны, подвижным центратором, часть наружной поверхности которого выполнена конусной для сопряжения с внутренней конусной поверхностью корпуса, а в качестве уплотнительных элементов использованы эластичные верхняя и нижняя манжеты, опорное и нажимное кольца, кольцевое металлическое уплотнение, крышка имеет в центральном осевом канале кольцевой выступ в верхней части и конусную поверхность, нижняя эластичная манжета размещена в полости между корпусом и переводником, над наружным кольцевым выступом переводника в полости между крышкой и переводником последовательно размещены опорное кольцо, верхняя эластичная манжета, сопряженная наружной конусной поверхностью с конусной поверхностью крышки, и нажимное кольцо, при этом кольцевое металлическое уплотнение установлено в кольцевых канавках, выполненных в сопрягаемых поверхностях фланца корпуса и крышки.
Совокупность изложенных признаков обеспечивает достижение технического результата.
Надежность герметизации межтрубного пространства при бурении обеспечена уплотнением корпуса и переводника по цилиндрическим поверхностям, которые в процессе бурения не повреждаются долотом, и установкой в полости между корпусом и переводником эластичной нижней манжеты.
Эластичная верхняя манжета, установленная в полости между крышкой и переводником и прижатая через опорное и нажимное кольца внутренним кольцевым выступом крышки к наружному кольцевому выступу переводника, обеспечивает вторичную герметизацию межтрубного пространства и повышает ремонтопригодность колонной головки, так как при нарушении герметичности замена верхней эластичной манжеты производится без демонтажа фонтанной арматуры. Герметизация усиливается тем, что сопрягаемые поверхности верхней эластичной манжеты и крышки выполнены конусными.
Установка кольцевого металлического уплотнения в кольцевых канавках, выполненных в сопрягаемых поверхностях фланца корпуса и крышки, обеспечивает герметичность фланцевого соединения между корпусом и крышкой, стянутых гайками на шпильках.
Наличие в средней части переводника наружного кольцевого выступа и ступени фиксирует эксплуатационную колонну от продольного перемещения, обеспечивая безопасность эксплуатации колонной головки при действии различных нагрузок.
Установка подвижного центратора с наружной конусной поверхностью, которая сопряжена с внутренней конусной поверхностью корпуса, обеспечивает надежную центровку эксплуатационной колонны относительно колонной головки, что улучшает герметизацию и повышает безопасность работ.
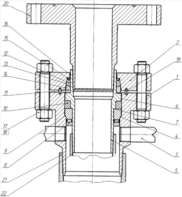
На чертеже представлен продольный разрез предлагаемой колонной головки.
Колонная головка содержит цилиндрический фланцевый корпус 1 и крышку 2 с центральным осевым каналом. В корпусе 1 выполнены боковые отверстия, в которых установлены патрубки 3, и внутренняя конусная поверхность 4.
Внутри корпуса 1 установлен переводник 5, имеющий в средней части наружный кольцевой выступ 6 и ступень 7. Переводник 5 опирается ступенью 7 на центратор 8, установленный в корпусе 1 и сопряженный с его внутренней конусной поверхностью наружной конусной поверхностью 9.
Под наружным кольцевым выступом 6 переводника 5 в полости между корпусом 1 и переводником 5 установлена эластичная нижняя манжета 10.
Над наружным кольцевым выступом 6 переводника 5 установлено опорное кольцо 11. Эластичная верхняя манжета 12, выполненная с наружной конусной поверхностью 13, расположена в полости между переводником 5 и конусной поверхностью 14, выполненной в центральном осевом канале крышки 2. Над эластичной верхней манжетой 12 установлено нажимное кольцо 15, взаимодействующее с кольцевым выступом 16, выполненным в центральном осевом канале крышки 2.
Во фланце корпуса 1 и в крышке 2 выполнены равномерно по окружности отверстия, в которые вставлены шпильки 17 с гайками 18.
На верхней поверхности фланца корпуса 1 и на нижней поверхности крышки 2 выполнены кольцевые канавки, в которых установлено кольцевое металлическое уплотнение 19.
В верхней части переводника 5 ввернут колонный фланец 20.
Колонная головка работает следующим образом.
Корпус 1 устанавливают посредством резьбового соединения на кондукторе 21 и приступают к выполнению буровых работ. После окончания бурения отверстия под эксплуатационную колонну производят дальнейшую сборку.
Переводник 5 с расположенными под его наружным кольцевым выступом 6 эластичной нижней манжетой 10 и центратором 8 наворачивают на верхнюю трубу эксплуатационной колонны 22 и опускают в скважину до момента, когда центратор 8 своей наружной конусной поверхностью 9 установится на внутреннюю конусную поверхность 4 корпуса 1, а переводник 5 своей ступенью 7 упрется в центратор 8.
Под действием веса сборки эластичная нижняя манжета 10 деформируется в радиальном направлении, герметизируя полость между корпусом 1 и переводником 5, а центратор 8 и корпус 1 плотно сопрягаются по коническим поверхностям, надежно герметизируя межтрубное пространство.
Далее на верхнюю часть переводника 5 до упора в его наружный кольцевой выступ 6 устанавливают последовательно опорное кольцо 11, эластичную верхнюю манжету 12 и нажимное кольцо 13. В кольцевую канавку, выполненную на верхней поверхности фланца корпуса 1, укладывают кольцевое металлическое уплотнение 19. Сверху ставят крышку 2. Вставляют в отверстия фланца корпуса 1 и крышки 2 шпильки 17 и затягивают гайки 18. Прижимаемая нажимным кольцом 15 под действием кольцевого выступа 16 крышки 2 эластичная верхняя манжета 12 подвергается упругой деформации, осуществляя вторичную герметизацию межтрубного пространства. Кольцевое металлическое уплотнение 19 герметизирует фланцевое соединение между корпусом 1 и крышкой 2.
В боковые отверстия корпуса 1 устанавливают патрубки 3, предназначенные для контроля давления в межтрубном пространстве.
В верхнюю резьбу переводника 5 вворачивают колонный фланец 20.
Формула изобретения
Колонная головка, содержащая цилиндрический фланцевый корпус с внутренней конусной поверхностью и боковыми отверстиями с установленными в них патрубками, крышку с центральным осевым каналом, шпильки с гайками, вставленные в равномерно расположенные по окружности отверстия фланца корпуса и крышки, уплотнительные элементы, отличающаяся тем, что она снабжена установленным внутри корпуса переводником, имеющим в средней части наружный кольцевой выступ и ступень, в верхней части резьбу для установки колонного фланца и в нижней части резьбу для установки эксплуатационной колонны, подвижным центратором, часть наружной поверхности которого выполнена конусной для сопряжения с внутренней конусной поверхностью корпуса, а в качестве уплотнительных элементов использованы эластичные верхняя и нижняя манжеты, опорное и нажимное кольца, кольцевое металлическое уплотнение, крышка имеет в центральном осевом канале кольцевой выступ в верхней части и конусную поверхность, нижняя эластичная манжета размещена в полости между корпусом и переводником, над наружным кольцевым выступом переводника в полости между крышкой и переводником последовательно размещены опорное кольцо, верхняя эластичная манжета, сопряженная наружной конусной поверхностью с конусной поверхностью крышки, и нажимное кольцо, при этом кольцевое металлическое уплотнение установлено в кольцевых канавках, выполненных в сопрягаемых поверхностях фланца корпуса и крышки.
РИСУНКИ
|
|