|
|
(21), (22) Заявка: 2006103794/03, 01.07.2004
(24) Дата начала отсчета срока действия патента:
01.07.2004
(30) Конвенционный приоритет:
09.07.2003 DK PA 2003 01047
(43) Дата публикации заявки: 20.08.2007
(46) Опубликовано: 10.03.2009
(56) Список документов, цитированных в отчете о поиске:
US 2270202 А, 13.01.1942. AU 513146 В3,15.10.1981. US 49669291 A, 13.11.1990. DE 4433841 A1, 09.02.1995. RU 2067830 C1, 20.10.1996.
(85) Дата перевода заявки PCT на национальную фазу:
09.02.2006
(86) Заявка PCT:
DK 2004/000469 (01.07.2004)
(87) Публикация PCT:
WO 2005/005762 (20.01.2005)
Адрес для переписки:
129090, Москва, ул. Б.Спасская, 25, стр.3, ООО “Юридическая фирма Городисский и Партнеры”, пат.пов. Г.Б. Егоровой, рег.№ 513
|
(72) Автор(ы):
ЯКОБСЕН Пер (DK)
(73) Патентообладатель(и):
ВКР ХОЛДИНГ А/С (DK)
|
(54) ОКНО С СЕТКОЙ
(57) Реферат:
Изобретение относится к области строительства, а именно к конструкциям окон. Изобретение позволит создать окно с сеткой, которая остается скрытой и оказывает минимальное влияние на функционирование окна. Окно содержит коробку, имеющую верхний элемент, нижний элемент и два боковых элемента, которые определяют ее плоскость, раму, имеющую верхний элемент, нижний элемент и два боковых элемента, которые определяют плоскость рамы, сетчатую конструкцию. Рама соединена с коробкой посредством, по меньшей мере, одного петлевого соединения для создания оси петли, расположенной по существу параллельно верхнему элементу коробки и верхнему элементу рамы так, что рама перемещается из закрытого положения в положение вентиляции. В положении вентиляции плоскость рамы образует угол в ограниченном диапазоне углов с плоскостью коробки для создания, по меньшей мере, одного вентиляционного отверстия, при этом сетчатая конструкция покрывает это, по меньшей мере, одно вентиляционное отверстие, по меньшей мере, частично в положении вентиляции, при этом сетчатая конструкция содержит, по меньшей мере, один сетчатый элемент, который в закрытом положении окна расположен в неактивном положении на интерфейсе между коробкой и рамой, а в положении вентиляции перекрывает вентиляционное отверстие между нижним элементом коробки и нижним элементом рамы и/или между верхним элементом коробки и верхним элементом рамы. По меньшей мере, один сетчатый элемент разъемно соединен с верхним или нижним элементом рамы и/или коробки в пределах указанного ограниченного диапазона углов. Сетчатый элемент расположен на верхнем и/или нижнем элементе коробки и рамы. Боковые элементы коробки и рамы в положении вентиляции размещены с перекрытием друг друга так, чтобы обеспечить достаточную защиту от проникновения насекомых через боковые части окна. 16 з.п. ф-лы, 12 ил.
Настоящее изобретение относится к окну, содержащему коробку, имеющую верхний элемент, нижний элемент и два боковых элемента, определяющие плоскость коробки, раму, имеющую верхний элемент, нижний элемент и два боковых элемента, определяющие плоскость рамы, и сетку, при этом рама соединена с коробкой по меньшей мере одним петлевым соединением для создания петли, ось которой проходит по существу параллельно верхнему элементу коробки и верхнему элементу рамы так, что рама может перемещаться из закрытого положения в положение вентиляции, в котором плоскость рамы образует угол в ограниченном диапазоне углов с плоскостью коробки для создания по меньшей мере одного вентиляционного отверстия, при этом сетка покрывает это по меньшей мере одно вентиляционное отверстие по меньшей мере частично в положении вентиляции, при этом сетка содержит по меньшей мере один сетчатый элемент, который в закрытом положении окна расположен в неактивном положении на интерфейсе между коробкой и рамой, а в положении вентиляции перекрывает вентиляционное отверстие между нижним элементом коробки и нижним элементом рамы и/или между верхним элементом коробки и верхним элементом рамы, при этом указанный по меньшей мере один сетчатый элемент соединен с верхним или нижним элементом коробки или рамы и съемно зацеплен с соответствующим элементом коробки или рамы в указанном ограниченном диапазоне углов.
Известны различные типы окон с сеткой. Из AU-B-527915 и DE-А-2622170 известно окно, откидывающееся вверх, т.е. окно, ось петли которого находится на верхнем элементе коробки, снабженное противомоскитной сеткой, которая в вентилирующем положении окна перекрывает клиновидное вентиляционное отверстие. Когда вся оконная рама при открывании окна поворачивается наружу, вентиляционное отверстие может быть перекрыто одной противомоскитной сеткой.
Широкое распространение получили окна качающегося типа или имеющие центральные петли, которые особенно пригодны для мансардных окон, помимо прочего, поскольку окна такого типа легко мыть, поскольку раму, в которую вставлено стекло, можно повернуть по существу на 180° для очистки внешней поверхности стекла изнутри здания. Другим преимуществом окон такого типа является то, что их можно полностью открыть в положение, где рама повернута приблизительно на 90° и поток воздуха в таком положении по существу не встречает препятствий.
Когда рама поворачивается вокруг центральной оси, при открытом окне одна половина рамы поворачивается наружу, а вторая половина рамы поворачивается внутрь. Эта характеристика, однако, влечет за собой ряд затруднений, если окно должно быть оснащено сеткой, например, для ограничения доступа насекомых внутрь помещения через отверстия между рамой и коробкой, когда окно открыто.
В течение многих лет предпринимались различные попытки оснастить сеткой окно с центральной осью поворота. Одна такая сетка раскрыта в патенте США №2311413. Эта известная сетка выполнена в виде сетчатого рулона, расположенного в элементах коробки и соединенного с элементами рамы, и перекрывает все отверстия окна, когда оно наклонено и, следовательно, обеспечивает эффективную защиту окна в открытом положении. Однако существует недостаток, заключающийся в том, что сетка ограничивает движение рамы и, кроме того, ее необходимо отсоединять для получения возможности мытья внешней стороны оконного стекла, что является задачей, требующей определенных трудозатрат. Кроме того, сетку необходимо снять перед тем, как использовать окно в качестве аварийного выхода, например, при пожаре.
В DE-U1-7906434 раскрыто окно с центральной осью поворота и сеткой. Эта известная сетка имеет фиксированную конструкцию, соответствующую максимальному вентиляционному отверстию между коробкой и рамой, т.е. сетка имеет форму клина с цилиндрической или приблизительно цилиндрической основной поверхностью и сегментом, расположенным с каждой стороны, который по существу может иметь форму сектора окружности или треугольника. Сетка может частично складываться, поскольку прикреплена на петлях к коробке или к раме, однако сетка, тем не менее, продолжает занимать объем. Поскольку одну из сеток либо в верхней, либо в нижней части окна следует монтировать изнутри окна, эта сетка будет все время видима изнутри, что делает сетку такого типа менее предпочтительной. Далее, в случае, когда сетка сложена, ее следует переводить в рабочее положение путем повторной сборки деталей с рамой и/или с коробкой окна, прежде чем вновь перевести сетку в активное положение.
Другая сетка для окна с центральной осью поворота известна из патента США №5694996 настоящего заявителя, в котором раскрыта сетчатая конструкция, установленная снаружи окна и охватывающая все окно. Эта сетчатая конструкция содержит несущую сетку рамку, имеющую первую сетку, закрывающую окно, и боковины из сетчатого материала, имеющие форму, например, мехов. Рама окна взаимодействует с несущей сетку рамкой, отводя эту несущую сетку рамку наружу в ответ на открывание окна. Такая сетчатая конструкция обеспечивает максимальную защиту от насекомых, пытающихся проникнуть в окно, однако такая сетчатая конструкция при изготовлении требует значительных трудозатрат и ограничивает свет, проходящий сквозь окно, что в некоторых случаях является недостатком.
В патенте США №2270202 раскрыта сетка для окон с центральной осью поворота. Эта сетчатая конструкция содержит ролики для сетки, расположенные на верхней и нижней кромках окна, и дополнительные боковые треугольные сетки. Ролики сетки расположены на коробке окна и разъемно соединены с рамой окна. Когда раму необходимо сместить за ее максимальное вентиляционное положение, сетчатые элементы необходимо отсоединить от оконной рамы, что может быть затруднительно, и, кроме того, треугольные сетки остаются постоянно видимыми, поскольку выступают из плоскости коробки окна.
Задача настоящего изобретения заключается в создании окна с сеткой, которая остается скрытой и оказывает минимальное влияние на функционирование окна.
Это достигается тем, что в окне, содержащем коробку, имеющую верхний элемент, нижний элемент и два боковых элемента, которые определяют плоскость коробки, раму, имеющую верхний элемент, нижний элемент и два боковых элемента, которые определяют плоскость рамы, сетчатую конструкцию, при этом рама соединена с коробкой посредством по меньшей мере одного петлевого соединения для создания оси петли, расположенной по существу параллельно верхнему элементу коробки и верхнему элементу рамы так, что рама перемещается из закрытого положения в положение вентиляции, и в положении вентиляции плоскость рамы образует угол в ограниченном диапазоне углов с плоскостью коробки для создания по меньшей мере одного вентиляционного отверстия, при этом сетчатая конструкция покрывает это по меньшей мере одно вентиляционное отверстие по меньшей мере частично в положении вентиляции, при этом сетчатая конструкция содержит по меньшей мере один сетчатый элемент, который в закрытом положении окна расположен в неактивном положении на интерфейсе между коробкой и рамой, а в положении вентиляции перекрывает вентиляционное отверстие между нижним элементом коробки и нижним элементом рамы и/или между верхним элементом коробки и верхним элементом рамы, и этот по меньшей мере один сетчатый элемент разъемно соединен с верхним или нижним элементом рамы и/или коробки в пределах указанного ограниченного диапазона углов, сетчатый элемент расположен на верхнем и/или нижнем элементе коробки и рамы, а боковые элементы коробки и рамы в положении вентиляции размещены с перекрытием друг друга так, чтобы обеспечить достаточную защиту от проникновения насекомых через боковые части окна. Тем самым образуется окно и сетчатая конструкция, в которых сетчатые элементы встроены очень скрыто и оказывают минимальное влияние на функционирование окна, при этом сетчатый элемент или элементы остаются буквально невидимы как в вентиляционном положении, так и в закрытом положении окна. Было обнаружено, что достигается приемлемая вентиляция при минимальном вмешательстве в структуру рамы и коробки и при экономии расходов на материал и производственные условия по сравнению с окнами и сетчатыми конструкциями по предшествующему уровню техники.
Кроме того, окно может иметь верхнюю, нижнюю или центральную ось поворота, поскольку сетчатый элемент или сетчатые элементы могут размещаться на одном или на обоих верхнем и нижнем элементах коробки и рамы.
Простые сетчатые конструкции могут относиться к типу, в котором каждый сетчатый элемент необходимо приводить в действие вручную, независимо от рамы, однако в предпочтительном варианте осуществления настоящего изобретения каждый сетчатый элемент сетчатой конструкции перемещается автоматически из неактивного положения, соответствующего закрытому положению окна, в активное положение, когда окно переводят в положение вентиляции, и из активного положения в неактивное, когда окно переводят из положения вентиляции в закрытое положение. За счет этого эксплуатация окна с сетчатой конструкцией особенно облегчается и окно может эксплуатировать любой человек, не имеющий технических знаний о его конструкции. Далее, отсутствует риск того, что оператор забудет установить сетку или замешкается, подвергаясь риску проникновения насекомых.
В варианте, который обеспечивает особенно скрытый вид, сетчатые элементы сетчатой конструкции могут перемещаться автоматически из активного положения, соответствующего вентиляционному положению, в неактивное положение, когда окно переводится за его вентиляционное положение с более наклоненным положением рамы.
Согласно варианту настоящего изобретения сетчатая конструкция содержит по меньшей мере один сетчатый элемент, выполненный в виде клапана, соединенного с верхним или нижним элементом коробки или рамы петлей. Этот вариант имеет преимущество, заключающееся в том, что такой клапан очень легко установить и его можно установить даже на уже имеющиеся окна без существенных затруднений или изменений в конструкции окна.
Согласно варианту настоящего изобретения этот клапан выполнен с возможностью свободного свисания под действием силы тяжести. В этом простом примере клапан, таким образом, может свободно поворачиваться вокруг петли.
Согласно другому варианту, однако, указанный клапан подпружинен к активному положению сетчатого элемента посредством натягивающего элемента, например спиральной пружины, за счет чего простыми средствами достигается упор клапана в соответствующий противоположный элемент рамы или коробки и, следовательно, автоматический перевод в активное положение, когда окно открывают в положение вентиляции.
Согласно альтернативному или дополнительному варианту сетчатая конструкция включает по меньшей мере один сетчатый элемент, выполненный как шторка, соединенная с верхним или нижним элементом коробки или рамы. В таком варианте получают сетчатый элемент, который обладает высокой гибкостью, и наличие рамки для такого гибкого сетчатого материала представляется ненужным.
Шторка может, например, иметь форму меха, однако согласно одному варианту указанная шторка является разматывающейся с рулона и подпружиненной в направлении неактивного положения сетчатого элемента. При шторке такого типа легко достигается неактивное положение, в частности, в случае автоматической сетчатой конструкции.
Согласно альтернативному варианту эта шторка является складывающейся шторкой, которая обеспечивает относительно большую площадь перекрытия, одновременно являясь сетчатым элементом, который требует относительно небольшого пространства для хранения.
Согласно другому варианту сетчатая конструкция содержит по меньшей мере один сетчатый элемент, выполненный в виде ползуна, соединенного с верхним или нижним элементом коробки или рамы.
Ползун может содержать любой сетчатый элемент, например сетку, расположенную на рамке, однако согласно особенно элегантному и простому варианту ползун содержит решетку из проволоки или множество пластин, или щетку.
Верхний и нижний элементы рамы могут иметь квадратное или прямоугольное сечение, но согласно варианту настоящего изобретения каждый верхний и нижний элементы коробки и/или рамы имеют скос, за счет которого открытая площадь между рамой и коробкой в положении вентиляции относительно велика.
Для облегчения эксплуатации окна и сетчатой конструкции могут иметься средства для индикации позиции вентиляции. Например, петля окна для удобства может быть снабжена средством индикации положения, например пальцем, установленным на коробке, скользящим по упругой направляющей, установленной на раме, при этом направляющая имеет фиксированное положение для пальца, или наоборот.
Для обеспечения максимальной защиты от проникновения насекомых на каждом из боковых элементов коробки и рамы могут быть установлены уплотняющие средства. Предпочтительно такие уплотняющие средства содержат скользящий уплотняющий или щеточный элемент.
Согласно одному из вариантов уплотняющие средства расположены для уплотнения любого зазора между перекрывающими друг друга боковыми элементами коробки и рамы на участке между осью петли и сетчатой конструкцией, благодаря чему сетка становится особенно скрытой и эффективной.
Для дальнейшего повышения эффективности сетчатой конструкции эта сетчатая конструкция может далее содержать сетчатое средство для интерфейса, расположенное на интерфейсе между сетчатым элементом и боковыми элементами рамы.
Ниже следует более подробное описание настоящего изобретения со ссылками на прилагаемые чертежи, на которых изображено следующее.
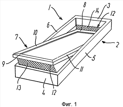
Фиг.1 – эскиз окна по настоящему изобретению.
Фиг.2 – увеличенный вид сетчатой конструкции окна по фиг.1.
Фиг.3 – вид, соответствующий фиг.2, сетчатой конструкции по второму варианту настоящего изобретения.
Фиг.4 – вид, соответствующий фиг.2, сетчатой конструкции по третьему варианту настоящего изобретения.
Фиг.5 соответствует варианту по фиг.2 с рамой, в более наклоненном положении.
Фиг.6 – поперечное сечение сетчатой конструкции по фиг.3 в закрытом положении окна.
Фиг.7 – сечение боковых элементов окна в вентиляционном положении окна.
Фиг.8А – сечение нижнего элемента оконной рамы.
Фиг.8В – сечение нижнего элемента коробки окна.
Фиг.9A – альтернативный вариант нижних элементов коробки и рамы в сечении.
Фиг.9B – другой альтернативный вариант нижних элементов коробки и рамы в сечении.
Фиг.10 – поперечное сечение нижней части окна в положении вентиляции.
Фиг.11 – то же, что и фиг.10, но окно находится в более открытом положении.
Фиг.12 – вид спереди нижней части окна.
На фиг.1 показано окно 1 в несколько упрощенном виде. Окно 1 содержит коробку 2, имеющую верхний элемент 3, нижний элемент 4 и два боковых элемента 5, 6, определяющие плоскость коробки, и раму 7, имеющую верхний элемент 8, нижний элемент 9 и два боковых элемента 10, 11, определяющие плоскость рамы. В показанном варианте окно имеет центральную ось поворота, поскольку рама 7 соединена с коробкой 2 поворотной петлей (не показана), установленной между боковыми элементами 5, 11; 6, 10 коробки 2 и рамы 7, соответственно, и окно открывается наклоном рамы 7 окна 1 вокруг оси петли, которая определена поворотной петлей. Окно 1 далее снабжено сетчатой конструкцией 12, содержащей сетчатый элемент 14, проходящий между верхними элементами 3, 8 коробки 2 и рамы 7, соответственно, и сетчатый элемент 13, проходящий между нижними элементами 4, 9 коробки и рамы, соответственно. Для иллюстрации принципа, лежащего в основе настоящего изобретения, окно показано в положении, когда сетчатые элементы на верхних и нижних элементах рамы и коробки четко видны. Следует отметить, что между боковыми элементами рамы и коробки, соответственно, по существу отсутствует зазор. В положении вентиляции боковые элементы коробки и рамы перекрывают друг друга так, что обеспечивают достаточную защиту от проникновения, например, насекомых через боковые части окна. За счет соответствующей конструкции коробки и рамы можно получить уплотняющее взаимодействие между соответствующими боковыми элементами. Такая конструкция может, например, включать боковые элементы, имеющие такие размеры, чтобы получить скользящую посадку, или в боковых элементах могут быть выполнены канавки и/или выступы, образующие лабиринтное уплотнение на боковых элементах.
Для еще более эффективной защиты от попадания насекомых окно может быть снабжено уплотняющими средствами на боковых элементах коробки и рамы. Такие уплотняющие средства могут относиться к известному типу, например быть скользящим уплотнением или щеточным элементом. В любом случае в окно нормально вставляется уплотнитель между боковыми элементами коробки и рамы. Этот уплотнитель обычно также препятствует проникновению насекомых.
Работа сетчатой конструкции более понятна из фиг.2, где представлен увеличенный вид нижней части окна 1. Окно показано в положении вентиляции, когда рама 7 наклонена относительно коробки 2 так, что плоскость рамы образует ограниченный угол открытия с плоскостью коробки, например, 2-10°, предпочтительно 5-7°, в зависимости от длины окна, чтобы оставлять вентиляционное отверстие шириной 6-8 см сверху и снизу окна. В вентиляционном положении сетчатый элемент 13 закрывает отверстие между нижним элементом 4 рамы коробки и нижним элементом 9 рамы. Как показано на чертеже, в этом приоткрытом положении окна отверстия по бокам окна по существу отсутствуют, и поэтому во многих случаях сетка по бокам окна практически не нужна. Однако, как описано выше, на боковых элементах могут быть установлены уплотняющие средства. В этом варианте сетчатым элементом 13 является клапан, который может быть соединен с рамой петлей 13а (подробно не показана). Сетчатый элемент 13 может быть свободно подвешен к раме и свисать только под воздействием силы тяжести, и в настоящее время этот простой вариант осуществления изобретения является предпочтительным, поскольку он является наиболее жестким и безотказным. Однако, если будет сочтено необходимым или предпочтительным, сетчатый элемент 13 может быть подпружинен в направлении рамы, например, спиральной пружиной. Клапан 13 может, например, соединяться с нижним элементом 9 рамы одним или несколькими магнитами или другими подходящими средствами временного крепления. Клапан 13, таким образом, смещается из неактивного положения, где он упирается в нижнюю поверхность 9а нижнего элемента 9 рамы, в активное положение, где конец клапана 13, расположенный напротив петли 13а, упирается в нижний элемент 4 коробки. Следует отметить, что клапан также может быть соединен с элементом коробки, если сетчатый элемент можно разместить на интерфейсе между рамой и коробкой в положении хранения. В качестве альтернативы, сетчатый элемент может быть размещен за пределами плоскости коробки и/или рамы, хотя такое решение не является предпочтительным, поскольку сетчатый элемент будет видимым, когда окно закрыто. В этой связи следует также отметить, что термин «интерфейс» следует толковать в широком смысле, т.е. как охватывающий область на или рядом с обращенными друг к другу поверхностями. В варианте по фиг.2 эта область, таким образом, содержит, например, нижние поверхности 9а и смежные граничные участки внешней и внутренней поверхностей. Далее, сетчатый элемент 13 может быть складным клапаном, тем самым образуя сетку, имеющую большую площадь перекрытия, и/или сетку, требующую меньшей площади для хранения.
На фиг.2 также показано, что нижний элемент 9 скошен так, что нижняя поверхность 9а образует угол относительно внешней и внутренней поверхностей. За счет этого образуется увеличенное вентиляционное отверстие. Для устранения или по меньшей мере уменьшения потребности в уплотняющих средствах на боковых элементах боковые элементы должны быть по существу плоскими.
На фиг.3 показан альтернативный вариант сетчатой конструкции в виде увеличенного изображения нижней части окна 1. Окно вновь показано в положении вентиляции, когда сетчатый элемент 23 закрывает отверстие между нижним элементом 4 коробки и нижним элементом 9 рамы. В этом варианте сетчатый элемент 13 представляет собой шторку в виде рулонной сетки, содержащей ролик 25, который может быть расположен в нижнем элементе 9 рамы, как показано, или в нижнем элементе 4 коробки. Сетчатый элемент 23 соединен с противоположным нижним элементом, т.е. в показанном варианте с нижним элементом 4 коробки. Ролик 25 может быть подпружинен в положении хранения, в котором практически весь сетчатый элемент 23 намотан на ролик 25.
Третий вариант осуществления сетчатой конструкции показан на фиг.4 в виде увеличенного изображения нижней части окна 1. Окно вновь показано в положении вентиляции, где сетчатый элемент 33 закрывает отверстие между нижним элементом 4 коробки и нижним элементом 9 рамы. В этом варианте сетчатый элемент 33 выполнен в виде ползуна из ребер, ламелей или сетки, выступающего из нижнего элемента 9 рамы и, тем самым, закрывающего отверстие между этим нижним элементом 9 рамы и нижним элементом 4 коробки. Предпочтительно, чтобы ползун был подпружинен или нагружен в направлении неактивного, убранного положения, если ползун хранится в нижнем элементе 9 рамы. Альтернативно, ползун может быть подпружинен или нагружен в направлении активного, выдвинутого положения, в котором ползун образует сетку, закрывающую отверстие между рамой и коробкой. Как понятно специалисту, ползун также может размещаться в нижнем элементе 4 коробки. Ползун может быть образован элементом, имеющим достаточную длину для перекрытия зазора между соответствующими элементами коробки и рамы в положении вентиляции, либо он может быть выполнен как набор взаимно смещаемых и соединенных элементов для получения телескопической конфигурации.
Для вариантов, показанных на фиг.2-4, общим является то, что сетчатые элементы 13, 23, 33 закрывают отверстие между рамой и коробкой только до ограниченного угла наклона рамы, т.е. в вентиляционном положении окна, а если угол наклона рамы превышает этот ограниченный угол раскрытия, сетчатый элемент отсоединяется от одного из элементов коробки или рамы, тем самым обеспечивая по существу неограниченный поток воздуха через отверстия между коробкой и рамой. Это показано на фиг.5, которая соответствует варианту по фиг.2, где рама наклонена за пределы ограниченного угла раскрытия. В этом положении клапан, образующий сетчатый элемент 13, отсоединяется от нижнего элемента 4 коробки и предпочтительно отгибается в положение хранения, упираясь в нижнюю поверхность 9а под нижним элементом 9 рамы, как показано на чертеже. Как упоминалось выше, клапан может быть подпружинен в направлении положения хранения так, что клапан автоматически отгибается в это положение хранения, когда рама наклонена за пределы ограниченного угла раскрытия. Альтернативно, клапан может отгибаться и фиксироваться в положении хранения вручную или клапан можно оставить свисать с нижнего элемента 9 рамы.
Фиг.6 соответствует варианту по фиг.3, однако здесь окно показано в закрытом положении. Ролик 25 размещен в нижнем элементе 9 рамы, и в этом положении рамы большая часть сетчатого элемента 23 намотана на ролик 25. Как схематически показано на чертеже, конец сетчатого элемента 23 соединен с нижним элементом 4 коробки соединительным средством 26, например любой разъемной защелкой, петельно-крючковой застежкой Velcro или магнитом. Соединительное средство 26 выполнено с возможностью удерживания конца сетчатого элемента 23 до тех пор, пока рама не будет наклонена настолько, что весь материал сетки не смотается с ролика 25, что соответствует указанному ограниченному углу раскрытия. Далее, соединительное средство выполнено с возможностью отсоединения сетки от нижнего элемента 4 коробки, в то же время создавая ощутимое сопротивление разъединению, когда раму наклоняют за пределы ограниченного угла раскрытия для положения вентиляции. Это ощутимое сопротивление разъединению информирует пользователя о том, что сетка отсоединилась. Предпочтительно соединительное средство автоматически соединяется повторно, когда окно вновь полностью закрыто. Схематически показанное соединительное средство 26 является исключительно примером, и возможны другие варианты, например, механизм с крюком и защелкой или подобный.
Как упоминалось выше, окно может быть снабжено уплотнением между боковыми элементами рамы и коробки. Это схематически показано на фиг.7, где представлено поперечное сечение боковых элементов, когда окно находится в положении вентиляции. Между боковыми элементами 5, 6 коробки и боковыми элементами 10, 11 рамы расположено уплотнение 27, проходящее по существу по всей длине окна. Уплотнение 27 может крепиться к боковому элементу рамы или к боковому элементу коробки для создания наиболее эффективного и скрытого уплотнения.
Хотя принципы настоящего изобретения могут применяться для защиты сеткой окон любого типа, предпочтительно, чтобы геометрия противоположных верхних и/или нижних элементов рамы и коробки была адаптирована для создания относительно большого закрываемого сеткой отверстия. На фиг.8А показано сечение нижнего элемента 9 рамы по варианту настоящего изобретения. Нижний элемент 9 рамы содержит нижнюю поверхность 9а, которая расположена под углом к плоскости 28, проходящей нормально относительно рамы и нормально к плоскости чертежа. Как упоминалось выше, выполненный на нижней поверхности 9а скос или расположение этой поверхности под углом создаст относительно большое перекрываемое сеткой отверстие между нижними элементами рамы и коробки, когда рама наклонена лишь в ограниченной степени, в то время как боковые элементы все еще перекрывают друг друга. Поскольку боковые элементы перекрывают друг друга, отсутствует необходимость в установке отдельных сетчатых элементов на боковых элементах. На фиг.8В показано сечение ответного нижнего элемента 4 коробки, имеющего скошенную верхнюю поверхность 4а. Как показано на чертеже, верхняя поверхность 4а нижнего элемента коробки расположена под углом к плоскости 29, проходящей нормально относительно коробки и нормально к плоскости чертежа. Угол обычно эквивалентен углу . Величина угла зависит от конструкции окна и механизма петли, а также от наклона крыши, в которой установлено окно. Как всегда, выбор угла является компромиссом между конфликтующими интересами. Большой угол позволяет получить большее отверстие, но и влечет увеличение расхода материала при изготовлении элементов, размера конструкции установленного окна и т.д. Подходящие величины этого угла находятся в диапазоне 20-70°, предпочтительно около 45°.
Также возможна альтернативная геометрия противолежащих граней верхних элементов и/или нижних элементов 4, 9. На фиг.9А показан вариант, где лишь часть противолежащих поверхностей 4а, 9а нижнего элемента 4 коробки и нижнего элемента 9 рамы, соответственно, скошены. На фиг.9В показан другой альтернативный вариант, где противолежащие поверхности 4а, 9а нижнего элемента 4 коробки и нижнего элемента 9 рамы, соответственно, выполнены ступенчатыми.
Фиг.10 является иллюстрацией, соответствующей фиг.2. Для иллюстрации ранее упомянутого факультативного уплотнения 27, расположенного между боковым элементом 6 коробки и боковым элементом 10 рамы, это уплотнение показано штриховой линией, хотя в этом ракурсе уплотнение спрятано за рамой. Поэтому единственным отверстием вокруг окна остается нижнее отверстие 30 (и верхнее отверстие, если окно имеет центральную ось поворота). Это нижнее отверстие оснащено сетчатым элементом 13, препятствующим проникновению насекомых, когда окно наклонено на ограниченный угол, как показано на чертеже и как пояснялось выше.
На фиг.11 показан особенно простой вариант настоящего изобретения, когда окно находится в положении более открытом, чем при положении вентиляции по фиг.10. Сетчатый элемент 13 установлен так, чтобы свободно свисать с нижнего элемента 9 рамы, к которой он прикреплен петлей (не показана). Сетчатый элемент 13 свисает под воздействием силы тяжести. Этот вариант особенно прост и, следовательно, недорог, прочен и безотказен. Сетчатый элемент 13 может быть выполнен с возможностью поворота в неактивное положение, когда окно закрыто. Для этого нижний элемент 4 коробки может быть снабжен направляющим средством (не показано) для сетчатого элемента 13. Предусмотрена также возможность установки направляющих для сетчатого элемента на других деталях окна, если это будет сочтено целесообразным.
Как схематически показано на фиг.12, интерфейс между сетчатым элементом 13 и боковыми элементами 5, 6 рамы может быть снабжен сетчатым элементом 28 интерфейса во избежание проникновения насекомых через интерфейс. Сетчатый элемент 28 интерфейса может быть выполнен, например, как элемент щетки, установленный по бокам от сетчатого элемента или, альтернативно, на боковых элементах 5, 6 коробки.
И вновь специалистам очевидно, что подобные сетчатые конструкции и соединительные средства могут быть установлены в верхней части окна и что сетчатая конструкция может быть установлена на коробке, а не на раме.
Вышеприведенное описание является лишь примером, и специалистам понятно, что принцип настоящего изобретения может применяться и, например, к окнам с нижним расположением петли.
Формула изобретения
1. Окно, содержащее коробку, имеющую верхний элемент, нижний элемент и два боковых элемента, которые определяют ее плоскость, раму, имеющую верхний элемент, нижний элемент и два боковых элемента, которые определяют плоскость рамы, сетчатую конструкцию, при этом рама соединена с коробкой посредством по меньшей мере одного петлевого соединения для создания оси петли, расположенной по существу параллельно верхнему элементу коробки и верхнему элементу рамы так, что рама перемещается из закрытого положения в положение вентиляции, и в положении вентиляции плоскость рамы образует угол в ограниченном диапазоне углов с плоскостью коробки для создания по меньшей мере одного вентиляционного отверстия, при этом сетчатая конструкция покрывает это по меньшей мере одно вентиляционное отверстие по меньшей мере частично в положении вентиляции, при этом сетчатая конструкция содержит по меньшей мере, один сетчатый элемент, который в закрытом положении окна расположен в неактивном положении на интерфейсе между коробкой и рамой, а в положении вентиляции перекрывает вентиляционное отверстие между нижним элементом коробки и нижним элементом рамы и/или между верхним элементом коробки и верхним элементом рамы, и этот по меньшей мере один сетчатый элемент разъемно соединен с верхним или нижним элементом рамы и/или коробки в пределах указанного ограниченного диапазона углов, отличающееся тем, что сетчатый элемент расположен на верхнем и/или нижнем элементе коробки и рамы, а боковые элементы коробки и рамы в положении вентиляции размещены с перекрытием друг друга так, чтобы обеспечить достаточную защиту от проникновения насекомых через боковые части окна.
2. Окно по п.1, отличающееся тем, что по меньшей мере один сетчатый элемент сетчатой конструкции выполнен с возможностью автоматического перемещения из неактивного положения, соответствующего закрытому положению окна, в активное положение, соответствующее положению вентиляции, и из активного положения в неактивное положение, когда окно переводится из его положения вентиляции в его закрытое положение.
3. Окно по п.1, отличающееся тем, что по меньшей мере один сетчатый элемент сетчатой конструкции выполнен с возможностью автоматического перемещения из активного положения, соответствующего положению вентиляции окна, в неактивное положение, когда окно проходит за положение вентиляции в более наклоненное положение рамы.
4. Окно по п.1, отличающееся тем, что сетчатая конструкция содержит по меньшей мере один сетчатый элемент, выполненный в виде клапана, соединенного с верхним или нижним элементом коробки или верхним или нижним элементом рамы посредством петли.
5. Окно по п.4, отличающееся тем, что клапан выполнен с возможностью свободного свисания под действием силы тяжести.
6. Окно по п.4, отличающееся тем, что клапан подпружинен в направлении активного положения сетчатого элемента посредством натяжного элемента, например спиральной пружины.
7. Окно по п.1, отличающееся тем, что сетчатая конструкция содержит по меньшей мере один сетчатый элемент, выполненный в виде шторки, соединенной с верхним или нижним элементом коробки или рамы.
8. Окно по п.7, отличающееся тем, что шторка является сматываемой в рулон шторкой, подпружиненной в направлении неактивного положения сетчатого элемента.
9. Окно по п.7, отличающееся тем, что шторка является складной шторкой.
10. Окно по п.1, отличающееся тем, что сетчатая конструкция содержит по меньшей мере один сетчатый элемент, выполненный в виде ползуна, соединенного с верхним или нижним элементом коробки или рамы.
11. Окно по п.10, отличающееся тем, что ползун содержит решетку из проволоки или множество ребер или щетку.
12. Окно по п.1, отличающееся тем, что каждый из верхних и нижних элементов коробки и/или рамы выполнены со скосом.
13. Окно по п.1, отличающееся тем, что содержит средство для индикации положения вентиляции.
14. Окно по п.1, отличающееся тем, что на каждом боковом элементе коробки и рамы расположено уплотняющее средство.
15. Окно по п.14, отличающееся тем, что уплотняющее средство содержит скользящий уплотняющий или щеточный элемент.
16. Окно по п.14, отличающееся тем, что уплотняющее средство установлено для уплотнения любого зазора между перекрывающими друг друга боковыми элементами коробки и рамы на участке между осью петли и сетчатой конструкцией.
17. Окно по п.1, отличающееся тем, что сетчатая конструкция дополнительно содержит средство для защиты интерфейса, расположенное на интерфейсе между сетчатым элементом и боковыми элементами рамы.
РИСУНКИ
|
|