|
|
(21), (22) Заявка: 2006129225/03, 08.08.2006
(24) Дата начала отсчета срока действия патента:
08.08.2006
(43) Дата публикации заявки: 20.02.2008
(46) Опубликовано: 10.03.2009
(56) Список документов, цитированных в отчете о поиске:
DE 4115660 A1, 19.11.1992. RU 51647 U1, 27.02.2006. RU 33768 U1, 10.11.2003. DE 2447489 A1, 08.04.1976. DE 2429807 A1, 02.01.1976.
Адрес для переписки:
197227, Санкт-Петербург, а/я 405, С.А. Воропаю
|
(72) Автор(ы):
Михалап Валерий Иванович (RU)
(73) Патентообладатель(и):
Михалап Валерий Иванович (RU)
|
(54) НАВЕСНОЙ ВЕНТИЛИРУЕМЫЙ ФАСАД ИЗ КОРОБЧАТЫХ ПАНЕЛЕЙ
(57) Реферат:
Изобретение относится к области промышленного и гражданского строительства, а именно к конструкциям навесных вентилируемых фасадов зданий и сооружений. Навесной вентилируемый фасад включает коробчатые панели, закрепленный на подвергающейся облицовке поверхности опорный профиль и крепежные элементы, укрепленные на горизонтальных стенках коробчатых панелей. Крепежные элементы снабжены упругодеформируемыми фиксирующими лапками. Стенки коробчатых панелей с противоположной стороны панели снабжены наружным выпуском для крепления ее к опорному профилю. Форма и размеры крепежных элементов и фиксирующих лапок, а также взаимное их расположение выбраны из условия обеспечения возможности перемещения крепежного элемента с фиксирующими лапками одной панели относительно наружного выпуска смежной панели при их монтаже и упругого взаимодействия фиксирующих лапок одной панели с наружным выпуском смежной панели при их конечном положении. Технический результат – повышение удобства монтажа металлических панелей вентилируемого фасада, снижение трудоемкости установки. 1 ил.
Изобретение относится к области промышленного и гражданского строительства, а именно к конструкциям навесных вентилируемых фасадов зданий и сооружений, образуемых как при строительстве новых зданий, так и при реконструкции ранее эксплуатируемых сооружений для придания им эстетических качеств и повышения степени теплоизоляции и защиты от внешних атмосферных воздействий.
Широко известны комплекты фасадной подвески для облицовки зданий и сооружений (патенты ФРГ №1784453, №1683214), в которых крепление облицовки сооружения обеспечивается за счет фасадной подвески, содержащей профильные кронштейны, фиксируемые в проектном положении винтовой парой и несущие на свободных концах пластину для крепления облицовки.
Известны навесные панели облицовки здания, которые закрепляются на стене при помощи, по крайней мере, двух крепежных средств L-образного металлического элемента с выполненными в его полке продольными направляющими в виде отбортовки, утеплитель крепится на полке L-образного металлического элемента, а на размещаемой в его полке вставке крепится навешиваемая фасадная облицовка с последующим ее перемещением в проектное положение, см. патент РФ №2146323.
Известное решение, при наличии высоких эксплуатационных показателей, недостаточно технологично, имеет повышенные материалоемкость и себестоимость изготовления и высокую трудоемкость монтажа.
Известно устройство для крепления облицовочных плит, содержащее опорный профиль, закрепленный на поверхности, подвергающейся облицовке, промежуточный элемент, связанный с опорным профилем, и, по крайней мере, один несущий элемент, имеющий П-образный профиль, полка которого соединена с поверхностью промежуточного элемента, а свободные концы сторон имеют отходящие от боковых сторон под углом 90° плечи, между внутренней поверхностью каждого из которых, сопряженной с ней стороной П-образного профиля, и поверхностью промежуточного элемента образован зазор для установки в каждом из них противолежащих концов облицовочных плит, отличающееся тем, что полка П-образного профиля несущего элемента снабжена лапкой для заглубления в окне, выполненном на промежуточном элементе, и загнутой из тела П-образного профиля под углом 90° от одной из его сторон, а длина лапки больше длины отходящего в том же направлении, что и лапка, плеча П-образного профиля, и на конце которой выполнено сквозное отверстие под крепежный элемент, соответствующее сквозному отверстию, выполненному на промежуточном элементе, при этом полка П-образного профиля имеет зигзагообразный изгиб в направлении лапки с величиной угла каждого изгиба не более 90°, причем расстояние “d” от вершины угла зигзага, прилегающей к противоположной от лапки стороне несущего элемента, до внутренней поверхности лапки соответствует толщине промежуточного элемента, а окно промежуточного элемента, предназначенное для заглубления в нем лапки, имеет ширину и длину на 1-2 мм больше толщины и ширины лапки соответственно, см. патент РФ №2249660.
Данному аналогу присуща совокупность признаков, наиболее близкая к совокупности существенных признаков заявляемого изобретения, в связи с чем данное известное техническое решение выбрано в качестве прототипа заявляемого изобретения.
Причины, препятствующие получению технического результата, который обеспечивается изобретением, заключаются в неудобстве и высокой трудоемкости монтажа панелей, обусловленные ограниченной возможностью монтажа панелей только снизу вверх и большим количеством монтажных операций, а также в наличии значительного расстояния между укрепленными панелями, что ухудшает внешний вид образуемого ими фасада.
В основу изобретения положено решение задачи повышения удобства монтажа металлических панелей вентилируемого фасада, снижение трудоемкости их установки при сохранении высоких эксплуатационных характеристик, а также улучшение внешнего вида фасада.
Сущность изобретения как технического решения выражается в следующей совокупности существенных признаков, достаточной для достижения указанного выше обеспечиваемого изобретением технического результата.
Навесной вентилируемый фасад из коробчатых панелей, включающий закрепленный на подвергающейся облицовке поверхности опорный профиль, характеризуется тем, что на горизонтальных стенках коробчатых панелей укреплены крепежные элементы, снабженные упругодеформируемыми фиксирующими лапками, при этом стенки коробчатых панелей с противоположной стороны панели снабжены наружным выпуском для крепления ее к опорному профилю, причем форма и размеры крепежных элементов и фиксирующих лапок, а также взаимное их расположение выбраны из условия обеспечения возможности перемещения крепежного элемента с фиксирующими лапками одной панели относительно наружного выпуска смежной панели при их монтаже и упругого взаимодействия фиксирующих лапок одной панели с наружным выпуском смежной панели при их конечном положении.
В этом заключается совокупность существенных признаков изобретения, обеспечивающая получение технического результата во всех случаях, на которые распространяется испрашиваемый объем правовой охраны.
Заявителем не выявлены источники, содержащие информацию о технических решениях, совокупности признаков которых совпадают с совокупностью отличительных признаков заявленного изобретения, что позволяет сделать вывод о его соответствии условию “новизна”.
Технический результат, достигаемый при реализации совокупности существенных признаков заявленного изобретения, заключается в том, что за счет соответствующего выбора размеров и формы крепежных элементов и фиксирующих лапок, а также их взаимного расположения монтаж каждой панели осуществляется путем ее перемещения, при котором фиксирующие лапки одной панели входят во взаимодействие с наружным выпуском другой панели, предварительно прикрепленной к опорному профилю, причем в конечном рабочем положении панелей обеспечивается упругое взаимодействие фиксирующих лапок одной панели с наружным выпуском смежной панели и надежная их фиксация. Смежные фасадные панели надежно и просто прикрепляются друг к другу, сохраняя в то же время возможность относительного изменения своего положения для обеспечения выравнивания, при этом элементы крепления панелей оказываются практически скрытыми и не портят внешнего вида фасада.
Отдельные отличительные признаки заявленного изобретения (крепежные элементы, упругодеформируемые фиксирующие лапки) известны из уровня техники, однако заявителю не известны какие-либо публикации, которые содержали бы сведения о влиянии данных отличительных признаков изобретения на достигаемый технический результат. В связи с этим, по мнению заявителя, можно сделать вывод о соответствии заявляемого технического решения условию “изобретательский уровень”.
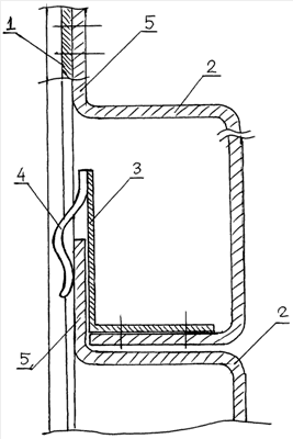
Сущность изобретения поясняется чертежом, где представлен поперечный разрез по месту крепления двух смежных коробчатых панелей, крепежные элементы одной из которых прикреплены к внутренней поверхности стенки коробчатой панели.
Навесной вентилируемый фасад включает закрепленный на подвергающейся облицовке поверхности опорный профиль 1. На горизонтальных стенках коробчатых панелей 2 укреплены крепежные элементы 3, которые снабжены упругодеформируемые фиксирующими лапками 4. Форма и размеры крепежных элементов 3, фиксирующих лапок 4, а также взаимное их расположение выбраны из условия обеспечения возможности упругого взаимодействия фиксирующих лапок 4 одной панели 2 с наружным выпуском 5 смежной панели.
Вентилируемый навесной фасад формируют путем последовательного прикрепления совокупности фасадных коробчатых панелей 2 к несущей системе фасада, включающей опорный профиль 1 и друг к другу. Каждая панель 2 через наружный выпуск 5 прикрепляется к опорному профилю 1. После этого смежную монтируемую панель 2 перемещают сверху вниз так, что ее фиксирующие лапки 4 входят в упругое взаимодействие с наружным выпуском 5 уже укрепленной панели 2, надежно удерживая нижнюю сторону монтируемой панели 2. После наружный выпуск монтируемой панели 2 прикрепляется к опорному профилю 1. Далее процесс продолжается до полного формирования вентилируемого навесного фасада.
Таким образом, монтаж навесных панелей максимально упрощается, все монтажные операции сводятся к креплению одной стороны панелей 2 к опорному профилю 1 и к надвижке смежной панели 2 на уже закрепленную панель. Все фасадные панели 2 надежно удерживаются, при этом расстояние между ними можно выполнить с одной стороны минимально возможным, а с другой стороны оно может быть выполнено в соответствии с пожеланием заказчика любого требуемого размера, что значительно улучшает внешний вид фасада в целом. Кроме того, заявленная конструкция фасада позволяет вести монтаж панелей как снизу вверх, так и сверху вниз, что расширяет функциональные возможности фасада, упрощая его монтаж, удобно сочетая его с технологией строительства или реконструкции обрабатываемого здания или сооружения.
Заявленным образом могут монтироваться как панели, выполненные из алюминия или оцинкованной стали, так и панели, выполненные из композитных материалов. Упругодеформируемые фиксирующие лапки могут быть выполнены из нержавеющей стали либо другого материала, обладающего достаточно высокой упругостью и жесткостью.
Возможность промышленного применения заявленного технического решения подтверждается известными и описанными в заявке средствами и методами, с помощью которых возможно осуществление изобретения в том виде, как она охарактеризована в формуле изобретения. Предложенное устройство может быть изготовлено промышленным способом из известных материалов с использованием известных технологий и технических средств, что обусловливает, по мнению заявителя, соответствие заявленного изобретения условию «промышленная применимость».
Использование заявленного решения по сравнению со всеми известными средствами аналогичного назначения обеспечивает следующие преимущества:
– снижение трудоемкости монтажа;
– уменьшение расходов на крепежные средства;
– возможность ведения монтажа панелей в удобном направлении по вертикали;
– улучшение внешнего вида фасада.
Формула изобретения
Навесной вентилируемый фасад из коробчатых панелей, включающий закрепленный на подвергающейся облицовке поверхности опорный профиль, отличающийся тем, что на горизонтальных стенках коробчатых панелей укреплены крепежные элементы, снабженные упругодеформируемыми фиксирующими лапками, при этом стенки коробчатых панелей с противоположной стороны панели снабжены наружным выпуском для крепления ее к опорному профилю, причем форма и размеры крепежных элементов и фиксирующих лапок, а также взаимное их расположение, выбраны из условия обеспечения возможности перемещения крепежного элемента с фиксирующими лапками одной панели относительно наружного выпуска смежной панели при их монтаже и упругого взаимодействия фиксирующих лапок одной панели с наружным выпуском смежной панели при их конечном положении.
РИСУНКИ
|
|