|
(21), (22) Заявка: 2006128486/02, 04.08.2006
(24) Дата начала отсчета срока действия патента:
04.08.2006
(43) Дата публикации заявки: 10.02.2008
(46) Опубликовано: 10.03.2009
(56) Список документов, цитированных в отчете о поиске:
RU 2228964 С1, 20.05.2004. RU 2222623 C1, 27.01.2004. RU 2092760 C1, 10.10.1997. CN 1311342 A, 05.09.2001. EP 0055815 A1, 14.07.1982. US 3882261 A, 06.05.1975. DE 2736793 A, 23.02.1978.
Адрес для переписки:
618421, Пермский край, г. Березники, пр-кт Ленина, 101, ОАО “РИТМ”, генеральному директору Ю.А. Ряпосову
|
(72) Автор(ы):
Грибов Владимир Иванович (RU), Лепихин Владимир Петрович (RU)
(73) Патентообладатель(и):
Открытое акционерное общество “Российский научно-исследовательский и проектный институт титана и магния” (ОАО “РИТМ”) (RU)
|
(54) ПЕЧЬ НЕПРЕРЫВНОГО РАФИНИРОВАНИЯ МАГНИЯ
(57) Реферат:
Изобретение относится к устройствам для рафинирования магния. Печь непрерывного рафинирования магния с солевым обогревом включает футерованный цилиндрический кожух, установленный внутри на подставках колокол с центральным вертикальным каналом, свод, введенные через боковую стенку ниже колокола электроды и подину со скосами. При этом расстояние от подины до электродов составляет 200-300 мм, а расстояние от электродов до колокола 1,0-2,0 высоты электродов. Электроды расположены симметрично относительно вертикальной оси печи и друг друга. В своде над электродами выполнены люки с крышками. Подставки колокола опираются на электроизоляционные опоры или прокладки, а верхняя грань электродов выполнена скошенной. Диаметр горизонтальной части подины составляет 0,5-0,95 расстояния между диаметрально расположенными электродами. Техническим результатом является стабилизация электрического и температурного режима печи. 6 з.п. ф-лы, 2 ил.
Изобретение относится к производству цветных металлов, конкретно к устройствам для рафинирования магния.
Известна печь с солевым обогревом для плавки магния (авт.св. СССР №1603916, F27B 3/08, С22В), содержащая футерованную шахту со скосами на подине, электроды и кольцевой колпак, причем электроды расположены ниже колпака. Недостатком печи является возможное нарушение электрического режима печи при расположении электродов недопустимо близко к колоколу или подине с накопившимся на ней шламом.
Известна печь для рафинирования магния, включающая кожух с футерованной ванной с электродами, внутри которой установлен колокол с патрубками и дном. Недостатком такой печи, изображенной на чертеже в описании к патенту РФ №2222623, является расположение греющих электродов напротив стенок колокола, что приводит при эксплуатации к неправильному использованию мощности греющего трансформатора, к необходимости увеличивать расстояние между футеровкой и колоколом, увеличивая непроизводительный объем печи.
Известна печь непрерывного рафинирования магния (патент РФ №2228964), принятая в качестве прототипа, включающая свод, кожух с футерованной ванной с электродами, с установленным внутри нее колоколом. На чертеже в описании колокол установлен на анодах над электродами. Недостатком такой печи является неустойчивость электрического и температурного режима печи при недостаточном удалении электродов от элемента колокола и подины со скопившимся на ней магнийсодержащим шламом. Кроме того, электроды не имеют доступа для чистки.
Техническим результатом является стабилизация электрического и температурного режима печи, а следовательно, качества рафинирования и производительности печи за счет уточнения расположения электродов в печи.
Технический результат достигается тем, что печь включает цилиндрический вертикальный футерованный кожух, установленный внутри на подставках колокол с центральным каналом, подину со скосами, свод и введенные через боковую стенку ниже колокола электроды;
при этом расстояние от подины до электродов составляет 200-300 мм, а расстояние от электродов до колокола 1,0-2,0 высоты электродов;
при этом электроды относительно вертикальной оси расположены симметрично и на одном уровне;
при этом в своде над электродами выполнены люки с крышками;
при этом подставки колокола расположены симметрично между электродами;
при этом подставки колокола опираются на электроизоляционные опоры или прокладки;
при этом верхняя грань электродов в объеме печи выполнена скошенной;
при этом диаметр горизонтальной части подины составляет 0,5-0,95 расстояния между диаметрально расположенными электродами.
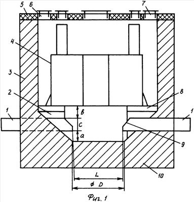
На фиг.1 показан вертикальный разрез печи, а на фиг.2 – схема расположения электродов и опор колокола в плане. Цифрами обозначены: 1 – электрод; 2 – опора; 3 – футеровка; 4 – колокол; 5 – свод; 6, 7 – люки; 8 – изоляционная прокладка; 9 – скошенная грань электрода; 10 – подина. Буквами обозначены: а – расстояние от подины до электрода; b – расстояние от электрода до колокола; с – высота колокола; L – расстояние между электродами; D – диаметр горизонтальной части подины.
Оптимальные соотношения положения электродов, колокола и футеровки изучены и подобраны на аналоговой водной модели печи.
Изменение расстояния от подины до электродов -а- менее 200 мм по условиям работы с расплавом может привести к замыканиям через металлсодержащий шлам, а при -а- более 300 мм может образоваться настыль на подине, так как потоки расплава будут замыкаться в более высоких слоях.
Расстояние от электродов до колокола -b- менее одной высоты электродов снижает общее электрическое сопротивление печи, так как часть тока ответвляется в материал колокола; при расстоянии -b- более двух высот электрода неоправданно повышается глубина печи и усложняется ее обслуживание. При этом имеется в виду реальная высота электродов 80-300 мм, причем при большей величине принимается меньшее отношение, так, при с=300 мм b=1,0 · с, а при с=80 мм b=2,0 · с.
Симметричное расположение электродов позволяет рационально обогреть наибольшую площадь подины и равномерно колокол.
Симметричное расположение подставок также выравнивает электрическое поле в солевой среде.
Размещение в подставках колокола на электроизоляционных опорах или прокладках уменьшает токи утечки через футеровку и уменьшает возможность нарушения целостности футеровки.
На верхней грани электродов возможно оседание шлама, поэтому выполнение ее скошенной способствует очистке электрода. Кроме того, люки в своде над электродами позволяют проконтролировать состояние электродов и, при необходимости, продуть их воздухом.
Выполнение диаметра горизонтальной части подины менее расстояния между электродами ( D
Печь работает следующим образом.
В печь заливают соль из смеси хлоридов щелочных и щелочноземельных металлов, служащую рафинирующей и греющей средой, в колокол заливают магний-сырец и, после отстоя 10-30 мин, удаляют рафинированный магний. Температура процесса 690-710°С поддерживается переменным током, подведенным к электродам печи через понижающий печной трансформатор, который может быть как трехфазным (в этом случае количество электродов кратно трем), так и однофазным (при этом количество электродов кратно двум).
Периодически из печи удаляют шламосолевую смесь, доливая свежие порции солевого расплава или частично загружая в твердом виде.
Нагретый расплав поднимается вдоль футеровки, и поток замыкается через центральный канал в колоколе.
Испытания опытно-промышленного варианта печи с предложенными параметрами и элементами показало ее надежную работу и возможность регулирования температуры расплава.
Формула изобретения
1. Печь непрерывного рафинирования магния с солевым обогревом, включающая футерованный цилиндрический кожух, установленный внутри на подставках колокол с центральным вертикальным каналом, свод, введенные через боковую стенку ниже колокола электроды и подину со скосами, отличающаяся тем, что расстояние от подины до электродов составляет 200-300 мм, а расстояние от электродов до колокола 1,0-2,0 высоты электродов.
2. Печь по п.1, отличающаяся тем, что электроды относительно вертикальной оси печи расположены симметрично и на одном уровне.
3. Печь по п.1, отличающаяся тем, что в своде над электродами выполнены люки с крышками.
4. Печь по п.1, отличающаяся тем, что подставки колокола расположены симметрично между электродами.
5. Печь по п.1, отличающаяся тем, что подставки колокола опираются на электроизоляционные опоры или прокладки.
6. Печь по п.1, отличающаяся тем, что верхняя грань электродов в объеме печи выполнена скошенной.
7. Печь по п.1, отличающаяся тем, что диаметр горизонтальной части подины составляет 0,5-0,95 расстояния между диаметрально расположенными электродами.
РИСУНКИ
=0,5-0,95l)>
|