|
(21), (22) Заявка: 2007116274/11, 28.04.2007
(24) Дата начала отсчета срока действия патента:
28.04.2007
(46) Опубликовано: 10.03.2009
(56) Список документов, цитированных в отчете о поиске:
RU 44083 U1, 27.02.2005. RU 38682 U1, 10.07.2004. GB 1318145 A, 23.05.1973. US 4352316 A, 05.10.1982.
Адрес для переписки:
603127, г.Нижний Новгород, ул. Коновалова, 21, ЗАО “Сормовский завод бронированных автомобилей “РИДА”
|
(72) Автор(ы):
Яворский Юрий Валерьевич (RU)
(73) Патентообладатель(и):
Яворский Юрий Валерьевич (RU)
|
(54) СПОСОБ УСИЛЕНИЯ ПЕТЕЛЬ ДВЕРИ ПРИ БРОНИРОВАНИИ АВТОМОБИЛЯ
(57) Реферат:
Изобретение относится к области автомобилестроения, в частности к способу усиления петель при бронировании автомобиля при скрытом бронировании автомобиля. Способ заключается в том, что приваривают планки и косынки для разнесения нагрузки к металлу корпуса стойки, а крепление петель двери производится на лист защиты, установленный изнутри кузова, обваренный по контуру с закрепленными на нем резьбовыми элементами крепления петель. Петли усиливаются косынками, приваренными вертикально к корпусу петли. Изнутри передней и средней стоек заподлицо с дверным проемом ввариваются планки бронезащиты, ширина которых перекрывает листы защиты и обусловлена отсутствием бокового прострела корпуса кузова. Достигается повышение надежности крепления двери и снятие нагрузки с петель, вызванной увеличением массы двери за счет бронирования и установки бронестекол. 18 ил.
Способ усиления петель двери при бронировании автомобилей (в дальнейшем – способ) относится к области автомобилестроения, в частности, к скрытому бронированию автомобилей.
Целью использования способа является создание конструкции надежного крепления двери при бронировании, а самое главное снятие сверхнагрузки с петель, вызванной увеличением массы двери за счет бронирования и установки бронестекол.
Известен способ усиления петель двери за счет создания специальной конструкции петли для бронированных автомобилей (см. патент №41678 “Петля двери автомобиля” ЗАО СЗБА “Рида”, г.Н.Новгород), однако этот вид усиления петель приводит к значительным доработкам конструкции автомобиля, сопрягаемых деталей двери, кузова, что не всегда возможно. Этот способ повышает трудоемкость изготовления бронеавтомобилей и может быть рекомендован к использованию в случае создания новой конструкции.
Наиболее близким техническим решением является способ разгрузки петель за счет цилиндрических подпоров (см. патенты №38682, 44083 “Дверь распашная бронированная” ЗАО СЗБА “Рида”, г.Н.Новгород), но применение этого способа не всегда возможно, особенно в легковых автомобилях, так как требует разработки и создания дополнительных деталей.
Указанный способ разъясняется чертежами, изображенными на фиг.1-10.
Однако, как показала практика, вся нагрузка сосредотачивается на маленькой площади, равной заделке закладных деталей, что приводит к деформации кузова и последующим вырываниям петель.
Поставленная цель достигается тем, что крепление петель двери производится на лист защиты, установленный изнутри кузова, обваренный по контуру с закрепленными на нем резьбовыми элементами крепления петель, а сами петли усиливаются косынками, приваренными вертикально к корпусу петли, при этом изнутри передней и средней стоек заподлицо с дверным проемом ввариваются планки бронезащиты, ширина перекрывает листы защиты и обусловлена отсутствием бокового прострела корпуса кузова.
Сущность изобретения поясняется чертежами, где:
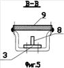
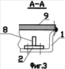
На фиг.1-10 разъясняется описание существующего способа;
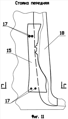
На фиг.11, 12 показана приварка бронезащиты изнутри на передней стойке;
На фиг.13, 14 показана приварка бронезащиты изнутри на средней стойке;
На фиг.15-18 показано усиления корпуса петель косынками.
Существующий способ усиления петель заключается в том, что на передней стойке 1, средней стойке 5 приварены закладные детали 2, 3, 4, 6 (фиг.1, 2), которые усиливаются изнутри планкой 7 и косынками 8 (фиг.6), связанными с корпусом стойки (фиг.1, 5).
На внутренней стороне передней стойке 1 и средней стойке 5 заподлицо, с краю дверного проема, жестко приварены пластины бронезащиты 9, 10.
На фиг.7, 8 показаны петли передней стойки 11, 12, на фигуре 9, 10 показаны петли средней стойки 13, 14.
Предлагаемый способ заключается в том, что вместо закладных деталей, изнутри стоек, привариваются листы защиты 15, 16, на которых имеются элементы крепления петель дверей 17 (фиг.11-14). После обваривания по контуру этих листов по краям дверных проемов привариваются заподлицо планки бронезащиты 18 на передней стойке и 19, 20 на средней стойке, ширина которых перекрывает листы защиты 15, 16 (фиг.11-14), что гарантирует отсутствие бокового прострела. Приварка бронезащиты планками 18, 19, 20 обеспечивает удобство монтажа электропроводок, крепления ремней и монтажа деталей, что нельзя сделать при приварке бронезащиты в виде листов 9, 10, как в существующем способе.
В то же время корпуса петель фиг.15-18 усиливаются косынками 21-28, приваренными по торцу корпуса петли, что усиливает петли при вертикальных нагрузках.
Такие дополнения в конструкции автомобилей при скрытом бронировании не изменяют как внешний вид автомобилей, так и их конструктивные особенности и оставляют трудоемкость изготовления бронеавтомобилей на том же уровне.
Подобные решения можно применить и в других конструкциях, где это возможно.
Формула изобретения
Способ усиления петель двери бронированного автомобиля, заключающийся в приваривании планок и косынок для разнесения нагрузки к металлу корпуса стойки, отличающийся тем, что крепление петель двери производится на лист защиты, установленный изнутри кузова, обваренный по контуру с закрепленными на нем резьбовыми элементами крепления петель, а сами петли усиливаются косынками, приваренными вертикально к корпусу петли, при этом изнутри передней и средней стоек заподлицо с дверным проемом ввариваются планки бронезащиты, ширина которых перекрывает листы защиты и обусловлена отсутствием бокового прострела корпуса кузова.
РИСУНКИ
QB4A – Регистрация лицензионного договора на использование изобретения
Лицензиар(ы): Яворский Юрий Валерьевич
Вид лицензии*: НИЛ
Лицензиат(ы): Общество с ограниченной ответственностью Завод “Спецкомплект”
Договор № РД0056371 зарегистрирован 30.10.2009
Извещение опубликовано: 10.12.2009 БИ: 34/2009
* ИЛ – исключительная лицензия НИЛ – неисключительная лицензия
QB4A – Регистрация лицензионного договора на использование изобретения
Лицензиар(ы): Яворский Юрий Валерьевич
Вид лицензии*: НИЛ
Лицензиат(ы): Общество с ограниченной ответственностью Завод “РИДА”
Договор № РД0059645 зарегистрирован 27.01.2010
Извещение опубликовано: 10.03.2010 БИ: 07/2010
* ИЛ – исключительная лицензия НИЛ – неисключительная лицензия
|