|
|
(21), (22) Заявка: 2007127150/12, 16.07.2007
(24) Дата начала отсчета срока действия патента:
16.07.2007
(46) Опубликовано: 10.03.2009
(56) Список документов, цитированных в отчете о поиске:
RU 2290308 C2, 20.08.2006. RU 42472 U1, 10.12.2004. GB 1357982 A, 26.06.1974. GB 1309099 A, 07.03.1973.
Адрес для переписки:
614990, г.Пермь, ГСП, ул. Окулова, 75а, ООО “Фирма “Радиус-Сервис”, директору В.Н. Андоскину
|
(72) Автор(ы):
Андоскин Владимир Николаевич (RU), Астафьев Сергей Петрович (RU), Пушкарев Максим Анатольевич (RU), Глинкин Алексей Сергеевич (RU), Колышкин Антон Сергеевич (RU)
(73) Патентообладатель(и):
Общество с ограниченной ответственностью “Фирма “Радиус-Сервис” (RU)
|
(54) ПРЕСС-ФОРМА ДЛЯ ИЗГОТОВЛЕНИЯ ЭЛАСТОМЕРНОЙ ОБКЛАДКИ СТАТОРА ВИНТОВОЙ ГЕРОТОРНОЙ ГИДРОМАШИНЫ
(57) Реферат:
Изобретение относится к производству эластомерных изделий методом литья под давлением, в частности резиновых обкладок статоров винтовых героторных гидромашин. Техническим результатом заявленого изобретения является повышение энергетических характеристик, ресурса и надежности винтовых героторных гидромашин. Технический результат достигается пресс-формой для изготовления эластомерной обкладки статора винтовой героторной гидромашины, содержащей сердечник с винтовыми многозаходными зубьями, входной и литьевые каналы, выполненные на одной из сторон сердечника. Две центрирующие втулки установлены по краям сердечника. Перекрывающая втулка установлена на сердечнике со стороны входного и литьевых каналов. Пресс-форма также включает трубчатый корпус изготавливаемого статора, установленный при помощи центрирующих втулок концентрично сердечнику. Корпус образует с втулками и сердечником формовочную полость. При этом одна из центрирующих втулок содержит, по меньшей мере, одно сквозное отверстие для выхода воздуха из формовочной полости. Каждая центрирующая втулка выполнена в виде гильзы с поперечной стенкой, расположенной на ее торце. В поперечной стенке для установки гильзы по торцовым краям сердечника и/или на перекрывающей втулке концентрично сердечнику выполнены центрирующие отверстия. Торцевые края наружной поверхности корпуса статора установлены в гильзах концентрично сердечнику. Один торец трубчатого корпуса статора расположен в поперечной плоскости сердечника, проходящей через места выхода литьевых каналов, а другой торец скреплен с упором в поперечную стенку гильзы, расположенной со стороны, противоположной входному и литьевым каналам. 6 з.п. ф-лы, 3 ил.
Изобретение относится к производству эластомерных изделий методом литья под давлением, в частности резиновых обкладок статоров винтовых героторных гидромашин (винтовых забойных двигателей для бурения нефтяных и газовых скважин и винтовых насосов для перекачивания жидкостей).
Известна литьевая пресс-форма, содержащая сердечник с винтовыми зубьями, заливочную головку с центральным каналом, соединенным с литьевыми каналами, выходящими на формообразующий торец между зубьями сердечника, скрепленную с сердечником резьбовым соединением и штифтом, и две втулки, одна из которых установлена на заливочной головке, другая – на противоположной от заливочной головки стороне сердечника, а также установленный на втулках концентрично сердечнику корпус, образующий с пресс-формой формовочную полость (SU 1220251, В29С 35/02, В29С 45/14, В29С 45/27, 2000.06.10).
Недостатком известной конструкции является неполное использование возможности повышения энергетических характеристик, ресурса и надежности винтовых героторных гидравлических машин из-за отсутствия возможности изготовления эластомерной обкладки в статоре с припуском по торцам, вырезки образцов (резина плюс металл) для подтверждения физико-механических свойств резиновой обкладки в статоре, например прочности и связи резиновой обкладки с металлом при отрыве, упругопрочностных свойств при растяжении, твердости по ШОР А, усталостной выносливости при знакопеременном изгибе с вращением, теплообразования, остаточной деформации и усталостной выносливости при многократном сжатии, температурного предела хрупкости, стойкости в ненапряженном состоянии к воздействию жидких агрессивных сред, твердости в международных единицах, истиранию при скольжении.
Известна пресс-форма для изготовления резинометаллических изделий, содержащая сердечник 1 с винтовыми зубьями, входной 10 и литьевые 11 каналы, выполненные на одной из сторон сердечника, две центрирующие втулки 3, 4, установленные по краям сердечника, перекрывающую втулку 5, установленную на сердечнике 1 со стороны входного 10 и литьевых 11 каналов, а также включающая полый корпус изготавливаемого статора (остов статора), установленный на центрирующих втулках 3 и 4 концентрично сердечнику 1, образующий с втулками 3, 4, 5 и сердечником 1 формовочную полость, а также содержащая контрольный щуп 9, которым проверяют полноту заливки пресс-формы по выдвижению щупа из втулки 4 (Коротаев Ю.А. и др. Многозаходные винтовые забойные двигатели для бурения и капитального ремонта скважин. Москва. ОАО “ВНИИОЭНГ”, 2002, с.35, рис.11).
В известной конструкции впускные литники 12 расположены между зубьями сердечника 1 и образованы путем перекрытия литьевых каналов 11 с помощью перекрывающей втулки 5, установленной на сердечнике 1, при этом втулка 5 перекрывает литьевые каналы 11 в пределах от 0,3 до 0,5 их проходной площади.
Профиль зубьев сердечника описывается уравнениями, учитывающими координаты профиля сердечника пресс-формы, координаты и угол номинального теоретического профиля изделия, радиус окружности впадин изделия, а также соотношения коэффициентов, учитывающих величину усадки резины по диаметру впадин изделия, разницу высот зубьев сердечника пресс-формы и изделия (SU 1193923, В29С 33/00, В29С 45/00, B29L 31/00, 2000.05.27).
Недостатком известной конструкции является неполное использование возможности повышения энергетических характеристик, ресурса и надежности героторных винтовых гидравлических машин из-за отсутствия возможности изготовления эластомерной обкладки в статоре с припуском по торцам, вырезки образцов (резина плюс металл) для подтверждения физико-механических свойств резиновой обкладки в статоре, например прочности и связи резиновой обкладки с металлом при отрыве, упругопрочностных свойств при растяжении, твердости по ШОР А, усталостной выносливости при знакопеременном изгибе с вращением, теплообразования, остаточной деформации и усталостной выносливости при многократном сжатии, температурного предела хрупкости, стойкости в ненапряженном состоянии к воздействию жидких агрессивных сред, твердости в международных единицах, истиранию при скольжении.
Наиболее близкой к заявляемому изобретению является пресс-форма для изготовления эластомерной обкладки статора винтовой героторной гидромашины, содержащая сердечник с винтовыми зубьями, входной и литьевые каналы, выполненные на одной из сторон сердечника, две центрирующие втулки, установленные по краям сердечника, перекрывающую втулку, установленную на сердечнике со стороны входного и литьевых каналов, и полый корпус изготавливаемого статора, установленный на центрирующих втулках концентрично сердечнику, образующий с втулками и сердечником формовочную полость, перекрывающая втулка и/или центрирующая втулка, расположенная в месте выхода литьевых каналов, концентрично установлены на винтовых зубьях сердечника и образуют с ними литьевые винтовые фильеры, соединенные с литьевыми каналами и формовочной полостью (RU 2290308, В29С 39/10, В29С 45/14, 20.08. 2006).
Винтовые зубья сердечника, расположенные со стороны входного и литьевых каналов, концентрично срезаны на определенную высоту, перекрывающая втулка концентрично установлена на частично срезанных винтовых зубьях, контактирующие торцы перекрывающей и центрирующей втулок расположены в месте выхода литьевых каналов, при этом центрирующая втулка частично перекрывает литьевые каналы, а число литьевых каналов равно, по меньшей мере, числу литьевых винтовых фильер.
Центрирующая втулка содержит внутреннюю расточку для установки на частично срезанных винтовых зубьях, торец внутренней расточки расположен в месте выхода литьевых каналов, а контактирующий с перекрывающей втулкой торец центрирующей втулки образует край резиновой обкладки статора.
Перекрывающая втулка содержит внутреннюю расточку для установки на частично срезанных винтовых зубьях, торец внутренней расточки расположен в месте выхода литьевых каналов, а контактирующие торцы центрирующей и перекрывающей втулок расположены на центрирующей части сердечника.
Центрирующая и перекрывающая втулки выполнены за одно целое в виде формовочной втулки, которая содержит внутреннюю расточку для установки на частично срезанных винтовых зубьях, торец внутренней расточки расположен в месте выхода литьевых каналов, а торец формовочной втулки образует торцовую часть формовочной полости.
В формовочной втулке, а также в перекрывающей и/или центрирующей втулках, установленных на сердечнике со стороны входного и литьевых каналов, выполнено, по меньшей мере, по одному сквозному отверстию или каналу для выхода воздуха из формовочной полости.
Недостатком известной конструкции является неполное использование возможности повышения энергетических характеристик, ресурса и надежности героторных винтовых гидравлических машин из-за отсутствия возможности изготовления методом литья под давлением эластомерной обкладки в статоре с припуском по торцам, вырезки образцов (резина плюс металл) для подтверждения физико-механических свойств резиновой обкладки в статоре, например прочности и связи резиновой обкладки с металлом при отрыве, упругопрочностных свойств при растяжении, твердости по ШОР А, усталостной выносливости при знакопеременном изгибе с вращением, теплообразования, остаточной деформации и усталостной выносливости при многократном сжатии, температурного предела хрупкости, стойкости в ненапряженном состоянии к воздействию жидких агрессивных сред, твердости в международных единицах, истиранию при скольжении.
Диапазон используемых в России винтовых забойных двигателей составляет, например, от двигателя Д-55 до двигателя Д-240, а диапазон момента силы на выходном валу в режиме максимальной мощности составляет от 0,2…0,34 до 10…14 кН·м. Максимальный перепад давления (межвитковый, на зубьях статора) в режиме максимальной мощности, например, на зубьях двигателя ДР-95 составляет 9…14 МПа (Журнал “Строительство нефтяных и газовых скважин на суше и на море”. – М.: ОАО “ВНИИОЭНГ”, №9, 2003, с.8).
Ресурс рабочих пар: винтовой ротор – обкладка из резины в забойных двигателях не превышает 300 часов, а основными дефектами, уменьшающими ресурс забойных двигателей, являются отслоения резины от металла, “набухание” и местные вырывы резины, повышение твердости резины по мере выработки ресурса, низкая усталостная выносливость и разрушения резиновой обкладки статора, что не обеспечивает экономических преимуществ при бурении нефтяных и газовых скважин.
Техническим результатом изобретения является повышение энергетических характеристик, ресурса и надежности винтовых героторных гидромашин путем выполнения в пресс-форме каждой центрирующей втулки в виде гильзы с поперечной стенкой, расположенной на ее торце, и центрирующими отверстиями в поперечной стенке для установки гильзы по торцовым краям сердечника и/или на перекрывающей втулке концентрично сердечнику, установки торцовых краев наружной поверхности корпуса статора в гильзах концентрично сердечнику, расположения одного из торцов трубчатого корпуса статора в плоскости поперечного сечения сердечника, проходящей через места выхода литьевых каналов, скрепления с упором в поперечную стенку гильзы другого торца корпуса статора, расположенного со стороны, противоположной входному и литьевым каналам, что обеспечивает заливку и вулканизацию резиновой обкладки в статоре с припуском по торцам (резина плюс металл), вырезку образцов для подтверждения физико-механических свойств резиновой обкладки в статоре, например прочности и связи с металлом при отрыве (ГОСТ 209-75), упругопрочностных свойств при растяжении (ГОСТ 270-75), твердости по ШОР А (ГОСТ 263-75), усталостной выносливости при знакопеременном изгибе с вращением (ГОСТ 10952-75), теплообразования, остаточной деформации и усталостной выносливости при многократном сжатии (ГОСТ 20418-75), температурного предела хрупкости (ГОСТ 7912-74), стойкости в ненапряженном состоянии к воздействию жидких агрессивных сред (ГОСТ 9.030-74), твердости в международных единицах (от 30 до 100 IRHD, ГОСТ 20403-75), истиранию при скольжении (ГОСТ 426-77).
Сущность технического решения заключается в том, что в пресс-форме для изготовления эластомерной обкладки статора винтовой героторной гидромашины, содержащей сердечник с винтовыми многозаходными зубьями, входной и литьевые каналы, выполненные на одной из сторон сердечника, две центрирующие втулки, установленные по краям сердечника, перекрывающую втулку, установленную на сердечнике со стороны входного и литьевых каналов, а также включающая трубчатый корпус изготавливаемого статора, установленный при помощи центрирующих втулок концентрично сердечнику, образующий с втулками и сердечником формовочную полость, при этом одна из центрирующих втулок содержит, по меньшей мере, одно сквозное отверстие для выхода воздуха из формовочной полости, согласно изобретению каждая центрирующая втулка выполнена в виде гильзы с поперечной стенкой, расположенной на ее торце, и центрирующими отверстиями в поперечной стенке для установки гильзы по торцовым краям сердечника и/или на перекрывающей втулке концентрично сердечнику, торцовые края наружной поверхности корпуса статора установлены в гильзах концентрично сердечнику, один торец трубчатого корпуса статора расположен в поперечной плоскости сердечника, проходящей через места выхода литьевых каналов, а другой торец корпуса статора скреплен с упором в поперечную стенку гильзы, расположенной со стороны, противоположной входному и литьевым каналам.
На перекрывающей втулке между торцом корпуса статора и поперечной стенкой гильзы установлена уплотнительная втулка, содержащая кольцевую канавку и размещенное в ней эластомерное кольцо, контактирующее с внутренней поверхностью трубчатого корпуса статора, а между поперечной стенкой гильзы и уплотнительной втулкой, например, в канавке поперечной стенки гильзы, установлено второе эластомерное кольцо.
На торце перекрывающей втулки со стороны формовочной полости выполнена концентричная кольцевая канавка, образующая в месте выхода литьевых каналов острую кольцевую кромку.
Гильза с поперечной стенкой и перекрывающая втулка выполнены за одно целое в виде формовочной гильзы, содержащей центрирующий пояс в поперечной стенке для установки уплотнительной втулки концентрично сердечнику.
Перекрывающая и уплотнительная втулки выполнены за одно целое в виде формовочной втулки.
Сердечник выполнен с внутренней тупиковой полостью, вход которой расположен со стороны, противоположной входному и литьевым каналам, а торец внутренней тупиковой полости расположен в поперечной плоскости сердечника, проходящей через места выхода литьевых каналов.
Сквозные отверстия для выхода воздуха из формовочной полости выполнены в поперечной стенке гильзы, расположенной со стороны, противоположной входному и литьевым каналам.
Выполнение пресс-формы таким образом, что каждая центрирующая втулка выполнена в виде гильзы с поперечной стенкой, расположенной на ее торце, и центрирующими отверстиями в поперечной стенке для установки гильзы по торцовым краям сердечника и/или на перекрывающей втулке концентрично сердечнику, торцовые края наружной поверхности корпуса статора установлены в гильзах концентрично сердечнику, один торец трубчатого корпуса статора расположен в поперечной плоскости сердечника, проходящей через места выхода литьевых каналов, а другой торец корпуса статора скреплен с упором в поперечную стенку гильзы, расположенной со стороны, противоположной входному и литьевым каналам, повышает энергетические характеристики, ресурс и надежность героторных винтовых гидравлических машин путем заливки и вулканизации резиновой обкладки в статоре с припуском по торцам, вырезки образцов для подтверждения физико-механических свойств резиновой обкладки в статоре, например прочности и связи с металлом при отрыве (ГОСТ 209-75), упругопрочностных свойств при растяжении (ГОСТ 270-75), твердости по ШОР А (ГОСТ 263-75), усталостной выносливости при знакопеременном изгибе с вращением (ГОСТ 10952-75), теплообразования, остаточной деформации и усталостной выносливости при многократном сжатии (ГОСТ 20418-75), температурного предела хрупкости (ГОСТ 7912-74), стойкости в ненапряженном состоянии к воздействию жидких агрессивных сред (ГОСТ 9.030-74), твердости в международных единицах (от 30 до 100 IRHD, ГОСТ 20403-75), истиранию при скольжении (ГОСТ 426-77).
При заливке формовочной полости статора разогретой упруговязкой резиновой смесью, поступающей через литьевые каналы, на винтовые многозаходные зубья сердечника действуют осевые силы, вызывающие скручивание и растяжение сердечника, раскрытие стыка между торцом трубчатого статора и поперечной стенкой гильзы.
Выполнение пресс-формы таким образом, что на перекрывающей втулке между торцом корпуса статора и поперечной стенкой гильзы установлена уплотнительная втулка, содержащая кольцевую канавку и размещенное в ней эластомерное кольцо, контактирующее с внутренней поверхностью корпуса статора, а между поперечной стенкой гильзы и уплотнительной втулкой, например, в канавке поперечной стенки гильзы, установлено второе эластомерное кольцо, сохраняет герметизацию формовочной полости со стороны входного и литьевых каналов, предотвращает раскрытие стыка между торцом трубчатого статора и поперечной стенкой гильзы (от действия упруговязкой резиновой смеси на винтовые многозаходные зубья сердечника) и попадание в стык облоя из резины, что снижает стоимость разборки и очистки пресс-формы.
Выполнение пресс-формы таким образом, что на торце перекрывающей втулки со стороны формовочной полости содержится концентричная кольцевая канавка, образующая в месте выхода литьевых каналов острую кольцевую кромку, обеспечивает отрыв литников из литьевых каналов по следу острой кольцевой кромки, улучшает очистку входного и литьевых каналов сердечника от резинового облоя после вулканизации резины, а также разборку и извлечение сердечника с винтовыми многозаходными зубьями из корпуса статора после вулканизации резины.
Выполнение пресс-формы таким образом, что гильза с поперечной стенкой и перекрывающая втулка выполнены за одно целое в виде формовочной гильзы, содержащей центрирующий пояс в поперечной стенке для установки уплотнительной втулки концентрично сердечнику, улучшает отрыв литников из литьевых каналов по следу острой кольцевой кромки, улучшает очистку входного и литьевых каналов сердечника от резинового облоя после вулканизации резины, разборку и извлечение сердечника из корпуса статора, например, диаметром 176-240 мм, а также извлечение облоя резины из входного и литьевых каналов сердечника с винтовыми многозаходными зубьями.
Выполнение пресс-формы таким образом, что перекрывающая и уплотнительная втулки выполнены за одно целое в виде формовочной втулки, улучшает очистку входного и литьевых каналов сердечника от резинового облоя после вулканизации резины, разборку и извлечение сердечника из корпуса статора, например, диаметром 54-172 мм, а также извлечение и очистку облоя резины из входного и литьевых каналов сердечника с винтовыми многозаходными зубьями.
Выполнение сердечника с внутренней тупиковой полостью, вход которой расположен со стороны, противоположной входному и литьевым каналам, а торец внутренней тупиковой полости расположен в поперечной плоскости сердечника, проходящей через места выхода литьевых каналов, повышает равномерность поля температур и эффективность нагрева теплоносителем (жидким или газообразным) пресс-формы при вулканизации резиновой смеси за счет подвода теплоносителя снаружи (через трубчатый корпус статора) и изнутри (через стенки сердечника с винтовыми зубьями) по всей длине обкладки статора, а также повышает эффективность охлаждения сердечника хладагентом (водой), что предотвращает повреждения резиновой обкладки при извлечении сердечника с винтовыми зубьями из корпуса статора с обкладкой.
Выполнение сквозных отверстий для выхода воздуха (и облоя резиновой смеси) из формовочной полости в поперечной стенке гильзы со стороны, противоположной входному и литьевым каналам (при расположении отверстий для выхода воздуха выше уровня входного и литьевых каналов), предотвращает образование воздушных пробок в материале обкладки, повышает равномерность (в поперечном сечении) давления при заливке и вулканизации резиновой смеси, повышает равномерность плотности резины по длине статора.
Ниже представлен лучший вариант пресс-формы (п.1, 2 формулы изобретения) для изготовления эластомерной обкладки статора длиной 6 метров для винтового героторного гидравлического двигателя ДРУ-195РС.
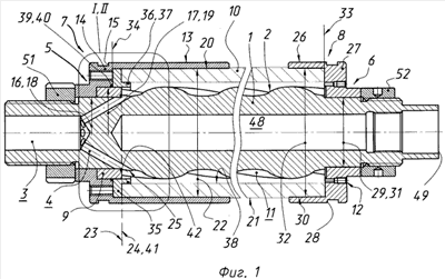
На фиг.1 изображен общий вид пресс-формы в продольном разрезе.
На фиг.2 изображен элемент I на фиг.1 с уплотнительной втулкой, установленной на перекрывающей втулке, между торцом корпуса статора и поперечной стенкой гильзы.
На фиг.3 изображен элемент II на фиг.1 гильзы, выполненной в виде формовочной гильзы за одно целое с поперечной стенкой и перекрывающей втулкой.
Пресс-форма для изготовления эластомерной обкладки статора винтовой героторной гидромашины содержит сердечник (пуансон) 1 с винтовыми многозаходными зубьями 2, входной канал 3 и литьевые каналы 4 (выход литьевых каналов 4 расположен во впадинах между винтовыми зубьями 2), выполненные на одной из сторон сердечника 1, две центрирующие втулки 5 и 6, установленные по краям соответственно 7 и 8 сердечника 1, перекрывающую втулку 9, установленную на сердечнике 1 со стороны входного канала 3 и литьевых каналов 4, а также включает трубчатый корпус изготавливаемого статора 10, установленный при помощи центрирующих втулок 5 и 6 концентрично сердечнику 1, образующий с втулками 5, 6, 9 и винтовыми зубьями 2 сердечника 1 формовочную полость 11, при этом одна из центрирующих втулок 6 содержит, по меньшей мере, одно сквозное отверстие 12 для выхода воздуха (и литников эластомера) из формовочной полости 11, показано на фиг.1.
Центрирующая втулка 5 выполнена в виде гильзы 13 с поперечной стенкой 14, расположенной на ее торце 15, и центрирующими отверстиями 16 и 17 в поперечной стенке 14 для установки гильзы 13 по торцовому краю 7 на диаметре 18 сердечника 1 и/или на перекрывающей втулке 9, на диаметре 19 концентрично сердечнику 1, при этом торцовый край 20 наружной поверхности 21 корпуса статора 10 установлен в гильзе 13 с внутренним диаметром 22 концентрично сердечнику 1, торец 23 трубчатого корпуса статора 10 расположен в поперечной плоскости 24 сердечника 1, проходящей через места выхода 25 литьевых каналов 4, показано на фиг.1.
Центрирующая втулка 6 выполнена в виде гильзы 26 с поперечной стенкой 27, расположенной на ее торце 28, и центрирующим отверстием 29 в поперечной стенке 27 для установки гильзы 26 по торцовому краю 30 наружной поверхности 21 корпуса статора 10 на диаметре 31 сердечника 1 концентрично сердечнику 1, торцовый край 30 наружной поверхности 21 корпуса статора 10 установлен в гильзе 26 с внутренним диаметром 32 концентрично сердечнику 1, а торец 33 корпуса статора 10 скреплен с упором в поперечную стенку 27 гильзы 26, расположенной со стороны 8, противоположной входному каналу 3 и литьевым каналам 4, показано на фиг.1.
На перекрывающей втулке 9 между торцом 23 корпуса статора 10 и торцом 34 поперечной стенки 14 гильзы 13 установлена уплотнительная втулка 35, содержащая кольцевую канавку 36 и размещенное в ней эластомерное кольцо 37, контактирующее с внутренней поверхностью 38 трубчатого корпуса статора 10, а между поперечной стенкой 14 гильзы 13 и уплотнительной втулкой 35, например, в канавке 39 поперечной стенки 14 гильзы 13, установлено второе эластомерное кольцо 40, показано на фиг.1, 2.
На торце 41 перекрывающей втулки 9 со стороны формовочной полости 11 выполнена концентричная кольцевая канавка 42, образующая в месте выхода 25 литьевых каналов 4 острую кольцевую кромку 43, показано на фиг.1, 2.
Гильза 13 с поперечной стенкой 14 и перекрывающая втулка 9 могут быть выполнены за одно целое в виде формовочной гильзы 44, содержащей центрирующий пояс 45 в поперечной стенке 14 для установки уплотнительной втулки 35 с внутренним диаметром 46 концентрично сердечнику 1, показано на фиг.2.
Перекрывающая втулка 9 и уплотнительная втулка 35 могут быть выполнены за одно целое в виде формовочной втулки 47, показано на фиг.3.
Сердечник 1 выполнен с внутренней тупиковой полостью 48, вход 49 которой расположен со стороны края 8, противоположной входному каналу 3 и литьевым каналам 4, а торец 50 внутренней тупиковой полости 48 расположен в поперечной плоскости 24 сердечника 1, проходящей через места выхода 25 литьевых каналов 4, показано на фиг.1, 2.
Сквозные отверстия 12 для выхода воздуха (и облоя резиновой смеси) из формовочной полости 11 выполнены в поперечной стенке 27 гильзы 26, расположенной со стороны 8, противоположной входному и литьевым каналам, соответственно 3 и 4, показано на фиг.1.
Центрирующая втулка 5, выполненная в виде гильзы 13 с поперечной стенкой 14, расположенной на ее торце 15, и центрирующими отверстиями 16 и 17 в поперечной стенке 14 для установки гильзы 13 по торцовому краю 7 на диаметре 18 сердечника 1 и/или на перекрывающей втулке 9, на диаметре 19 концентрично сердечнику 1, закреплена резьбовой гайкой 51 со стороны края 7 сердечника 1, показано на фиг.1.
Центрирующая втулка 6, выполненная в виде гильзы 26 с поперечной стенкой 27, расположенной на ее торце 28, и центрирующим отверстием 29 в поперечной стенке 27 для установки гильзы 26 по торцовому краю 30 наружной поверхности 21 корпуса статора 10, закреплена резьбовой гайкой 52 со стороны края 8 сердечника 1, показано на фиг.1.
Ниже представлен лучший вариант изготовления эластомерной обкладки статора винтового забойного двигателя с горизонтальной установкой пресс-формы, изображенной на фиг.1.
Пресс-форма для изготовления эластомерной обкладки статора используется следующим образом. Центрирующую втулку, 5 выполненную в виде гильзы 13 с поперечной стенкой 14, расположенной на ее торце 15, и центрирующими отверстиями 16 и 17 в поперечной стенке 14 для установки гильзы 13 по торцовому краю 7 на диаметре 18 сердечника 1 и/или на перекрывающей втулке 9, на диаметре 19 концентрично сердечнику 1, закрепляют резьбовой гайкой 51 со стороны края 7 сердечника 1. Центрирующую втулку 6, выполненную в виде гильзы 26 с поперечной стенкой 27, расположенной на ее торце 28, и центрирующим отверстием 29 в поперечной стенке 27 для установки гильзы 26 по торцовому краю 30 наружной поверхности 21 корпуса статора 10, закрепляют резьбовой гайкой 52 со стороны края 8 сердечника 1.
Пресс-форму устанавливают в литьевую машину. При заливке резиновой обкладки статора в литьевых камерах литьевой машины выдерживается определенное давление и температура, применяется резина ИРП-1226-5, параметры резиновой смеси в литьевой машине контролируются компьютером. Разогретая упруговязкая резиновая смесь (упруговязкая жидкость) поступает через входной канал 3, далее потоки резины в литьевых каналах 4 дросселируются перекрывающей втулкой 9, на торце 41 которой со стороны формовочной полости 11 выполнена концентричная кольцевая канавка 42, образующая в месте выхода 25 литьевых каналов 4 острую кольцевую кромку 43. После выхода из литьевых каналов 4 резиновая смесь расширяется и формируется во впадинах между винтовыми многозаходными зубьями 2 сердечника 1. Фронтовая часть потоков резиновой смеси ограничивается в радиальном направлении перекрывающей втулкой 9 и заполняется винтовыми потоками, по существу, направляемыми поверхностью винтовых многозаходных зубьев 2 сердечника 1 в формовочной полости 11, образованной внутренним диаметром 38 трубчатого корпуса изготавливаемого статора 10, установленного на центрирующей втулке 5, выполненной в виде гильзы 13 с поперечной стенкой 14, расположенной на ее торце 15, и центрирующими отверстиями 16 и 17 в поперечной стенке 14 для установки гильзы 13 по торцовому краю 7 на диаметре 18 сердечника 1 и/или на перекрывающей втулке 9, на диаметре 19 концентрично сердечнику 1, а также на центрирующей втулке 6, выполненной в виде гильзы 26 с поперечной стенкой 27, расположенной на ее торце 28, и центрирующим отверстием 29 в поперечной стенке 27 для установки гильзы 26 по торцовому краю 30 наружной поверхности 21 корпуса статора 10, на диаметре 31 сердечника 1 концентрично сердечнику 1, с равномерной эпюрой скоростей и давлений по всей длине сердечника 1 до упора в поперечную стенку 27 гильзы 26, расположенной со стороны 8, противоположной входному каналу 3 и литьевым каналам 4. При движении потоков резиновой смеси происходит полное заполнение формующей полости 11, по существу, до упора в поперечную стенку 27 гильзы 26, расположенной со стороны 8, противоположной входному каналу 3 и литьевым каналам 4, а воздух из формовочной полости 11 дросселируется в приподнятой части пресс-формы через сквозные каналы 12 для выхода воздуха (и облоя резиновой смеси) из формовочной полости 11, выполненные в поперечной стенке 27 гильзы 26, расположенной со стороны 8, противоположной входному и литьевым каналам, соответственно 3 и 4.
Таким образом, обеспечивается равномерное (в поперечном сечении) давление при заливке резиновой смеси, при этом прекос переднего торца резины при заливке по мере продвижения массы резины, а также прогиб сердечника 1 (пуансона) с винтовыми многозаходными зубьями 2 внутри корпуса 10 (остова статора) многократно уменьшается. Время заливки составляет 15-25 мин. За счет создания равномерного (в поперечном сечении) давления при заливке и вулканизации резиновой смеси уменьшается неравномерность плотности резины по длине статора. Пресс-форму снимают с пресса, затем проводят вулканизацию, например, в специальной ванне с жидким полимерным теплоносителем. После вулканизации сердечник 1, выполненный с внутренней тупиковой полостью 48, вход 49 которой расположен со стороны края 8, противоположной входному каналу 3 и литьевым каналам 4, охлаждается хладагентом (водой). После этого производят разборку пресс-формы и извлечение (в специальной оснастке) сердечника с винтовыми многозаходными зубьями 1 из корпуса статора 10 (остова статора) с отформованной с винтовыми многозаходными зубьями резиновой обкладкой.
С торцов статора производят вырезку кольцевых образцов (резина плюс металл) для подтверждения физико-механических свойств резиновой обкладки в конструкции, например прочности и связи с металлом при отрыве (ГОСТ 209-75), упругопрочностных свойств при растяжении (ГОСТ 270-75), твердости по ШОР А (ГОСТ 263-75), усталостной выносливости при знакопеременном изгибе с вращением (ГОСТ 10952-75), теплообразования, остаточной деформации и усталостной выносливости при многократном сжатии (ГОСТ 20418-75), температурного предела хрупкости (ГОСТ 7912-74), стойкости в ненапряженном состоянии к воздействию жидких агрессивных сред (ГОСТ 9.030-74), твердости в международных единицах (от 30 до 100 IRHD, ГОСТ 20403-75), истиранию при скольжении (ГОСТ 426-77).
Формула изобретения
1. Пресс-форма для изготовления эластомерной обкладки статора винтовой героторной гидромашины, содержащая сердечник с винтовыми многозаходными зубьями, входной и литьевые каналы, выполненные на одной из сторон сердечника, две центрирующие втулки, установленные по краям сердечника, перекрывающую втулку, установленную на сердечнике со стороны входного и литьевых каналов, а также включающая трубчатый корпус изготавливаемого статора, установленный при помощи центрирующих втулок концентрично сердечнику, образующий с втулками и сердечником формовочную полость, при этом одна из центрирующих втулок содержит, по меньшей мере, одно сквозное отверстие для выхода воздуха из формовочной полости, отличающаяся тем, что каждая центрирующая втулка выполнена в виде гильзы с поперечной стенкой, расположенной на ее торце, и центрирующими отверстиями в поперечной стенке для установки гильзы по торцовым краям сердечника и/или на перекрывающей втулке концентрично сердечнику, торцовые края наружной поверхности корпуса статора установлены в гильзах концентрично сердечнику, один торец трубчатого корпуса статора расположен в поперечной плоскости сердечника, проходящей через места выхода литьевых каналов, а другой торец корпуса статора скреплен с упором в поперечную стенку гильзы, расположенной со стороны, противоположной входному и литьевым каналам.
2. Пресс-форма по п.1, отличающаяся тем, что на перекрывающей втулке, между торцом корпуса статора и поперечной стенкой гильзы установлена уплотнительная втулка, содержащая кольцевую канавку и размещенное в ней эластомерное кольцо, контактирующее с внутренней поверхностью трубчатого корпуса статора, а между поперечной стенкой гильзы и уплотнительной втулкой, например, в канавке поперечной стенки гильзы, установлено второе эластомерное кольцо.
3. Пресс-форма по п.1, отличающаяся тем, что на торце перекрывающей втулки со стороны формовочной полости выполнена концентричная кольцевая канавка, образующая в месте выхода литьевых каналов острую кольцевую кромку.
4. Пресс-форма по п.1, отличающаяся тем, что гильза с поперечной стенкой и перекрывающая втулка выполнены за одно целое в виде формовочной гильзы, содержащей центрирующий пояс в поперечной стенке для установки уплотнительной втулки концентрично сердечнику.
5. Пресс-форма по п.1, отличающаяся тем, что перекрывающая и уплотнительная втулки выполнены за одно целое в виде формовочной втулки.
6. Пресс-форма по п.1, отличающаяся тем, что сердечник выполнен с внутренней тупиковой полостью, вход которой расположен со стороны, противоположной входному и литьевым каналам, а торец внутренней тупиковой полости расположен в поперечной плоскости сердечника, проходящей через места выхода литьевых каналов.
7. Пресс-форма по п.1, отличающаяся тем, что сквозные отверстия для выхода воздуха из формовочной полости выполнены в поперечной стенке гильзы, расположенной со стороны, противоположной входному и литьевым каналам.
РИСУНКИ
|
|