|
|
(21), (22) Заявка: 2007107981/12, 02.03.2007
(24) Дата начала отсчета срока действия патента:
02.03.2007
(43) Дата публикации заявки: 10.09.2008
(46) Опубликовано: 10.03.2009
(56) Список документов, цитированных в отчете о поиске:
RU 2219053 С2, 20.12.2003. RU 2225788 С1, 20.03.2004. RU 2177409 С1, 27.12.2001. RU 2042511 C1, 27.08.1995. WO 9215438 A, 17.09.1992.
Адрес для переписки:
614042, г.Пермь, ул. Ардатовская, 2а, ООО Фирма “Астор”, Ю.М. Штейнбергу
|
(72) Автор(ы):
Смирнов Андрей Дмитриевич (RU), Шардин Виталий Петрович (RU), Штейнберг Юрий Моисеевич (RU)
(73) Патентообладатель(и):
Штейнберг Юрий Моисеевич (RU)
|
(54) МАТРИЦА ДЛЯ УСТАНОВОК БАРОДЕСТРУКЦИОННОЙ ПЕРЕРАБОТКИ ИЗНОШЕННЫХ АВТОМОБИЛЬНЫХ ШИН
(57) Реферат:
Изобретение относится к устройствам для переработки изношенных автомобильных шин. Матрица для установок бародеструкционной переработки изношенных автомобильных шин содержит обойму, две цапфы, соединенные с обоймой и выполненные с возможностью вращения в опорах, бародеструкционную решетку, представляющую собой перфорированный цилиндрический диск с отношением диаметра к высоте больше единицы. Бародеструкционная решетка имеет с торцов по одной цилиндрической полости, высота каждой из которых составляет 0,25-0,3 высоты бародеструкционной решетки, при этом на бародеструкционную решетку с ее наружной боковой поверхности напрессовано либо одно бандажное кольцо, торцы которого расположены в плоскостях соответствующих торцев бародеструкционной решетки, а на наружной боковой поверхности бандажного кольца в его средней по высоте части выполнен радиальный кольцевой выступ, закрепленный в обойме, либо напрессовано два бандажных кольца, а на наружной боковой поверхности бародеструкционной решетки в ее средней по высоте части выполнен радиальный кольцевой выступ. Радиальный размер кольцевого выступа превышает толщину стенки бандажного кольца на величину выступающей за его наружный диаметр части, закрепленной в обойме. Бандажные кольца расположены с разных сторон указанного радиального кольцевого выступа, так что для каждого кольца один его торец сопряжен с соответствующей плоскостью упомянутого радиального кольцевого выступа, а другой его торец расположен в плоскости соответствующего торца бародеструкционной решетки. Изобретение позволяет повысить надежность и долговечность матрицы при сохранении ее конструкции сборно-разборной. 2 ил.
Область техники, к которой относится изобретение
Изобретение относится к переработке полимеров, а именно изношенных автомобильных шин, и может быть использовано в бародеструкционных установках вторичной переработки автомобильных шин и других резинотехнических изделий с текстильными и металлическими армирующими элементами.
Уровень техники
Известна матрица для установок бародеструкционной переработки изношенных автомобильных шин, представляющая собой перфорированный диск с боковыми выступами для его соединения с механизмами отвода и переворота матрицы (описана в авторском свидетельстве СССР №1728042 А1, кл. В29В 17/00, дата публикации 1992.04.23).
Установка, для которой предназначена матрица, содержит контейнер высокого давления, уплотнительный плунжер, связанный с гидравлическим прессом, и упомянутую матрицу, расположенную горизонтально. Перерабатываемый материал (автомобильные шины и их доли) закладывается в рабочую полость контейнера. Под действием давления, развиваемого прессом, уплотнительный плунжер вводится в рабочую полость контейнера и до начала прессования за счет сил трения о стенки контейнера перемещает последний до его замыкания с матрицей. При достижении в контейнере критического давления 100-1000 МПа происходит “ожижение” резины и ее истечение через отверстия матрицы. После снятия давления в прессе плунжер обратным ходом извлекается из контейнера, а контейнер размыкается с матрицей (там же).
Признаки известной матрицы, совпадающие с признаками заявленного изобретения, заключаются в наличии перфорированного диска.
Причина, препятствующая получению в известной матрице технического результата, который обеспечивается заявленным изобретением, заключается в том, что после окончания прессования на поверхности матрицы образуется металлобрикет в форме спрессованного металлокорда с остатками резины. Кроме того, с внешней стороны матрицы во время прессования образуются концы из прошедшей через отверстия резины и части металлических нитей армировки. При этом удаление металлобрикета производят потоком материала последующего прессования. Для этого матрицу поворачивают на 180°. После поворота матрицы возможно защемление образовавшихся концов резины между контактными плоскостями матрицы и контейнера, что неизбежно приведет к перекосу последнего и нарушению соосности пресс-инструмента.
Наиболее близким аналогом (прототипом) является матрица для переработки изношенных автомобильных шин, которая содержит фильеру и камеры давления, заключенные в обойму с крышкой. Каждая камера давления имеет внутреннюю гильзу и насаженный на нее “с натягом” бандаж. По внутреннему диаметру гильзы в плоскости ее стыковки с фильерой выполнена кольцевая проточка для установки уплотнительного кольца из незакаленного металла. Под действием высокого давления, развиваемого в камере, кольцо деформируется и уплотняет стык между камерой высокого давления и фильерой, предотвращая попадание в него перерабатываемого материала и размыкания матрицы. Для проведения операции переворота матрица своими цапфами установлена на опорах (Патент RU №2219053 С2, М.кл. В29В 17/00, В29К 21/00, дата публикации 2003.12.20).
Признаки известной матрицы (прототипа), совпадающие с признаками заявленного изобретения, заключаются в том, что матрица содержит фильеру, бандаж (бандажные кольца), обойму и две цапфы, соединенные с обоймой и выполненные с возможностью вращения в опорах.
Причина, препятствующая получению в известной матрице (прототипе) технического результата, который обеспечивается заявленным изобретением, заключается в выполнении камер давления и фильеры раздельными, что потребовало применения уплотнительных колец, которые фактически не обеспечивают необходимое уплотнение, так как указанное уплотнение осуществляется за счет деформирования этих колец в процессе сборки матрицы. Затем, когда в процессе работы матрицы в составе установки она подвергается силовому воздействию, обусловленному давлением плунжера установки, фильера матрицы выгибается вниз и временно становится выпуклой вниз (максимальный прогиб по центру фильеры), увеличивая тем самым давление на нижние уплотнительные кольца, а в верхнем уплотнении при этом появляется микроскопический зазор, в который сразу же под действием давления поступает резина. В следующем цикле матрицу переворачивают и те уплотнительные кольца, которые располагались вверху, теперь располагаются снизу. Вследствие этого уплотнительные кольца периодически подвергаются со стороны фильеры знакопеременному силовому воздействию, приводящему через несколько циклов к появлению относительно большого зазора, в который под действием давления в очередном цикле прессования устремляется «сжиженная» резина. Попадание резины в зазор между фильерой и гильзой вызывает размыкание матрицы и выход ее из строя, так как обойма не может выдержать такие нагрузки. Дело в том, что обойма в известной конструкции выполняет функции силового связующего звена, обеспечивающего прижим двух блоков «гильза-бандаж» к фильере с разных ее сторон. Очевидно, что для выполнения этой функции обойма должна обладать высокими прочностными характеристиками, так как в условиях высоких давлений в камерах и неизбежного проникновения «сжиженной» резины в зазор между гильзой и фильерой обойма должна удержать этот прижим. Реальная конструкция обоймы этой функции выполнить не может.
Раскрытие изобретения
Задача, на решение которой направлено изобретение, заключается в упрощении конструкции матрицы, повышении ее надежности при сохранении ее конструкции сборно-разборной, в повышении долговечности за счет способности выдерживать большое количество циклов в условиях промышленной эксплуатации.
Технический результат, опосредствующий решение указанной задачи, заключается в исключении зазоров в камерах высокого давления, в которые может проникнуть сжиженная резина под действием высокого давления, а также в том, что в заявленной конструкции обойма не выполняет функцию силового связующего звена, обеспечивающего прижим блоков «гильза-бандаж» к фильере.
Достигается технический результат тем, что матрица содержит обойму, две цапфы, соединенные с обоймой и выполненные с возможностью вращения в опорах, а также бародеструкционную решетку, представляющую собой перфорированный цилиндрический диск с отношением диаметра к высоте больше единицы, имеющую с торцов по одной цилиндрической полости, высота каждой из которых составляет 0,25-0,3 высоты бародеструкционной решетки, при этом на бародеструкционную решетку с ее наружной боковой поверхности напрессовано либо одно бандажное кольцо, торцы которого расположены в плоскостях соответствующих торцев бародеструкционной решетки, а на наружной боковой поверхности бандажного кольца в его средней по высоте части выполнен радиальный кольцевой выступ, закрепленный в обойме, либо напрессовано два бандажных кольца, а на наружной боковой поверхности бародеструкционной решетки в ее средней по высоте части выполнен радиальный кольцевой выступ, радиальный размер которого превышает толщину стенки бандажного кольца на величину выступающей за его наружный диаметр части, закрепленной в обойме, при этом бандажные кольца расположены с разных сторон указанного радиального кольцевого выступа, так что для каждого кольца один его торец сопряжен с соответствующей плоскостью упомянутого радиального кольцевого выступа, а другой его торец расположен в плоскости соответствующего торца бародеструкционной решетки.
Новые признаки заявленного изобретения заключаются в конструкции упомянутой бародеструкционной решетки и ее связях с бандажными кольцами.
Краткое описание чертежей
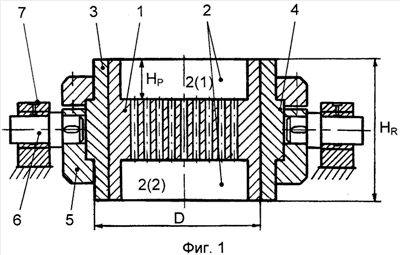
На фиг.1 показана матрица с одним бандажным кольцом; на фиг.2 – с двумя бандажными кольцами.
Осуществление изобретения
Матрица в первом варианте ее конструкции (фиг.1) выполнена сборно-разборной и содержит:
– бародеструкционную решетку 1, представляющую собой перфорированный цилиндрический диск высотой HR и диаметром D, при этом d/HR>1, а с торцов решетка имеет цилиндрические полости 2 (по одной с каждой стороны – 2(1) и 2(2)), высота НР каждой из которых составляет НР=(0,25-0,3)HR;
– бандажное кольцо 3, высота которого равна высоте НR решетки 1 и которое плотно насажено (напрессовано) на решетку 1 с ее наружной боковой поверхности; при этом торцы бандажного кольца расположены в плоскостях соответствующих торцев решетки 1, а на наружной поверхности бандажного кольца 3 выполнен боковой кольцевой выступ 4;
– обойму 5, которая соединена с выступом 4 с возможностью отсоединения;
– две цапфы 6, соединенные с обоймой 5 в диаметрально противоположных точках обоймы и выполненные с возможностью вращения в опорах 7.
Необходимость выполнения матрицы сборно-разборной вызвана тем, что в процессе работы матрицы решетка 1 подвергается интенсивным знакопеременным нагрузкам, что требует периодической замены решетки.
Для уменьшения габаритов и металлоемкости матрицы полости 2 выполнены составными, то есть каждая полость состоит из цилиндрической стенки соответствующей части решетки 1 и бандажного кольца 3, которое плотно (“с натягом”) насажено на решетку 1 по всей высоте этой решетки. Этим создается заранее рассчитанное напряженное состояние: на поверхности раздела обеих деталей 1 и 3 возникает давление, под действием которого стенка решетки 1 сжимается, а бандажное кольцо 3 растягивается. Механические напряжения, возникающие в составных полостях 2 под действием внутреннего давления, распределяются более равномерно по толщине стенки и она получается тоньше, чем в случае, если бы полость 2 не была составной.
Кроме того, использование решетки 1 описанной конструкции, отличающейся монолитностью ее составляющих, исключает, с одной стороны, в полостях 2 саму возможность каких-либо зазоров, куда может под действием высокого давления приникнуть прессуемый материал (резина), а с другой стороны (и вследствие этого), существенно снижает нагрузку на обойму 5, на которую теперь не действуют размыкающие силы, обусловленные давлением в полостях 2.
Упомянутые соотношения d/HR>1 и Нр=(0,25-0,3)HR являются наиболее оптимальными для сопряжения матрицы с другими элементами бародеструкционной установки, а также с точки зрения технологии бародеструкционой переработки.
Матрица во втором варианте ее конструкции (фиг.2) также выполнена сборно-разборной и отличается от первого варианта тем, что вместо одного она содержит два бандажного кольца 3(1) и 3(2), а также тем, что боковой кольцевой выступ 4 выполнен на наружной боковой поверхности решетки 1 в ее средней части. При этом радиальный размер из выступа 4 превышает толщину h1 стенки любого бандажного кольца 3(1) или 3(2) на величину h выступающей за его наружный диаметр части. Этой выступающей частью ( h) выступ 4 закреплен в обойме 5, а упомянутые бандажные кольца 3(1) и 3(2) выполнены одинаковыми и расположены с разных сторон радиального кольцевого выступа 5. При этом для каждого бандажного кольца 3(1) или 3(2) один его торец сопряжен с соответствующей плоскостью радиального кольцевого выступа 4, а другой его торец расположен в плоскости соответствующего торца решетки 1. Это обусловлено необходимостью взаимодействия матрицы с другими элементами установки бародеструкционной переработки.
Работа матрицы заключается в следующем.
В первоначальном положении матрица находится полостью 2(1) вверх. В первом цикле работы матрицы плунжер установки (не показаны) создает в полости 2(1) матрицы высокое давление, вследствие чего резина расположенных в ней шин или их фрагментов переходит в «жидкое» состояние и просачивается через отверстия решетки 1 вниз. При этом металлокорд задерживается в этих отверстиях, образуя на поверхности решетки со стороны полости 2(1) застрявший в указанных отверстиях металлобрикет. Затем при помощи механизмов бародеструкционной установки матрицу поворачивают полостью 2(2) вверх и осуществляют второй цикл работы матрицы, в котором процесс повторяют. При этом металлобрикет, образовавшийся в первом цикле, теперь находится снизу и под действием потока «жидкой» резины второго цикла отделяется от решетки 1. Далее указанные циклы многократно повторяют.
Формула изобретения
Матрица для установок бародеструкционной переработки изношенных автомобильных шин, содержащая обойму, две цапфы, соединенные с обоймой и выполненные с возможностью вращения в опорах, а также бародеструкционную решетку, представляющую собой перфорированный цилиндрический диск с отношением диаметра к высоте больше единицы, имеющую с торцов по одной цилиндрической полости, высота каждой из которых составляет 0,25-0,3 высоты бародеструкционной решетки, при этом на бародеструкционную решетку с ее наружной боковой поверхности напрессовано либо одно бандажное кольцо, торцы которого расположены в плоскостях соответствующих торцов бародеструкционной решетки, а на наружной боковой поверхности бандажного кольца в его средней по высоте части выполнен радиальный кольцевой выступ, закрепленный в обойме, либо напрессовано два бандажных кольца, а на наружной боковой поверхности бародеструкционной решетки в ее средней по высоте части выполнен радиальный кольцевой выступ, радиальный размер которого превышает толщину стенки бандажного кольца на величину выступающей за его наружный диаметр части, закрепленной в обойме, при этом бандажные кольца расположены с разных сторон указанного радиального кольцевого выступа, так что для каждого кольца один его торец сопряжен с соответствующей плоскостью упомянутого радиального кольцевого выступа, а другой его торец расположен в плоскости соответствующего торца бародеструкционной решетки.
РИСУНКИ
|
|