|
|
(21), (22) Заявка: 2008102219/02, 21.01.2008
(24) Дата начала отсчета срока действия патента:
21.01.2008
(46) Опубликовано: 10.03.2009
(56) Список документов, цитированных в отчете о поиске:
JP 9047960 А, 18.02.1997. SU 931428 А1, 30.05.1982. RU 2005132881 A, 27.04.2007. SU 1763158 A1, 23.09.1992.
Адрес для переписки:
109028, Москва, Б.Трехсвятительский пер., 3, ком.508, МИЭМ, ООО “НПА”, Т.В.Григорьевой
|
(72) Автор(ы):
Бобровский Николай Михайлович (RU), Вильчик Виталий Андреевич (RU), Бокк Владимир Владимирович (RU), Максименко Николай Николаевич (RU), Мельников Павел Анатольевич (RU), Гомельский Михаил Владимирович (RU), Бобровский Игорь Николаевич (RU)
(73) Патентообладатель(и):
Бобровский Николай Михайлович (RU), Вильчик Виталий Андреевич (RU), Бокк Владимир Владимирович (RU), Максименко Николай Николаевич (RU), Мельников Павел Анатольевич (RU), Гомельский Михаил Владимирович (RU), Бобровский Игорь Николаевич (RU)
|
(54) УСТРОЙСТВО ДЛЯ ОБРАБОТКИ ПОВЕРХНОСТНЫМ ПЛАСТИЧЕСКИМ ДЕФОРМИРОВАНИЕМ
(57) Реферат:
Изобретение относится к обработке поверхностным пластическим деформированием и может быть использовано при отделочной обработке наружных цилиндрических поверхностей выглаживанием. Устройство содержит корпус, два двуплечих рычага, между которыми установлен гидроцилиндр со штоком и державки с инструментами, закрепленные на одних концах двуплечих рычагов. На других концах двуплечих рычагов установлены шарниры, которые соединены соответственно со штоком и корпусом гидроцилиндра. В корпусе устройства расположены шарниры, на которые оперты двуплечие рычаги и оси которых расположены на расстоянии, равном диаметру обрабатываемого изделия. В результате повышается стабильность процесса обработки, увеличивается стойкость инструментов и улучшается качество обрабатываемой поверхности. 2 з.п. ф-лы, 4 ил.
Изобретение относится к обработке металлов поверхностным пластическим деформированием и предназначено для отделочной обработки наружных поверхностей вращения выглаживанием для получения необходимой шероховатости и упрочнения поверхностного слоя деталей машин и механизмов, в основном на автоматизированных станках.
Известны устройства для обработки цилиндрических поверхностей деталей алмазным выглаживанием (Шнейдер Ю.Г. Технология финишной обработки давлением: Справочник. – СПб.: Политехника, 1998. – 414 с: ил. 86-88 с.) способом по кинематике аналогичным точению, только вместо резца применяется алмазный выглаживатель, который, пластически деформируя поверхностный слой детали в процессе обработки, выравнивает и упрочняет его.
В процессе обработки с помощью этого устройства возникает сила, направленная поперек оси изделия и вызывающая деформацию обрабатываемой детали.
Известны конструкции приспособлений для выглаживания, которые осуществляют обработку парой выглаживающих инструментов, расположенных соосно друг другу (Авторское свидетельство СССР №500048, кл. В24b 39/00, 1976 г.; Авторское свидетельство СССР №806382, кл. В24b 39/00, 1981 г.). Здесь поперечные усилия от инструментов компенсируют друг друга и не вызывают деформации обрабатываемой детали. Однако из-за наличия погрешностей формы обрабатываемой детали и базирования в процессе обработки будет иметь место неравномерное прижатие инструментов к обрабатываемой поверхности. В результате ухудшается качество обрабатываемой поверхности и существенно возрастает неравномерность износа обрабатываемых инструментов в процессе обработки.
Известны двухрычажные устройства, снабженные двумя инструментами, в которых каждый из инструментов нагружается отдельной пружиной (Авторское свидетельство СССР №324136, кл. В24b 39/04, 1972 г.). Такие устройства позволяют компенсировать биение и некруглость детали, но при этом также появляется неравномерность нагружения инструментов и их неодинаковый износ.
Известны двухрычажные устройства с двумя инструментами, в которых нагружение инструментов осуществляется одной пружиной, расположенной между противоположными инструментам концами рычагов (Авторское свидетельство СССР №445565, кл. В24b 39/04, 1974 г.). Устройства не позволяют быстро, удобно и точно регулировать усилие прижима инструментов к детали. Подвод устройств в рабочее положение производится перемещением всего устройства поперек оси детали, причем для центрирования устройства применяется подпружиненный упор, который соприкасается с деталью в процессе обработки и, следовательно, может ухудшить шероховатость поверхности и создает дополнительные силы трения. Точность центрирования такого устройства невелика. Устройство не позволяет обрабатывать детали, имеющие изменение размера вдоль оси, например пологие конусы и другие фасонные детали, т.к. усилие прижима инструмента не будет постоянным.
Недостатком известных технических решений является то, что в них невозможно предусмотреть возможность установки совпадения оси рабочей части инденторов (расположения их в одной плоскости, перпендикулярной оси изделия). Между тем это необходимо, чтобы следы инденторов представляли собою правильную двухзаходную винтовую линию с равномерным шагом, что обеспечит равномерное распределение шероховатости по длине изделия.
Применение всех этих устройств в автоматизированных станках затруднено.
Технической задачей, на решение которой направлено устройство, является обеспечение постоянства усилия на инструментах независимо от биения, некруглости и других изменений формы поверхности, возможности удобной и легко контролируемой регулировки усилия, обеспечения возможности точной взаимной установки инструментов и державок в направлении вдоль оси изделия, а также автоматизации процесса подвода-отвода инструментов.
Указанный технический результат обеспечивается тем, что устройство для обработки поверхностно-пластическим деформированием наружных поверхностей, содержащее корпус, два двуплечих рычага, между которыми установлен гидроцилиндр со штоком, державки с инструментами, закрепленные на одних концах двуплечих рычагов, на других концах двуплечих рычагов установлены шарниры, которые соединены соответственно со штоком и корпусом гидроцилиндра, двуплечие рычаги оперты на расположенные в корпусе шарниры, оси которых расположены на расстоянии, равном диаметру обрабатываемого изделия.
Устройство снабжено направляющими прямолинейного перемещения, которые расположены на державках и концах двуплечих рычагов, державки установлены с возможностью перемещения вдоль оси обрабатываемого изделия и каждая из них имеет по меньшей мере один регулировочным винт и винт для ее закрепления, при этом регулировочный винт может быть выполнен микрометрическим с возможностью для точного отсчета величины перемещения державки.
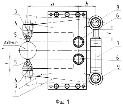
На фиг.1 изображен вид сбоку предлагаемого устройства; на фиг.2 вид спереди (по стрелке А на фиг.1); на фиг.3 – вид сбоку на нижний рычаг устройства; на фиг.4 – разрез Б-Б по инструменту-индентору, державке и регулировочному устройству (по фиг.3).
Корпус устройства состоит из двух пластин 1 и 2, соединенных между собой, например, винтами (фиг.1 и 2). Между пластинами 1 и 2 расположены два двуплечих рычага 3 – верхний и нижний. На одном конце рычагов установлены инструментальные державки 4 и закрепленные в них инструменты, например алмазные выглаживающие наконечники-инденторы 5. Каждый рычаг опирается на шарнир 6 в корпусе. Другие концы рычагов снабжены шарнирами 8 и 9. С этими шарнирами соединены соответственно шток и корпус гидроцилиндра 7, выполняющего функции подвода-отвода и прижима инструментов к изделию. Оси шарниров 6 расположены на расстоянии, равном диаметру обрабатываемой детали, симметрично относительно ее оси и рабочих поверхностей инструментов.
Для обеспечения возможности осуществлять отвод инструмента на заданную величину f ход гидроцилиндра l выбирается из соотношения

На конце рычага 3, несущем инструмент, выполнена направляющая прямолинейного движения, например, типа ласточкина хвоста или, как показано на фиг.3, прямоугольный паз «В». В этом пазу размещен хвостовик инструментальной державки 4 с возможностью перемещения вдоль оси изделия. Инструмент (индентор) 5 закреплен в державке винтом 10. С торцов паз В закрыт двумя планками 11, закрепляемыми на рычаге 3 винтами 12. В планки 11 ввернуты регулировочные винты 13. Можно использовать всего один регулировочный винт, но тогда нужно закрепить его головку от перемещения в планке 11 и ввернуть в отверстие, выполненное в державке 4. При необходимости точного отсчета перемещения державки 4 регулировочный винт может быть выполнен микрометрическим. Инструментальная державка 4 закреплена на рычаге 3 с помощью винта 14.
Устройство работает следующим образом.
Корпус устройства устанавливают на рабочем органе, предназначенном для осуществления перемещения вдоль оси изделия. Затем выставляют устройство таким образом, чтобы общая ось рабочих поверхностей инструментов 5 в сведенном положении пересекала ось изделия. Закрепляют корпус устройства в этом положении. Отпускают винты 14, крепящие державки 4, и, манипулируя регулировочными винтами 13, смещают державки вдоль оси изделия, добиваясь совпадения осей рабочих поверхностей инструментов. Таким же образом можно осуществлять тонкую регулировку исходного положения инструментов для обработки. Затем с помощью винтов 14 вновь закрепляют державки. Регулируя давление в той части гидравлической системы станка, к которой подключен гидроцилиндр 7, устанавливают требуемую величину усилия прижима инструментов к поверхности изделия. После команды на начало цикла изделию сообщается вращение, в гидроцилиндр подается рабочая жидкость и рычаги сводятся, опирая инструменты на обрабатываемую поверхность. Благодаря размещению осей шарниров 6 на расстоянии, равном диаметру обрабатываемой детали, симметрично относительно ее оси и рабочих поверхностей инструментов, усилия прижима передаются на изделие строго нормально к поверхности. Затем включается перемещение устройства вдоль оси изделия и производится обработка.
Если обрабатываемая поверхность изделия имеет биение (или это биение связано с погрешностями приспособления, закрепляющего деталь), то инструменты с рычагами смещаются относительно оси вращения, одновременно при этом смещается и поршень внутри гидроцилиндра. Это, однако, не приводит к изменениям усилий на инструментах, поскольку эти усилия определяются не положением рычагов, а величиной давления в рабочей полости гидроцилиндра. Поэтому предлагаемое устройство позволяет обрабатывать не только поверхности прямых круговых цилиндров, но и детали со значительной некруглостью, а также конусы, например, обработать одновременно с шейкой вала под уплотнение заходные фаски перед нею. По окончании обработки система управления станка (или сам оператор) дает команду на отвод рычагов и возврат устройства в исходное положение. Гидроцилиндр 7 разводит рычаги 3 и изделие может быть снято.
Таким образом, гидроцилиндр 7 выполняет в устройстве две функции: подвод-отвод инструмента (холостой ход), а также создание рабочего усилия и поддержание его постоянным независимо от биения и колебаний размеров обрабатываемой поверхности.
Применение данного устройства позволяет значительно повысить стабильность процесса обработки поверхностным пластическим деформированием, увеличить стойкость инструментов и улучшить качество обрабатываемой поверхности, обрабатывать детали со значительным биением и некруглостью поверхности, а также фасонные поверхности и конусы.
Формула изобретения
1. Устройство для обработки поверхностно-пластическим деформированием наружных поверхностей, содержащее корпус, два двуплечих рычага, между которыми установлен гидроцилиндр со штоком, державки с инструментами, закрепленные на одних концах двуплечих рычагов, на других концах двуплечих рычагов установлены шарниры, которые соединены соответственно со штоком и корпусом гидроцилиндра, отличающееся тем, что оно снабжено расположенными в корпусе шарнирами, на которые оперты двуплечие рычаги и оси которых расположены на расстоянии, равном диаметру обрабатываемого изделия.
2. Устройство по п.1, отличающееся тем, что оно снабжено направляющими прямолинейного перемещения, которые расположены на державках и концах двуплечих рычагов, державки установлены с возможностью перемещения вдоль оси обрабатываемого изделия, и каждая из них имеет по меньшей мере один регулировочным винт и винт для ее закрепления.
3. Устройство по п.2, отличающееся тем, что регулировочный винт выполнен микрометрическим для точного отсчета величины перемещения державки.
РИСУНКИ
|
|