|
|
(21), (22) Заявка: 2008102217/02, 21.01.2008
(24) Дата начала отсчета срока действия патента:
21.01.2008
(46) Опубликовано: 10.03.2009
(56) Список документов, цитированных в отчете о поиске:
DE 2362788 А, 03.04.1975. SU 1638000 A1, 30.03.1991. SU 837809 А1, 15.06.1981. SU 1495012 A1, 23.07.1989. JP 6039606 А, 15.02.1994.
Адрес для переписки:
109028, Москва, Б.Трехсвятительский пер., 3, ком.508, МИЭМ, ООО “НПА”, Т.В.Григорьевой
|
(72) Автор(ы):
Бобровский Николай Михайлович (RU), Вильчик Виталий Андреевич (RU), Бокк Владимир Владимирович (RU), Максименко Николай Николаевич (RU), Мельников Павел Анатольевич (RU), Гомельский Михаил Владимирович (RU), Бобровский Игорь Николаевич (RU)
(73) Патентообладатель(и):
Бобровский Николай Михайлович (RU), Вильчик Виталий Андреевич (RU), Бокк Владимир Владимирович (RU), Максименко Николай Николаевич (RU), Мельников Павел Анатольевич (RU), Гомельский Михаил Владимирович (RU), Бобровский Игорь Николаевич (RU)
|
(54) СПОСОБ ОБРАБОТКИ ПОВЕРХНОСТНЫМ ПЛАСТИЧЕСКИМ ДЕФОРМИРОВАНИЕМ ПОВЕРХНОСТЕЙ ДЕТАЛЕЙ МАШИНЫ
(57) Реферат:
Изобретение относится к способам обработки деталей резанием и поверхностным пластическим деформированием. Обрабатывают поверхность детали шлифованием или тонким точением с использованием смазочно-охлаждающей жидкости, в которую добавляют присадки или компоненты, используемые при обработке поверхностным пластическим деформированием, в виде полиакриламида или диметилформамида, или глицерина. Осуществляют поверхностное пластическое деформирование поверхности детали с использованием в качестве технологической смазки остатков смазочно-охлаждающей жидкости, сохранившихся на поверхности изделия после предыдущей обработки. В результате сокращаются расходы на СОЖ, ее регенерацию и утилизацию. 1 ил.
Изобретение относится к обработке металлов поверхностным пластическим деформированием и может быть применено для отделочной обработки поверхностей выглаживанием для получения необходимой шероховатости и упрочнения поверхностного слоя деталей машин и механизмов.
Известны способы обработки поверхностей деталей алмазным выглаживанием (Шнейдер Ю.Г. Технология финишной обработки давлением: Справочник. – СПб.: Политехника, 1998. – 414 с: ил. 86-88 с.). При этом во многих источниках (Торбило, Башков) отмечается, что в подавляющем большинстве случаев необходимо присутствие смазочно-охлаждающих жидкостей (СОЖ) в зоне обработки.
Однако многие компоненты СОЖ, бактерициды и фунгициды, возникающие в процессе обработки продукты реакций, а также занесенные инородные вещества могут вызвать заболевания рабочих. Кроме того, применение СОЖ снижает экологичность и пожаробезпасность производства. Отработанные СОЖ необходимо регенерировать или утилизировать, что приводит к значительным затратам.
При обработке поверхностей деталей резанием существуют способы, при которых обеспечивается минимальный расход СОЖ. Так, например, известен способ микроподачи СОЖ в зону обработки (авторское свидетельство СССР №1399070, кл. B23Q 11/10, 1988 г.), при котором подача СОЖ осуществляется с помощью дозатора, обеспечивающего подачу небольших доз СОЖ при обработке каждой детали.
Однако реализация на практике такого способа обработки значительно усложняет и удорожает конструкцию устройств, используемых для осуществления процесса обработки.
Между тем, опыт показывает, что при обработке шлифованием или тонким точением образующаяся в процессе резания ювенильная поверхность абсорбирует небольшое количество СОЖ. Кроме того, непосредственно после обработки на поверхности остается тонкий слой смазочно-охлаждающей жидкости. Все это может быть использовано при последующей обработке поверхностно-пластическим деформированием (например, алмазным выглаживанием), особенно, если речь идет о массовом производстве, где процесс обработки идет без перерыва между операциями.
Технической задачей способа является снижение расхода СОЖ при обработке поверхностным пластическим деформированием.
Указанный технический результат достигается тем, что в качестве технологической смазки используются остатки СОЖ, сохранившиеся на поверхности изделия после предыдущих операций (например, шлифования). При этом время между началом операции поверхностной пластической обработки и окончанием предыдущей операции, как правило, не должно превышать 15 мин.
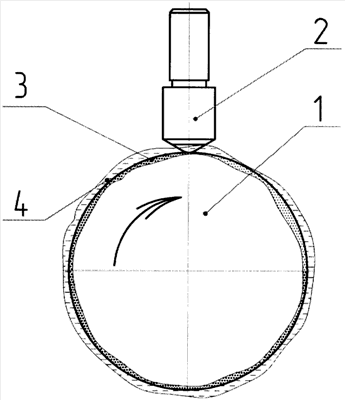
На чертеже изображена схема предлагаемого процесса обработки.
К цилиндрической поверхности изделия 1 прижат с требуемым рабочим усилием выглаживающий инструмент, например индентор 2. После предыдущей операции на поверхности изделия 1 сохраняется абсорбированный слой СОЖ 3 и остатки СОЖ после предыдущей операции 4. Детали придают вращение по стрелке, а индентор перемещают вдоль оси детали со скоростью подачи. Слой СОЖ 3 под действием пластического деформирования частично выдавливается на поверхность и вместе со слоем 4 выполняет роль технологической смазки, снижая тепловую напряженность процесса и силу трения между инструментом и обрабатываемой поверхностью.
Применение предлагаемого способа в течение длительного времени в условиях массового производства показало хорошие результаты.
Для достижения максимального эффекта при обработке таким способом можно в качестве СОЖ на предыдущей операции применять компоненты или добавки, по своим свойствам схожие с теми, что применяются при обработке поверхностным пластическим деформированием (например, полиакриламид, диметилформамид, глицерин).
Применение данного способа выглаживания позволяет значительно сократить расходы на СОЖ, ее регенерацию и утилизацию и при этом сохранить качество обрабатываемой поверхности и норму расхода инструмента.
Формула изобретения
Способ обработки деталей, включающий обработку поверхности детали шлифованием или тонким точением с использованием смазочно-охлаждающей жидкости и ее поверхностное пластическое деформирование с использованием в качестве технологической смазки остатков смазочно-охлаждающей жидкости, сохранившихся на поверхности изделия после предыдущей обработки, отличающийся тем, что при обработке поверхности детали шлифованием или тонким точением в смазочно-охлаждающую жидкость добавляют присадки или компоненты, используемые при обработке поверхностным пластическим деформированием, в виде полиакриламида или диметилформамида, или глицерина.
РИСУНКИ
|
|