|
|
(21), (22) Заявка: 2007120893/09, 04.06.2007
(24) Дата начала отсчета срока действия патента:
04.06.2007
(46) Опубликовано: 27.02.2009
(56) Список документов, цитированных в отчете о поиске:
RU 2242838 C2, 20.12.2004. SU 1170588 A1, 30.07.1985. EP 0840446 A2, 06.05.1998. GB 2244880 A1, 11.12.1991. JP 2002-280875 A1, 27.09.2002. JP 2002-135081 A1, 10.05.2002.
Адрес для переписки:
603950, г.Нижний Новгород, ГСП-462, пл. Комсомольская, 1, ФГУП “НПП “Полет”
|
(72) Автор(ы):
Яковлев Федор Федорович (RU), Гапшин Владимир Константинович (RU), Кудряшов Сергей Александрович (RU)
(73) Патентообладатель(и):
Федеральное государственное унитарное предприятие “Научно-производственное предприятие “Полет” (RU)
|
(54) ФИЛЬТР НА ПОВЕРХНОСТНЫХ АКУСТИЧЕСКИХ ВОЛНАХ
(57) Реферат:
Изобретение относится к радиоэлектронике, в частности – к частотно-избирательным средствам, и может использоваться в устройствах частотной селекции радиосигнала. Техническим результатом является увеличение относительной полосы пропускания. Заземленная шина связи двухмодового резонатора выполнена в виде меандра, при этом величина перекрытия между соседними штырями (апертура W) периодически меняется, принимая два значения: W1 (минимальное) и W2 (максимальное). Поскольку взаимодействие между симметричной и антисимметричной модами в данном случае более сильное, чем в прототипе, достигается увеличение полосы пропускания фильтра до 0,15%. 8 ил.
Изобретение относится к радиоэлектронике, в частности – к частотно-избирательным средствам, и может использоваться в устройствах частотной селекции радиосигнала.
Известны сверхузкополосные фильтры на поверхностных акустических волнах (ПАВ) [1, 2], представляющие собой структуру из двух и более последовательно соединенных поперечно-связанных двухмодовых резонаторов. Такие фильтры имеют малые вносимые потери и достаточно хорошее внеполосное подавление, но их максимальная относительная полоса пропускания не превышает (0,10-0,11)%.
В качестве прототипа выбран фильтр на ПАВ [2], содержащий пьезоплату из кварца ST-среза, на которой методом тонкопленочной технологии выполнена структура из двух последовательно соединенных поперечно-связанных двухмодовых резонаторов. Недостатком прототипа является ограничение сверху относительной полосы пропускания фильтра, максимальное значение которой не может превышать (0,10-0,11)%.
В то же время для ряда применений необходима относительная полоса пропускания более 0,11% при одновременном сохранении положительных качеств, присущих сверхузкополосным фильтрам на основе поперечно-связанных двухмодовых резонаторов (малые вносимые потери, хорошая избирательность, высокая стабильность характеристик).
Заявляемым изобретением решается задача существенного увеличения относительной полосы пропускания.
Указанный технический результат достигается тем, что в фильтре на ПАВ, содержащем пьезоплату из кварца ST-среза, на которой методом тонкопленочной технологии выполнена структура из двух или более последовательно соединенных поперечно-связанных двухмодовых резонаторов, величина перекрытия между соседними штырями (апертура W) периодически меняется, принимая два значения W1 и W2.
Отличительным признаком заявляемого изобретения является то, что заземленная шина связи двухмодового резонатора выполнена в виде меандра. При этом апертура W дискретно меняется с периодом 2L, принимая значения W1, либо W2. Вследствие этого увеличивается поперечная связь между симметричной и антисимметричной модами [1], и соответственно увеличивается относительная полоса пропускания фильтра.
Перечень фигур:
Фиг.1. Базовая топология двухмодового резонатора с поперечными связями со слабой связью между симметричной и антисимметричной модами для фильтра с относительной полосой пропускания 0,043%.
Фиг.2. Амплитудно-частотная характеристика фильтра с относительной полосой пропускания 0,043%.
Фиг.3. Топология двухмодового резонатора с сильной связью между симметричной и антисимметричной модами для фильтра с относительной полосой пропускания 0,094%.
Фиг.4. Амплитудно-частотная характеристика фильтра с относительной полосой пропускания 0,094%.
Фиг.5. Топология двухмодового резонатора с максимальной связью между симметричной и антисимметричной модами. Относительная полоса пропускания фильтра 0,11%.
Фиг.6. Амплитудно-частотная характеристика фильтра с относительной полосой пропускания 0,11%.
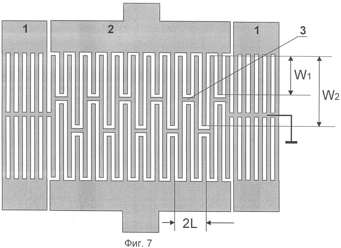
Фиг.7. Топология двухмодового резонатора с заземленной шиной связи в виде меандра (с периодически меняющейся апертурой) для фильтра с относительной полосой пропускания 0,15%.
Фиг.8. Амплитудно-частотная характеристика фильтра с относительной полосой пропускания 0,15%.
На фиг.1-8 обозначено:
1 – отражатели;
2 – встречно-штыревой преобразователь (ВШП);
3 – заземленная шина связи;
W – величина перекрытия между соседними штырями (апертура);
G – ширина области связи;
L – период ВШП;
Q – добротность двухмодового резонатора с поперечными связями.
Устройство работает следующим образом. Значение относительной полосы пропускания фильтра f= f/f0 ( f – полоса пропускания, f0 – средняя частота полосы пропускания фильтра) определяется отношением ширины области связи к периоду ВШП 2 G/L (Фиг.1). Чем меньше значение G/L, тем сильнее связь между симметричной и антисимметричной модами резонатора и тем шире полоса пропускания фильтра. Зависимость полосы пропускания фильтра от G/L иллюстрируется фиг.1-6: на фиг.1, 3, 5 представлены топологии резонаторов, а на фиг.2, 4, 6 – соответствующие им амплитудно-частотные характеристики (АЧХ), где добротность двухмодового резонатора с поперечными связями Q связана с относительной полосой пропускания фильтра f обратно пропорциональной зависимостью: f=1/Q. Для увеличения полосы пропускания фильтра необходимо уменьшать G, однако значение G/L (0,5÷0,6) является предельным. Реализовать резонаторы с G/L<0,5 технологически сложно, а технический эффект при этом минимален, что видно из сравнения фиг.3-4 и фиг.5-6. На фиг.3-4 значение G/L=1,15; относительная полоса пропускания фильтра 0,094%. На фиг.5-6 значение G/L=0,6 (вдвое меньше, чем в предыдущем случае), а относительная полоса пропускания фильтра 0,11% (увеличение лишь на 17%). Таким образом, максимальное значение относительной полосы пропускания в прототипе – (0,10-0,11)%.
В заявляемом изобретении (фиг.7) заземленная шина связи 3 двухмодового резонатора выполнена в виде меандра, при этом апертура W дискретно меняется с периодом 2L, принимая попеременно два значения: W1 и W2. Поскольку поверхностная акустическая волна в верхнем волноводном канале частично соприкасается с акустической волной нижнего канала и наоборот, взаимодействие между модами в данном случае более сильное, чем в прототипе, что должно привести к увеличению полосы пропускания фильтра. Эффект увеличения полосы пропускания иллюстрирует фиг.8 (относительная полоса пропускания 0,15%). Таким образом, применение резонатора заявляемой конструкции увеличивает предельную полосу пропускания фильтра более чем на 35% по сравнению с прототипом.
ЛИТЕРАТУРА
1. М.Tanaka, Т.Morita, K.Ono and Y.Nakazawa. Narrow bandpass filters using double-mode SAW resonators on quartz, Proc. IEEE Freq. Contr. Symp. (1984), pp.286-293.
2. Ф.Ф.Яковлев, В.А.Белоусов, В.К.Гапшин. Сверхузкополосный фильтр на поверхностных акустических волнах с малыми вносимыми потерями и улучшенной температурной стабильностью частоты для модуля связи. XII Международная научно-техническая конференция «Радиолокация, навигация, связь». Воронеж, 2006, т.2, с.1091 (Прототип).
Формула изобретения
Фильтр на поверхностных акустических волнах, содержащий пьезоплату из кварца ST-среза, на которой методом тонкопленочной технологии выполнена структура из двух и более последовательно соединенных поперечно-связанных двухмодовых резонаторов, отличающийся тем, что заземленная шина связи выполнена в виде меандра, а штыри встречно-штыревых преобразователей выполнены так, что величина перекрытия между соседними штырями периодически изменяется, принимая два значения W1 и W2.
РИСУНКИ
|
|