|
|
(21), (22) Заявка: 2007131114/06, 15.08.2007
(24) Дата начала отсчета срока действия патента:
15.08.2007
(46) Опубликовано: 27.02.2009
(56) Список документов, цитированных в отчете о поиске:
RU 17004 U1, 10.03.2001. RU 2261263 C2, 27.09.2005. RU 69064 U1, 28.04.2007. SU 1245792 A1, 23.07.1986. RU 2191800 C2, 27.10.2002. RU 2261264 C1, 27.09.2005.
Адрес для переписки:
129337, Москва, а/я 32, А.А. Щелоковой
|
(73) Патентообладатель(и):
Селиванов Николай Павлович (RU)
|
(54) НЕФТЕПЕРЕРАБАТЫВАЮЩИЙ ЗАВОД
(57) Реферат:
Изобретение относится, преимущественно, к нефтяной промышленности. Нефтеперерабатывающий завод содержит образующие гидравлическую систему резервуарный парк для приема и хранения сырой нефти, связанный с ним посредством имеющих запорную и/или запорно-регулировочную арматуру с запирающим элементом образующих обвязку технологических трубопроводов, снабженных насосным оборудованием, преимущественно, в виде насосов с электроприводом, технологический комплекс установок по очистке и разделению нефти на фракции, получению коммерческих нефтепродуктов с возможным, по меньшей мере, частичным компаундированием, котельную и/или установки и агрегаты по выработке тепловой или электрической и тепловой энергии, соединенные соответственно сетью или сетями трубопроводов с источником холодного и/или горячего водоснабжения и с внутренними и/или внешними потребителями тепловой энергии, по меньшей мере, одна система утилизации горючих отходов, а также снабженный обвязкой технологических трубопроводов, предпочтительно, связанный с упомянутыми основными технологическими установками с образованием части основной гидравлической системы завода резервуарный парк для хранения разделенных фракций и коммерческих нефтепродуктов. По меньшей мере, один выполненный напорным и снабженный соответственно не менее чем одним напорным насосом с электроприводом технологический трубопровод и/или трубопровод сети холодного и/или горячего водоснабжения оборудован гидромеханическим устройством для плавной нагрузки гидравлической системы, подключенным, по меньшей мере, к одному напорному трубопроводу, преимущественно, с напорной стороны на участке между создающим напор в трубопроводе насосом или насосной группой и ближайшей запорной и/или запорно-регулировочной арматурой, сообщенным с трубопроводом по рабочему телу, преимущественно, по перекачиваемой жидкости и смонтированным с возможностью автоматического пролонгированного включения и выключения запорной и/или запорно-регулировочной арматуры. Гидромеханическое устройство включает последовательно соединенные между собой входной патрубок, регулятор скорости открытия запорной и/или запорно-регулировочной арматуры и передачи нагрузки на гидравлическую систему и гидромеханический привод, включающий силовую камеру с корпусом, содержащим, по меньшей мере, один отсек с изменяющимся рабочим объемом, регулируемо возвратно наполняемым жидким рабочим телом при возрастании давления в трубопроводе, и передаточный механизм. Подключение к трубопроводу гидромеханического устройства выполнено двойным: на входе входным патрубком оно сообщено с трубопроводом по рабочему телу, а на выходе – кинематически гидромеханическим приводом с запирающим элементом упомянутой арматуры, причем передаточный механизм выполнен подвижным, соединенным с силовой камерой по типу «поршень-шток» или «мембрана-шток». Техническим результатом изобретения является обеспечение возможности включать насосы и осуществлять набор оборотов, близких к рабочим при закрытой арматуре, что снижает энергозатраты при запуске электродвигателей насосов, а также автоматически достигаемую плавность открытия задвижек и включения гидравлических систем и обеспечение быстрого сброса давления в устройстве и отключение систем при выключении двигателей. 19 з.п. ф-лы, 11 ил.
Изобретение относится, преимущественно, к нефтяной промышленности и может быть реализовано на нефтеперерабатывающих заводах и предприятиях химической промышленности.
Из существующего уровня техники (RU 17004 U1, 10.03.2001) известна нефтеперерабатывающая станция для разгонки многокомпонентных смесей, содержащая линию подвода нефтяной смеси и линии отвода жидких фракций, а также последовательно соединенные трубопроводами две ступени разгонки нефтяной смеси, каждая из которых включает конденсатор и подогреватель нефтяной смеси, одну или несколько ступеней разгонки нефтяной смеси и последовательно установленные на линии подвода нефтяной смеси теплообменники, представляющие собой комбинированные рекуперативные подогреватели нефтяной смеси и охладители, а также насос и печь для подогрева нефтяной смеси, причем каждая ступень разгонки нефтяной смеси снабжена испарителем со встроенным подогревателем нефтяной смеси, выполненным в виде топочного устройства для сжигания жидкого или газообразного топлива, верхняя часть испарителя соединена трубопроводом с конденсатором, а нижняя часть испарителя каждой ступени через клапанное устройство сообщена трубопроводом с соответствующим теплообменником. Недостатком данного технического решения является отсутствие защиты от гидроударов.
Также из уровня техники известно устройство управления приводом клапана для гашения гидроударов SU 1245792 A1, 23.07.1986, в том числе для использования в нефтехимической промышленности, содержащее две сообщенные между собой через обратный клапан с дросселем и с приводом клапана емкости с гибкими разделителями, одна из которых подключена к магистрали до обратного клапана, а другая – после него, с целью повышения эффективности устройства путем обеспечения возможности его неоднократного срабатывания устройство дополнительно снабжено дифференциальным цилиндром с двумя сильфонными разделителями различного диаметра, причем полость сильфонного разделителя большего диаметра сообщена с приводом клапана и емкостями, полость меньшего диаметра – через дополнительно установленный обратный клапан с дросселем с емкостью, подключенной после обратного клапана, а полость дифференциального цилиндра между сильфонными разделителями – с атмосферой. Недостатками данного технического решения является его усложненность, наличие большого количества элементов и, как следствие, недостаточная надежность устройства в целом.
Технической задачей, на решение которой направлено настоящее изобретение, является обеспечение необходимого уровня безопасности и снижение энергозатрат при эксплуатации как отдельных гидравлических и/или насосных систем нефтеперерабатывающего завода, содержащих несжимаемые жидкости или смеси, так и нефтеперерабатывающего завода в целом, а также значительное снижение затрат на ремонт и обслуживание оборудования.
Поставленная задача решается за счет того, что нефтеперерабатывающий завод согласно изобретению содержит образующие гидравлическую систему резервуарный парк для приема и хранения сырой нефти, связанный с ним посредством имеющих запорную и/или запорно-регулировочную арматуру с запирающим элементом образующих обвязку технологических трубопроводов, снабженных насосным оборудованием, преимущественно, в виде насосов с электроприводом, технологический комплекс установок по очистке и разделению нефти на фракции, получению коммерческих нефтепродуктов с возможным, по меньшей мере, частичным компаундированием, котельную и/или установки и агрегаты по выработке тепловой или электрической и тепловой энергии, соединенные соответственно сетью или сетями трубопроводов с источником холодного и/или горячего водоснабжения и с внутренними и/или внешними потребителями тепловой энергии, по меньшей мере, одна система утилизации горючих отходов, а также снабженный обвязкой технологических трубопроводов, предпочтительно, связанный с упомянутыми основными технологическим установками с образованием части основной гидравлической системы завода резервуарный парк для хранения разделенных фракций и коммерческих нефтепродуктов, при этом, по меньшей мере, один выполненный напорным и снабженный соответственно не менее чем одним напорным насосом с электроприводом технологический трубопровод и/или трубопровод сети холодного и/или горячего водоснабжения оборудован гидромеханическим устройством для плавной нагрузки гидравлической системы, подключенным, по меньшей мере, к одному напорному трубопроводу, преимущественно, с напорной стороны на участке между создающим напор в трубопроводе насосом или насосной группой и ближайшей запорной и/или запорно-регулировочной арматурой, сообщенным с трубопроводом по рабочему телу, преимущественно, по перекачиваемой жидкости и смонтированным с возможностью автоматического пролонгированного включения и выключения запорной и/или запорно-регулировочной арматуры, при этом гидромеханическое устройство включает последовательно соединенные между собой входной патрубок, имеющий корпус регулятор скорости открытия запорной и/или запорно-регулировочной арматуры и передачи нагрузки на гидравлическую систему, снабженный обратным клапаном и жиклером, и гидромеханический привод, включающий силовую камеру с корпусом, содержащим, по меньшей мере, один отсек с изменяющимся рабочим объемом, регулируемо возвратно наполняемым жидким рабочим телом при возрастании давления в трубопроводе, и передаточный механизм, при этом подключение к трубопроводу гидромеханического устройства выполнено двойным: на входе входным патрубком оно сообщено с трубопроводом по рабочему телу, а на выходе – кинематически гидромеханическим приводом с запирающим элементом упомянутой арматуры, причем передаточный механизм выполнен подвижным, соединенным с силовой камерой по типу «поршень-шток» или «мембрана-шток», при этом шток, в свою очередь, подвижно связан с образованием привода с запирающим элементом упомянутой арматуры с возможностью автоматических перемещений запирающего элемента в диапазоне от полного перекрытия до полностью открытого на проток трубопровода и наоборот.
При этом технологический комплекс установок по очистке и разделению нефти на фракции может содержать, по меньшей мере, одну колонну атмосферно-вакуумной перегонки нефти, снабженную образующей гидравлическую систему обвязкой и внутризаводской коммуникационной сетью или сетями технологических трубопроводов, а также, по меньшей мере, дополнительными гидравлическими системами, образованными из внутризаводских сетей трубопроводов холодного и/или горячего водоснабжения и паропроводов, причем каждая из упомянутых систем снабжена насосным оборудованием, включающим не менее одного напорного насоса, преимущественно, с электроприводом, и запорную и/или запорно-регулировочную арматуру с запирающим элементом и выполнены с возможностью подключения в зоне между упомянутым насосом и арматурой упомянутого гидромеханического устройства для плавной нагрузки гидравлической системы.
Нефтеперерабатывающий завод может быть снабжен комплексом технологических установок, преимущественно, в который входят гидравлически связанные с колонной атмосферно-вакуумной перегонки нефти, по меньшей мере, по одной установке вторичной перегонки нефти, газофракционирования, каталитического крекинга с гидроочисткой сырья и газофракционированием, гидроочистки легких фракций первичной перегонки нефти, включая гидроочистку дизельного топлива и керосина, образующие технологические цепочки установка висбрекинга гудрона и гидравлически связанная с ней и с упомянутой установкой каталитического крекинга гидроочисткой сырья и газофракционирования по промежуточным преобразованиям и синтезу продуктов установка котельного топлива; и, кроме того, установка по технологической доводке наиболее тяжелой фракции первичной переработки нефти, а именно, производства нефтебитума и выработки, по меньшей мере, таких коммерческих продуктов, как битум дорожный и битум строительный.
По меньшей мере, одна колонна атмосферно-вакуумной перегонки нефти может быть выполнена с возможностью получения высокооктанового прямогонного бензина высокого качества, например экспортного, непосредственно из колонны и путем смешения-компаундирования легкоиспаряемых фракций из упомянутой колонны и аналогичных фракций, полученных в результате прохождения в упомянутой колонне первичной перегонки нефти и последующего разделения в установке гидроочистки дизельного топлива и керосина, при этом для получения товарного продукта из относительно тяжелой фракции с температурой кипения, соответствующей например, температурному диапазону кипения дизельного топлива упомянутая установка гидроочистки дизельного топлива и керосина гидравлически соединена, преимущественно, с емкостью для введения в упомянутую технологическую фракцию депрессорных присадок для получения товарных вариантов дизельного топлива, при этом технологические трубопроводы упомянутой гидравлической системы оснащены необходимой запорной и/или запорно-регулировочной арматурой и, по крайней мере, часть из них подключена к насосному оборудованию, а, по меньшей мере, один из трубопроводов, соединяющих упомянутые технологические установки, выполнен напорным и смонтирован с возможностью подключения упомянутого гидромеханического устройства для плавной нагрузки гидравлической системы.
Гидравлически связанные между собой и, по меньшей мере, объединенные по продукту в группы технологические установки могут образовывать технологический комплекс по первичной перегонке нефти и последующей обработке, выделению и/или смешению выделенных фракций, введению присадок, утилизации отходов, включая попутные и сопутствующие газы, при этом для получения дополнительного выхода и получения товарной продукции из светлых фракций, в первую очередь, автомобильных бензинов с октановым числом от 80 до 95 марок АИ-80-ЭК, АИ-92-ЭК, регуляр Евро-92, АИ-95-ЭК, премиум Евро-95 завод оснащен, по меньшей мере, одной установкой каталитического риформинга, на входе гидравлически связанной с образованием технологической цепочки через установку вторичной перегонки нефти с колонной атмосферно-ваккумной перегонки нефти, а на выходе дважды связана с установкой получения бензинов упомянутых товарных марок, в том числе непосредственно, по меньшей мере, одним трубопроводом, оснащенным, по крайней мере, запорной и/или запорно-регулировочной арматурой с ручным и/или электроприводом и опосредственно через упомянутую установку газофракционирования и отдельным трубопроводом установка каталитического риформинга связана с факельной установкой и с блоком утилизации попутных и сопутствующих газов.
Технологический комплекс нефтеперерабатывающего завода может включать установку производства водорода, гидравлически связанную по продукту с установкой каталитического крекинга с гидроочисткой сырья – темных фракций первичной перегонки нефти в колонне атмосферно-вакуумной перегонки нефти, при этом упомянутая установка каталитического крекинга на выходе технологически связана по вязкотекучей фракции с установкой для получения котельного топлива, а по другим выделенным фракциям с технологическими установками по производству серы для утилизации отхода переработки сернистых и высокосернистых нефтей и/или с установками по производству и переработке, например, полипропилена, причем практически каждая из упомянутых установок и/или технологических цепочек оснащена дополнительной обвязкой либо обвязками или подведенным к ним не менее чем одним трубопроводом гидравлических сетей холодного и/или горячего водоснабжения, оснащенных запорной и/или запорно-регулировочной арматурой, подключенных не менее чем к одному напорному насосу, преимущественно, с электроприводом и содержит в своем составе или подключена не менее чем к одному трубопроводу, аналогично оснащенному упомянутой арматурой и насосным оборудованием, который в свою очередь выполнен с возможностью подключения к нему упомянутого гидромеханического устройства для плавной нагрузки соответствующей из упомянутых гидравлических систем.
В корпусе регулятора скорости открытия упомянутой арматуры могут быть размещены вышеупомянутые обратный клапан и жиклер, причем жиклер и обратный клапан выполнены конструктивно совмещенными.
Обратный клапан регулятора скорости открытия упомянутой арматуры может содержать имеющий пропускной канал с выходными отверстиями шток с выполненной на одном его конце заслонкой, а на другом – жиклером, включающим регулирующий, предпочтительно, винтовой элемент, введенный в пропускной канал штока обратного клапана с возможностью, по крайней мере, частичного перекрытия проходного сечения пропускного канала – пропускного отверстия для его калибровки с помощью иглы жиклера, которой снабжен винтовой элемент, путем изменения ее положения относительно пропускного канала.
Регулятор скорости открытия упомянутой арматуры может быть снабжен возвратным устройством, связанным с обратным клапаном и/или жиклером и выполненным, например, в виде пружины.
Регулятор скорости открытия упомянутой арматуры может быть снабжен возвратным устройством, установленным на винтовом элементе жиклера и выполненным, например, в виде пружины.
Корпус регулятора скорости открытия запорной и/или запорно-регулировочной арматуры может содержать, по меньшей мере, три отсека, в первом отсеке расположена заслонка обратного клапана с выполненным в ней входным отверстием пропускного канала, во втором отсеке расположен, по крайней мере частично, шток обратного клапана и, по меньшей мере, одно выходное отверстие пропускного канала, выполненное в штоке, в третьем отсеке расположен винтовой элемент жиклера и возвратное устройство регулятора скорости открытия, при этом второй отсек соединен по рабочему телу с силовой камерой, а в корпусе регулятора скорости открытия в области третьего отсека выполнено отверстие, закрытое винтовой заглушкой для обеспечения регулировки проходного сечения пропускного канала посредством винтового элемента.
Для изменения положения иглы жиклера относительно пропускного отверстия жиклер может быть снабжен устройством калибровки, выполненным с возможностью его регулировки вручную с внешней стороны корпуса регулятора скорости открытия запорной и/или запорно-регулировочной арматуры.
Силовая камера может быть снабжена герметичной упругой мембраной, разделяющей корпус силовой камеры на упомянутый заполняемый рабочим телом отсек с изменяющимся рабочим объемом и незаполняемый им отсек, причем мембрана выполнена с возможностью знакопеременной деформации, направленной в зависимости от давления как в сторону заполняемого отсека, так и в сторону незаполняемого отсека силовой камеры, причем в незаполняемом отсеке силовой камеры выполнено отверстие с закрепленной в нем направляющей втулкой, обеспечивающей поступательное движение передаточного механизма.
Гидромеханическое устройство может быть снабжено возвратным устройством гидромеханического привода, связанным с передаточным механизмом и/или мембраной привода и выполненным, например, в виде пружины.
Силовая камера может быть снабжена поршнем, разделяющим корпус силовой камеры на упомянутый заполняемый рабочим телом отсек с изменяющимся рабочим объемом и незаполняемый им отсек и выполненным с возможностью перемещения в силовой камере в зависимости от изменения давления, причем в незаполняемом отсеке силовой камеры выполнено отверстие с закрепленной в нем направляющей втулкой, обеспечивающей поступательное движение передаточного механизма.
Запорная и/или запорно-регулировочная арматура может быть выполнена с имеющим шпиндель запорным органом, а передаточный механизм состоит, по меньшей мере, из двух элементов, при этом первый элемент – шток передаточного механизма через предохранительную накладку соединен с мембраной силовой камеры, а второй элемент соединен с запорным органом запорно-регулировочной арматуры, предпочтительно, через шпиндель с возможностью поворотного перемещения последней.
Первый и второй элементы передаточного механизма могут быть выполнены прямолинейными и соединены между собой подвижно, например шарнирно, причем во втором элементе в месте соединения его с первым выполнено отверстие, внутри которого расположен штифт, соединяющий оба указанных элемента, причем второй элемент передаточного механизма выполнен с возможностью поворота от 0 до 90 градусов от исходного положения, при этом 0 градусов соответствует, например, полностью закрытой арматуре, а значение 90 градусов – полностью открытой.
Запорная и/или запорно-регулировочная арматура может представлять собой кран, например шаровой.
Передаточный механизм, взаимодействующий с запорной и/или запорно-регулировочной арматурой, может быть выполнен в виде рычага или кривошипного механизма, или зубчатой рейки.
Максимальная пропускная способность обратного клапана регулятора скорости открывания упомянутой арматуры, по меньшей мере, в два раза может превышать максимальную пропускную способность жиклера.
Техническим результатом, достигаемым при использовании заявленного изобретения, является обеспечение безопасности и снижение энергозатрат при эксплуатации гидравлических систем, обеспечивающих работу систем нефтеперерабатывающего завода, содержащих несжимаемые жидкости, а также повышение долговечности и надежности работы всего комплекса нефтеперерабатывающего завода, снижение затрат на ремонт и обслуживание оборудования вследствие снижения нагрузки на элементы гидравлической системы – запорную и/или запорно-регулировочную арматуру, трубопроводы и на насосное оборудование, что достигается разработанным в изобретении сочетанием существенных признаков, создающих совокупный положительный эффект, превышающий сумму входящих эффектов от отдельных элементов изобретения, а именно принятое в изобретении расположение сообщенных с трубопроводами по рабочим телам или рабочей среде на участках между насосами и запорной и/или запорно-регулировочной арматурой, позволяет включать насосы и осуществлять набор оборотов, близких к рабочим, при закрытой арматуре, что снижает энергозатраты при запуске электродвигателей насосов, а последовательность расположения и предложенные конструктивные решения регулятора скорости открытия и гидромеханического привода арматуры обеспечивают, с одной стороны, автоматически достигаемую плавность открытия задвижек и включения гидравлических систем, а, с другой стороны, обеспечивают быстрый сброс давления в устройстве и отключение систем при выключении двигателей. Последнее достигается за счет предложенного в изобретении регулируемого соотношения пропускной способности впускного жиклера и обратного клапана, а также за счет выполнения разделительной мембраны упругоподатливой, установленной в жесткой силовой камере, что обеспечивает плавное движение передаточного механизма гидромеханического привода в режиме открывания задвижки и более быстрое, но также плавное закрывание, усиленное срабатывающей в режиме обратного хода за счет дополнительной энергии пружинного усилителя хода. Это создает в совокупности необходимую плавность и регулируемую быстроту работы устройства, а также экономичность, возможность как автономной, так и совместной с другими устройствами работы в гидравлических системах.
Техническое решение иллюстрируется чертежами, на которых представлен частный случай выполнения гидромеханического устройства, не охватывающий и тем более не ограничивающий весь объем притязаний данного решения, где:
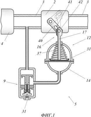
на фиг.1 изображено соединенное с трубопроводом гидромеханическое устройство с силовой камерой, снабженной герметичной упругой мембраной (рабочее тело или рабочая среда не показаны);
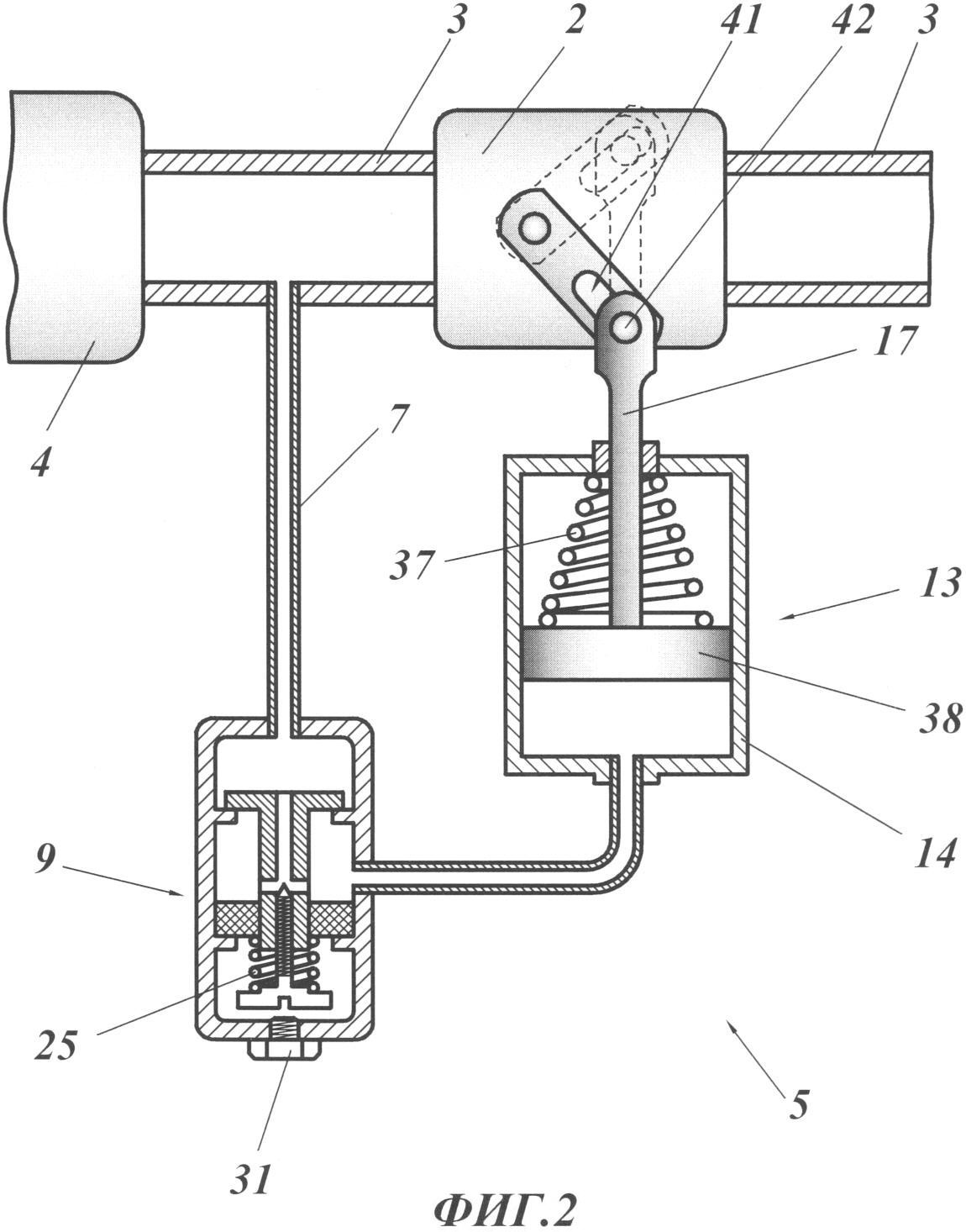
на фиг.2 – соединенное с трубопроводом гидромеханическое устройство с силовой камерой, снабженной поршнем (рабочее тело или рабочая среда не показаны);
на фиг.3 – регулятор скорости открытия запорной и/или запорно-регулировочной арматуры с выкрученной заглушкой;
на фиг.4 – силовая камера с герметичной упругой мембраной;
на фиг.5 – гидромеханическое устройство в начале процесса открытия упомянутой арматуры – двигатель насоса в фазе выхода с холостого хода на рабочие обороты;
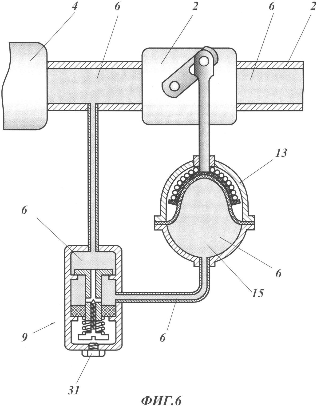
на фиг.6 – гидромеханическое устройство с полностью открытой упомянутой арматурой – двигатель в фазе работы на полную мощность;
на фиг.7 – гидромеханическое устройство после окончания воздействия давления при выключенном двигателе;
на фиг.8 – гидромеханическое устройство в варианте выполнения с промежуточным (дополнительным) рабочим телом;
на фиг.9 – гидромеханическое устройство в варианте выполнения с несколькими промежуточными (дополнительными) рабочими телами;
на фиг.10 – вариант выполнения гидромеханического устройства с передаточным механизмом в виде зубчатых рейки и колеса;
на фиг.11 – схема гидравлической системы для перекачивания жидкости с гидромеханическим устройством.
Нефтеперерабатывающий завод (на чертежах не показано) содержит образующие гидравлическую систему 1 резервуарный парк для приема и хранения сырой нефти, связанный с ним посредством имеющих запорную и/или запорно-регулировочную арматуру 2 с запирающим элементом (на чертежах не показано) образующих обвязку технологических трубопроводов, снабженных насосным оборудованием, преимущественно, в виде насосов 3 с электроприводом, технологический комплекс (на чертежах не показано) установок по очистке и разделению нефти на фракции, получению коммерческих нефтепродуктов с возможным, по меньшей мере частичным, компаундированием, котельную и/или установки и агрегаты (на чертежах не показано) по выработке тепловой или электрической и тепловой энергии, соединенные соответственно сетью или сетями трубопроводов с источником холодного и/или горячего водоснабжения и с внутренними и/или внешними потребителями тепловой энергии, по меньшей мере, одна система утилизации горючих отходов (на чертежах не показано), а также снабженный обвязкой технологических трубопроводов, предпочтительно, связанный с упомянутыми основными технологическим установками с образованием части основной гидравлической системы завода резервуарный парк (на чертежах не показано) для хранения разделенных фракций и коммерческих нефтепродуктов.
По меньшей мере, один выполненный напорным и снабженный соответственно не менее чем одним напорным насосом 4 с электроприводом технологический трубопровод 3 и/или трубопровод сети холодного и/или горячего водоснабжения оборудован гидромеханическим устройством 5 для плавной нагрузки гидравлической системы 1, подключенным, по меньшей мере, к одному напорному трубопроводу 3, преимущественно, с напорной стороны на участке между создающим напор в трубопроводе 3 насосом 4 или насосной группой и ближайшей запорной и/или запорно-регулировочной арматурой 2, сообщенным с трубопроводом по рабочему телу 6, преимущественно, по перекачиваемой жидкости и смонтированным с возможностью автоматического пролонгированного включения и выключения запорной и/или запорно-регулировочной арматуры 2.
Упомянутое гидромеханическое устройство 5 включает последовательно соединенные между собой входной патрубок 7, имеющий корпус 8 регулятор скорости открытия 9 запорной и/или запорно-регулировочной арматуры 2 и передачи нагрузки на гидравлическую систему 1, снабженный обратным клапаном 10 и жиклером 11, и гидромеханический привод 12, включающий силовую камеру 13 с корпусом 14, содержащим, по меньшей мере, один отсек 15 с изменяющимся рабочим объемом, регулируемо возвратно наполняемым жидким рабочим телом 6 при возрастании давления в трубопроводе 3, и передаточный механизм 16. Подключение к трубопроводу 3 гидромеханического устройства 5 выполнено двойным: на входе входным патрубком 7 оно сообщено с трубопроводом 3 по рабочему телу 6, а на выходе – кинематически гидромеханическим приводом 12 с запирающим элементом упомянутой арматуры 2.
Передаточный механизм 16 выполнен подвижным, соединенным с силовой камерой 13 по типу «поршень-шток» или «мембрана-шток». Шток 17, в свою очередь, подвижно связан с образованием привода с запирающим элементом запорной и/или запорно-регулировочной арматурой 2 с возможностью автоматических перемещений запирающего элемента в диапазоне от полного перекрытия до полностью открытого на проток трубопровода 3 и наоборот.
Технологический комплекс установок по очистке и разделению нефти на фракции содержит, по меньшей мере, одну колонну атмосферно-вакуумной перегонки нефти (на чертежах не показано), снабженную образующей гидравлическую систему 1 обвязкой и внутризаводской коммуникационной сетью или сетями технологических трубопроводов 3, а также, по меньшей мере, дополнительными гидравлическими системами, образованными из внутризаводских сетей трубопроводов холодного и/или горячего водоснабжения и паропроводов, причем каждая из упомянутых систем 1 снабжена насосным оборудованием, включающим не менее одного напорного насоса 4, преимущественно, с электроприводом, и запорную и/или запорно-регулировочную арматуру 2 с запирающим элементом и выполнена с возможностью подключения в зоне между упомянутым насосом 3 и арматурой 2 упомянутого гидромеханического устройства 5 для плавной нагрузки гидравлической системы.
Нефтеперерабатывающий завод снабжен комплексом технологических установок (на чертежах не показано), преимущественно, в который входят гидравлически связанные с колонной атмосферно-вакуумной перегонки нефти, по меньшей мере, по одной установке вторичной перегонки нефти, газофракционирования, каталитического крекинга с гидроочисткой сырья и газофракционированием, гидроочистки легких фракций первичной перегонки нефти, включая гидроочистку дизельного топлива и керосина, образующие технологические цепочки установка висбрекинга гудрона и гидравлически связанная с ней и с упомянутой установкой каталитического крекинга гидроочисткой сырья и газофракционирования по промежуточным преобразованиям и синтезу продуктов установка котельного топлива и, кроме того, установка по технологической доводке наиболее тяжелой фракции первичной переработки нефти, а именно производства нефтебитума и выработки, по меньшей мере, таких коммерческих продуктов, как битум дорожный и битум строительный.
По меньшей мере, одна колонна атмосферно-вакуумной перегонки нефти выполнена с возможностью получения высокооктанового прямогонного бензина высокого качества, например экспортного, непосредственно из колонны и путем смешения-компаундирования легкоиспаряемых фракций из упомянутой колонны и аналогичных фракций, полученных в результате прохождения в упомянутой колонне первичной перегонки нефти и последующего разделения в установке гидроочистки дизельного топлива и керосина, при этом для получения товарного продукта из относительно тяжелой фракции с температурой кипения, соответствующей, например, температурному диапазону кипения дизельного топлива упомянутая установка гидроочистки дизельного топлива и керосина гидравлически соединена, преимущественно, с емкостью для введения в упомянутую технологическую фракцию депрессорных присадок для получения товарных вариантов дизельного топлива, при этом технологические трубопроводы упомянутой гидравлической системы оснащены необходимой запорной и/или запорно-регулировочной арматурой и, по крайней мере, часть из них подключена к насосному оборудованию, а, по меньшей мере, один из трубопроводов, соединяющих упомянутые технологические установки, выполнен напорным и смонтирован с возможностью подключения упомянутого гидромеханического устройства для плавной нагрузки гидравлической системы.
Гидравлически связанные между собой и, по меньшей мере, объединенные по продукту в группы технологические установки образуют технологический комплекс (на чертежах не показано) по первичной перегонке нефти и последующей обработке, выделению и/или смешению выделенных фракций, введению присадок, утилизации отходов, включая попутные и сопутствующие газы, при этом для получения дополнительного выхода и получения товарной продукции из светлых фракций, в первую очередь, автомобильных бензинов с октановым числом от 80 до 95 марок АИ-80-ЭК, АИ-92-ЭК, регуляр Евро-92, АИ-95-ЭК, премиум Евро-95 завод оснащен, по меньшей мере, одной установкой каталитического риформинга, на входе гидравлически связанной с образованием технологической цепочки через установку вторичной перегонки нефти с колонной атмосферно-ваккумной перегонки нефти, а на выходе дважды связана с установкой получения бензинов упомянутых товарных марок, в том числе непосредственно, по меньшей мере, одним трубопроводом, оснащенным, по крайней мере, запорной и/или запорно-регулировочной арматурой с ручным и/или электроприводом, и опосредственно через упомянутую установку газофракционирования и отдельным трубопроводом установка каталитического риформинга связана с факельной установкой и с блоком утилизации попутных и сопутствующих газов.
Технологический комплекс нефтеперерабатывающего завода включает установку производства водорода (на чертежах не показано), гидравлически связанную по продукту с установкой каталитического крекинга с гидроочисткой сырья – темных фракций первичной перегонки нефти в колонне атмосферно-вакуумной перегонки нефти, при этом упомянутая установка каталитического крекинга на выходе технологически связана по вязкотекучей фракции с установкой для получения котельного топлива, а по другим выделенным фракциям с технологическими установками по производству серы для утилизации отхода переработки сернистых и высокосернистых нефтей и/или с установками по производству и переработке, например, полипропилена, причем практически каждая из упомянутых установок и/или технологических цепочек оснащена дополнительной обвязкой либо обвязками или подведенным к ним не менее, чем одним трубопроводом гидравлических сетей холодного и/или горячего водоснабжения, оснащенных запорной и/или запорно-регулировочной арматурой, подключенных не менее чем к одному напорному насосу, преимущественно, с электроприводом, и содержит в своем составе или подключена не менее чем к одному трубопроводу, аналогично оснащенному упомянутой арматурой и насосным оборудованием, который в свою очередь выполнен с возможностью подключения к нему упомянутого гидромеханического устройства для плавной нагрузки соответствующей из упомянутых гидравлических систем.
В гидромеханическом устройстве 6 в корпусе 8 регулятора скорости открытия 9 запорной и/или запорно-регулировочной арматуры 2 размещены вышеупомянутые обратный клапан 10 и жиклер 11, причем жиклер 11 и обратный клапан 10 выполнены конструктивно совмещенными. Обратный клапан 10 регулятора скорости открытия 9 упомянутой арматуры 2 содержит имеющий пропускной канал 18 с выходными отверстиями 19, 20 шток 21 с выполненной на одном его конце заслонкой 22, а на другом – жиклером 11, включающим регулирующий, предпочтительно винтовой, элемент 23, введенный в пропускной канал 18 штока 21 обратного клапана 10 с возможностью, по крайней мере частичного, перекрытия проходного сечения пропускного канала – пропускного отверстия для его калибровки – частичного перекрытия с помощью иглы 24 жиклера, которой снабжен винтовой элемент 23, путем изменения ее положения относительно пропускного канала, кроме того, регулятор скорости открытия 9 упомянутой арматуры снабжен возвратным устройством 25, связанным с обратным клапаном 10 и/или жиклером 11 и выполненным, например, в виде пружины.
Корпус 8 регулятора скорости открытия 9 запорной и/или запорно-регулировочной арматуры 2 содержит, по меньшей мере, три отсека. В первом отсеке 26 расположена заслонка 22 обратного клапана 10 с выполненным в ней входным отверстием 27 пропускного канала 18. Во втором отсеке 28 расположен, по крайней мере частично, шток 21 обратного клапана 10 и, по меньшей мере, одно выходное отверстие 19 или 20 пропускного канала 18, выполненное в штоке 21. В третьем отсеке 29 расположен винтовой элемент 23 жиклера 11 и возвратное устройство 25 регулятора скорости открытия 9 арматуры 2. Второй отсек 28 соединен по рабочему телу 6 с силовой камерой 13, а в корпусе 8 регулятора скорости открытия 9 упомянутой арматуры 2 в области третьего отсека 29 выполнено отверстие 30, закрытое винтовой заглушкой 31 для обеспечения регулировки проходного сечения калибруемого отверстия 32 пропускного канала 18 посредством винтового элемента.
Для изменения положения иглы 24 жиклера 11 относительно калибруемого отверстия 32 жиклер 11 снабжен устройством калибровки, например винтовым элементом 23, выполненным с возможностью его регулировки вручную с внешней стороны корпуса 8 регулятора скорости открытия 9 запорной и/или запорно-регулировочной арматуры 2.
Силовая камера 13 снабжена герметичной упругой мембраной 33, разделяющей корпус 14 силовой камеры 13 на упомянутый заполняемый рабочим телом 6 отсек 15 с изменяющимся рабочим объемом и не заполняемый им отсек 34. Мембрана 33 выполнена с возможностью знакопеременной деформации, направленной в зависимости от давления как в сторону заполняемого отсека 15, так и в сторону незаполняемого отсека 34 силовой камеры 13, при этом в незаполняемом отсеке 34 силовой камеры 13 выполнено отверстие 35 с закрепленной в нем направляющей втулкой 36, обеспечивающей поступательное движение передаточного механизма 16.
Гидромеханическое устройство 5 снабжено возвратным устройством 37 гидромеханического привода, связанным с передаточным механизмом 16 и/или мембраной привода и выполненным, например, в виде пружины.
Силовая камера 13 снабжена поршнем 38, разделяющим корпус 14 силовой камеры 14 на упомянутый заполняемый рабочим телом 6 отсек 15 с изменяющимся рабочим объемом и незаполняемый им отсек 34 и выполненным с возможностью перемещения в силовой камере в зависимости от изменения давления, причем в незаполняемом отсеке 34 силовой камеры 13 выполнено отверстие 35 с закрепленной в нем направляющей втулкой 36, обеспечивающей поступательное движение передаточного механизма 16.
Запорная и/или запорно-регулировочная арматура 2 выполнена с имеющим шпиндель запорным органом (на чертежах не показано), а передаточный механизм 16 состоит, по меньшей мере, из двух элементов. Первый элемент передаточного механизма – шток 17 через предохранительную накладку 39 соединен с мембраной 33 силовой камеры 13, а второй элемент 40 соединен с запорным органом запорной и/или запорно-регулировочной арматуры 2, предпочтительно, через шпиндель с возможностью поворотного перемещения последней. Первый и второй элементы 17 и 40 соответственно передаточного механизма 16 выполнены прямолинейными и соединены между собой подвижно, например шарнирно, причем во втором элементе 40 в месте соединения его с первым выполнено отверстие 41, например продолговатая прорезь, внутри которого расположен штифт 42, соединяющий оба указанных элемента. Второй элемент 40 передаточного механизма 16 выполнен с возможностью поворота от 0 до 90 градусов от исходного положения, при этом 0 градусов соответствует, например, полностью закрытой арматуре, а значение 90 градусов – полностью открытой.
Запорная и/или запорно-регулировочная арматура 2 может представлять собой кран, например шаровой.
Передаточный механизм 16, взаимодействующий с запорной и/или запорно-регулировочной арматурой 2, может быть выполнен в виде рычага или кривошипного механизма, или зубчатой рейки 43, или зубчатого колеса 44.
Максимальная пропускная способность обратного клапана 10 регулятора скорости открытия 9 упомянутой арматуры 2, по меньшей мере, в два раза превышает максимальную пропускную способность жиклера 11.
Рассмотрим работу нефтеперерабатывающего завода при перекачке нефти на участке прохождения нефтепродуктов от колонны атмосферно-вакуумной перегонки нефти до установки гидроочистки дизельного топлива и керосина. При прохождении в упомянутой колонне первичной перегонки нефти и последующего разделения в установке гидроочистки дизельного топлива и керосина для получения товарного продукта из относительно тяжелой фракции с температурой кипения, соответствующей, например, температурному диапазону кипения дизельного топлива, упомянутая установка гидроочистки дизельного топлива и керосина гидравлически соединена, преимущественно, с емкостью для введения в упомянутую технологическую фракцию депрессорных присадок для получения товарных вариантов дизельного топлива. Технологические трубопроводы упомянутой гидравлической системы 1 оснащены необходимой запорной и/или запорно-регулировочной арматурой 2 и, по крайней мере, часть из них подключена к насосному оборудованию, а, по меньшей мере, один из трубопроводов 3, соединяющих упомянутые технологические установки, выполнен напорным и смонтирован с возможностью подключения упомянутого гидромеханического устройства 5 для плавной нагрузки гидравлической системы.
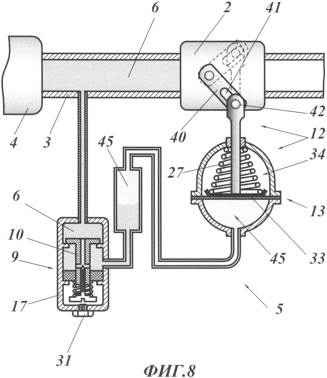
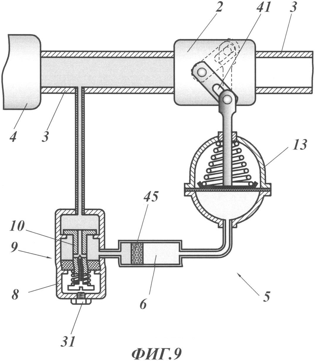
В качестве рабочего тела 6 может быть использована, например, несжимаемая жидкость, циркулирующая в гидравлической системе 1 и/или перемещаемая по трубопроводу 3 гидравлической системы 1. Регулятор скорости открытия 9 запорной и/или запорно-регулировочной арматуры 2 может быть сообщен с силовой камерой 13 по другому – промежуточному (дополнительному) рабочему телу 45 или нескольким телам, жидким и/или газообразным. В качестве рабочего тела 6 и/или промежуточного (дополнительного) рабочего тела 45 может быть использован гель. При использовании нескольких рабочих тел на участке между регулятором скорости открытия 9 упомянутой арматуры и силовой камерой 13 может быть использовано устройство или устройства известной конструкций, препятствующие смешению рабочих тел между собой.
В начале процесса перекачивания при включении, по крайней мере, одного насоса 4, предпочтительно, с электродвигателем 46, сообщенного с одной стороны с источником жидкости, а с другой – с автоматическим гидромеханическим устройством 5, при этом пуск двигателя насоса 4 осуществляют в два этапа: на первом – при закрытой запорной и/или запорно-регулировочной арматуре 2 гидромеханического устройства 5, после чего двигатель работает, предпочтительно, на холостых или близких к ним оборотах, не перекачивая объем рабочей среды гидравлической системы, предпочтительно, жидкости по гидравлической системе, а нагнетая ее в регулятор скорости открытия 9 упомянутой арматуры 2, который присоединен к трубопроводу 3 на участке между насосом 4 и запорно-регулировочной арматурой 2 гидромеханического устройства 5. Жидкость – рабочее тело 6, проходя через жиклер 11 регулятора скорости открытия 9 запорной и/или запорно-регулировочной арматуры 2, попадает в силовую камеру 13. После наполнения силовой камеры 13 рабочее тело 6 – жидкость начинает воздействовать на мембрану 33, постепенно деформируя ее. Мембрана 33, деформируясь, приводит в движение первый элемент (шток) 17 передаточного механизма 16, движущийся поступательно пропорционально деформации мембраны 33, преодолевая при этом усилие возвратного устройства 37 привода – пружины. Поступательное движение с помощью первого элемента 17 гидромеханического привода 12, связанного со вторым элементом 40, преобразуется в движение запорного органа запорной и/или запорно-регулировочной арматуры 2, направленное на ее постепенное открытие в течение некоторого определенного промежутка времени. Перед эксплуатацией трубопровода 3 жиклер 11 регулятора скорости открытия 9 упомянутой арматуры 2 настраивают таким образом, чтобы обеспечить необходимый временной интервал от начала пуска двигателя насоса 4 при закрытой запорной и/или запорно-регулировочной арматуре 2 до полного ее открытия. После остановки двигателя и уменьшения давления в трубопроводе 3 жидкость вытесняют из силовой камеры 13 через открываемый под действием давления возвратного устройства 37 гидромеханического привода 12 обратный клапан 10 регулятора скорости открытия 9 упомянутой арматуры 2 усилием, создаваемым пружиной гидромеханического привода 12, которое превосходит усилие, создаваемое возвратным устройством 25 обратного клапана 10, причем максимальная пропускная способность обратного клапана 10, по меньшей мере, в два раза превышает максимальную пропускную способность жиклера 11.
Формула изобретения
1. Нефтеперерабатывающий завод, характеризующийся тем, что он содержит образующие гидравлическую систему резервуарный парк для приема и хранения сырой нефти, связанный с ним посредством имеющих запорную и/или запорно-регулировочную арматуру с запирающим элементом образующих обвязку технологических трубопроводов, снабженных насосным оборудованием, преимущественно в виде насосов с электроприводом, технологический комплекс установок по очистке и разделению нефти на фракции, получению коммерческих нефтепродуктов с возможным, по меньшей мере, частичным компаундированием, котельную и/или установки и агрегаты по выработке тепловой или электрической и тепловой энергии, соединенные соответственно сетью или сетями трубопроводов с источником холодного и/или горячего водоснабжения и с внутренними и/или внешними потребителями тепловой энергии, по меньшей мере, одна система утилизации горючих отходов, а также снабженный обвязкой технологических трубопроводов, предпочтительно связанный с упомянутыми основными технологическим установками с образованием части основной гидравлической системы завода резервуарный парк для хранения разделенных фракций и коммерческих нефтепродуктов, при этом, по меньшей мере, один выполненный напорным и снабженный соответственно не менее чем одним напорным насосом с электроприводом технологический трубопровод и/или трубопровод сети холодного и/или горячего водоснабжения оборудован гидромеханическим устройством для плавной нагрузки гидравлической системы, подключенным, по меньшей мере, к одному напорному трубопроводу преимущественно с напорной стороны на участке между создающим напор в трубопроводе насосом или насосной группой и ближайшей запорной и/или запорно-регулировочной арматурой, сообщенным с трубопроводом по рабочему телу преимущественно по перекачиваемой жидкости и смонтированным с возможностью автоматического пролонгированного включения и выключения запорной и/или запорно-регулировочной арматуры, при этом гидромеханическое устройство включает последовательно соединенные между собой входной патрубок, имеющий корпус, регулятор скорости открытия запорной и/или запорно-регулировочной арматуры и передачи нагрузки на гидравлическую систему, снабженный обратным клапаном и жиклером, и гидромеханический привод, включающий силовую камеру с корпусом, содержащим, по меньшей мере, один отсек с изменяющимся рабочим объемом, регулируемо возвратно наполняемым жидким рабочим телом при возрастании давления в трубопроводе, и передаточный механизм, при этом подключение к трубопроводу гидромеханического устройства выполнено двойным: на входе – входным патрубком оно сообщено с трубопроводом по рабочему телу, а на выходе – кинематически гидромеханическим приводом с запирающим элементом упомянутой арматуры, причем передаточный механизм выполнен подвижным, соединенным с силовой камерой по типу «поршень-шток» или «мембрана-шток», при этом шток, в свою очередь, подвижно связан с образованием привода с запирающим элементом упомянутой арматуры с возможностью автоматических перемещений запирающего элемента в диапазоне от полного перекрытия до полностью открытого на проток трубопровода и наоборот.
2. Нефтеперерабатывающий завод по п.1, отличающийся тем, что технологический комплекс установок по очистке и разделению нефти на фракции содержит, по меньшей мере, одну колонну атмосферно-вакуумной перегонки нефти, снабженную образующей гидравлическую систему обвязкой и внутризаводской коммуникационной сетью или сетями технологических трубопроводов, а также, по меньшей мере, дополнительными гидравлическими системами, образованными из внутризаводских сетей трубопроводов холодного и/или горячего водоснабжения и паропроводов, причем каждая из упомянутых систем снабжена насосным оборудованием, включающим не менее одного напорного насоса, преимущественно с электроприводом, и запорную и/или запорно-регулировочную арматуру с запирающим элементом и выполнены с возможностью подключения в зоне между упомянутым насосом и арматурой упомянутого гидромеханического устройства для плавной нагрузки гидравлической системы.
3. Нефтеперерабатывающий завод по п.2, отличающийся тем, что он снабжен комплексом технологических установок, преимущественно в который входят гидравлически связанные с колонной атмосферно-вакуумной перегонки нефти, по меньшей мере, по одной установке вторичной перегонки нефти, газофракционирования, каталитического крекинга с гидроочисткой сырья и газофракционированием, гидроочистки легких фракций первичной перегонки нефти, включая гидроочистку дизельного топлива и керосина, образующие технологические цепочки установка висбкрекинга гудрона и гидравлически связанная с ней и с упомянутой установкой каталитического крекинга гидроочисткой сырья и газофракционирования по промежуточным преобразованиям и синтезу продуктов установка котельного топлива; и кроме того, установка по технологической доводке наиболее тяжелой фракции первичной переработки нефти, а именно производства нефтебитума и выработки, по меньшей мере, таких коммерческих продуктов, как битум дорожный и битум строительный.
4. Нефтеперерабатывающий завод по п.2, отличающийся тем, что, по меньшей мере, одна колонна атмосферно-вакуумной перегонки нефти выполнена с возможностью получения высокооктанового прямогонного бензина высокого качества, например экспортного, непосредственно из колонны и путем смешения – компаундирования легкоиспаряемых фракций из упомянутой колонны и аналогичных фракций, полученных в результате прохождения в упомянутой колонне первичной перегонки нефти и последующего разделения в установке гидроочистки дизельного топлива и керосина, при этом для получения товарного продукта – из относительно тяжелой фракции с температурой кипения, соответствующей, например, температурному диапазону кипения дизельного топлива – упомянутая установка гидроочистки дизельного топлива и керосина гидравлически соединена преимущественно с емкостью для введения в упомянутую технологическую фракцию депрессорных присадок для получения товарных вариантов дизельного топлива, при этом технологические трубопроводы упомянутой гидравлической системы оснащены необходимой запорной и/или запорно-регулировочной арматурой и, по крайней мере, часть из них подключена к насосному оборудованию, а, по меньшей мере, один из трубопроводов, соединяющих упомянутые технологические установки, выполнен напорным и смонтирован с возможностью подключения упомянутого гидромеханического устройства для плавной нагрузки гидравлической системы.
5. Нефтеперерабатывающий завод по п.2, отличающийся тем, что гидравлически связанные между собой и, по меньшей мере, объединенные по продукту в группы технологические установки образуют технологический комплекс по первичной перегонке нефти и последующей обработке, выделению и/или смешению, выделенных фракций, введению присадок, утилизации отходов, включая попутные и сопутствующие газы, при этом для получения дополнительного выхода и получения товарной продукции из светлых фракций, в первую очередь, автомобильных бензинов с октановым числом от 80 до 95 марок АИ-80-ЭК, АИ-92-ЭК, регуляр Евро-92, АИ-95-ЭК, премиум Евро-95, завод оснащен, по меньшей мере, одной установкой каталитического риформинга, на входе гидравлически связанной с образованием технологической цепочки через установку вторичной перегонки нефти с колонной атмосферно-ваккумной перегонки нефти, а на выходе дважды связана с установкой получения бензинов упомянутых товарных марок, в том числе непосредственно, по меньшей мере, одним трубопроводом оснащенным, по крайней мере, запорной и/или запорно-регулировочной арматурой с ручным и/или электроприводом и опосредственно через упомянутую установку газофракционирования и отдельным трубопроводом установка каталитического риформинга связана с факельной установкой и с блоком утилизации попутных и сопутствующих газов.
6. Нефтеперерабатывающий завод по п.3, отличающийся тем, что технологический комплекс нефтеперерабатывающего завода включает установку производства водорода, гидравлически связанную по продукту с установкой каталитического крекинга с гидроочисткой сырья – темных фракций первичной перегонки нефти в колонне атмосферно-вакуумной перегонки нефти, при этом упомянутая установка каталитического крекинга на выходе технологически связана по вязко-текучей фракции с установкой для получения котельного топлива, а по другим выделенным фракциям с технологическими установками по производству серы для утилизации отхода переработки сернистых и высокосернистых нефтей и/или с установками по производству и переработке, например, полипропилена, причем практически каждая из упомянутых установок и/или технологических цепочек оснащена дополнительной обвязкой, либо обвязками или подведенным к ним не менее чем одним трубопроводом гидравлических сетей холодного и/или горячего водоснабжения, оснащенных запорной и/или запорно-регулировочной арматурой подключенных не менее чем к одному напорному насосу преимущественно с электроприводом и содержит в своем составе или подключена не менее чем к одному трубопроводу, аналогично оснащенному упомянутой арматурой и насосным оборудованием, который, в свою очередь, выполнен с возможностью подключения к нему упомянутого гидромеханического устройства для плавной нагрузки соответствующей из упомянутых гидравлических систем.
7. Нефтеперерабатывающий завод по п.1, отличающийся тем, что в корпусе регулятора скорости открытия упомянутой арматуры размещены вышеупомянутые обратный клапан и жиклер, причем жиклер и обратный клапан выполнены конструктивно совмещенными.
8. Нефтеперерабатывающий завод по п.1, отличающийся тем, что обратный клапан регулятора скорости открытия упомянутой арматуры содержит имеющий пропускной канал с выходными отверстиями, шток с выполненной на одном его конце заслонкой, а на другом – жиклером, включающим регулирующий, предпочтительно винтовой элемент, введенный в пропускной канал штока обратного клапана с возможностью, по крайней мере, частичного перекрытия проходного сечения пропускного канала – пропускного отверстия для его калибровки с помощью иглы жиклера, которой снабжен винтовой элемент, путем изменения ее положения относительно пропускного канала.
9. Нефтеперерабатывающий завод по п.1, отличающийся тем, что регулятор скорости открытия упомянутой арматуры снабжен возвратным устройством, связанным с обратным клапаном и/или жиклером и выполненным, например, в виде пружины.
10. Нефтеперерабатывающий завод по п.8, отличающийся тем, что регулятор скорости открытия упомянутой арматуры снабжен возвратным устройством, установленным на винтовом элементе жиклера и выполненным, например, в виде пружины.
11. Нефтеперерабатывающий завод по п.7, отличающийся тем, что корпус регулятора скорости открытия запорной и/или запорно-регулировочной арматуры содержит, по меньшей мере, три отсека, в первом отсеке расположена заслонка обратного клапана с выполненным в ней входным отверстием пропускного канала, во втором отсеке расположен, по крайней мере, частично шток обратного клапана и, по меньшей мере, одно выходное отверстие пропускного канала, выполненное в штоке, в третьем отсеке расположен винтовой элемент жиклера и возвратное устройство регулятора скорости открытия, при этом второй отсек соединен по рабочему телу с силовой камерой, а в корпусе регулятора скорости открытия в области третьего отсека выполнено отверстие, закрытое винтовой заглушкой для обеспечения регулировки проходного сечения пропускного канала посредством винтового элемента.
12. Нефтеперерабатывающий завод по п.8, отличающийся тем, что для изменения положения иглы жиклера относительно пропускного отверстия жиклер снабжен устройством калибровки, выполненным с возможностью его регулировки вручную с внешней стороны корпуса регулятора скорости открытия запорной и/или запорно-регулировочной арматуры.
13. Нефтеперерабатывающий завод по п.1, отличающийся тем, что силовая камера снабжена герметичной упругой мембраной, разделяющей корпус силовой камеры на упомянутый заполняемый рабочим телом отсек с изменяющимся рабочим объемом и незаполняемый им отсек, причем мембрана выполнена с возможностью знакопеременной деформации, направленной в зависимости от давления, как в сторону заполняемого отсека, так и в сторону незаполняемого отсека силовой камеры, причем в незаполняемом отсеке силовой камеры выполнено отверстие с закрепленной в нем направляющей втулкой, обеспечивающей поступательное движение передаточного механизма.
14. Нефтеперерабатывающий завод по п.1, отличающийся тем, что гидромеханическое устройство снабжено возвратным устройством гидромеханического привода, связанным с передаточным механизмом и/или мембраной привода и выполненным, например, в виде пружины.
15. Нефтеперерабатывающий завод по п.1, отличающийся тем, что силовая камера снабжена поршнем, разделяющим корпус силовой камеры на упомянутый заполняемый рабочим телом отсек с изменяющимся рабочим объемом и незаполняемый им отсек и выполненным с возможностью перемещения в силовой камере в зависимости от изменения давления, причем в незаполняемом отсеке силовой камеры выполнено отверстие с закрепленной в нем направляющей втулкой, обеспечивающей поступательное движение передаточного механизма.
16. Нефтеперерабатывающий завод по п.14, отличающийся тем, что запорная и/или запорно-регулировочная арматура выполнена с имеющим шпиндель запорным органом, а передаточный механизм состоит, по меньшей мере, из двух элементов, при этом первый элемент – шток передаточного механизма через предохранительную накладку соединен с мембраной силовой камеры, а второй элемент соединен с запорным органом запорно-регулировочной арматуры, предпочтительно через шпиндель, с возможностью поворотного перемещения последней.
17. Нефтеперерабатывающий завод по п.16, отличающийся тем, что первый и второй элементы передаточного механизма выполнены прямолинейными и соединены между собой подвижно, например шарнирно, причем во втором элементе в месте соединения его с первым выполнено отверстие, внутри которого расположен штифт, соединяющий оба указанных элемента, причем второй элемент передаточного механизма выполнен с возможностью поворота от 0 до 90° от исходного положения, при этом 0° соответствует, например, полностью закрытой арматуре, а значение 90° – полностью открытой.
18. Нефтеперерабатывающий завод по п.1, отличающийся тем, что запорная и/или запорно-регулировочная арматура представляет собой кран, например шаровой.
19. Нефтеперерабатывающий завод по п.1, отличающийся тем, что передаточный механизм, взаимодействующий с запорной и/или запорно-регулировочной арматурой, выполнен в виде рычага или кривошипного механизма, или зубчатой рейки.
20. Нефтеперерабатывающий завод по п.1, отличающийся тем, что максимальная пропускная способность обратного клапана регулятора скорости открывания упомянутой арматуры, по меньшей мере, в два раза превышает максимальную пропускную способность жиклера.
РИСУНКИ
|
|