|
|
(21), (22) Заявка: 2007135583/11, 25.09.2007
(24) Дата начала отсчета срока действия патента:
25.09.2007
(46) Опубликовано: 27.02.2009
(56) Список документов, цитированных в отчете о поиске:
RU 2174474 С1, 10.10.2001. SU 1567430 А1, 30.05.1990. US 4275662 А, 30.06.1981. FR 2531390 А1, 10.02.1994.
Адрес для переписки:
241015, г.Брянск, ул. Ульянова, 26, ЗАО УК БМЗ, ООТ
|
(72) Автор(ы):
Осмоловский Виктор Никитич (RU), Басенко Владислав Витальевич (RU), Титов Юрий Васильевич (RU)
(73) Патентообладатель(и):
Закрытое акционерное общество “Управляющая компания “Брянский машиностроительный завод” (ЗАО УК БМЗ) (RU)
|
(54) ГРУЗОВОЙ ЖЕЛЕЗНОДОРОЖНЫЙ ВАГОН
(57) Реферат:
Грузовой железнодорожный вагон содержит механизмы (1) разгрузки с блокирующим устройством (2), противовакуумный люк (3), включающий закрепленную на крыше вагона горловину (4) и крышку (5) люка с возможностью сообщения полости вагона с атмосферой. Механизм (6) управления противовакуумным люком реализуется тем, что крышка люка шарнирно соединена последовательно с тягой (7), штангой (8), расположенной в направляющих (9), толкателем (10), рычагом (11) с возможностью перемещения в планке-стопоре (12). Механизм управления взаимодействует с блокирующим устройством механизмов разгрузки вагона с возможностью закрывания крышки люка при блокировании механизмов разгрузки и открывания крышки люка при разблокировании механизмов разгрузки. Механизм управления осуществляет одновременно блокирование всех механизмов разгрузки вагона, причем в разблокированном положении механизмов разгрузки вагона блокирующее устройство закреплено фиксатором (13), установленным на раме вагона. Осуществляется управляемое открывание и закрывание противовакуумного люка снизу, отсутствует постоянный зазор между горловиной и крышкой люка. 2 ил.
Изобретение относится к области железнодорожного транспорта, в частности к подвижному составу, и касается механизмов управления противовакуумным люком грузового железнодорожного вагона.
Известен вагон-хоппер, содержащий механизмы разгрузки с блокирующим устройством, загрузочный люк, включающий закрепленную на кузове вагона горловину и крышку с возможностью сообщения полости вагона с атмосферой посредством зазора, выполненного между горловиной и крышкой загрузочного люка, и открывания разгрузочного люка (АС.СССР №1567430 кл. В61D 17/16, 1990 г., Бюл. №20).
Недостатком этой конструкции является постоянное сообщение полости вагона с атмосферой, что может приводить к снижению сохранности перевозимого груза за счет изменения его влажности. Наибольшее появление этого недостатка возможно при движении вагона, когда между крышкой и горловиной люка образуется разрежение воздуха, что приводит к интенсивному воздухообмену полости вагона с атмосферой и попаданию влаги под крышку в полость вагона.
Изобретение решает задачу повышения сохранности перевозимого груза при улучшении условий разгрузки путем соединения крышки люка с помощью механической связи, взаимодействующей с блокирующим устройством механизмов разгрузки вагона, устанавливающей крышку люка без зазора с горловиной в заблокированном положении механизмов разгрузки.
Технический результат достигается тем, что грузовой железнодорожный вагон, содержащий механизмы разгрузки с блокирующим устройством, пртивовакуумный люк, включающий закрепленную на крыше вагона горловину и крышку люка с возможностью сообщения полости вагона с атмосферой, снабжен механизмом управления потивовакуумным люком, выполненным в виде механической связи из тяги, толкателя, рычага, планки-стопора и штанги, взаимодействующей с блокирующим устройством механизмов разгрузки вагона с возможностью закрывания крышки люка при блокировании механизмов разгрузки и открывания крышки люка при разблокировании механизмов разгрузки, при этом крышка люка шарнирно соединена последовательно с тягой, штангой, расположенной в направляющих, толкателем, рычагом с возможностью перемещения в планке-стопоре, кроме того, механизм управления противовакуумным люком осуществляет одновременно блокирование всех механизмов разгрузки вагона, причем в разблокированном положении механизмов разгрузки вагона блокирующее устройство закреплено фиксатором, установленным на раме вагона.
Техническим преимуществом является управляемое открывание и закрывание противовакуумного люка снизу (с пола), отсутствие постоянного зазора между горловиной и крышкой люка, а также то, что механизм управления противовакуумным люком взаимодействует с блокирующим устройством одновременно всех механизмов разгрузки вагона.
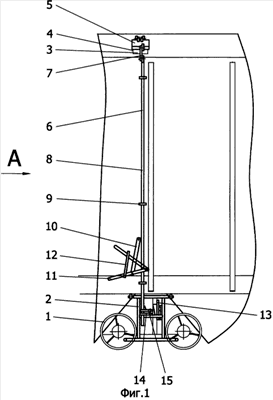
На фиг.1 изображен механизм, общий вид; на фиг.2 – вид А на фиг.1.
Грузовой железнодорожный вагон содержит механизмы 1 разгрузки с блокирующим устройством 2, противовакуумный люк 3, включающий закрепленную на крыше вагона горловину 4 с крышкой 5 люка 3 и механизм 6 управления пртивовакуумным люком 3, который выполнен в виде механической связи, состоящей из тяги 7, штанги 8, направляющих 9, толкателя 10, рычага 11, планки-стопора 12 с возможностью открывания и закрывания крышки 5 люка 3, воздействуя на рычаг 11.
Блокирующее устройство 2 выполнено поворотным в виде рамки и имеет возможность блокировать все механизмы 1 разгрузки вагона.
В заблокированном положении механизмов 1 разгрузки вагона блокирующее устройство 2 закреплено фиксатором 13. В заблокированном положении механизмов 1 разгрузки вагона штанга 8 устанавливается в отверстие полки 14 блокирующего устройства 2 и пломбируется через соосные отверстия полки 14 блокирующего устройства 2 и планки 15 штанги 8.
Механизм 6 работает следующим образом.
При разгрузке вагона удаляют пломбу, поворачивают рычаг 11 вверх и устанавливают его за выступ расширенной части паза планки-стопора 12, при этом штанга 8 выйдет из отверстия полки 14 блокирующего устройства 2, крышка 5 люка 3 откроется для сообщения внутренней полости вагона с атмосферой.
Затем отклоняют блокирующее устройство 2 для вывода из зоны штурвалов механизмов 1 разгрузки до контакта и удержания его захватом 16 фиксатора 13.
Для закрывания крышки 5 люка 3 освобождают блокирующее устройство 2 от захвата 16 фиксатора 13 и вводят его в зону штурвалов механизмов 1 разгрузки, перемещают рычаг 11 вниз, так чтобы штанга 8 вошла в отверстие полки 14 блокирующего устройства 2, при этом крышка 5 плотно закрывает горловину 4 люка 3.
Формула изобретения
Грузовой железнодорожный вагон, содержащий механизмы разгрузки с блокирующим устройством, противовакуумный люк, включающий закрепленную на крыше вагона горловину и крышку люка с возможностью сообщения полости вагона с атмосферой, отличающийся тем, что снабжен механизмом управления противовакуумным люком, выполненным в виде механической связи из тяги, толкателя, рычага, планки-стопора и штанги, взаимодействующей с блокирующим устройством механизмов разгрузки вагона с возможностью закрывания крышки люка при блокировании механизмов разгрузки и открывания крышки люка при разблокировании механизмов разгрузки, при этом крышка люка шарнирно соединена последовательно с тягой, штангой, расположенной в направляющих, толкателем и рычагом с возможностью перемещения в планке-стопоре, кроме того, механизм управления противовакуумным люком осуществляет одновременно блокирование всех механизмов разгрузки вагона, причем в разблокированном положении механизмов разгрузки вагона блокирующее устройство закреплено фиксатором, установленным на раме вагона.
РИСУНКИ
|
|