|
(21), (22) Заявка: 2006146018/11, 15.12.2006
(24) Дата начала отсчета срока действия патента:
15.12.2006
(30) Конвенционный приоритет:
05.10.2006 JP 2006-274375
(43) Дата публикации заявки: 10.07.2008
(46) Опубликовано: 27.02.2009
(56) Список документов, цитированных в отчете о поиске:
СА 2363917 А, 27.05.2002. JP 5221208 А, 31.08.1993. JP 11235908 A, 31.08.1999. JP 2003312222 A, 06.11.2003.
Адрес для переписки:
191036, Санкт-Петербург, а/я 24, “НЕВИНПАТ”, пат.пов. А.В.Поликарпову
|
(72) Автор(ы):
ЯНАСЕ Минао (JP)
(73) Патентообладатель(и):
Сумитомо Раббер Индастриз, Лтд. (JP)
|
(54) УСТРОЙСТВО И СПОСОБ ДЛЯ СИГНАЛИЗАЦИИ О СНИЖЕНИИ ДАВЛЕНИЯ В ШИНЕ
(57) Реферат:
Изобретение относится к автомобильной промышленности. Устройство и способ для сигнализации об уменьшении давления воздуха в шине позволяют обнаружить уменьшение давления воздуха в шинах всех четырех колес с меньшими затратами. Устройство для сигнализации об уменьшении давления воздуха в шине содержит средства обнаружения уменьшения давления воздуха в шине путем измерения изменения параметра, связанного с условиями резонанса в шине, и средства обнаружения уменьшения давления воздуха в шине путем сравнения между собой динамически нагруженных радиусов шин, причем средством обнаружения уменьшения давления воздуха в шине путем измерения изменения параметра оснащены шины от одного до трех колес четырехколесного транспортного средства. В результате снижаются затраты на сигнализацию о снижении давления в шине. 2 н.п. ф-лы, 6 ил.
Изобретение касается устройства, способа и программы для сигнализации об уменьшении давления воздуха в шине.
Известным способом обнаружения уменьшения давления воздуха в шине четырехколесного транспортного средства, например пассажирского автомобиля, является непосредственная установка датчика давления на колесе. Однако такой способ не является предпочтительным из-за высокой стоимости.
В публикации № 305011/1988 выложенной заявки на патент Японии описан способ обнаружения уменьшения давления воздуха в шине по скоростям колес четырехколесного транспортного средства с использованием системы предупреждения о падении давления в шине. В устройстве использовано то обстоятельство, что при уменьшении давления воздуха в шине радиус динамически нагруженной шины уменьшается по сравнению с шиной с нормальным внутренним давлением, поэтому скорость колеса спущенной шины выше, чем шины с нормальным давлением. Однако это устройство не позволяет обнаружить уменьшения давления воздуха в случае его понижения в шинах во всех четырех колесах.
Среди других известных способов можно отметить возможно более дешевое и эффективное объединение вышеуказанного датчика с устройством для обнаружения уменьшения давления воздуха для повышения эффективности и снижения затрат. Однако такой метод все же остается дорогим.
В основу изобретения положена задача создания устройства, способа и программы для сигнализации об уменьшении давления воздуха в шине, которые обеспечивают обнаружение уменьшения давления воздуха в шинах всех четырех колес при существенном снижении затрат.
В соответствии с одним из аспектов изобретения устройство для сигнализации об уменьшении давления воздуха в шине содержит средства (1) обнаружения уменьшения давления воздуха в шине путем измерения изменения параметра, связанного с условиями резонанса в шине, и (2) обнаружения уменьшения давления воздуха в шине путем сравнения между собой динамически нагруженных радиусов, причем средством (1) снабжены шины 1-3 колес четырехколесного транспортного средства.
В соответствии с другим аспектом изобретения способ сигнализации об уменьшении давления воздуха в шине содержит операции (1) обнаружения уменьшения давления воздуха в шине измерением изменения параметра, связанного с условиями резонанса в шине, и (2) обнаружения уменьшения давления воздуха в шине сравнением между собой динамически нагруженных радиусов, причем операцию (1) выполняют для шин от одного до трех колес четырехколесного транспортного средства.
В соответствии с еще одним аспектом изобретения программа сигнализации уменьшения давления воздуха в шине обеспечивает выполнение компьютером процедур: (1) обнаружения уменьшения давления воздуха в шине путем измерения изменения параметра, связанного с условиями резонанса в шине, и (2) обнаружения уменьшения давления воздуха в шине путем сравнения между собой динамически нагруженных радиусов, причем процедура (1) выполняется для шин от одного до трех колес четырехколесного транспортного средства.
В соответствии с изобретением оказывается возможным создание устройства для сигнализации об уменьшении давления воздуха в шине, которое позволяет обнаружить уменьшение давления воздуха во всех четырех колесах. В соответствии с изобретением от одного до трех колес из четырех колес транспортного средства снабжены средствами обнаружения уменьшения давления воздуха в шине путем измерения изменения параметра, связанного с условиями резонанса в шине, а остальные шины имеют средства обнаружения уменьшения давления воздуха в шине путем сравнения между собой динамически нагруженных радиусов. Это позволяет создать устройство для сигнализации об уменьшении давления воздуха в шине, которое позволяет обнаружить уменьшение давления воздуха в шинах всех четырех колес с существенным уменьшением затрат, поскольку оно не требует непосредственного использования датчиков давления и требует минимальных вычислительной мощности микрокомпьютера и дополнительной памяти.
На чертежах:
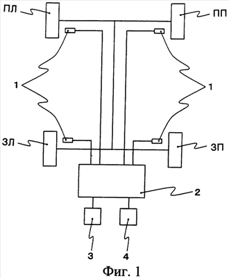
фиг.1 изображает схему одного из примеров выполнения предлагаемого устройства для сигнализации об уменьшении давления воздуха в шине,
фиг.2 изображает электрическую схему устройства для сигнализации об уменьшении давления воздуха в шине, показанного на фиг.1,
фиг.3 изображает схему способа обнаружения уменьшения давления воздуха, когда давление воздуха падает в шине одного из четырех колес,
фиг.4 изображает схему способа обнаружения уменьшения давления воздуха, когда давление воздуха падает в шинах двух из 4 колес,
фиг.5 изображает схему способа обнаружения уменьшения давления воздуха, когда давление воздуха падает в шинах трех из 4 колес,
фиг.6 изображает схему способа обнаружения уменьшения давления воздуха, когда давление воздуха падает во всех четырех колесах.
Устройство для сигнализации об уменьшении давления воздуха в шине в соответствии с изобретением содержит: средства (1) обнаружения уменьшения давления воздуха в шине путем измерения изменения параметра, связанного с условиями резонанса в шине (средство обнаружения резонанса), и (2) обнаружения уменьшения давления воздуха в шине путем сравнения между собой динамически нагруженных радиусов шин (средства определения динамически нагруженного радиуса).
При езде по дороге шины воспринимают воздействие небольших неровностей на поверхности дороги, которые вызывают вибрацию и порождают, например, крутящий момент вокруг оси шины, вертикальную силу, продольную силу, а также боковые усилия. Таким образом, в шинах возникают условия для резонанса, обусловленные взаимодействием сил упругости в каждом направлении и массой (моментом инерции).
Резонансная частота определяется выражением  , k/m, где k – коэффициент упругости, a m – масса). При уменьшении давления воздуха в шине коэффициент упругости в боковой стенке шины изменяется, поэтому изменяется резонансная частота. Таким образом, с помощью средства обнаружения резонанса можно обнаружить уменьшение давления воздуха по изменению резонансной частоты как изменению параметра шины в условиях резонанса.
В средстве обнаружения резонанса обнаружение изменения параметра предпочтительно осуществляют с помощью средства измерения скорости колеса.
Устройство для сигнализации об уменьшении давления воздуха в шине в соответствии с изобретением обнаруживает уменьшение давления воздуха в четырех шинах четырехколесного транспортного средства, используя информацию о скорости вращения колеса для четырех шин ПЛ, ПП, ЗЛ и ЗП (далее – шин Т) четырехколесного транспортного средства и сигнализирует об этом водителю. Это устройство также имеет в составе обычное средство 1 измерения скорости колеса для соответствующих шин Т.
В средстве 1 измерения скорости колеса может быть использован датчик скорости колеса, предназначенный для измерения его скорости вращения по количеству импульсов, создаваемых при вращении, например электромагнитным преобразователем или датчиком угловой скорости, которые формируют сигнал при вращении как в электрической машине, а информация о скорости вращения колеса получается путем измерения напряжения. Выходные сигналы средства 1 измерения скорости колеса поступают в управляющий узел 2, т.е. компьютер, например системы ABS. Управляющий узел 2 (фиг.1), средство 3 обнаружения вибрационного компонента для анализа частоты с получением резонансной частоты из частоты вибрационного компонента шины и средство 4 сигнализации, которым могут быть дисплейное устройство, выполненное, например, на жидких кристаллах, в виде плазменного дисплейного элемента или электронно-лучевой трубки для формирования визуального тревожного сигнала предупреждения, звуковой генератор для формирования звукового сигнала предупреждения или комбинация визуального и звукового устройств.
В соответствии с фиг.2 управляющий узел 2 состоит из интерфейса 2а входа/выхода, необходимого для приема/передачи сигналов для/от внешнего устройства, центрального процессора (ЦПУ) 2b, который функционирует как центр вычислений, постоянной памяти (ROM) 2с, в которой хранится программа операций управления ЦПУ 2b, и оперативной памяти (RAM) 2d, в которой, например, временно записываются данные, когда ЦПУ 2b выполняет операции управления, и из которой ЦПУ считывает записанные данные.
Средство обнаружения резонанса посылает импульсные сигналы импульсы скорости колеса), которые соответствуют количеству оборотов шины. На основе импульсов скорости колеса, посланных средством 1 измерения скорости колеса, в ЦПУ 2b с определенным периодом отсчета Т, например через каждый промежуток Т=1с, вычисляются угловые скорости Fi соответствующих шин
Поскольку вибрации в направлении вращения в шине Т с нормальным давлением воздуха вызывают некоторые изменения скорости колеса, эти вибрации могут быть измерены средством 1 измерения скорости системы ABS. Кроме того, вибрации в вертикальном и горизонтальном направлениях вызывают незначительные изменения радиуса шины Т, изменяя число оборотов шины Т. Таким образом, такие вибрации могут быть измерены средством 1 измерения скорости колеса системы ABS.
В частности, чтобы выделить частотные компоненты из огибающей сигналов скорости колеса путем вычисления каждые m секунд скорости V колеса по данным о скорости колеса, полученным от средства 1 измерения скорости колеса, используемым для ABS, вычисляются резонансная частота и спектральная плотность энергии, например, с помощью быстрого преобразования Фурье (БПФ) и применения частотного анализа. Следует отметить, что, поскольку частотные компоненты содержат шумы, которые создаются поверхностью дороги и накладываются на резонансную частоту шины, частотные компоненты желательно усреднять на определенном интервале времени. Результаты БПФ интегрируются, и определяется, достигло ли количество операций интегрирования заранее определенного значения. В случае, если количество этих операций не достигло указанного значения, скорость колеса вычисляется заново. Если же количество операций интефирования достигло указанного значения, выполняется операция усреднения для получения среднего значения результатов БПФ и максимального уменьшения флюктуации частотных характеристик и вычисляется среднее значение соответствующих частотных компонентов. После этого производится поиск пикового значения. Эта операция выполняется при нормальном давлении воздуха и во время начального обнаружения, и частота пика для начального обнаружения запоминается. Во время обнаружения поиск пика производится вблизи резонансной частоты шины. После этого частота пика сравнивается с запомненной. В случае, если разница между этими двумя частотами превышает заранее установленный порог, посылается сигнал предупреждения.
Параметрами, которые изменяются с условиями резонанса шин, могут быть такие, как, например, резонансная частота в направлении вращения, резонансная частота в вертикальном направлении и резонансная частота в продольном направлении. Среди них резонанс в направлении вращения обычно определяется по показаниям датчика скорости колеса в системе ABS, причем резонанс в направлении вращения не перекрывается частотой неупругого резонанса (выше 10 Гц) или частотой вертикальной вибрации (80 Гц). Резонансная частота в направлении вращения является сравнительно низкой частотой (частота отбора показаний может быть низкой). По этой причине в качестве параметра средства обнаружения резонанса предпочтительно использовать резонансную частоту в направлении вращения.
Что касается шины, для которой применяется средство обнаружения резонанса, предпочтительно использовать ведущее колесо, поскольку в этом случае можно получить сравнительно большую и непрерывную силу возбуждения, например, от мотора, помимо силы возбуждения, создаваемой поверхностью дороги, что облегчает обнаружение. Как метод получения параметра резонанса шины может быть применена теория оценки состояния системы, в частности теория фильтра Кальмана.
Средство определения динамически нагруженного радиуса выполнено в в виде средства измерения уменьшения внутреннего давления по относительным разностям скоростей шин четырех колес. Определяющие значения DEL (1)-(3) вычисляются из соотношений:
DEL (1)={(V1+V4)/2-(V2+V3)/2}/{(V1+V2+V3+V4)/4}×100 (%)
DEL (2)={(V1+V2)/2-(V3+V4)/2}/{(V1+V2+V3+V4)/4}×100 (%)
DEL (3)={(V1+V3)/2-(V2+V4)/2}/{(V1+V2+V3+V4)/4}×100 (%) причем средства (1) помещены в шины 1-3 колес четырехколесного транспортного средства.
В этих формулах V1-V4 представляют собой соответственно скорости колеса передней левой шины (ПЛ), передней правой шины (ПП), задней левой шины (ЗЛ) и задней правой шины (ЗП). Средство определения динамически нагруженного радиуса сигнализирует водителю об уменьшении давления воздуха в шине, если любое из определяющих значений DEL (1) – DEL (3) превышает заранее установленный порог.
Например, когда уменьшено давление воздуха только в шине ПЛ, DEL (1) – DEL (3) положительны; когда уменьшено давление воздуха только в шине ПП, DEL (1) и DEL (3) отрицательны, a DEL (2) положительно; когда уменьшено давление воздуха только в шине ЗЛ, DEL (1) и DEL (2) отрицательны, a DEL (3) положительно; когда уменьшено давление воздуха только в шине ЗП, DEL (1) положительно, a DEL (2) и DEL (3) отрицательны.
В случае уменьшения давления воздуха в шинах ПЛ и ПР DEL (2) положительно и превышает порог.
В случае уменьшения давления воздуха в шинах ПП, ЗЛ и ЗП, DEL (1) – DEL (3) отрицательны.
Средство определения динамически нагруженного радиуса посылает импульсные сигналы (сигналы скорости колеса), которые соответствуют количеству оборотов шин ПЛ, ПП, ЗЛ и ЗП (далее – шин Wi, где i=1,…, 4; 1 соответствует шине ПЛ, 2 соответствует шине ПП, 3 соответствует шине ЗЛ и 4 соответствует шине ЗП). Угловые скорости вращения Fi соответствующих шин (фиг.1) вычисляются с заранее установленным периодом отсчета Т, например, Т=1 с, на основе использования импульсов скорости колеса, полученных от средства 1 измерения скорости колеса.
Поскольку шины Wi изготовляют с некоторым допуском (начальной разницей), эффективные радиусы вращения соответствующих шин Wi (полученные делением расстояния, пройденного одним оборотом, на 2 ) не обязательно равны между собой, даже когда внутренние давления во всех шинах Wi нормальны. Таким образом, угловые скорости вращения Fi шин Wi варьируются, поэтому вычисляются скорректированные угловые скорости F1i для коррекции вариаций, обусловленных начальными различиями. В частности, эти значения корректируются по формулам
F11=F1
F12=mF2
F13=F3
F14=nF4
Коэффициенты m, n коррекции определяются вычислением угловой скорости Fi вращения в условиях движения транспортного средства по прямой, а определение m=F1/F2 и n=F3/F4 основано на вычислении угловых скоростей Fi вращения. На основе F1i вычисляются скорости Vi колес шин, и полученные значения подставляются в формулы для получения DEL (1) – DEL (3).
Средство определения динамически нагруженного радиуса может определять соответствующие скорости шин четырех колес, используемые для управления системой ABS путем их сравнения между собой. Иными словами, это средство обнаруживает уменьшение внутреннего давления в соответствующих колесах путем сравнения их относительных скоростей без использования абсолютной скорости. Таким образом невозможно обнаружить одновременное уменьшение давления воздуха в шинах четырех колес, если изменения во всех четыре колесах одинаковы. Поэтому существенным является наличие как средства обнаружения резонанса, так и средства определения динамически нагруженного радиуса.
Согласно изобретению одно или больше колес из четырех снабжены средством обнаружения резонанса. В случае отсутствия средства обнаружения резонанса и осуществления обнаружения только с помощью средства определения динамически нагруженного радиуса уменьшение давления воздуха во всех четырех шинах не может быть обнаружено. Средством обнаружения резонанса снабжают три или меньше колес, предпочтительно два или меньше. Когда средством обнаружения резонанса снабжены все четыре шины, возникает необходимость в высоких вычислительных мощностях и значительной памяти, что приводит к увеличению стоимости.
Один из аспектов изобретения касается способа сигнализации об уменьшении давления воздуха в шине, включающего операций (1) обнаружения уменьшения давления воздуха в шине путем измерения изменения параметра, связанного с условиями резонанса в шине (операция обнаружения резонанса, и (2) обнаружения уменьшения давления воздуха в шине путем сравнения между собой динамически нагруженных радиусов шин (операция определения динамически нагруженного радиуса). Операция обнаружения резонанса и операция определения динамически нагруженного радиуса могут быть реализованы так, как они реализуются в средстве обнаружения резонанса и средстве определения динамически нагруженного радиуса в составе устройства для сигнализации об уменьшении давления воздуха в шине согласно изобретению.
Еще один аспект изобретения касается программы для сигнализации об уменьшении давления воздуха в шине для выполнения компьютером процедур (1) обнаружения уменьшения давления воздуха в шинах путем измерения изменения параметра, связанного с условиями резонанса в шине (процедура обнаружения резонанса, и (2) обнаружения уменьшения давления воздуха в шине путем сравнения между собой динамически нагруженных радиусов шин (процедура определения динамически нагруженного радиуса). Процедура обнаружения резонанса и процедура определения динамически нагруженного радиуса могут быть реализованы так же, как они реализуются в средстве обнаружения резонанса и средстве определения динамически нагруженного радиуса в составе устройства для сигнализации об уменьшении давления воздуха в шине согласно изобретению.
ПРИМЕР
Изобретение иллюстрируется примерами, которые, однако, не ограничивают его объем.
Условия испытаний для подтверждения пригодности способа сигнализации об уменьшении давления воздуха в шине согласно изобретению указаны в описании процедуры испытаний.
(Условия испытаний)
Тип транспортного средства: Toyota Corolla Fielder (с приводом на передние колеса).
Место проведения эксперимента: Sumitomo Rubber Industries, Испытательная трасса – Okayama и прилежащие местные дороги.
Тип шин: 185/70 R14
Стандартное внутреннее давление: 200 кПа (передние колеса), 200 кПа (задние колеса).
Начальные значения динамически нагруженного радиуса: передние колеса 296,7 мм, задние колеса 298,1 мм.
Скорость движения 40 км/час.
(Дорожные испытания)
Дорожные испытания были проведены в условиях (1)-(4), при которых (1) было уменьшено давление воздуха в шине одного колеса, (2) было уменьшено давление воздуха в шинах двух колес, (3) было уменьшено давление воздуха в шинах трех колес и (4) было уменьшено давление в шинах всех четырех колес для проверки возможности обнаружения уменьшения давления воздуха средством обнаружения резонанса или средством определения значений динамически нагруженного радиуса. Значения внутреннего давления и динамически нагруженных радиусов шин при уменьшении давления составляли 150 кПа и 295,9 мм для передних колес и 150 кПа и 296,8 мм для задних колес.
На фиг.3-6 показаны падения давления, обнаруженные способом обнаружения уменьшения давления воздуха для случая, когда средством обнаружения резонанса была снабжена только шина ПЛ и средством определения динамически нагруженного радиуса были снабжены остальные шины. Испытуемым транспортным средством было транспортное средство с приводом на передние колеса, и шина ПЛ была шиной приводного колеса.
(1) Падение давления в шине одного колеса
В случае (а) уменьшения давления воздуха только в шине ПЛ это уменьшение может быть обнаружено средством обнаружения резонанса и средством определения динамически нагруженного радиуса (см. фиг.3(а)).
С другой стороны, в случаях падения давления соответственно в шине ПП, шине ЗЛ и шине ЗП уменьшение давления воздуха может быть обнаружено средством определения динамически нагруженного радиуса (см. Fig. 3(b)-3(d)).
(2) Падение давления в шинах двух колес
В случае двух колес, включая шину ПЛ, т.е. в случае падения давления (а) в шинах ПЛ и ПП, (с) в шинах ПЛ и ЗЛ или (е) в шинах ПЛ и ЗП, уменьшение давления воздуха может быть обнаружено средством обнаружения резонанса и средством определения динамически нагруженного радиуса (см. фиг.4(а), 4(с) и 4(е)).
С другой стороны, в случае шин двух колес, включающих шину, отличную от шины ПЛ, например, при падении давления (b) в шинах ЗЛ и ЗП, (d) шинах ПП и ЗП или (f) в шинах ПП и ЗЛ, уменьшение давления воздуха может быть обнаружено средством обнаружения динамически нагруженного радиуса (см. фиг.4(b), 4(d) и 4(f)).
(3) Падение давления в шинах трех колес
В случае трех колес, включая шину ПЛ, например, при падении давления (b) в шинах ПЛ, ЗЛ и ЗП, (с) в шинах ПЛ, ПП и ЗП или (d) шинах ПЛ, ПП и ЗЛ, уменьшение давления воздуха может быть обнаружено средством обнаружения резонанса и средством определения динамически нагруженного радиуса (см. фиг.5(b), 5(с) и 5(d)).
С другой стороны, в случае шин трех колес, включающих шину, отличную от ПЛ, например, при падении давления (а) в шинах ПП, ЗЛ и ЗП, уменьшение давления воздуха может быть обнаружено средством определения динамически нагруженного радиуса (см. фиг.5(а)).
(4) Падение давления в шинах четырех колес
В случае всех колес, включая шину ПЛ, например, при падении давления (а) в шинах ПЛ, ПП, ЗЛ и ЗП, уменьшение давления воздуха может быть обнаружено средством обнаружения резонанса (см. фиг.6(а)).
Формула изобретения
1. Устройство для сигнализации об уменьшении давления воздуха в шине, содержащее средства:
(1) обнаружения уменьшения давления воздуха в шине путем измерения изменения параметра, связанного с условиями резонанса в шине, и
(2) обнаружения уменьшения давления воздуха в шине путем сравнения между собой динамически нагруженных радиусов шин,
причем средством (1) снабжены шины от одного до трех колес четырехколесного транспортного средства.
2. Способ сигнализации об уменьшении давления воздуха в шине, включающий операции:
(1) обнаружения уменьшения давления воздуха в шине путем измерения изменения параметра, связанного с условиями резонанса в шине, и
(2) обнаружения уменьшения давления воздуха в шине путем сравнения между собой динамически нагруженных радиусов шин,
причем операцию (1) выполняют для шин от одного до трех колес четырехколесного транспортного средства.
РИСУНКИ
|