|
|
(21), (22) Заявка: 2006104561/11, 13.07.2004
(24) Дата начала отсчета срока действия патента:
13.07.2004
(30) Конвенционный приоритет:
14.07.2003 US 10/618,924
(43) Дата публикации заявки: 27.06.2006
(46) Опубликовано: 27.02.2009
(56) Список документов, цитированных в отчете о поиске:
WO 03/018332 A1, 06.03.2003. US 6170544 B1, 09.01.2001.
(85) Дата перевода заявки PCT на национальную фазу:
14.02.2006
(86) Заявка PCT:
US 2004/022412 (13.07.2004)
(87) Публикация PCT:
WO 2005/007422 (27.01.2005)
Адрес для переписки:
129090, Москва, ул. Б.Спасская, 25, строение 3, ООО “Юридическая фирма Городисский и партнеры”, пат.пов. С.А.Дорофееву, рег.№ 146
|
(72) Автор(ы):
РАЙН Тимоти Б. (US), КРОН Стивен М. (US), ПОМПЬЕ Жан-Пьер (US)
(73) Патентообладатель(и):
СОСЬЕТЕ ДЕ ТЕКНОЛОЖИ МИШЛЕН (FR), МИШЛЕН РЕШЕРШ Э ТЕКНИК С.А. (CH)
|
(54) УПРУГОДЕФОРМИРУЕМОЕ КОЛЕСО
(57) Реферат:
Изобретение относится к автомобильной промышленности. Упругодеформируемое колесо содержит упругодеформируемый обод и множество плоских спиц, проходящих поперечно и внутрь от армированного упругодеформируемого обода для крепления к ступице. Упругодеформируемый обод изгибается для соответствия контактной поверхности и для огибания препятствий. Плоские спицы передают усилия нагрузки между упругодеформируемым ободом и ступицей посредством растяжения плоских спиц, не соединенных с тем участком колеса, который контактирует с землей. На внешней поверхности упругодеформируемого обода может быть выполнен протектор, или к нему может быть прикреплен отдельный протекторный обод. В результате повышаются эксплуатационные характеристики колеса. 2 н. и 17 з.п. ф-лы, 11 ил.
ПРЕДПОСЫЛКИ СОЗДАНИЯ И КРАТКОЕ ОПИСАНИЕ ИЗОБРЕТЕНИЯ
Настоящее изобретение относится к непневматическим структурно поддерживаемым шинам и колесам. Более конкретно, настоящее изобретение относится к упругодеформируемому колесу, которое поддерживает нагрузку своими конструкционными компонентами и обладает эксплуатационными способностями, подобными пневматической шине для работы в качестве замены и усовершенствования пневматических шин.
Пневматическая шина является наилучшим известным решением по эластичности, комфорту, массе и сопротивлению качению. Однако недостатками пневматических шин являются их сложность, необходимость в обслуживании и подверженность повреждениям. Устройство, улучшающее эксплуатационные характеристики пневматических шин, может, например, обеспечить большую эластичность, лучшее управление жесткостью, сократить потребность в обслуживании и повысить сопротивляемость повреждениям.
Обычные литые шины, пружинные шины и шины с обрезиненным ободом хотя и не требуют обслуживания и не столь подвержены повреждениям как пневматические шины, к сожалению, не обладают их преимуществами, относящимися к эксплуатационным характеристикам. В частности, литые шины и шины с обрезиненным ободом обычно имеют жесткий обод, окруженный слоем упругого материала. Эти шины для поддержания нагрузки направлены на сжатие контактирующего с землей участка упругого слоя непосредственно под нагрузкой. Шины такого типа могут быть тяжелыми и жесткими и не обладают амортизирующими свойствами пневматических шин.
Пружинные шины обычно имеют жесткое деревянное, металлическое или пластиковое кольцо с пружинами или пружинящими элементами, соединяющими его со ступицей. Хотя ступица, таким образом, подвешена на пружинах, негибкое кольцо имеет лишь небольшую площадь контакта с дорогой, по существу не обладая упругостью, что приводит к плохой управляемости тяговым усилием и плохому рулевому управлению.
Соответственно, за исключением ограниченного числа случаев, известные непневматические шины не нашли широкого применения как замена пневматических шин.
Непневматическое упругодеформируемое колесо, обладающее эксплуатационными характеристиками, сходными с эксплуатационными характеристиками пневматической шины, без ее недостатков, устранило бы неполноценность известных решений в этой области и стало бы долгожданным усовершенствованием.
Упругодеформируемое колесо согласно настоящему изобретению содержит упругодеформируемый обод, который поддерживает нагрузку на ступицу колеса, и множество растяжимых поддерживающих элементов, которые, работая на растяжение, передают нагрузку между ободом и ступицей. Растяжимые поддерживающие элементы являются по существу не несущими нагрузки при сжатии и обеспечивают подвеску ступицы, подобную той, которая существует в пневматической шине.
Согласно предпочтительному варианту настоящего изобретения растяжимые поддерживающие элементы являются плоскими спицами, листовыми элементами, выполненными из упругого материала для обеспечения растягивающего поддерживающего усилия и для обеспечения гибкости при сжатии. Можно использовать и другие растяжимые передающие элементы, например нити или тросы, и описание плоских спиц не ограничивает настоящее изобретение.
Согласно одному варианту упругодеформируемое колесо содержит упругодеформируемый обод, множество плоских спиц, проходящих поперечно и по существу по радиусу внутрь упругодеформируемого обода к оси колеса, и средства для соединения плоских спиц и ступицы.
Согласно другому варианту упругодеформируемое колесо содержит участок протектора или изнашиваемый участок, образованный или выполненный на радиально внешней поверхности упругодеформируемого обода.
Для целей нижеследующего описания термин «ступица» относится к любому устройству или конструкции для поддержки колеса и его установки на ось транспортного средства.
Упругодеформируемый обод образован из материала, способного деформироваться при нагрузке, включая изгиб обода, для огибания препятствий и для адаптации к форме контактной поверхности, такой как дорога или земля. В частности, изгибающая деформация обода под нагрузкой образует пятно контакта с контактной поверхностью, которое обеспечивает передачу тягового усилия и усилий рулевого управления подобно пневматической шине. Один аспект упругости материала колеса заключается в том, что величина изгиба обода соотносится с величиной нагрузки на колесо.
Упругодеформируемый обод может быть выполнен из эластомерного материала, например натурального или синтетического каучука, полиуретана, вспененного каучука и вспененного полиуретана, сегментированных сополиэфиров или блок-сополимеров нейлона. Предпочтительно, материал имеет модуль упругости от приблизительно 9 МПа до приблизительно 60 МПа. Обод может быть неармированным или может иметь армирующий слой для усиления окружной нерастяжимости.
Плоские спицы соединяют ступицу и упругодеформируемый обод и работают на растяжение для передачи нагрузки между ступицей и ободом. Это обеспечивает, помимо других функций, поддержку массы транспортного средства. Силы поддержки нагрузки генерируются путем растяжения плоских спиц, не соединенных с контактирующим с землей участком обода. Можно сказать, что нагруженная ступица подвешена к верхнему участку упругодеформируемого обода, что определяет дугу, поддерживающую нагрузку.
Предпочтительно, плоские спицы имеют высокую эффективную жесткость на растяжение и низкую эффективную жесткость на сжатие. Низкая жесткость на сжатие позволяет плоским спицам, прикрепленным к контактирующему с землей участку эластичного обода, адаптироваться к деформации этого контактирующего с землей участка упругодеформируемого обода, не передавая существенных вертикальных нагрузок. Плоские спицы выполнены относительно тонкими по сравнению с их длиной и, обычно, при сжатии изгибаются. Отсутствие поддержки сжимающей нагрузки плоскими спицами в области контакта позволяет ободу легче образовывать пятно контакта и легче изгибаться для «поглощения» препятствий. Кроме того, поскольку отсутствует прямая связь от земли к ступице, т.е. удар от дороги должен пройти по окружности упругодеформируемого обода и через натянутые плоские спицы, упругодеформируемое колесо согласно настоящему изобретению обладает улучшенной комфортностью и способностью амортизировать удары по сравнению с пневматическими шинами.
Плоские спицы также передают усилия, необходимые для ускорения, торможения и поворота. Для осуществления требуемой функции расположение и ориентацию плоских спиц можно выбирать. Например, для задач, где требуется относительно низкая жесткость по окружности, плоские спицы можно расположить радиально и параллельно оси вращения колеса. Для увеличения жесткости по окружности можно добавить плоские спицы, перпендикулярные оси вращения, которые чередуются со спицами, ориентированными по оси. Другой альтернативой является расположение плоских спиц наклонно к оси упругодеформируемого колеса для обеспечения жесткости как в окружном, так и в осевом направлениях. Другой альтернативой является ориентация плоских спиц в чередующемся наклонном порядке, то есть зигзагом, если смотреть в экваториальной плоскости. Разумеется, можно использовать другие подобные варианты размещения для получения требуемых характеристик жесткости колеса.
Для облегчения изгиба плоских спиц, на контактирующем с землей участке протектора, спицы могут быть искривлены. Как вариант, плоским спицам при литье можно придать форму, задающую их изгиб в конкретном направлении. Другим вариантом является создание соединения между ступицей и плоскими спицами или между кольцом и плоскими спицами, которое работает на растяжение, но допускает относительное перемещение полосовой спицы при сжатии.
Согласно предпочтительному варианту настоящего изобретения упругодеформируемое колесо содержит ступицу, упругодеформируемый, поддерживающий нагрузку обод, расположенный по радиусу снаружи и соосно со ступицей, и множество плоских спиц, проходящих между ступицей и упругодеформируемым ободом, причем упругодеформируемый обод содержит армирующую мембрану или слой, выполненный внутри обода. Предпочтительно, армирующий слой содержит нити, ориентированные в направлении окружности и выполненные внутри эластомерного слоя. Согласно этому варианту армирующий слой действует для ограничения длины окружности обода при нагрузках для лучшего использования натяжения плоских спиц, что увеличивает грузоподъемность колеса.
Согласно другому аспекту этого варианта воплощения мембрана или армирующий слой имеют продольный модуль упругости при растяжении больше, чем модуль упругости обода.
Согласно еще одному аспекту настоящего изобретения мембрана или армирующий слой расположены приблизительно на нейтральной оси упругодеформируемого обода. Более предпочтительно, армирующий слой расположен радиально внутри относительно нейтральной оси.
КРАТКОЕ ОПИСАНИЕ ЧЕРТЕЖЕЙ
Ниже приведено более подробное описание настоящего изобретения со ссылками на прилагаемые чертежи, на которых:
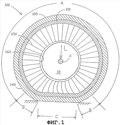
фиг.1 – схематический вид в экваториальной плоскости упругодеформируемого колеса согласно настоящему изобретению под нагрузкой, иллюстрирующий упругую деформацию колеса относительно опорной поверхности;
фиг.2 – схематический вид в меридианной плоскости упругодеформируемого колеса согласно настоящему изобретению, иллюстрирующий механизм распределения нагрузки;
фиг.3 – вид в сечении в меридианной плоскости варианта воплощения упругодеформируемого колеса согласно настоящему изобретению;
фиг.4 – вид в сечении в меридианной плоскости альтернативного варианта воплощения упругодеформируемого колеса согласно настоящему изобретению;
фиг.5 – вид в сечении в экваториальной плоскости, иллюстрирующий Х-образное расположение плоских спиц для упругодеформируемого колеса;
фиг.6 – вид в сечении в экваториальной плоскости, иллюстрирующий альтернативное V-образное расположение плоских спиц для упругодеформируемого колеса;
фиг.7 – вид шевронного расположения плоских спиц в наклонном осевом рисунке, если смотреть в радиальном направлении к оси вращения;
фиг.8 – вид альтернативного шевронного расположения плоских спиц, если смотреть в радиальном направлении к оси вращения;
фиг.9 – вид альтернативного расположения чередующихся ориентированных по окружности и ориентированных по оси плоских спиц, если смотреть в радиальном направлении к оси вращения;
фиг.10 – вид сечения сегмента упругодеформируемого обода и поддерживающих плоских спиц, иллюстрирующий деформацию сжатия упругодеформируемого обода под нагрузкой; и
фиг.11 – схематическая иллюстрация препятствующей отклонению жесткости, если смотреть в экваториальной плоскости упругодеформируемого колеса.
ПОДРОБНОЕ ОПИСАНИЕ ИЗОБРЕТЕНИЯ
В нижеследующем описании приведенные термины имеют следующие определения
«Экваториальная плоскость» – означает плоскость, проходящую перпендикулярно оси вращения колеса и делящая конструкцию колеса пополам.
«Меридианная плоскость» – означает плоскость, проходящую через и включающая в себя ось вращения колеса.
«Модуль» эластомерных материалов означает модуль упругости при растяжении при 10%-ном удлинении, измеренном по стандартному тестовому методу ASTM D412.
«Гистерезис» означает тангенс динамических потерь (tan ), измеренный при рабочих растяжении, температуре и частоте. Специалистам понятно, что эксплуатационные условия отличаются при разных вариантах применения. Например, требования к грузоподъемности и к скорости для тележек для гольфа и для спортивных автомобилей различны, и растяжение, температуру и частоту следует определять для каждого конкретного варианта применения.
Ссылочные позиции для каждого чертежа приведены в последовательном порядке. Чертежи выполнены не в масштабе, и размеры элементов увеличены или уменьшены для обеспечения понятности иллюстраций.
На фиг.1, являющейся схематическим сечением в экваториальной плоскости, показан иллюстративный вариант упругодеформируемого колеса согласно настоящему изобретению. Упругодеформируемое колесо согласно настоящему изобретению предназначено для решения таких задач, где тяговые, рулевые или грузоподъемные свойства пневматических шин являются преимуществом или требуют улучшения. Упругодеформируемое колесо согласно настоящему изобретению может предложить улучшенные характеристики упругости и жесткости и требует меньшего обслуживания, чем пневматическая шина. Помимо использования на моторизованных транспортных средствах, такое колесо может преимущественно использоваться, например, на инвалидных креслах, каталках, больничных койках, тележках для перевозки хрупкого оборудования или других транспортных или перевозочных средствах, где важна чувствительность к ударам. Кроме того, такое колесо можно использовать вместо роликов для кресел и другой мебели, или как колеса для детских колясок, скейтбордов, роликовых коньков и т.д. Упругодеформируемое колесо согласно настоящему изобретению можно использовать в машинах и устройствах, где применяются колеса, принимающие или прилагающие нагрузку. Для целей настоящего описания ниже применяется термин «транспортное средство», однако описание относится к любым устройствам, на которые могут быть установлены упругодеформируемые колеса.
Колесо 100, показанное на фиг.1, имеет кольцевой упругодеформируемый обод 110, множество натяжных передающих элементов, показанных в виде плоских спиц 150, проходящих поперечно и внутрь от упругодеформируемого обода, и посадочный обод 160, расположенный на радиально внутреннем конце плоских спиц. Посадочный обод 160 крепит колесо 100 к ступице 10. На внешней поверхности обода 110 образован участок 105 протектора. Участок 105 протектора может быть дополнительным слоем, связанным с упругодеформируемым ободом 110, например, как показано на фиг.1, для обеспечения тяговых свойств и износостойкости, отличающихся от этих характеристик материала упругодеформируемого обода. Как вариант, участком 105 протектора может быть внешняя поверхность упругодеформируемого обода, как показано на фиг.3. На участке 105 протектора может быть образован рисунок протектора, состоящий из канавок 107 и выступов 109.
Как уже упоминалось, плоские спицы 150 в показанном варианте на фиг.1 проходят поперечно относительно колеса, что в данном случае означает, что плоские спицы 150 проходят от донной стороны колеса к другой и могут быть ориентированы по оси вращения или могут быть наклонены относительно этой оси. Далее, «проходят внутрь» означает, что плоские спицы 150 проходят между упругодеформируемым ободом и ступицей и могут находиться в плоскости, параллельной оси колеса, или могут быть наклонены относительно этой радиальной плоскости. Кроме того, как поясняется ниже, второе множество плоских спиц может проходить в экваториальной плоскости.
Упругодеформируемый обод 110 поддерживает нагрузку на упругодеформируемое колесо и упруго деформируется для принятия формы дороги (или другой опорной поверхности) для создания возможностей тяги и руления. Как показано на фиг.1 и 2, когда нагрузка L прилагается к оси Х вращения колеса, упругодеформируемый обод изгибается и деформируется иным образом для контакта с землей в области С для образования пятна контакта. Участок А упругодеформируемого обода, не контактирующий с землей, работает как арка и обеспечивает достаточно высокие жесткость при сжатии в направлении окружности и продольную изгибную жесткость в экваториальной плоскости, чтобы работать как элемент, поддерживающий нагрузку. Нагрузка L на колесо 100, передаваемая от транспортного средства (не показано) на ступицу 10, по существу подвешена на плоских спицах, прикрепленных к участку А, поддерживающему нагрузку. Плоские спицы в области С контакта не испытывают растягивающих напряжений, вызванных нагрузкой L. По мере вращения упругодеформируемого колеса, разумеется, конкретный участок упругодеформируемого обода 110, работающий как арка, непрерывно меняется, хотя принцип арки полезен для понимания механизма поддержки нагрузки.
Величина изгиба упругодеформируемого обода 110 и соответственно размер пятна контакта или участка С пропорциональны величине нагрузки L. Способность обода упруго изгибаться под нагрузкой обеспечивает упругую область С контакта с землей, которая действует как подобная область в пневматической шине с такими же преимущественными результатами. Например, упругодеформируемый обод 110 может огибать препятствия для достижения более плавной езды. Кроме того, упруго деформируемый обод 110 может передавать усилия на землю или дорогу для создания тягового усилия, поворота и руления.
В отличие от этого, в обычных литых шинах и шинах с обрезиненным ободом нагрузка поддерживается сжатием конструкции шины в зоне контакта, которое включает сжатие материала, нанесенного на обод, под жесткой ступицей. Упругость этого нанесенного на обод материала ограничивается свойствами сжатия материала и толщиной материала на жестком колесе или ступице.
Упругодеформируемый обод 110 образован из эластомерного материала. Эластомерный материал обода может включать натуральный или синтетический каучук, полиуретаны, вспененные каучуки и полиуретаны, сегментированные сополиэфиры и блок-сополимеры нейлона. Предпочтительно, эластомерный материал имеет модуль упругости от приблизительно 9 МПа до приблизительно 60 МПа. Эластомерные материалы могут быть получены известными способами с наполнителем, кондиционерами, отверждающими присадками и т.п., добавляемыми к полимеру для получения соответствующих свойств упругости, гибкости и эластичности упругодеформируемого обода.
Повторяющаяся деформация упругодеформируемого обода 110 при качении под нагрузкой приводит к гистерезисным потерям, являющимся причиной разогрева упругодеформируемого обода. Поэтому гистерезис материала упругодеформируемого колеса должен быть точно определен, чтобы поддерживать рабочую температуру ниже предельно допустимой рабочей температуры для используемых материалов. Для материалов обычной шины (т.е. резины), например, гистерезис обода должен быть точно определен для генерирования температуры ниже приблизительно 100оС для упругодеформируемых колес при непрерывной эксплуатации.
Как показано на фиг.2 и 3, плоские спицы 150 являются по существу листовыми элементами, имеющими длину N в радиальном направлении, ширину W в осевом направлении, которая по существу соответствует осевой ширине упругодеформируемого обода 110, и толщину, перпендикулярную другим размерам. Толщина имеет существенно меньшую величину, чем длина N и ширина W, что позволяет полосовой спице коробиться или изгибаться при сжатии, как показано на фиг.1. Тонкие плоские спицы изгибаются при прохождении через участок А контакта по существу без сопротивления сжатию, т.е. не прилагая или прилагая лишь незначительное усилие сжатия к нагрузке. По мере увеличения толщины плоских спиц эти плоские спицы могут прилагать некоторое усилие сжатия к контактному участку. Однако, преимущественно, плоские спицы выполняют работу по передаче нагрузки через растяжение. Конкретную толщину плоских спиц можно выбирать в зависимости от конкретных требований к транспортному средству.
Как показано на фиг.2, предпочтительно плоские спицы 150 ориентированы относительно упругодеформируемого обода поперек осевого направления. Растяжение в плоских спицах 150 (в верхней части чертежа, соответствующей участку А на фиг.1), таким образом, распределяется по упругодеформируемому ободу 110 для поддержки нагрузки L.
Согласно предпочтительному в настоящее время варианту воплощения плоские спицы 150 выполнены из эластомерного материала, имеющего модуль упругости на растяжение приблизительно от 10 до 100 МПа. При желании плоские спицы могут быть армированными. Материал плоских спиц также должен иметь упругость, чтобы возвращаться к первоначальной длине после растяжения на 30%, и проявлять постоянное напряжение, когда материал плоских спиц растянут на 4%. Дополнительно, желательно иметь материал с tan не более 0,1 при соответствующих рабочих условиях. Например, можно найти коммерчески доступные материалы из каучука или полиуретана, отвечающие этим требованиям. Для плоских спиц пригоден уретан марки Vibrathane B836, выпускающийся подразделением Uniroyal Chemical корпорации Crompton Corporation в Middlebury, Connecticut.
Как показано на фиг.3, в одном варианте воплощения плоские спицы 150 соединены между собой радиально внутренним монтажным ободом 160, который окружает ступицу 10, предназначенным для установки колеса на ступице. Промежуточный обод 170 соединяет между собой плоские спицы 150 на их радиально внешних концах и соединяет плоские спицы 150 с упругодеформируемым ободом 110. Для удобства плоские спицы 150, монтажный обод 160 и промежуточный обод 170 могут отливаться из одного и того же материала в виде единого узла.
Как вариант, в зависимости от конструкционных материалов и процесса изготовления обода 110 и ступицы или колеса 10, монтажный обод 160 или промежуточный обод 170 могут не использоваться, а плоские спицы могут отливаться так, чтобы непосредственно соединяться с ободом 110 и ступицей 10. Например, если упругодеформируемый обод 110 выполнен из того же материала, что и плоские спицы, или из совместимого с ними материала, упругодеформируемое колесо согласно настоящему изобретению можно изготавливать на одном этапе, образуя плоские спицы, упругодеформируемый обод и монтажный обод в виде одного цельного узла. Аналогично можно исключить монтажный обод, отливая плоские спицы непосредственно вместе со ступицей.
Согласно еще одному варианту воплощения плоские спицы 150 могут механически крепиться к ступице, например путем создания увеличенного участка на внутреннем конце каждой полосовой спицы, который зацепляется со щелевым устройством в ступице, или скрепляя смежные плоские спицы, образуя петлю на крюке или прутке, образованном на ступице. На фиг.4 показан один такой вариант воплощения, где плоские спицы 150 образованы с петлями 152, которые взаимодействуют с крюками 154 на внешнем радиусе ступицы 10.
При использовании плоских спиц, которые имеют высокую эффективную жесткость при растяжении, но очень низкую эффективную жесткость при сжатии, достигается поддержка нагрузки по существу только растяжением. Для облегчения изгибания в конкретном направлении плоские спицы могут быть выполнены криволинейными. Как вариант, плоские спицы можно отливать с кривизной и выпрямлять методом термоусадки при охлаждении для получения предрасположенности к изгибу в определенном направлении.
Плоские спицы 150 должны оказывать сопротивление кручению между упругодеформируемым ободом 110 и ступицей 10, например, когда на колеса подается крутящий момент. Дополнительно, плоские спицы 150 должны сопротивляться боковому отклонению, например при поворотах различной крутизны. Следует понимать, что плоские спицы 150, которые находятся в радиально-осевой плоскости, т.е. ориентированы как в радиальном, так и в осевом направлениях, будут иметь высокое сопротивление силам, направленным в осевом направлении, но, особенно, если спицы удлинены в радиальном направлении, могут иметь низкое сопротивление кручению в окружном направлении. Для определенных транспортных средств и задач, например, где создается относительно низкий крутящий момент, подходящим будет набор плоских спиц, имеющий относительно короткие спицы, ориентированные в радиальном направлении.
Для задач, где ожидается использование высокого крутящего момента, более подходящим может быть одно из расположений, показанных на фиг.5-7. На фиг.5 плоские спицы 150 ориентированы в повторяющемся Х-образном рисунке, если смотреть в осевом направлении, при этом пары спиц, образующих Х-образную спицу, соединены своими центрами. На фиг.6 плоские спицы ориентированы зигзагом относительно радиального направления. Плоские спицы на фиг.7 ориентированы так, что смежные плоские спицы ориентированы зигзагом и противоположно относительно осевого направления. В этих вариантах воплощения ориентация обеспечивает компонент сопротивления силам как в радиальном, так и в окружном направлениях, тем самым увеличивая сопротивление крутящему моменту, одновременно сохраняя компоненты сопротивления радиальным и боковым силам. Угол ориентации можно выбирать в зависимости от количества применяемых плоских спиц и расстояния между соседними плоскими спицами.
Можно использовать и другие альтернативные конструкции. Как показано на фиг.8, плоские спицы можно расположить в шевронном порядке или в V-образном расположении, если смотреть в радиальном направлении. Другой альтернативой является чередование ориентации соседних плоских спиц между осевой ориентацией и ориентацией по окружности, как показано на фиг.9. Такие альтернативы, однако, могут быть менее предпочтительны из-за трудностей с пространством для изгиба спиц в области контакта.
Одним из преимуществ упругодеформируемого колеса согласно настоящему изобретению является то, что подбор размеров и расположения упругодеформируемого обода и плоских спиц позволяет настраивать вертикальную, боковую и торсионную жесткость колеса независимо от давления контакта и друг от друга. Эксплуатационные параметры упругодеформируемого обода 110, грузоподъемность и упругость, определяются, отчасти, подбором материалов, которые имеют окружную компрессионную жесткость и продольную изгибную жесткость в экваториальной плоскости (плоскость чертежа по фиг.1), соответствующие расчетным требованиям к нагрузке. Эти параметры изучаются с учетом диаметра упругодеформируемого колеса, ширины упругодеформируемого обода в осевом направлении, толщины обода в радиальном направлении и длины плоских спиц и расстояния между ними.
Количество плоских спиц выбирают для поддержания округлости обода, и оно зависит от расстояния между двумя соседними плоскими спицами.
Отличительным признаком упругодеформируемого колеса, который отличает его от обрезиненных и пружинных колес, является то, что как несущий нагрузку упругодеформируемый обод 110, так и плоские спицы 150 выполнены упруго изгибающимися или гибкими. Такая конструкция требует решения двух проблем: поддержания достаточной равномерности нагруженного упругодеформируемого обода 110 под нагрузкой для плавного качения и предотвращения усталостного разрушения плоских спиц от изгибов при входе в контактный участок и выходе из него.
В целях обеспечения плавности качения упругодеформируемый обод 110 можно рассматривать как последовательность сегментов балки, поддерживаемых на концах соседними плоскими спицами 150, как схематически показано на фиг.10. Натяжение Т в плоских спицах 150 под нагрузкой, приложенной к оси, приводит к возникновению сжимающей силы К в сегменте 112 балки между соседними плоскими спицами. Когда сжатие превышает способность сегмента 112 укорачиваться, возникает коробление, как показано пунктирными линиями (в увеличенном масштабе). Коробление или радиальное смещение приводит к неравномерности радиуса качения упругодеформируемого обода 110, что вызывает неравномерность качения.
Выбирая характеристики упругодеформируемого обода 110 и плоских спиц 150, можно удерживать радиальное смещение в пределах для по существу равномерного плавного качения. Используя следующее уравнение, радиальное смещение следующим образом соотносится с физическими характеристиками элементов упруго деформируемого колеса:

где
р/р – полная амплитуда радиального смещения (мм);
v – коэффициент Пуассона для упругодеформируемого кольца;
Е – модуль упругости кольца (Н/мм2);
I – момент инерции кольца (мм4);
Т – растягивающее усилие на спице (Н);
r0 – номинальный радиус кольца (мм); и
n – количество спиц.
Для плавного качения радиальное смещение , разумеется, должно быть малым. Удобно соотнести радиальное смещение с радиусом упругодеформируемого обода. Предпочтительное отношение номинального радиуса r0 упругодеформируемого обода 110 к полной амплитуде радиального смещения составляет приблизительно не менее 1500, или

Это отношение радиуса к радиальному смещению может быть получено путем модификации различных параметров упругодеформируемого обода 110 и плоских спиц 150, как следует из уравнения, например, увеличивая количество спиц или увеличивая жесткость упругодеформируемого обода.
Другой фактор, который следует учитывать при конструировании упругодеформируемого колеса – это усталостная долговечность плоских спиц. В зависимости от количества отклонений, которым подвергается упругодеформируемый обод при нагрузке, плоские спицы могут испытывать существенные изгибные напряжения, ведущие к усталости. Максимальная энергия напряжения спицы должна быть меньше предела усталости для того количества циклов, которое ожидается для данной задачи. Максимальную энергию напряжения для радиальной полосовой спицы можно оценить по следующему уравнению:

где:
v – коэффициент Пуассона для спицы;
Е – модуль упругости спицы (Н/мм2);
L – длина спицы (мм);
L – максимальное радиальное смещение спицы (мм); и
t – толщина спицы в окружном направлении (мм), при прямоугольном сечении.
Вертикальная жесткость относится к способности колеса сопротивляться прогибу под нагрузкой. На вертикальную жесткость колеса сильное влияние оказывает реакция на нагрузку того участка колеса, который не контактирует с землей, т.е. «контрпрогиб» упругодеформируемого колеса. На фиг.11 это явление показано в увеличенном масштабе. Когда колесо находится под нагрузкой L, оно прогибается на величину f, и участок, контактирующий с землей, принимает форму поверхности земли для образования зоны С контакта с землей. Следует отметить, что для целей настоящего описания система координат на фиг.11 удерживает ось Х упругодеформируемого колеса в постоянном положении и смещает землю вверх к этой оси. Упругодеформируемое колесо является упругим телом, и соответственно вертикальный прогиб f пропорционален нагрузке L, из чего можно вывести вертикальную жесткость Кv упругодеформируемого колеса.
Окружная жесткость упруго деформируемого обода 110 (показан схематически) препятствует растяжению, сжатию и изгибу под нагрузкой в стремлении сохранить свою ненагруженную окружность. Соответственно, под нагрузкой, та часть упругодеформируемого колеса, которая не контактирует с землей, смещается или контрпрогибается от зоны С контакта, как показано штриховой линией на чертеже. Величина контрпрогиба также пропорциональна нагрузке L, и поэтому можно определить контрпрогибную жесткость К . Контрпрогибная жесткость К в первую очередь связана с окружной жесткостью на сжатие обода и со способом, которым плоские спицы, не находящиеся в контакте с землей, несут нагрузку. В меньшей степени влияние оказывают как поперечный, так и продольный изгиб обода.
Контрпрогиб можно измерить непосредственно, поместив упругодеформируемое колесо под нагрузку F с зафиксированной осью, и измеряя прогиб f упруго деформируемого колеса в зоне контакта и прогиб поверхности протектора напротив зоны контакта. Затем определяют контрпрогибную жесткость путем деления нагрузки F на величину контрпрогиба.
На практике, контрпрогибная жесткость К по существу управляет вертикальной жесткостью упругодеформируемого колеса и соответственно отклонением под нагрузкой оси упругодеформируемого колеса. Малая контрпрогибная жесткость позволяет упругодеформируемому ободу 110 прогибаться под нагрузкой вертикально, причем при таком прогибе уменьшается грузоподъемность. Контрпрогибная жесткость К определяет длину зоны контакта, как видно на фиг.10. Соответственно упругодеформируемое колесо с высокой контрпрогибной жесткостью имеет относительно меньший контрпрогиб и более длинную зону контакта.
Вертикальную жесткость можно регулировать для оптимизации грузоподъемности упругодеформируемого колеса. Как вариант, вертикальная жесткость может регулироваться для создания упругодеформируемого обода уменьшенной толщины для сокращения давления контакта или уменьшения массы упругодеформируемого колеса, сохраняя требуемую величину вертикальной жесткости.
Контрпрогибная жесткость К может изменяться несколькими способами. К некоторым конструктивным параметрам, используемым для настройки этой жесткости, относятся модуль упругости плоских спиц, кривизна плоских спиц, толщина полосы спиц, диаметр упругодеформируемого колеса, толщина слоя упругодеформируемого обода и ширина упругодеформируемого обода.
Согласно предпочтительному варианту воплощения упругодеформируемый обод содержит армирующий слой 130, образующий окружность обода, когда он деформируется под нагрузкой. Предпочтительно, армирующий слой расположен на нейтральной оси обода или несколько ближе внутрь от нейтральной оси, то есть приблизительно на середине между радиально внешней или радиально внутренней поверхностями обода, или немного радиально внутрь от нейтральной оси. Армирующий слой 130 работает на растяжение в окружном направлении упругодеформируемого обода.
Для армирования можно использовать любой подходящий материал. Конструкция армирующего слоя может быть одной из нескольких альтернатив, например гомогенный материал (например, тонкий металлический лист), волоконная армирующая матрица или слой дискретных армирующих элементов. Настоящее изобретение охватывает крепление армирующего слоя 130 к упругодеформируемому ободу 110 или выполнение армирующего слоя внутри упругодеформируемого обода любым подходящим способом химического или клеевого связывания или механического крепления. Слой 130 может содержать два или более слоя.
Армирующий слой в предпочтительном варианте воплощения содержит множество по существу не растягивающихся армирующих нитей, выполненных в эластомерном покрытии. Для упругодеформируемого колеса, изготовленного из эластомерных материалов, армирующий слой 130 может быть размещен между двумя частичными слоями эластомерного материала 120 и приклеен путем вулканизации эластомерного материала. Как вариант, армирующий слой 130 может быть выполнен при отливке самого упругодеформируемого обода. Армирующие элементы в слое 130 могут быть выполнены из любого из нескольких материалов, подходящих для использования в качестве армирующих элементов обода упругодеформируемого колеса в обычных шинах, например моноволокна или стального корда, арамида или другого текстиля с высоким модулем. Для иллюстративного упруго деформируемого колеса, описанного выше, армирующим элементом является стальная нить, состоящая из четырех проволок диаметром 0,26 мм (4×0,26).
Слой 130 содержит множество по существу параллельных нитей, ориентированных под любым углом к окружности. Одним преимущественным расположением является ориентация нитей под углом 0о относительно экваториальной плоскости упругодеформируемого колеса для повышения жесткости на растяжение.
Как вариант, если используется два или более слоя, нити в соответствующих слоях могут размещаться под углом к окружному направлению и в противоположной ориентации относительно друг друга.
Нити выполнены в упругодеформируемом покрытии, обычно имеющем модуль упругости приблизительно от 9 МПа до 60 МПа.
Заявители понимают, что специалистам могут быть очевидны различные варианты, вытекающие из вышеприведенного описания. Эти и другие варианты включены в объем и идею настоящего изобретения, которые определены прилагаемой формулой изобретения.
Формула изобретения
1. Упругодеформируемое колесо, содержащее ступицу; упругодеформируемый обод, расположенный по радиусу снаружи ступицы, и множество передающих растягивающее усилие элементов, проходящих между ступицей и упругодеформируемым ободом и соединенных с ними, при этом передающие растягивающее усилие элементы передают растягивающее усилие между ступицей и кольцом и, по существу, не передают сжимающие усилия, причем отношение номинального радиуса упругодеформируемого обода к полной амплитуде радиального смещения упругодеформируемого обода составляет приблизительно 1500 или более.
2. Упругодеформируемое колесо по п.1, дополнительно содержащее армирующий слой, выполненный в ободе.
3. Упругодеформируемое колесо по п.2, в котором армирующий слой представляет собой, по меньшей мере, один слой, по существу, не растягивающихся армирующих нитей внутри слоя эластомерного покрытия, имеющий модуль упругости при сдвиге, по меньшей мере, равный модулю упругости при сдвиге упругодеформируемого обода.
4. Упругодеформируемое колесо по п.2, в котором армирующий слой расположен приблизительно на нейтральной оси обода.
5. Упругодеформируемое колесо по п.2, в котором армирующий слой расположен по радиусу внутри относительно нейтральной оси обода.
6. Упругодеформируемое колесо по п.1, дополнительно содержащее протектор, образованный на радиально внешней поверхности обода.
7. Упругодеформируемое колесо по п.1, в котором упругодеформируемый обод выполнен из эластомерного материала, имеющего модуль упругости от приблизительно 9 до приблизительно 60 МПа.
8. Упругодеформируемое колесо по п.1, в котором передающие растягивающие усилия элементы представляют собой плоские спицы, проходящие поперек упругодеформируемого обода.
9. Упругодеформируемое колесо по п.8, в котором плоские спицы ориентированы параллельно осевому направлению.
10. Упругодеформируемое колесо по п.8, в котором каждая плоская спица ориентирована наклонно относительно осевого направления.
11. Упругодеформируемое колесо по п.10, в котором соседние плоские спицы ориентированы под противоположными углами наклона относительно осевого направления.
12. Упругодеформируемое колесо по п.8, в котором соседние плоские спицы ориентированы под противоположными углами наклона относительно радиального направления, образуя зигзаг в экваториальной плоскости.
13. Упругодеформируемое колесо по п.8, в котором плоские спицы ориентированы в виде пересекающихся пар, образуя повторяющийся X-образный рисунок в экваториальной плоскости.
14. Упругодеформируемое колесо по п.8, в котором плоские спицы имеют кривизну в экваториальной плоскости для облегчения изгиба при сжатии в радиальном направлении.
15. Упругодеформируемое колесо по п.8, в котором первое множество плоских спиц ориентировано параллельно осевому направлению, а второе множество плоских спиц ориентировано перпендикулярно осевому направлению.
16. Упругодеформируемое колесо по п.8, в котором каждая плоская спица имеет толщину, не превышающую 5% от радиуса упругодеформируемого колеса.
17. Упругодеформируемое колесо по п.8, в котором плоские спицы выполнены из эластомерного материала, имеющего модуль упругости приблизительно от 9 до 60 МПа.
18. Упругодеформируемое колесо по п.8, в котором упругодеформируемый обод и множество плоских спиц выполнены в виде единого формованного узла из одного и того же материала.
19. Упругодеформируемое колесо, содержащее ступицу; упругодеформируемый обод из эластомерного материала, расположенный по радиусу снаружи от ступицы, армирующий слой, выполненный в ободе, и множество гибких плоских спиц, проходящих между упругодеформируемым ободом и ступицей, причем упругодеформируемый обод и множество плоских спиц выполнены в виде единого формованного узла из одного и того же материала, причем отношение номинального радиуса упругодеформируемого обода к полной амплитуде радиального смещения упругодеформируемого обода составляет приблизительно 1500 или более.
РИСУНКИ
|
|