|
|
(21), (22) Заявка: 2007126208/12, 09.07.2007
(24) Дата начала отсчета срока действия патента:
09.07.2007
(46) Опубликовано: 27.02.2009
(56) Список документов, цитированных в отчете о поиске:
US 5709409 А, 20.01.1998. RU 55683 U1, 27.08.2006. RU 4580360 А, 08.04.1986. US 6035565 А, 01.03.2000.
Адрес для переписки:
454091, г.Челябинск, ул. Постышева, 2, ООО “УРАЛ Л.Т.Д.”, В.А. Курбацких
|
(72) Автор(ы):
Курбацких Василий Августинович (RU)
(73) Патентообладатель(и):
Курбацких Василий Августинович (RU)
|
(54) КНИГА НА МАГНИТЕ С ФИКСАТОРОМ
(57) Реферат:
Книга на магните с фиксатором содержит изготовленные вырубкой книжный блок и обложки, на задней из которых закреплен магнит. При этом обе обложки соединены с книжным блоком в нижней части вироспиралью, на которую установлен дополнительный магнит. Фиксатор расположен диаметрально противоположно вироспирали и выполнен в виде выступающего за пределы поверхности верхней обложки цилиндрического магнита. Причем на этот цилиндрический магнит установлен с возможностью съема колпачок с металлическим кольцом внутри него. Заявленное изобретение обеспечивает удобное использование книги. 6 з.п. ф-лы, 5 ил.
Изобретение относится к полиграфии и книгопечатанию. Устройство может быть использовано при издании кулинарных книг, а также образовательных или развлекательных книг для детей дошкольного и младшего школьного возраста.
Известно полиграфическое изделие, содержащее листки бумаги, обложку, перфорацию и спираль или иной элемент для скрепления набора, причем на стержне, вставленном в спираль, закреплено один или несколько магнитов, под которые по центру или бокам края с перфорацией выполнены один или несколько вырезов, соответствующих форме магнитов, а обложка задней части изделия выполнена в виде раскладывающихся вниз и/или по сторонам одной или нескольких рекламных страниц (см. патент на полезную модель РФ № 55684 «Полиграфическое изделие», МПК B42D 5/00, B42D 17/00, приоритет 24.03.2006). Данное устройство, предназначенное для крепления к металлической доске посредством одного магнита или нескольких, обеспечивает достаточно надежное крепление.
Недостатком известного устройства является то, что обложка, будучи открытой, не фиксируется, и, открыв нужную страницу, остальные листы надо придерживать рукой. Это доставляет определенные неудобства при приготовлении кулинарного изделия, когда руки заняты, например, нарезкой продуктов. Другим недостатком является сложность изготовления крепящих магнитов.
Наиболее близкой по существенным признакам, достигаемому эффекту к заявляемому устройству и выбранной в качестве прототипа является книга с фиксатором, содержащая обложки и книжный блок, изготовленные с возможностью вырубки любой формы, причем магнит закреплен на задней обложке посредством клея, а издание снабжено фиксатором, содержащим «липучую» ленту «велкро», позволяющим фиксировать книгу в сложенном состоянии (см. патент РФ на полезную модель № 55683 «Печатное издание на магните», МПК B42D 1/06, B42D 17/00, приоритет 10.01.2006).
Прототипу присущ тот же недостаток, что и аналогу, а именно: обложка, будучи открытой, не фиксируется, и листы при перелистывании надо придерживать рукой. Другой недостаток известной книги заключается в том, что магнит, приклеенный к задней обложке, рассчитан на малый вес книги. Для удерживания книги больших размеров одного магнита недостаточно, поэтому при неосторожном листании она может сорваться с металлической поверхности, что вызывает дополнительные неудобства при пользовании.
Задачей настоящего изобретения является обеспечение удобства пользования.
Техническим результатом заявляемого изобретения является введение второго магнита, установленного на вироспираль, вследствие чего при увеличенных габаритах книга надежно удерживается на металлической поверхности при листании, и использование магнитного фиксатора, что обеспечивает фиксацию листов книжного блока как в закрытом, так и открытом на нужной странице положении книги.
Указанная задача достигается тем, что в известной книге на магните с фиксатором, содержащей изготовленные вырубкой книжный блок и обложки, на задней из которых закреплен магнит, согласно изобретению обе обложки соединены с книжным блоком в нижней части вироспиралью, на которую установлен дополнительный магнит, а фиксатор расположен диаметрально противоположно вироспирали и выполнен в виде выступающего за пределы поверхности верхней обложки цилиндрического магнита, на который установлен с возможностью съема колпачок с металлическим кольцом внутри него.
В книжном блоке и обложках книги может быть выполнен паз под цилиндрический магнит, закрепленный на внутренней поверхности задней обложки.
Дополнительный магнит в книге может быть прикреплен к вироспирали посредством затвердевшего после нагревания пластического вещества.
Книга может быть вырублена в форме плода, овоща или предмета в соответствии с содержанием книги.
Книга может быть вырублена в форме круга, прямоугольника или иной геометрической фигуры.
Колпачок может быть выполнен в форме плода, овоща или предмета в соответствии с содержанием книги.
Проведенные исследования по патентным и научно-техническим источникам свидетельствуют, что предлагаемая конструкция книги на магните с фиксатором неизвестна и не следует явным образом из изученного уровня техники, а следовательно, соответствует критериям «изобретательский уровень» и «новизна».
Заявляемое устройство может быть изготовлено в условиях предприятия, выпускающего полиграфическую продукцию, или в условиях типографии с использованием стандартного отечественного или импортного оборудования, известных технологий и материалов.
Таким образом, заявляемая книга на магните с фиксатором соответствует критерию «промышленная применимость».
Предлагаемая совокупность существенных признаков сообщает заявляемому устройству новые свойства, позволяющие решить поставленную задачу.
Наличие двух магнитов, один из которых закреплен вверху, а другой – на вироспирали, расположенной внизу книги, обеспечивает удобное перелистывание книги, поскольку, надежно ими удерживаясь, она «не ерзает» по металлической доске. При открывании книги верхняя обложка и листы книжного блока свободно «падают» вниз, не требуя добавочных усилий от пользователя, а благодаря наличию магнитного фиксатора раскрытую страницу можно держать открытой столько времени, сколько требуется, без необходимости придерживать остальные листы рукой. Все вышеуказанное обеспечивает комфортную работу с книгой.
Предлагаемое изобретение поясняется чертежами, на которых представлено:
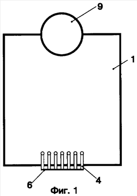
Фиг.1 – вид спереди на заявляемую книгу в закрытом виде;
Фиг.2 – вид спереди на заявляемую книгу в открытом виде при снятом колпачке магнитного фиксатора;
Фиг.3 – вид сбоку на фиг.2;
Фиг.4 – вид сзади на заявляемую книгу;
Фиг.5 – вид снизу на колпачок магнитного фиксатора.
Заявляемая книга на магните с фиксатором содержит верхнюю 1 и заднюю 2 обложки и книжный блок 3, скрепленные вместе вироспиралью 4. Для осуществления переплета вироспиралью 4 по низу обложек 1, 2 и листов книжного блока 3 выполнена перфорация (не обозначена). Снаружи книги к верхней части ее задней обложки 2 прикреплен клеем магнит 5, который может выполняться как в форме плоского прямоугольника, так и в форме круга или иной геометрической конфигурации. На вироспирали 4 также крепится дополнительный магнит 6 посредством затвердевшего после нагревания пластического вещества. В обложке 1 и книжном блоке 3 вырубкой выполнен паз 7 под цилиндрический магнит 8, на котором с возможностью съема установлен колпачок 9, снабженный расположенным внутри него металлическим кольцом 10, соответствующим по внутреннему диаметру наружному диаметру магнита 8. Последний закреплен на внутренней стороне задней обложки, проходит через паз 7 и выступает за пределы поверхности верхней обложки 1. Магнит 8 и колпачок 9 вместе образуют магнитный фиксатор, обеспечивающий прижатие верхней обложки 1 и книжного блока 3 к задней обложке 2 в закрытом положении книги. В открытом положении книги магнитный фиксатор прижимает часть листов книжного блока 3, раскрытого на требуемой странице. В закрытом положении книгу можно хранить и размещать на книжной полке. Форма вырубки книги может отличаться от традиционной прямоугольной формы. Она может быть выполнена в форме круга или представлять собой форму плода, овоща или предмета в соответствии с содержанием книги.
Книгу на магните с фиксатором используют следующим образом.
Пользователь крепит книгу к металлической доске или металлической поверхности, например, холодильника. Снимают колпачок 9 магнитного фиксатора с цилиндрического магнита 8. Открывают нужную страницу, легко переворачивая листы книжного блока 3 по вироспирали 4. Надевают колпачок 9 на магнит 8.
При желании дальнейшего чтения необходимо снова снять колпачок 9 с магнита 8, перевернуть листы, а затем вернуть колпачок 9 на место.
Преимущества заявляемого изобретения:
– удобство в использовании;
– надежность крепления к металлической поверхности;
– надежность прижатия листов книжного блока к обложкам в закрытом положении книги;
– надежность прижатия листов книжного блока к задней обложке в открытом на нужной странице положении книги.
Формула изобретения
1. Книга на магните с фиксатором, содержащая изготовленные вырубкой книжный блок и обложки, на задней из которых закреплен магнит, отличающаяся тем, что обе обложки соединены с книжным блоком в нижней части вироспиралью, на которую установлен дополнительный магнит, а фиксатор расположен диаметрально противоположно вироспирали и выполнен в виде выступающего за пределы поверхности верхней обложки цилиндрического магнита, на который установлен с возможностью съема колпачок с металлическим кольцом внутри него.
2. Книга по п.1, отличающаяся тем, что в книжном блоке и верхней обложке выполнен паз под цилиндрический магнит, закрепленный на внутренней поверхности задней обложки.
3. Книга по п.1, отличающаяся тем, что дополнительный магнит прикреплен к вироспирали посредством затвердевшего после нагревания пластического вещества.
4. Книга по п.1, отличающаяся тем, что форма вырубки книги представляет собой форму плода, овоща или предмета в соответствии с содержанием книги.
5. Книга по п.1, отличающаяся тем, что форма вырубки книги представляет собой круг, прямоугольник или иную геометрическую фигуру.
6. Книга по п.1, отличающаяся тем, что магнит, закрепленный на задней обложке, имеет форму прямоугольника, круга или иной геометрической фигуры.
7. Книга по п.1, отличающаяся тем, что колпачок выполнен в форме плода, овоща или предмета в соответствии с содержанием книги.
РИСУНКИ
|
|